JP2010093491A - パルス信号発生装置 - Google Patents

パルス信号発生装置 Download PDF

Info

Publication number
JP2010093491A
JP2010093491A JP2008260816A JP2008260816A JP2010093491A JP 2010093491 A JP2010093491 A JP 2010093491A JP 2008260816 A JP2008260816 A JP 2008260816A JP 2008260816 A JP2008260816 A JP 2008260816A JP 2010093491 A JP2010093491 A JP 2010093491A
Authority
JP
Japan
Prior art keywords
frequency
pulse signal
electrode
radiation
signal generator
Prior art date
Legal status (The legal status is an assumption and is not a legal conclusion. Google has not performed a legal analysis and makes no representation as to the accuracy of the status listed.)
Granted
Application number
JP2008260816A
Other languages
English (en)
Other versions
JP5565823B2 (ja
Inventor
Hitoshi Utagawa
仁史 歌川
Toshiaki Matsui
敏明 松井
Current Assignee (The listed assignees may be inaccurate. Google has not performed a legal analysis and makes no representation or warranty as to the accuracy of the list.)
National Institute of Information and Communications Technology
Original Assignee
National Institute of Information and Communications Technology
Priority date (The priority date is an assumption and is not a legal conclusion. Google has not performed a legal analysis and makes no representation as to the accuracy of the date listed.)
Filing date
Publication date
Application filed by National Institute of Information and Communications Technology filed Critical National Institute of Information and Communications Technology
Priority to JP2008260816A priority Critical patent/JP5565823B2/ja
Priority to US13/123,135 priority patent/US8847817B2/en
Priority to PCT/JP2009/067682 priority patent/WO2010041752A1/ja
Priority to CN200980144195.4A priority patent/CN102210060B/zh
Publication of JP2010093491A publication Critical patent/JP2010093491A/ja
Application granted granted Critical
Publication of JP5565823B2 publication Critical patent/JP5565823B2/ja
Expired - Fee Related legal-status Critical Current
Anticipated expiration legal-status Critical

Links

Images

Classifications

    • HELECTRICITY
    • H01ELECTRIC ELEMENTS
    • H01QANTENNAS, i.e. RADIO AERIALS
    • H01Q9/00Electrically-short antennas having dimensions not more than twice the operating wavelength and consisting of conductive active radiating elements
    • H01Q9/04Resonant antennas
    • H01Q9/16Resonant antennas with feed intermediate between the extremities of the antenna, e.g. centre-fed dipole
    • H01Q9/28Conical, cylindrical, cage, strip, gauze, or like elements having an extended radiating surface; Elements comprising two conical surfaces having collinear axes and adjacent apices and fed by two-conductor transmission lines
    • H01Q9/285Planar dipole
    • HELECTRICITY
    • H01ELECTRIC ELEMENTS
    • H01QANTENNAS, i.e. RADIO AERIALS
    • H01Q13/00Waveguide horns or mouths; Slot antennas; Leaky-waveguide antennas; Equivalent structures causing radiation along the transmission path of a guided wave
    • HELECTRICITY
    • H01ELECTRIC ELEMENTS
    • H01QANTENNAS, i.e. RADIO AERIALS
    • H01Q15/00Devices for reflection, refraction, diffraction or polarisation of waves radiated from an antenna, e.g. quasi-optical devices
    • H01Q15/0006Devices acting selectively as reflecting surface, as diffracting or as refracting device, e.g. frequency filtering or angular spatial filtering devices
    • H01Q15/0086Devices acting selectively as reflecting surface, as diffracting or as refracting device, e.g. frequency filtering or angular spatial filtering devices said selective devices having materials with a synthesized negative refractive index, e.g. metamaterials or left-handed materials
    • HELECTRICITY
    • H01ELECTRIC ELEMENTS
    • H01QANTENNAS, i.e. RADIO AERIALS
    • H01Q19/00Combinations of primary active antenna elements and units with secondary devices, e.g. with quasi-optical devices, for giving the antenna a desired directional characteristic
    • H01Q19/10Combinations of primary active antenna elements and units with secondary devices, e.g. with quasi-optical devices, for giving the antenna a desired directional characteristic using reflecting surfaces
    • HELECTRICITY
    • H01ELECTRIC ELEMENTS
    • H01QANTENNAS, i.e. RADIO AERIALS
    • H01Q19/00Combinations of primary active antenna elements and units with secondary devices, e.g. with quasi-optical devices, for giving the antenna a desired directional characteristic
    • H01Q19/28Combinations of primary active antenna elements and units with secondary devices, e.g. with quasi-optical devices, for giving the antenna a desired directional characteristic using a secondary device in the form of two or more substantially straight conductive elements
    • H01Q19/30Combinations of primary active antenna elements and units with secondary devices, e.g. with quasi-optical devices, for giving the antenna a desired directional characteristic using a secondary device in the form of two or more substantially straight conductive elements the primary active element being centre-fed and substantially straight, e.g. Yagi antenna
    • HELECTRICITY
    • H01ELECTRIC ELEMENTS
    • H01QANTENNAS, i.e. RADIO AERIALS
    • H01Q23/00Antennas with active circuits or circuit elements integrated within them or attached to them
    • HELECTRICITY
    • H01ELECTRIC ELEMENTS
    • H01QANTENNAS, i.e. RADIO AERIALS
    • H01Q5/00Arrangements for simultaneous operation of antennas on two or more different wavebands, e.g. dual-band or multi-band arrangements
    • H01Q5/20Arrangements for simultaneous operation of antennas on two or more different wavebands, e.g. dual-band or multi-band arrangements characterised by the operating wavebands
    • H01Q5/25Ultra-wideband [UWB] systems, e.g. multiple resonance systems; Pulse systems

Landscapes

  • Inductance-Capacitance Distribution Constants And Capacitance-Resistance Oscillators (AREA)
  • Waveguide Aerials (AREA)

Abstract

【課題】構造の単純化、高性能化、小型集積化、設計の容易化、低消費電力化、低コスト化を実現可能なマイクロ波・ミリ波帯の高周波パルス信号発生装置を提供する。
【解決手段】表面側誘電体基板10と裏面側誘電体基板11の間に内層GND12を介在させた平面放射型発振器基板S1は、放射面に一対の導体パッチ4,4を軸対象に備え、マイクロ波トランジスタ1のゲート電極2とドレイン電極3を導体パッチ4,4に各々接続し、ゲート電極2にはRFチョーク回路5aを介して直流バイアスを供給し、ドレイン電極3にはRFチョーク回路5bを介してモノパルス発生回路7からモノパルスを供給し、ソース電極8には発振条件を満たすインピーダンス線路9を接続し、マイクロ波トランジスタ1の短時間動作により生ずる負性抵抗と共振キャビティの構造に基づいて定まる発振周波数・周波数帯域幅の高周波パルス信号を発生すると同時に空間へ放射する。
【選択図】図1

Description

本発明は、超広帯域(UWB:Ultra WideBand)の高周波パルス信号を発生する高周波パルス信号発生装置に関し、特に、複雑な回路構成を嫌うマイクロ波・ミリ波帯の装置において構成単純化、低コスト化、高性能化を実現する技術に関する。
近年注目されている通信技術として、UWB技術がある。この技術は、極めて広い周波数帯域を使うものの、電力スペクトル密度が非常に小さいため、すでに使用されている周波数を共用することができる利点がある。また、数百ピコ秒以下の短いパルスを使うことで、高分解能な位置検出などを行うことができる利点などがある。
従来のマイクロ波・ミリ波帯UWB技術における高周波パルス信号発生装置は、高周波パルス信号発生器と超広帯域アンテナとを伝送線路にて接続した構成となっている(例えば、非特許文献1,非特許文献2,特許文献1を参照)。
Yun Hwa choi, "Gated UWB Pulse Signal. Generation," Joint with Conference on Ultra wideband. Systems and Technologies Joint UWBST & IWUWBS. 2004 International Workshop on, pp.122−124 Ian Gresham, "Ultra−Wideband Radar Sensors for Short−Range Vehicular Applications", MTT VOL.52, No.9, pp.2111−2113, Sep. 2004 特表2003−515974号公報
これら非特許文献1、非特許文献2、あるいは特許文献1に記載された高周波パルス信号発生器は、ベースバンドパルス信号(ベースバンド信号に応じて発生させるモノパルス信号やステップ信号)の周波数成分のある部分のみを超広帯域フィルタ回路によって通過させる方法、または、CW信号発振回路の出力を高速RFスイッチにて通過/阻止させるような変調を行う方法、または、それらの組み合わせで構成されている。
一方、伝送線路や共振回路をアンテナで代用した高周波パルス信号発生装置も提案されている(例えば、特許文献2,特許文献3を参照)。
特開2004−186726号公報 特開2007−124628号公報
これら特許文献2あるいは特許文献3に記載された高周波パルス信号発生装置は、伝送線路や共振回路であるアンテナに電荷を充電し、高速のスイッチ等を用いてその電荷を急速に放電させる方式である。この急速な放電により発生する高周波成分のうち、共振回路であるアンテナの共振周波数帯の周波数成分が放射される。
しかしながら、上記非特許文献1、非特許文献2、あるいは特許文献1に記載された発明は、高周波パルス信号発生器と超広帯域アンテナとを伝送線路にて接続した構成であるため、伝送線路の伝送損失が問題になることに加えて、複雑な回路構成を嫌うマイクロ波ミリ波帯の装置にとって望ましい構成ではない。
また、上記非特許文献1、非特許文献2、あるいは特許文献1に記載された発明の装置構成では、装置内部のフィルタや増幅器やRFスイッチなど種々の回路それぞれに超広帯域特性が求められる。例えば、パルス発生回路とフィルタ回路を伝送線路で接続する場合、それぞれの回路の入出力反射係数や接続部の反射係数が広帯域にわたって十分小さくないと、それぞれの回路間で多重反射が生じてしまう。さらに、それぞれの回路の郡遅延特性が広帯域にわたって平坦でないと、パルス波形に歪が生じてしまう。よって、このような超広帯域回路設計は、狭帯域回路設計に比べて困難であり、個々の回路全てに超広帯域特性が求められるような装置は高コストになってしまう。
しかも、上記非特許文献1、非特許文献2、あるいは特許文献1に記載された発明では、高周波パルス信号発生器と超広帯域アンテナとを伝送線路にて接続する構成であることから、伝送線路のインピーダンス(一般に50Ω)から空間インピーダンスへインピーダンス変換するため超広帯域アンテナが必要となり、そのアンテナの反射係数が超広帯域にわたって十分小さくないと、伝送線路の接続部において多重反射が生じてしまう。このような超広帯域特性をもつアンテナとして、テーパー構造非共振系アンテナや多共振系アンテナが用いられるが、テーパー構造非共振系アンテナのテーパー部は波長に比べて長い寸法が必要なために大型とならざるを得ず、装置全体の集積化には不利であり、多共振系アンテナを用いることは、群遅延特性の観点から望ましくなく、その構造も複雑になりやすい。
加えて、上記非特許文献1、非特許文献2、あるいは特許文献1に記載された発明のように、CW信号発振回路の出力を高速RFスイッチにて通過/阻止させるような変調を行う方法は、不要なCW信号の漏洩が本質的に存在するため、UWB通信の応用においては不利である。また、CW信号発振回路が動作しているため、消費電力の観点からも不利である。
また、特許文献2あるいは特許文献3に記載された発明は、放射させる高周波信号成分を発生させるために極めて高速に動作するスイッチ等の回路が必要であり、スイッチのドライバにも高速性が求められ、回路が複雑化しやすい。
そこで、本発明は、構造の単純化、高性能化、小型集積化、設計の容易化、低消費電力化、低コスト化を実現可能なマイクロ波・ミリ波帯の高周波パルス信号発生装置の提供を目的とする。
前記課題を解決するために、請求項1に係るパルス信号発生装置は、共振キャビティに負性抵抗を発生するように3電極高周波増幅素子を集積化させるとともに、電磁波を空間へ放射するアンテナ機能を共用させるように放射型発振器を構成し、前記3電極高周波増幅素子を短時間動作させることにより短時間の負性抵抗を得て、この負性抵抗と前記共振キャビティの構造に基づいて定まる発振周波数・周波数帯域幅の高周波パルス信号を発生すると同時に空間へ放射するようにしたことを特徴とする。
また、請求項2に係る発明は、前記請求項1に記載のパルス信号発生装置において、前記放射型発振器の3電極高周波増幅素子における3電極は、被制御電流流入電極と被制御電流流出電極と制御電極であり、被制御電流流入電極または被制御電流流出電極にモノパルス信号を供給し、このモノパルス信号自体の電力を電源電力として短時間の負性抵抗を得るようにしたことを特徴とする。
また、請求項3に係る発明は、前記請求項1に記載のパルス信号発生装置において、前記放射型発振器の3電極高周波増幅素子における3電極は、被制御電流流入電極と被制御電流流出電極と制御電極であり、被制御電流流入電極または被制御電流流出電極に直流を供給し、制御電極にはモノパルス信号を供給することで、短時間の被制御電流が流れるようにし、短時間の負性抵抗を得るようにしたことを特徴とする。
また、請求項4に係る発明は、前記請求項2又は請求項3に記載のパルス信号発生装置において、前記放射型発振器に、モノパルス信号発生回路を集積化したことを特徴とする。
また、請求項5に係る発明は、前記請求項1〜請求項4の何れか1項に記載のパルス信号発生装置において、前記放射型発振器の放射面から適宜距離を隔てて配置され、所要周波数の電波を選択的に濾波する周波数選択性濾波手段を備えたことを特徴とする。
また、請求項6に係る発明は、前記請求項1〜請求項5の何れか1項に記載のパルス信号発生装置において、前記放射型発振器の放射方向側に、放射する高周波パルス信号の周波数より低い周波数の不要信号成分の漏洩を防止する接地導体構造を設けたことを特徴とする。
請求項1に係る発明によれば、共振キャビティに負性抵抗を発生するように3電極高周波増幅素子を集積化させるとともに、電磁波を空間へ放射するアンテナ機能を共用させるように放射型発振器を構成し、前記3電極高周波増幅素子を短時間動作させることにより短時間の負性抵抗を得て、この負性抵抗と前記共振キャビティの構造に基づいて定まる発振周波数・周波数帯域幅の高周波パルス信号を発生すると同時に空間へ放射するようにしたので、構造が単純であり、設計が簡易であり、小型集積化、低コスト化が容易である。この単純構造という特徴は、特性のばらつきを抑制し、製造上の高い歩留まりを確保する上で有利であり、高信頼性を確保する上でも有利である。特に、精密で微細な薄膜加工技術を必要とするミリ波帯装置の製造においては、装置が単純構造であることが品質管理上非常に有利となる。
また、発振器とアンテナとが渾然一体となった構成であることから、高周波パルス信号は発生されると同時に空間へ放射されるので、アンテナへの給電用伝送線路は存在しないことから伝送損失が存在せず、DC/RF変換効率が高く低消費電力である。さらに、発振するのは極短時間であり、トランジスタは間欠動作で短時間の電流を流すので、低消費電力である。
さらに、請求項1に係るパルス信号発生装置は、放射UWBスペクトラムの中心にCW信号の漏洩(単一スペクトラム)が現れることが原理的に無いので、法律で決められたUWB通信スペクトラムマスク内の帯域を有効利用できるという利点がある。
加えて、スイッチ回路による急速放電あるいはベースバンドパルス信号の周波数成分のある部分を共振器やフィルタ回路によって選び出し、高周波パルス信号を発生させるよう構成した旧来のパルス信号発生装置においては、その急速放電あるいはベースバンドパルス信号自体に放射する高周波信号数成分があらかじめ含まれている必要があるため、スイッチ回路やベースバンドパルス信号発生回路に超高速性が求められ、高コストになるのに対して、請求項1に係るパルス信号発生装置は、放射する高周波信号成分があらかじめ含まれている急速放電やベースバンドパルス信号は必要ないので、設計性がよく、低コスト化に有利である。
以上の利点により、請求項1に係るパルス信号発生装置は、同機能の装置を従来技術で構成した場合に比べ、単純構造、高性能、小型集積、低消費電力、低コストを効果的に実現できる。
また、請求項2に係る発明によれば、前記放射型発振器の3電極高周波増幅素子における3電極は、被制御電流流入電極と被制御電流流出電極と制御電極であり、被制御電流流入電極または被制御電流流出電極にモノパルス信号を供給し、このモノパルス信号自体の電力を電源電力として短時間の負性抵抗を得るようにしたので、負性抵抗を発生させるための電源が必要無く、簡易な構成で比較的廉価にパルス信号発生装置を実現できる。
また、請求項3に係る発明によれば、前記放射型発振器の3電極高周波増幅素子における3電極は、被制御電流流入電極と被制御電流流出電極と制御電極であり、被制御電流流入電極または被制御電流流出電極に直流を供給し、制御電極にはモノパルス信号を供給することで、短時間の被制御電流が流れるようにし、短時間の負性抵抗を得るようにしたので、モノパルス信号発生回路として負荷駆動能力の小さい回路でも用いることができ、簡易な構成で比較的廉価にパルス信号発生装置を実現できる。
また、請求項4に係る発明によれば、前記放射型発振器に、モノパルス信号発生回路を集積化したので、放射型発振器とモノパルス信号発生回路との間の多重反射の問題を回避し易く、簡易な構成で比較的廉価にパルス信号発生装置を実現できる。
また、請求項5に係る発明によれば、前記放射型発振器の放射面から適宜距離を隔てて配置され、所要周波数の電波を選択的に濾波する周波数選択性濾波手段を備えたので、不要信号の輻射を防止することができ、また、所望の高調波周波数成分を選択して放射することができるので、より高品質な放射信号を得ることができる。
また、請求項6に係る発明によれば、前記放射型発振器の放射方向側に、放射する高周波パルス信号の周波数より低い周波数の不要信号成分の漏洩を防止する接地導体構造を設けたので、ベースバンド信号やベースバンドパルス信号成分の漏洩や、不要信号の輻射を防止することができ、より高品質な放射信号を得ることができる。
次に、添付図面に基づいて、本発明に係るパルス信号発生装置の実施形態につき説明する。
図1は、第1実施形態に係るパルス信号発生装置(ドレインドライブ型高周波パルス信号発生装置)の概略構成を示すもので、このパルス信号発生装置は、放射型発振器基板S1と、これにベースバンド信号を供給する信号源(図示省略)、直流バイアス給電を行う電源装置(図示省略)から構成される。
ここで、放射型発振器基板S1は、「共振キャビティに負性抵抗を発生するように3電極高周波増幅素子を集積化させるとともに、電磁波を空間へ放射するアンテナ機能を共用させる放射型発振器」として機能している。また、3電極高周波増幅素子は、小さな電圧または電流によって大きな電流を制御することで増幅機能を実現する素子であり、単体のトランジスタ素子や、単体のトランジスタを複数用いて構成した素子を含むとともに、単体で取り扱えるパーツに限らず、半導体プロセスで半導体ウェハに作りこんだものも含む。この3電極高周波増幅素子における制御電極は、制御電圧を加えたり、制御電流を流入(または流出)させたりする電極で、ゲートやベースに相当する。また、被制御電流流入電極は制御される電流が流入する電極で、被制御電流流出電極は制御される電流が流出する電極であり、素子構造がN型かP型か、あるいはNPN型かPNP型かに応じて、一方がドレインやコレクタに、他方がソースやエミッタに相当する。
放射型発振器基板S1は、表面側誘電体基板10と裏面側誘電体基板11の間に接地導体層である内層GND12を介在させた3層基板を用いて必要な回路を構成したものである。具体的には、表面と内層GND12とで放射型発振器のRF回路部を構成し、内層GND12と裏面とでRFチョーク回路およびベースバンド回路を構成する。なお、図1(a)は放射型発振器基板S1の平面(表面側誘電体基板10の表面)を示し、図1(b)は放射型発振器基板S1の概略縦断面構造を示し、図1(c)は放射型発振器基板S1の底面(裏面側誘電体基板11の裏面)を示す。
表面側誘電体基板10の表面側には、一対の導体パッチ4,4を軸対象に設けて放射面を形成すると共に、これら一対の導体パッチ4,4の間に配置した3電極高周波増幅素子たる高周波トランジスタ1の制御電極たるゲート電極2および被制御電流流入電極たるドレイン電極3を導体パッチ4,4に各々接続し、ゲート電極2にはゲート直流Bias電圧供給用のRFチョーク回路5aが接続されている。このRFチョーク回路5aには、直流ゲート電圧供給端子15を介して図示を省略した直流電源から給電される。また、ドレイン電極3には、導体パッチ4およびモノパルス信号供給用のRFチョーク回路5bが接続されている。RFチョーク回路5bとベースバンド信号入力端子6との間にモノパルス発生回路7(例えば、高速ロジックICやスイッチにより構成)が直列に接続されている。モノパルス発生回路7のGNDは、内層GND12にスルーホール17で接続されている。高周波トランジスタ1の被制御電流流出電極たるソース電極8には、発振条件を満たすインピーダンス線路9が接続され、内層GND12にスルーホール接地されている。そして、高周波トランジスタ1と導体パッチ4とRFチョーク回路5a,5bの一部とインピーダンス線路9は表面側誘電体基板10の表面(高周波パルス放射側の面)に構成されており、RFチョーク回路5a,5bの残りの部分とモノパルス発生回路7は裏面側誘電体基板11の裏面に構成されている。RFチョーク回路5a,5bにはスルーホール部13が含まれる。
ここで、導体パッチ4は、共振器、アンテナとして機能すると共に、帰還回路を構成している。この導体パッチ4の面積・形状設定等と前記高周波トランジスタへの直流給電によりRF信号を発振放射する放射型発振器を実現する。
図2は、一対の軸対称な導体パッチ4を示すもので、各導体パッチ4は、高周波トランジスタ1のゲート電極2またはドレイン電極3に接続される等傾斜角の尖鋭部を具備し、これら先鋭部が互いに近接配置され、この先鋭部を経て幅Wが等しくなる平行部の長さをD、一対の導体パッチ4の一方端から他方端までの全体の長さ(全長)をLとする。
斯く構成した導体パッチ4において、高周波トランジスタ1のゲート電極2またはドレイン電極3が接続される尖鋭部の広がり角θを調整することで、高周波トランジスタ1と共振器との結合強度を調整でき、また、全長L、幅W、平行部の長さDを適宜に選択することで、発振条件の設定に必要な諸条件の選択の自由度が得られる。また、図示を省略したが、導体パッチ4と内層GND12との間隔h(実質的には、表面側誘電体基板10の厚さ)は、発振波長λの1/15〜1/5倍の間で設定することにより、安定な発振状態を確保できる。なお、導体パッチ4の構成は特に限定されるものではなく、表面側誘電体基板10および内層GND12とで、発振RF信号に適した共振キャビティを構成できれば、如何様な構造でも構わない。共振キャビティの改変例については、後に説明する。
上記のように構成した放射型発振器基板S1を動作させるには、直流ゲート電圧供給端子15に適当な直流バイアス電圧を印加しておき、ベースバンド信号入力端子6にモノパルス発生回路7を動作させるためのベースバンド信号を入力する。モノパルス発生回路7からのモノパルス出力信号がRFチョーク回路5bを通して高周波トランジスタ1のドレイン電極3に入力され、モノパルス出力信号自体が電源電圧となり、高周波トランジスタ1による負性抵抗が短時間生じる。その短時間の負性抵抗と、導体パッチ4と表面側誘電体基板10の構造とにより決まる周波数、帯域幅にて、短時間のRF帯発振放射、すなわち高周波パルス信号の発生放射が行われる。
なお、ドレイン電極3にモノパルス信号が入力されている間、発振条件が満たされていれば、直流ゲート電圧供給端子15に印加する直流バイアス電圧は外部電源から供給する必要はなく、自己バイアスによって印加してもよい。例えば、そのゲートのバイアス電圧が0[V]で発振条件を満たすのであれば、直流ゲート電圧供給端子15を内層GNDなどと電気的に接続しての0[V]をゲートに印加すれば、直流バイアス給電用の電源は不要である。
上記モノパルス信号の波形には特に制限は無く、矩形波形でもガウシアン波形でも三角波形でもよい。また、その波形の立ち上がり時間に高速性は必要でない。例えば、三角波形を考えた場合、その三角波形信号に、放射させる高周波信号成分が含まれている必要はない。その三角波形の谷から山の頂点に向かう立ち上がりを考えた場合、その頂点より少し手前で発振条件を満たし、その頂点の少し後で発振条件から外れさえすれば、たとえ立ち上がり時間が大きくてもよい。放射させる高周波信号成分は前記負性抵抗と前記共振キャビティの構造によるからである。
本実施形態に係るX帯パルス信号発生装置を実際に作製し、発生放射させた高周波パルス信号を実測した波形図を図3に示す。図3に示した信号のパルス幅は、約600ピコ秒である。
このように、本実施形態に係るパルス信号発生装置は、単純構造であり、特性のばらつきを抑制し、製造上の高い歩留まりを確保する上で有利であり、高信頼性を確保する上でも有利である。特に、精密で微細な薄膜加工技術を必要とするミリ波帯装置の製造においては、装置が単純構造であることが品質管理上非常に有利となる。
また、波源自体がアンテナとして動作するので、波源とアンテナとの間にインピーダンス整合や帯域制限や郡遅延を考慮する必要が無く、波源が存在する時点で、波源と自由空間との超広帯域整合が確保され、劣化の少ない高周波パルス信号の発生放射が可能となる。
また、共振キャビティのQを低く設定しやすく、極めて短いパルス幅の高周波パルス信号発生放射に対応できることから、高性能なUWB装置の実現に好適である。UWB通信装置に応用する場合、短いパルス幅の高周波パルス信号は高伝送レート通信に有利である。インパルス型UWBレーダ装置に応用する場合、短いパルス幅の高周波パルス信号は高分解能距離探知に有利である。
また、アンテナへの給電用伝送線路は存在しないことから伝送損失が存在せず、DC/RF変換効率が高く低消費電力である。さらに、発振するのは極短時間であり、トランジスタは間欠動作で短時間の電流を流すので、超低消費電力となることから、バッテリー動作の携帯機器への応用時は特に有利である。
さらに、従来のCW信号発振回路と高速RFスイッチとを組合せて高周波パルス信号を発生させるよう構成したパルス信号発生装置においては、CW信号発振回路が動作しているために放射UWBスペクトラムの中心にCW信号の漏洩(単一スペクトラム)が現れることが問題となるのに対して、本発明に係るパルス信号発生装置は、そのようなCW信号の漏洩が現れることは原理的に無いので、法律で決められたUWB通信スペクトラムマスク内の帯域を有効利用できるという利点もある。
また、スイッチ回路による急速放電あるいはベースバンドパルス信号の周波数成分のある部分を共振器やフィルタ回路によって選び出し、高周波パルス信号を発生させるよう構成したパルス信号放射装置においては、その急速放電あるいはベースバンドパルス信号自体に放射する高周波信号数成分があらかじめ含まれている必要がある。よって、スイッチ回路やベースバンドパルス信号発生回路に超高速性が求められ、高コストになるのに対して、本発明に係るパルス信号発生装置は、放射する高周波信号数成分があらかじめ含まれている急速放電やベースバンドパルス信号は必要ないので、設計性がよく、低コスト化に有利である。
このように、本実施形態に係るパルス信号発生装置は、構造の単純な放射型発振器を用いて構成でき、高性能化、小型集積化、設計性容易化、低消費電力化、低コスト化が可能である。
なお、図4に示す放射型発振器基板S1′のように、被制御電流流出電極たるソース電極8にモノパルス信号を供給するよう、モノパルス発生回路7をソース電極8に接続しても良い。この場合、モノパルス発生回路7から負のモノパルス信号を出力すれば、接地電位がソース電極からドレイン電極に変わっただけであり、単に基準電位が異なっただけであるから、パルス信号発生装置として同じ動作をする。また、3電極高周波増幅素子たるトランジスタがN型かP型か、あるいはNPN型かPNP型かにより、モノパルス信号を供給する電極は適宜選択すればよい。
次に、図5に基づいて、第2実施形態に係るパルス信号発生装置(ゲートドライブ型高周波パルス信号発生装置)を説明する。
本実施形態のパルス信号発生装置は、放射型発振器基板S2と、これにベースバンド信号を供給する信号源(図示省略)、直流バイアス給電を行う電源装置(図示省略)から構成される。また、本実施形態のパルス信号発生装置の放射型発振器基板S2は、表面側誘電体基板10と裏面側誘電体基板11の間に接地導体層である内層GND12を介在させた3層基板を用いて必要な回路を構成したもので、表面と内層GND12とで放射型発振器のRF回路部を構成し、内層GND12と裏面とでRFチョーク回路およびベースバンド回路を構成する。なお、図5(a)は放射型発振器基板S2の平面(表面側誘電体基板10の表面)を示し、図5(b)は放射型発振器基板S2の概略縦断面構造を示し、図5(c)は放射型発振器基板S2の底面(裏面側誘電体基板11の裏面)を示す。
高周波トランジスタ1のゲート電極2には、導体パッチ4およびモノパルス信号供給用のRFチョーク回路5aが接続されている。高周波トランジスタ1のドレイン電極3には、導体パッチ4およびドレイン電圧供給用のRFチョーク回路5bが接続されている。このRFチョーク回路5bには、直流ドレイン供給端子18を介して図示を省略した直流電源から給電される。RFチョーク回路5aとベースバンド信号入力端子6との間には、モノパルス発生回路7が直列に接続されている。高周波トランジスタ1のソース電極8には、発振条件を満たすインピーダンス線路9が接続され、接地されている。高周波トランジスタ1と導体パッチ4とRFチョーク回路5a,5bの一部とインピーダンス線路9は表面側誘電体基板10の表面(高周波パルス放射側の面)に構成されており、RFチョーク回路5a,5bの残りの部分とモノパルス発生回路7は裏面側誘電体基板11の裏面に構成されている。RFチョーク回路5a,5bにはスルーホール部13が含まれる。
上記のように構成した放射型発振器基板S2を動作させるには、直流ドレイン電圧供給端子18に適当な直流電圧を印加し、ベースバンド信号入力端子6にモノパルス発生回路7を動作させるためのベースバンド信号を入力する。モノパルス発生回路7からのモノパルス出力信号がRFチョーク回路5aを通して高周波トランジスタ1のゲート電極2に入力され、そのモノパルス信号によりゲートが短時間開き、短時間ドレイン電流が流れ、高周波トランジスタ1による負性抵抗が短時間生じる。その短時間の負性抵抗と、導体パッチ4と表側誘電体基板10の構造とにより決まる周波数、帯域幅にて、短時間のRF帯発振放射、すなわち高周波パルス信号の発生放射が行われる。
なお、本実施形態では、モノパルス信号電圧により高周波トランジスタ1のゲートを開かせるため、無信号時(あるモノパルスと次のモノパルスとの間の時間)にはゲートが閉じた状態(ピンチオフ)になるように、適当なバイアス電圧を設定しておく必要がある。
上記モノパルス信号の波形には特に制限は無く、矩形波形でもガウシアン波形でも三角波形でもよい。また、その波形の立ち上がり時間に高速性は必要でない。例えば、三角波形を考えた場合、その三角波形信号に、放射させる高周波信号成分が含まれている必要はない。その三角波形の谷から山の頂点に向かう立ち上がりを考えた場合、その頂点より少し手前で発振条件を満たし、その頂点の少し後で発振条件から外れさえすれば、たとえ立ち上がり時間が大きくてもよい。放射させる高周波信号成分は前記負性抵抗と前記共振キャビティの構造によるからである。
このように、本実施形態に係るパルス信号発生装置は、高周波トランジスタ1に対してゲートの開閉制御が可能であればよいので、上述した第1実施形態に比べて、低出力電力、低ドライブ能力のモノパルス発生回路を用いることができ、簡易な構成で比較的廉価にパルス信号発生装置を実現できる。
なお、図6に示す放射型発振器基板S2′のように、被制御電流流出電極たるソース電極8に直流を供給するようにしても良い。この場合、ソース電極に負の直流電圧を供給すれば、接地電位がソース電極からドレイン電極に変わっただけであり、単に基準電位が異なっただけであるから、パルス信号発生装置として同じ動作をする。また、3電極高周波増幅素子たるトランジスタがN型かP型か、あるいはNPN型かPNP型かにより、直流を供給する電極は適宜選択すればよい。
また、上述した各実施形態に係るパルス信号発生装置において、放射型発振器を構成するための3電極高周波増幅素子として用いる高周波トランジスタ1は、MOS−FETを含むIG−FET(Insulated Gate FET)、HEMT(High Electron Mobility Transistor)、MESFET(Metal−Semiconductor FET)などの電界効果トランジスタ(FET:Field Effect Transistor)、またはHBT(Hetero−junction Bipolar Transistor)などのバイポーラトランジスタ(BJT:Bipolar Junction Transistor)などで、小さな電圧または電流によって大きな電流を制御する増幅機能を有していれば、その種類は特に限定されるものではない。
さらに、3電極高周波増幅素子の内部構造も特に限定されるものではなく、ダーリントン接続型トランジスタやカスケード接続型トランジスタのような、単体トランジスタを複数組み合わせた構造の素子でもよい。例えば、ダーリントン接続型トランジスタを用いた場合には、単体のトランジスタでは実現できない高い電流増幅率を得られるという利点がある。
また、上述した各実施形態に係るパルス信号発生装置は、HMIC(混成マイクロ波集積回路:hybrid microwave integrated circuit)で実現してもよいし、MMIC(モノリシックマイクロ波集積回路:Monolithic Microwave integrated circuit)で実現してもよい。また、LTCC(Low Temperature Co−fired Ceramics)などを用いた3次元形態の集積回路で実現してもよい。すなわち、第1〜第2実施形態で示した放射型発振器基板S1〜S2の如く、独立したパーツである高周波トランジスタ1を基板上へ搭載する必要はなく、共振キャビティ(導体パッチなど)と共に同一半導体プロセスで半導体ウェハに3電極高周波増幅素子をモノリシックに作り込むようにしても構わない。特に、ミリ波帯電波は波長が短いことから共振キャビティのサイズも小さくなるので、3電極高周波増幅素子をモノリシックな形態(MMIC)で作り込めば、更なる小型・軽量化を図ることができるし、高精度な半導体プロセス技術により高品位で高い生産性を実現できるという利点もある。
また、上述した各実施形態に係るパルス信号発生装置において、RFチョーク回路の機能は、RF信号が直流電源側やモノパルス発生回路7側に漏れるのを防ぐ事であるが、たとえRF信号が漏れたとしても、その漏れによる損失を上回る負性抵抗を高周波トランジスタ1により得ることができれば、放射型発振器は動作可能である。よって、RFチョーク回路を設けない放射型発振器により本発明を構成しても、パルス信号発生装置を実現でできる。また、モノパルス発生回路7自体がRF帯にて高インピーダンスの回路であれば、モノパルス発生回路7と放射型発振器とを直接集積化することができ、RFチョーク回路は不要である。また、RFチョーク回路を構成するために、3層基板構造の放射型発振器基板を用いる必要もない。
また、上述した各実施形態における放射型発振器のモノパルス発生回路7としては、高速ロジックICやスイッチの他、Step Recovery Diode(SRD)やNonlinear Transmission Line(NLTL)による回路などで構成できる。SRDやNLTLにより構成したモノパルス発生回路は、直流電源を不要とすることができるので、高周波トランジスタ1を自己バイアス化することなどによりゲートバイアス電圧の供給も省略すれば、直流電源の存在なしに動作する高周波パルス信号発生装置を実現することができる。その場合のパルス信号発生装置は、直流電源も局部発振器も存在しないにもかかわらず、ベースバンド信号からRF帯の高周波パルス信号に信号を変換する周波数アップコンバータのごとき動作となり、単純で使い勝手のよい構成となる。
また、上述した各実施形態に係るパルス信号発生装置においては、放射型発振器基板Sに一対の略扇形導体パッチ4を備えるものとしたが、共振キャビティを構成する導体パッチの形状は特に限定されるものではないし、一対の軸対象な導体パッチを必須とするものでもない。以下、本発明に適用可能な導体パッチの改変例について説明する。
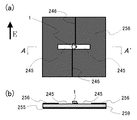
図7は矩形状の導体パッチ4aを軸対象に一対設けた第1改変例で、図8は矩形状の導体パッチ4bを軸対象に一対設けた第2改変例で、図9は、円形の導体パッチ4cを軸対象に一対設けた第3改変例である。その他、三角形などの多角形や、楕円形、扇形などの導体パッチでもよい。図7〜図9には、主な偏波面を表すために、電界の向きを矢印Eで示した。GND導体面255は、導体パッチ4a〜4cにとって、内層GND12に相当する。誘電体基板259は、導体パッチ4a〜4cにとって、表面側誘電体基板10に相当する。導体パッチ4a〜4cおよびGND導体面255、誘電体基板259は、共振キャビティを構成し、発振動作のための帰還回路の一部を構成しているが、その帰還が適切に得られさえすれば、誘電体基板259やGND導体面255は必ずしも設ける必要はない。例えば、導体パッチを板金加工で作製し、その導体パッチ板を保持する機構があれば、誘電体基板259の部分は中空でもよい。また、図10に示す第4改変例のように、上記帰還を促すためのチップキャパシタなどの帰還用部品248を導体パッチ4b上に搭載してもよい。なお、GND導体面255が無い場合の放射は、導体パッチ板の両面方向になされる。
図11に示す第5改変例は、略扇形状の導体パッチ4,4の周囲に、GND導体面256と、そのGND導体面256とGND導体面255を接続するスルーホール35を設けて、誘電体基板259内部を信号が伝達して基板の端から漏れ出て損失となるのを防止した例である。GND導体面256の寸法・形状を適当に設定すれば、誘電体基板259内部を信号が伝達する代わりに、その損失分の信号エネルギーを本来の放射エネルギーとして利用できる。
図12に示すのは、矩形状の導体パッチ4d,4dと、これら導体パッチ4d,4dと適宜な空隙244を保って配置した接地導体面256dとにより、発振用の共振キャビティを構成した第6改変例である。
図13に示すのは、高周波トランジスタ1に接続される矩形状の導体パッチ4e1,4e1の付近に、高周波トランジスタ1とは接続されていない矩形状の導体パッチ4e2,4e2を設け、導体パッチ4e1と導体パッチ4e2との間および接地導体面256eとを空隙244eで隔てて、発振用の共振キャビティを構成した第7改変例である。
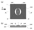
図14に示すのは、半楕円状の導体パッチ4f,4fと、これら導体パッチ4f,4fと適宜な空隙244fを保って配置した接地導体面256fとにより、発振用の共振キャビティを構成した第8改変例である。この空隙244fの幅は、場所に応じて変化させ、発振条件を満たすようにする。
導体パッチおよび空隙の形状は、上述した図11〜図14に示した構成例に限定されるものではなく、発振条件を満たしていれば、如何様な構成であっても、本発明に適用可能である。また、導体パッチおよび空隙、GND導体面、誘電体基板は、発振動作のための帰還回路の一部を構成しているが、その帰還が適切に得られさえすれば、誘電体基板259やGND導体面255は必ずしも設ける必要はない。なお、GND導体面255が無い場合の放射は、導体パッチ面の両側方向になされる。
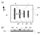
図15に示すのは、スロット245と接地導体面256とにより発振用の共振キャビティを構成した第9改変例である。このスロット245は、図7にて例示した矩形状の導体パッチ4aに対して、補対の関係にあり、発振条件を満たす。無論、発振条件を満たしていれば、スロット245の形状は特に限定されるものではない。本構成例では、高周波トランジスタ1のゲートとドレインに異なる直流バイアス電圧を印加するために、ゲートとドレインを直流的に分離し、高周波的に導通させる容量結合部246を設けてある。この容量結合部246は、間隙による容量やMIM(Metal−Insulator−Metal)容量、キャパシタ部品などを用いて実現でき、誘電体基板259やGND導体面255は必ずしも設ける必要はない。なお、GND導体面255が無い場合の放射は、導体パッチ面の両側方向になされる。
上述した導体パッチの改変例は、何れも一対の導体パッチを高周波トランジスタ1に対して対象に設けた例を示したが、非対称形状の導体パッチを用いてもよい。
図16に示すのは、矩形状の第1導体パッチ4g1と矩形状の第2導体パッチ4g2を非対称に構成した第10改変例である。このように第1導体パッチ4g1と第2導体パッチ4g2を非対称形状としても、共振周波数は導体パッチ部全体の寸法(図16(a)中、Lで示す)で基本的に決まることから、発振条件さえ満たしていれば、アンテナと発振回路が渾然一体となったタイプの放射型発振器として動作させることが可能である。
図17に示すのは、略半円形の導体パッチ4h,4hと、これら導体パッチ4h,4hと適宜な空隙244hを保って配置した接地導体面256hとにより、リングスロット型アンテナを放射面側に形成し、発振用の共振キャビティを構成した第11改変例である。
図18に示すのは、矩形状の導体パッチ4、4の周辺に、高周波トランジスタ1と接続されていない導体パッチ247を適宜に配置して、放射指向性を制御可能とした第12改変例である。導体パッチ4i,4iと導体パッチ247との位置関係や、寸法関係を適宜設定することにより、例えば八木アンテナのような動作をさせることができる。
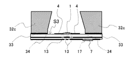
次に、図19に基づいて、第3実施形態に係るパルス信号発生装置を説明する。本実施形態のパルス信号発生装置は、放射型発振器基板S3(上述した放射型発振器基板S1,S1′,S2,S2′と同じ高周波パルス発振・放射構造で、その動作も同じ)に、周波数選択性濾波手段としての周波数選択性平面(FSS:Frequency Selective Surface)を備えたものである。また、放射する高周波パルス信号の周波数より低い周波数の不要信号成分(例えば、ベースバンド信号成分,モノパルス信号成分)の漏洩防止のための接地導体構造を備えたものである。
放射型発振器基板S3の放射方向側には、ローパスフィルタパターン30を内面(放射型発振器基板S3の放射面に対向する面)側にパターニングしたFSS基板31が配置され、接地導体構造たる金属導体構造物32aにより放射面から適宜距離を隔てて支持されている。放射型発振器基板S3は、図11に示す第5改変例のように導体パッチ4の周囲を囲むように接地導体ベタパターン33を設け、この接地導体ベタパターン33はスルーホール34で内層GNDと接続されている。なお、スルーホール34は、波長より十分短い間隔で導体パッチの周囲に多数配置されている。
上記金属導体構造物32aは、接地導体ベタパターン33を介して内層GNDと電気的に接触しており、直流ないしは比較的低い周波数にとって、金属導体構造物32aは本装置のフレームグランド(本装置全体の基本接地導体)として機能する。また、金属導体構造物32aは、放射型発振器基板S3の放射面側からFSS基板31に向って拡径するホーン形状の放射空部を形成し、高周波パルス信号の放射指向性が鋭くなるようにした。すなわち、金属導体構造物32aは、放射指向性の先鋭化機能とフレームグランドとしての機能を兼務するのである。
このように、FSS基板31と金属導体構造物32aを備えた本実施形態の高周波パルス信号発生装置においては、発生した高周波パルス信号の不要な高調波周波数成分をローパスフィルタパターン30にて形成したFSS基板31にて減衰させることができる。さらに、導体パッチ4から漏洩しようとするベースバンド信号およびモノパルス信号成分(直流から比較的低い周波数成分)の電磁界が、導体パッチ4とフレームグランドとの間に閉じ込められて放射には至らない。なお、ベースバンド信号およびモノパルス信号の周波数成分が、高周波パルス信号の周波数成分に対して十分低い場合は、金属導体構造物32aを取り除いて、接地導体ベタパターン33と内層GNDのみでフレームグランドを構成しても、漏洩防止の機能を有する。
また、本実施形態の高周波パルス信号発生装置は、FSS基板31と金属導体構造物32aと放射型発振器基板S3とにより、高周波トランジスタ1と導体パッチ4、4の部分を囲い込んだ形態であり、RF回路部を外気と隔てることができる。よって、FSS基板31と金属導体構造物32aと放射型発振器基板S3とを本装置の気密ハウジングの一部とし、外部環境による性能劣化を防止できる。
また、金属導体構造物32aのように、放射空部を放射方向に向って拡径するホーン形状とせずに、図20に示す金属導体構造物32bのように直線管状(第4実施形態)としたり、図21に示す金属導体構造物32cのように放射方向に向かって縮径する形状(第5実施形態)として、その口径の寸法をベースバンド信号およびモノパルス信号の周波数成分がカットオフとなるように設定すれば、ベースバンド信号およびモノパルス信号の不要な漏洩を防止することができる。カットオフとなるように設定するとは、導波管でいうところのカットオフ周波数(低域しゃ断周波数)未満になるよう口径寸法にするということで、カットオフ周波数とは電磁波が管内を管軸方向に進行できなくなる境目の周波数のことである。このようなローカットフィルタは、簡易な構造でありながら、周波数選択性濾波手段の機能と、接地導体構造による不要信号漏洩防止手段の機能とを備えている。
また、FSS基板31に設ける回路パターンを適宜設定し、発生した高周波パルス信号の基本波周波数成分を減衰させて、任意の高調波周波数成分を選択的に透過させて放射させることもできる。このように高調波周波数成分を不要信号とせずに積極的に利用することで、fmax(最大発振周波数)の小さい低コスト・低性能のトランジスタを用いても、比較的高い周波数のパルス信号放射が可能な装置を実現できる。なお、高調波周波数成分を用いる高周波パルス信号発生装置においては、基本波周波数成分を用いる場合に比べて放射電力が微弱になるものの、近距離通信や近距離センサの信号源として利用できる。
なお、本実施形態においては周波数選択性濾波手段としてのFSSを、FSS基板31にFSSパターン面をパターニングして実現したが、FSSパターン面を保持することができれば、特に基板を必要とするものではない。
また、FSS以外の周波数選択性濾波手段を採用した第6実施形態のパルス信号発生装置は、図22のように導波管濾波器40を配置したものである。
導波管濾波器40は、放射型発振器の放射波を導波管の伝送波に変換する変換部41と、アイリス板などの導波管回路で構成した濾波器42と、該濾波器42により所望のRF帯域を選別して通過または減衰させ、通過した信号を放射させるホーンアンテナ43を備える。なお、変換部41は、例えばテーパー状構造により所望の大きさの導波管口まで徐々に管の太さを変化させたものであり、仮に放射型発振器基板S3の導体パッチ4が所望の大きさの導波管口より小さいサイズであればテーパー状構造の必要はなく、放射型発振器基板S3からの放射波を導波管の伝送波に効率よく変換できる構造であればよい。
以上、本発明に係るパルス信号発生装置を幾つかの実施形態に基づき説明したが、本発明は、これらの実施形態のみに限定されるものではなく、特許請求の範囲に記載の構成を変更しない限りにおいて実現可能な全てのパルス信号発生装置を権利範囲として包摂するものである。
上述した特徴的効果を奏する本発明のパルス信号発生装置は、UWB通信システム、UWB車載センサ(レーダ)システム、防犯・医療・看護等のためのUWB電波モニターシステム、UWBアクティブイメージングアレーなどで用いると、上記利点を生かすことができる。特に、部品コストが高く、伝送損失の増加やデバイス性能により低電力効率になるミリ波帯のシステムにおいて大きな優位性が見込まれる。なお、これらのシステムに適用する際には、本発明のパルス信号発生装置をSelf−Oscillatingダウンコンバートミキサとしても動作させれば、同一装置にてインパルス型のUWB送信機とUWB受信機、UWBセンサ装置を実現することができる。例えば、送信機としては、任意のベースバンド信号により任意のタイミングで高周波パルス信号列を発生放射させ、受信機としては、外部からの到来高周波パルス信号が本装置に入射する時にローカル信号に相当する高周波パルス信号を発生すれば、タイミングが合ったときのみダウンコンバート(パルス幅時間内のMixing動作)される信号対雑音比の良好なUWB送受信機、UWBセンサ装置が実現できる。放射指向性を鋭くするには、本装置の放射方向側にホーン構造を設けて所望の開口を確保する方法や、放射PatchあるいはSlotの近くの放射方向側に波面を制御する誘電体レンズを配置する方法などが考えられる。
前記UWB通信システムシステムは、家庭やオフィス環境でのPCや周辺機器、AV機器、携帯端末などに本発明に係るパルス信号発生装置で構成したインパルス型UWB送受信機を搭載し、それぞれの機器間のデータ通信を行うシステムである。本システムは、従来のUWB送受信機を用いたシステムに比べ、低コストにて機器間のケーブルレス化を行うことができる。また、低消費電力であることから、特にバッテリーにて動作するノートPCなどの携帯機器に搭載する場合に有利である。
前記車載センサシステムは、車体の前後左右に本発明に係るパルス信号発生装置で構成したUWBセンサ装置を複数搭載し、それぞれ適当な変調動作をさせるなどし、その複数のパルス信号発生装置で構成したUWBセンサ装置の中の任意の装置から得たIF信号の位相情報や遅延時間差などを総合的に信号処理、信号解析し、自動制御や運転者への通知などを行うシステムである。これは、単独のセンサ装置を用いた場合に比べ、多角的で正確なセンシングや高解像度センシングが可能であり、また、モーターなどにより機械的にセンサの方角を振る必要が無く、電気的に高速に目標物の方角を特定することも可能である。特に、本発明に係るパルス信号発生装置で構成したUWBセンサ装置は低コスト・低消費電力で提供できるので、多数のセンサ装置を用いた高度な衝突防止等の安全走行機能、車庫入れ時の運転補助機能、車体周囲の死角に起因する事故防止機能などを有する車載センサシステムを普及価格帯にて実現できる。
前記防犯・医療・看護等のための電波モニターシステムは、住宅の周囲の多数箇所に本発明に係るパルス信号発生装置で構成したUWBセンサ装置を設置し、それぞれの箇所のセンサ装置から得るIF信号から不審な侵入者の存在や場所、移動経路などの情報を警告するシステム、或いは病院内の多数の患者用ベッド上天井部に本発明に係るパルス信号発生装置で構成したUWBセンサ装置をそれぞれ設置してネットワークを構成し、それぞれの患者の存在、呼吸の様子などをモニターし、異常時に警告するシステムなどである。このような多数のセンサ装置を用いるシステムの構築には、単体のセンサ装置が低コストであることが重要であり、本発明のパルス信号発生装置で構成したUWBセンサ装置が有利である。特に、本発明に係るパルス信号発生装置で構成したUWBセンサ装置は、高感度特性であるがゆえに放射電力を弱めて動作させることが可能であり、また、携帯電話などで利用が進んでいる準マイクロ波帯の電波に比べて他の電子機器の動作に与える影響が小さい準ミリ波帯、ミリ波帯の電波を用いるセンサ装置として低コストでの供給を実現できることから、医療機器や心臓ペースメーカなどに誤動作をもたらす外部電波の影響を排除する必要がある病院内において、その有用性は特に高いものである。
前記アクティブイメージングアレーは、本発明に係るパルス信号発生装置で構成したUWBセンサ装置において、放射型発振器をN行M列のマトリックス状に配置して放射型発振器基板を構成し、マトリックス制御により任意の放射型発振器あるいは全ての放射型発振器を動作・スキャンさせ、それぞれの放射型発振器より取得したIF信号を総合的に信号処理、信号解析することで、被測定物の形状や形状変動などのイメージングを行うものである。
本発明の第1実施形態に係るパルス信号発生装置における放射型発振器基板の模式図である。 放射型発振器における導体パッチおよびマイクロ波トランジスタの構成説明図である。 本発明に係るパルス信号発生装置により発生放射させた高周波パルス信号を実測した波形図である。 第1実施形態に係るパルス信号発生装置における放射型発振器基板を等価的に改変した模式図である。 本発明の第2実施形態に係るパルス信号発生装置における放射型発振器基板の模式図である。 第2実施形態に係るパルス信号発生装置における放射型発振器基板を等価的に改変した模式図である。 本発明に適用可能な共振キャビティの第1構成例の模式図である。 本発明に適用可能な共振キャビティの第2構成例の模式図である。 本発明に適用可能な共振キャビティの第3構成例の模式図である。 本発明に適用可能な共振キャビティの第4構成例の模式図である。 本発明に適用可能な共振キャビティの第5構成例の模式図である。 本発明に適用可能な共振キャビティの第6構成例の模式図である。 本発明に適用可能な共振キャビティの第7構成例の模式図である。 本発明に適用可能な共振キャビティの第8構成例の模式図である。 本発明に適用可能な共振キャビティの第9構成例の模式図である。 本発明に適用可能な共振キャビティの第10構成例の模式図である。 本発明に適用可能な共振キャビティの第11構成例の模式図である。 本発明に適用可能な共振キャビティの第12構成例の模式図である。 本発明の第3実施形態に係るパルス信号発生装置の概略構成図である。 本発明の第4実施形態に係るパルス信号発生装置の概略構成図である。 本発明の第5実施形態に係るパルス信号発生装置の概略構成図である。 本発明の第6実施形態に係るパルス信号発生装置の概略構成図である。
符号の説明
S1,S2,S3 平面放射型発振器基板
1 マイクロ波トランジスタ
2 ゲート
3 ドレイン
4 導体パッチ
5a ゲート側RFチョーク回路
5b ドレイン側RFチョーク回路
6 ドレイン電圧供給端子
7 モノパルス発生回路
8 ソース
9 線路
10 表面側誘電体基板
11 裏面側誘電体基板
12 内層GND
13 スルーホール部
15 直流ゲート電圧供給端子
17 スルーホール
18 ソース電極

Claims (6)

  1. 共振キャビティに負性抵抗を発生するように3電極高周波増幅素子を集積化させるとともに、電磁波を空間へ放射するアンテナ機能を共用させるように放射型発振器を構成し、
    前記3電極高周波増幅素子を短時間動作させることにより短時間の負性抵抗を得て、この負性抵抗と前記共振キャビティの構造に基づいて定まる発振周波数・周波数帯域幅の高周波パルス信号を発生すると同時に空間へ放射するようにしたことを特徴とするパルス信号発生装置。
  2. 前記放射型発振器の3電極高周波増幅素子における3電極は、被制御電流流入電極と被制御電流流出電極と制御電極であり、
    被制御電流流入電極または被制御電流流出電極にモノパルス信号を供給し、このモノパルス信号自体の電力を電源電力として短時間の負性抵抗を得るようにしたことを特徴とする請求項1に記載のパルス信号発生装置。
  3. 前記放射型発振器の3電極高周波増幅素子における3電極は、被制御電流流入電極と被制御電流流出電極と制御電極であり、
    被制御電流流入電極または被制御電流流出電極に直流を供給し、制御電極にはモノパルス信号を供給することで、短時間の被制御電流が流れるようにし、短時間の負性抵抗を得るようにしたことを特徴とする請求項1に記載のパルス信号発生装置。
  4. 前記放射型発振器に、モノパルス信号発生回路を集積化したことを特徴とする請求項2又は請求項3に記載のパルス信号発生装置。
  5. 前記放射型発振器の放射面から適宜距離を隔てて配置され、所要周波数の電波を選択的に濾波する周波数選択性濾波手段を備えたことを特徴とする請求項1〜請求項4の何れか1項に記載のパルス信号発生装置。
  6. 前記放射型発振器の放射方向側に、放射する高周波パルス信号の周波数より低い周波数の不要信号成分の漏洩を防止する接地導体構造を設けたことを特徴とする請求項1〜請求項5の何れか1項に記載のパルス信号発生装置。
JP2008260816A 2008-10-07 2008-10-07 パルス信号発生装置 Expired - Fee Related JP5565823B2 (ja)

Priority Applications (4)

Application Number Priority Date Filing Date Title
JP2008260816A JP5565823B2 (ja) 2008-10-07 2008-10-07 パルス信号発生装置
US13/123,135 US8847817B2 (en) 2008-10-07 2009-10-06 Pulse signal generation device
PCT/JP2009/067682 WO2010041752A1 (ja) 2008-10-07 2009-10-06 パルス信号発生装置
CN200980144195.4A CN102210060B (zh) 2008-10-07 2009-10-06 脉冲信号发生装置

Applications Claiming Priority (1)

Application Number Priority Date Filing Date Title
JP2008260816A JP5565823B2 (ja) 2008-10-07 2008-10-07 パルス信号発生装置

Publications (2)

Publication Number Publication Date
JP2010093491A true JP2010093491A (ja) 2010-04-22
JP5565823B2 JP5565823B2 (ja) 2014-08-06

Family

ID=42100698

Family Applications (1)

Application Number Title Priority Date Filing Date
JP2008260816A Expired - Fee Related JP5565823B2 (ja) 2008-10-07 2008-10-07 パルス信号発生装置

Country Status (4)

Country Link
US (1) US8847817B2 (ja)
JP (1) JP5565823B2 (ja)
CN (1) CN102210060B (ja)
WO (1) WO2010041752A1 (ja)

Families Citing this family (11)

* Cited by examiner, † Cited by third party
Publication number Priority date Publication date Assignee Title
DE102007034329A1 (de) * 2007-07-24 2009-01-29 Robert Bosch Gmbh Radarvorrichtung
CN106463834A (zh) * 2014-03-26 2017-02-22 天线国际有限责任公司 贴片天线、制造和使用此天线的方法和天线系统
CN104112899B (zh) * 2014-04-28 2017-02-22 西安电子工程研究所 一种高功率盘锥天线
GB201503855D0 (en) * 2015-03-06 2015-04-22 Q Free Asa Vehicle detection
CN106921407B (zh) * 2017-02-28 2020-04-21 江苏康尔知智能科技有限公司 一种基于uwb自动检测的人体摔倒传感方法及装置
WO2020073643A1 (en) * 2018-10-10 2020-04-16 Huawei Technologies Co., Ltd. Wideband vertical polarized end-fire antenna
CN109599679B (zh) * 2018-10-25 2020-12-18 西安理工大学 一种应用于超宽带天线的超宽带频率选择表面结构
CN110212300B (zh) * 2019-05-22 2021-05-11 维沃移动通信有限公司 一种天线单元及终端设备
CN112615157B (zh) * 2020-12-14 2021-10-22 西安电子科技大学 一种应用平面渐近圆锥馈电臂的超宽带脉冲辐射天线
CN114914670B (zh) * 2022-06-29 2024-12-03 四川太赫兹通信有限公司 一种太赫兹电控编码天线单元及太赫兹电控编码天线
CN115663484B (zh) * 2022-12-27 2023-04-14 广东工业大学 一种小型化自振荡有源集成天线系统

Citations (13)

* Cited by examiner, † Cited by third party
Publication number Priority date Publication date Assignee Title
JPH08511341A (ja) * 1993-04-12 1996-11-26 ザ リージェンツ オブ ザ ユニバーシティ オブ カリフォルニア 超広帯域レーダの運動センサ
JPH10511182A (ja) * 1994-12-19 1998-10-27 ザ リージェンツ オブ ザ ユニヴァーシティー オブ カリフォルニア 掃引距離ゲートを有するインパルスレーダー
JPH1131918A (ja) * 1997-07-11 1999-02-02 Yuseisho Tsushin Sogo Kenkyusho マイクロ波ミリ波放射型発振装置
JP2000261234A (ja) * 1999-03-05 2000-09-22 Communication Research Laboratory Mpt 平面放射型発振装置
JP2001251138A (ja) * 2000-03-06 2001-09-14 Communications Research Laboratory Mphpt 平面構造放射型発振装置
JP2004072589A (ja) * 2002-08-08 2004-03-04 Matsushita Electric Ind Co Ltd 超広帯域(uwb)送信装置及び超広帯域(uwb)受信装置
JP2006504963A (ja) * 2002-11-08 2006-02-09 シーメンス アクチエンゲゼルシヤフト 近距離レーダー測定用のマルチスタティックセンサ装置およびこのセンサ装置の駆動方法
JP2006074679A (ja) * 2004-09-06 2006-03-16 Futaba Corp 超広帯域無線送信装置、超広帯域無線受信装置、及び超広帯域無線送受信方式
JP2006112915A (ja) * 2004-10-14 2006-04-27 Anritsu Corp 短パルスレーダ
JP2007174244A (ja) * 2005-12-21 2007-07-05 Canon Inc 無線通信装置および測距方法
JP2007221369A (ja) * 2006-02-15 2007-08-30 Yokohama Rubber Co Ltd:The 周波数選択板の製造方法
JP2007318469A (ja) * 2006-05-26 2007-12-06 Murata Mfg Co Ltd アンテナ装置及び高周波モジュール
JP2008061239A (ja) * 2006-09-01 2008-03-13 Korea Electrotechnology Research Inst 1ビット高速デジタルサンプラーおよびビット決定ウィンドウを用いた超広帯域インパルス無線通信システム

Family Cites Families (28)

* Cited by examiner, † Cited by third party
Publication number Priority date Publication date Assignee Title
DE1466514B2 (de) * 1965-06-12 1970-12-10 Telefunken Patentverwertungsgesellschaft Mbh, 7900 Ulm Volumeneffekt-Oszillator
US3626327A (en) * 1970-06-22 1971-12-07 Litton Precision Prod Inc Tunable high-power low-noise stabilized diode oscillator
US3702977A (en) * 1971-10-28 1972-11-14 Kjell Olow Ingemar Olsson Device for generating microwave oscillations
US3878480A (en) * 1973-09-24 1975-04-15 Gen Dynamics Corp Millimeter wave oscillator with a cavity resonator
US4768079A (en) * 1984-08-07 1988-08-30 M/A Com, Inc. Field effect transistor device
JP2614037B2 (ja) * 1985-06-18 1997-05-28 財団法人 半導体研究振興会 超高周波負性抵抗半導体発振器
DE3855146T2 (de) * 1987-06-26 1996-08-08 Texas Instruments Inc Monolithischer Mikrowellen-Sender/Empfänger
US4885589A (en) * 1988-09-14 1989-12-05 General Electric Company Optical distribution of transmitter signals and antenna returns in a phased array radar system
FR2642227A1 (fr) * 1989-01-24 1990-07-27 Labo Electronique Physique Dispositif semiconducteur integre incluant une bascule bistable
DE59209349D1 (de) * 1992-12-01 1998-07-02 Siemens Ag Spannungsgesteuerter Mikrowellen-Oszillator
US5623233A (en) * 1993-11-10 1997-04-22 The United States Of America As Represented By The Secretary Of The Army Pulsed optically injection locked MESFET oscillator
CN2245273Y (zh) * 1995-05-15 1997-01-15 颜夕军 自控转向天线
US6545553B1 (en) * 1998-10-08 2003-04-08 Mitel Semiconductor Limited Oscillator for generating microwave radiation, and method of assembling an oscillator
JP3440909B2 (ja) * 1999-02-23 2003-08-25 株式会社村田製作所 誘電体共振器、インダクタ、キャパシタ、誘電体フィルタ、発振器、誘電体デュプレクサおよび通信装置
ATE389286T1 (de) 1999-11-29 2008-03-15 Multispectral Solutions Inc Ultrabreitband-datenvermittlungssystem
JP3521834B2 (ja) * 2000-03-07 2004-04-26 株式会社村田製作所 共振器、フィルタ、発振器、デュプレクサおよび通信装置
JP2003243930A (ja) * 2001-12-12 2003-08-29 Murata Mfg Co Ltd 発振器
JP4226880B2 (ja) 2002-11-29 2009-02-18 三星電子株式会社 超広帯域無線送信装置
JP4446785B2 (ja) * 2003-08-27 2010-04-07 京セラ株式会社 高周波送受信器およびそれを具備するレーダ装置ならびにそれを搭載したレーダ装置搭載車両およびレーダ装置搭載小型船舶
WO2005069905A2 (en) * 2004-01-16 2005-08-04 Ghz Tr Corporation Methods and apparatus for automotive radar sensors
US7602333B2 (en) * 2004-02-26 2009-10-13 Kyocera Corporation Transmitting/receiving antenna, isolator, high-frequency oscillator, and high-frequency transmitter-receiver using the same
US7265711B2 (en) * 2004-06-29 2007-09-04 Kyocera Corporation High-frequency oscillator, high-frequency transmission-reception apparatus using the same, radar apparatus, and radar-apparatus-equipped vehicle and small boat equipped with the same
JP4456998B2 (ja) * 2004-12-28 2010-04-28 日立オートモティブシステムズ株式会社 速度センサおよびそれを用いた対地車速センサ
JP2007124628A (ja) 2005-09-29 2007-05-17 Univ Of Tokyo スイッチトアンテナ及びパルスジェネレータ及び関連装置
JP5196750B2 (ja) * 2006-08-25 2013-05-15 キヤノン株式会社 発振素子
WO2008120826A1 (ja) * 2007-04-02 2008-10-09 National Institute Of Information And Communications Technology マイクロ波・ミリ波センサ装置
JP5099493B2 (ja) 2007-09-28 2012-12-19 独立行政法人情報通信研究機構 無線通信ネットワークシステム
GB2456043B (en) * 2007-12-28 2011-11-30 Furuno Electric Co Harmonic suppression resonator, harmonic propagation blocking filter, and radar apparatus

Patent Citations (13)

* Cited by examiner, † Cited by third party
Publication number Priority date Publication date Assignee Title
JPH08511341A (ja) * 1993-04-12 1996-11-26 ザ リージェンツ オブ ザ ユニバーシティ オブ カリフォルニア 超広帯域レーダの運動センサ
JPH10511182A (ja) * 1994-12-19 1998-10-27 ザ リージェンツ オブ ザ ユニヴァーシティー オブ カリフォルニア 掃引距離ゲートを有するインパルスレーダー
JPH1131918A (ja) * 1997-07-11 1999-02-02 Yuseisho Tsushin Sogo Kenkyusho マイクロ波ミリ波放射型発振装置
JP2000261234A (ja) * 1999-03-05 2000-09-22 Communication Research Laboratory Mpt 平面放射型発振装置
JP2001251138A (ja) * 2000-03-06 2001-09-14 Communications Research Laboratory Mphpt 平面構造放射型発振装置
JP2004072589A (ja) * 2002-08-08 2004-03-04 Matsushita Electric Ind Co Ltd 超広帯域(uwb)送信装置及び超広帯域(uwb)受信装置
JP2006504963A (ja) * 2002-11-08 2006-02-09 シーメンス アクチエンゲゼルシヤフト 近距離レーダー測定用のマルチスタティックセンサ装置およびこのセンサ装置の駆動方法
JP2006074679A (ja) * 2004-09-06 2006-03-16 Futaba Corp 超広帯域無線送信装置、超広帯域無線受信装置、及び超広帯域無線送受信方式
JP2006112915A (ja) * 2004-10-14 2006-04-27 Anritsu Corp 短パルスレーダ
JP2007174244A (ja) * 2005-12-21 2007-07-05 Canon Inc 無線通信装置および測距方法
JP2007221369A (ja) * 2006-02-15 2007-08-30 Yokohama Rubber Co Ltd:The 周波数選択板の製造方法
JP2007318469A (ja) * 2006-05-26 2007-12-06 Murata Mfg Co Ltd アンテナ装置及び高周波モジュール
JP2008061239A (ja) * 2006-09-01 2008-03-13 Korea Electrotechnology Research Inst 1ビット高速デジタルサンプラーおよびビット決定ウィンドウを用いた超広帯域インパルス無線通信システム

Also Published As

Publication number Publication date
CN102210060A (zh) 2011-10-05
WO2010041752A1 (ja) 2010-04-15
JP5565823B2 (ja) 2014-08-06
CN102210060B (zh) 2016-03-30
US20120002388A1 (en) 2012-01-05
US8847817B2 (en) 2014-09-30

Similar Documents

Publication Publication Date Title
JP5565823B2 (ja) パルス信号発生装置
JP5761585B2 (ja) パルスレーダ装置
CN102210059B (zh) 脉冲无线通信装置
JP5422834B2 (ja) マイクロ波・ミリ波センサ装置
US7239852B2 (en) Asymmetric, optimized common-source bi-directional amplifier
TWI536660B (zh) 通訊裝置及其多天線系統設計之方法
US8514130B1 (en) Directional spectral awareness with single antenna radio
KR20050058229A (ko) 초광대역 어플리케이션용 3차원 전방향성 안테나 설계
US8380140B2 (en) Microwave/millimeter wave communication apparatus
US20240313412A1 (en) Active metasurfaces
JP2010283500A (ja) 極短パルス発生装置
JP2001053544A (ja) アンテナ一体型増幅器モジュール
JP2006340202A (ja) アンテナ装置およびこれを備えた無線通信装置
US20250105518A1 (en) Backplane for metasurface antenna with an amplifier driven by drive circuitry
JP2003066133A (ja) レーダ装置
JP4911613B2 (ja) マイクロ波・ミリ波通信装置
Zheng et al. A radiation pattern reconfigurable yagi antenna
WO1999031755A2 (en) Method and arrangement relating to antennas
Shinde et al. Design of Compact UWB Printed Slot Antenna for GPS, GSM &Bluetooth Applications

Legal Events

Date Code Title Description
A621 Written request for application examination

Free format text: JAPANESE INTERMEDIATE CODE: A621

Effective date: 20111003

A131 Notification of reasons for refusal

Free format text: JAPANESE INTERMEDIATE CODE: A131

Effective date: 20130730

A521 Written amendment

Free format text: JAPANESE INTERMEDIATE CODE: A523

Effective date: 20130930

A131 Notification of reasons for refusal

Free format text: JAPANESE INTERMEDIATE CODE: A131

Effective date: 20140311

A521 Written amendment

Free format text: JAPANESE INTERMEDIATE CODE: A523

Effective date: 20140512

TRDD Decision of grant or rejection written
A01 Written decision to grant a patent or to grant a registration (utility model)

Free format text: JAPANESE INTERMEDIATE CODE: A01

Effective date: 20140603

A61 First payment of annual fees (during grant procedure)

Free format text: JAPANESE INTERMEDIATE CODE: A61

Effective date: 20140611

R150 Certificate of patent or registration of utility model

Ref document number: 5565823

Country of ref document: JP

Free format text: JAPANESE INTERMEDIATE CODE: R150

S533 Written request for registration of change of name

Free format text: JAPANESE INTERMEDIATE CODE: R313533

R350 Written notification of registration of transfer

Free format text: JAPANESE INTERMEDIATE CODE: R350

R250 Receipt of annual fees

Free format text: JAPANESE INTERMEDIATE CODE: R250

R250 Receipt of annual fees

Free format text: JAPANESE INTERMEDIATE CODE: R250

LAPS Cancellation because of no payment of annual fees