JP2010092937A - 導電性バンプ付き基板シート製造方法および多層プリント配線板製造方法 - Google Patents

導電性バンプ付き基板シート製造方法および多層プリント配線板製造方法 Download PDF

Info

Publication number
JP2010092937A
JP2010092937A JP2008258902A JP2008258902A JP2010092937A JP 2010092937 A JP2010092937 A JP 2010092937A JP 2008258902 A JP2008258902 A JP 2008258902A JP 2008258902 A JP2008258902 A JP 2008258902A JP 2010092937 A JP2010092937 A JP 2010092937A
Authority
JP
Japan
Prior art keywords
substrate sheet
conductive paste
conductive
bump
curing
Prior art date
Legal status (The legal status is an assumption and is not a legal conclusion. Google has not performed a legal analysis and makes no representation as to the accuracy of the status listed.)
Granted
Application number
JP2008258902A
Other languages
English (en)
Other versions
JP5332476B2 (ja
Inventor
Tsutomu Uchiumi
海 勉 内
Masayuki Nagashima
島 正 幸 長
Hiroyuki Shirogane
金 弘 之 白
Ko Ueno
野 蒿 上
Current Assignee (The listed assignees may be inaccurate. Google has not performed a legal analysis and makes no representation or warranty as to the accuracy of the list.)
Dai Nippon Printing Co Ltd
Original Assignee
Dai Nippon Printing Co Ltd
Priority date (The priority date is an assumption and is not a legal conclusion. Google has not performed a legal analysis and makes no representation as to the accuracy of the date listed.)
Filing date
Publication date
Application filed by Dai Nippon Printing Co Ltd filed Critical Dai Nippon Printing Co Ltd
Priority to JP2008258902A priority Critical patent/JP5332476B2/ja
Publication of JP2010092937A publication Critical patent/JP2010092937A/ja
Application granted granted Critical
Publication of JP5332476B2 publication Critical patent/JP5332476B2/ja
Expired - Fee Related legal-status Critical Current
Anticipated expiration legal-status Critical

Links

Images

Landscapes

  • Production Of Multi-Layered Print Wiring Board (AREA)
  • Printing Elements For Providing Electric Connections Between Printed Circuits (AREA)

Abstract

【課題】基板シートに導電性ペーストを転移させる回数を減少させること。
【解決手段】導電性バンプ付き基板シート製造方法は、印刷定盤によって基板シート61を保持する保持工程と、基板シート61上に導電性ペースト70を転移させる第一転移工程と、基板シート61上の導電性ペースト70を半硬化させる第一硬化工程と、を備えている。導電性バンプ付き基板シート製造方法は、さらに、半硬化された導電性ペースト71を変形させて、縦断面が略台形状からなる変形バンプ72を生成する変形工程と、変形バンプ72上に、導電性ペースト70を転移させる第二転移工程と、第二転移工程で変形バンプ72上に転移された導電性ペースト70を硬化または半硬化させて導電性バンプ75を生成する第二硬化工程と、を備えている。
【選択図】図8

Description

本発明は、基板シート上に複数の導電性バンプが形成された導電性バンプ付き基板シートを製造する方法と、このようにして製造された導電性バンプ付き基板シートを用いて多層プリント配線板を製造する方法に関する。
従来から、銅箔などの基板シートの表面に複数の略円錐状の導電性バンプが形成された導電性バンプ付き基板シートと、プリプレグなどの絶縁材料部材とを交互に重ね合わせることにより形成される多層プリント配線板が知られている。このような多層プリント配線板において、基板シートの表面に形成された導電性バンプがプリプレグを貫通することによって、当該プリプレグの両側にある基板シート同士が導電性バンプによって電気的に接続されるようになっている(例えば、特許文献1乃至3など参照)。
そして、スクリーン版の表面に圧接されるスキージと、スキージをスクリーン版の表面に接離する方向に移動させる空気圧シリンダと、スキージがスクリーン版の表面に圧接された状態でスキージとスクリーン版とを相対移動させてスキージをスクリーン版に対して摺動させる駆動モータとを備え、スキージがスクリーン版の表面上を摺動することにより、半田ペーストなどの導電性ペーストがスクリーン版の貫通穴から押し出されてプリント基板などの基材の表面に印刷が行われる技術が知られている(特許文献4参照)。
このような従来の技術を用いて、銀ペースト、半田ペーストなどの導電性ペーストを基板シートの表面に印刷する方法について、以下、図14および図15を用いて説明する。
まず、図14に示すような平板状の基板シート161を印刷定盤111上に載置し、この平板状の基板シート161の上方にわずかな距離を隔ててスクリーン版127を設置する。また、図15に示すようにスクリーン版127には、基板シート161に導電性バンプ175(図16参照)が形成されるべき位置に対応して複数の貫通穴127aが形成されている。そして、図14および図15に示すように、スキージ122により導電性ペースト170の転移を行い、この際に図15に示すようにスキージ122がスクリーン版127を下方に押圧してこのスクリーン版127と基板シート161とを当接させることにより、導電性ペースト170がスクリーン版127の貫通穴127aを通過して平板状の基板シート161上に付着される。
その後、基板シート161の乾燥を行うことにより、図16(a)−(d)に示すように基板シート161上の導電性ペースト170が硬化して略円錐状の導電性バンプ175が形成されることとなる。
ここで、基板シート161に形成される導電性バンプ175は、当該基板シート161の厚さ方向(図16(a)−(d)の上下方向)においてプリプレグ(図示せず)を貫通させるのに十分な高さが必要とされる(バンプ径の直径が180μmのときには180±40μm程度の高さが必要となる)。また、多層プリント配線板のファインピッチ化を行う場合には、略円錐状の導電性バンプ175について、同じ高さであっても底面積が小さくなるような形状、すなわちいわゆるアスペクト比の高い略円錐状とする必要がある。
特許第3167840号 特開2004−6577号公報 特開2002−305376号公報 特開平11−48446号公報
しかしながら、従来の導電性バンプ付き基板シートの製造方法においては、平板状の基板シート161上に導電性バンプ175を形成するにあたり、スクリーン印刷工程1回あたりの基板シート161に付着する導電性ペースト170の量はスクリーン版127の貫通穴127aにより定められる。このため、導電性ペースト170の量が十分ではなく、1回のスクリーン印刷工程では導電性バンプ175の高さがプリプレグを貫通させるのに十分な高さに達しない場合が多い。
より具体的には、導電性バンプ175によりプリプレグを貫通させる際には、図16(d)に示すような高さを有する略円錐状の導電性バンプ175が求められる。ここで、図16(a)−(d)は、従来の方法により基板シート161に導電性バンプ175が形成される過程を示す図であって、図16(a)(b)(c)(d)はそれぞれ、1回目、2回目、3回目および4回目のスクリーン印刷工程および乾燥工程(硬化工程)後の導電性バンプ175の形状を示している。このため、この例では、図14に示すようなスクリーン印刷工程を4回繰り返して行うことが必要とされる。
しかしながら、スクリーン印刷工程を1回行うたびに基板シート161の乾燥工程およびCCDカメラなどによるスクリーン版127の位置合わせ工程が必要となり、十分な高さの導電性バンプ175が形成されるまでこれらの工程も何度も繰り返す必要があり製造時間が非常にかかってしまう。また、スクリーン印刷工程を繰り返し行うと、スクリーン印刷工程実行回数をa、1回のスクリーン印刷工程において不良が発生する割合をbとしたときに、歩留まり率は(1−b)≒1−a×bとなり、スクリーン印刷工程の実行回数が増えれば増えるほど導電性バンプ付き基板シートの製造における歩留まり率が低下してしまう。
本発明は、このような点を考慮してなされたものであり、基板シートの表面に導電性ペーストを転移させる回数を減少させることができ、ひいては、導電性バンプ付き基板シートの製造時間を短縮することができるとともに、歩留まり率を高くすることができる印刷装置を提供することを目的とする。
本発明による導電性バンプ付き基板シート製造方法は、
印刷定盤によって基板シートを保持する保持工程と、
前記基板シート上に導電性ペーストを転移させる第一転移工程と、
前記基板シート上の前記導電性ペーストを半硬化させる第一硬化工程と、
半硬化された前記導電性ペーストを変形させて、縦断面が略台形状からなる変形バンプを生成する変形工程と、
前記変形バンプ上に、導電性ペーストを転移させる第二転移工程と、
前記変形バンプ上に転移された前記導電性ペーストを硬化または半硬化させて、導電性バンプを生成する第二硬化工程と、
を備えている。
本発明による導電性バンプ付き基板シート製造方法において、
前記第一転移工程は、スキージをスクリーン版上で走査させることによって、該スクリーン版に載置された導電性ペーストを、貫通穴を介して前記基板シート上に転移させることが好ましい。
本発明による導電性バンプ付き基板シート製造方法において、
前記第二転移工程は、スキージをスクリーン版上で走査させることによって、該スクリーン版に載置された導電性ペーストを、貫通穴を介して前記変形バンプ上に転移させることが好ましい。
本発明による導電性バンプ付き基板シート製造方法において、
前記変形工程は、半硬化された前記導電性ペーストの先端を押圧して平坦にすることによって、縦断面が略台形状からなる変形バンプを生成することが好ましい。
本発明による導電性バンプ付き基板シート製造方法において、
前記変形工程において、回転軸を中心に回転自在なロールまたは底面が平板状の平プレスによって、半硬化された前記導電性ペーストの先端が押圧されて平坦にされることが好ましい。
本発明による多層プリント配線板製造方法は、
印刷定盤によって下方基板シートを保持する保持工程と、
前記下方基板シート上に導電性ペーストを転移させる第一転移工程と、
前記下方基板シート上の前記導電性ペーストを半硬化させる第一硬化工程と、
半硬化された前記導電性ペーストを変形させて、縦断面が略台形状からなる変形バンプを生成する変形工程と、
前記変形バンプ上に、導電性ペーストを転移させる第二転移工程と、
前記変形バンプ上に転移された前記導電性ペーストを硬化または半硬化させて、導電性バンプを生成する第二硬化工程と、
前記下方基板シート上であって前記導体バンプが配置されている箇所以外の箇所に、未硬化の絶縁材料部材を配置する絶縁材料部材配置工程と、
前記導電性バンプ上に上方基板シートを載置する上方基板シート載置工程と、
前記下方基板シートまたは前記上方基板シートを押圧して、該上方基板シートの下面に前記導電性バンプを貫入させる押圧工程と、
前記下方基板シートおよび前記上方基板シートのうち、所定の領域をマスクし、該所定の領域以外を除去して回路を形成する回路形成工程と、
を備えている。
本発明によれば、縦断面が略台形状からなる変形バンプ上に導電性ペーストが転移されるので、基板シートの表面に導電性ペーストを転移させる回数を減少させることができる。このため、導電性バンプ付基板の製造時間を短縮することができるとともに、導電性バンプ付基板シートの製造における歩留まり率を高くすることができる。
また、本発明によれば、用いられる導電性ペーストの量を多くすることができ、十分な高さ(体積)を持った導電性バンプを形成することができる。このため、基板シート間の抵抗を低減することができ、高抵抗値に起因する不良品の量を減少させることができ、歩留まり率をさらに高くすることができる。
発明を実施するための形態
実施の形態
以下、本発明に係る導電性バンプ付き基板シート製造方法および多層プリント配線板製造方法の実施の形態について、図面を参照して説明する。ここで、図1乃至図11は本発明の実施の形態を示す図である。
図1に示すように、印刷装置は、基板シート(下方基板シート)61を吸引孔(図示せず)からの吸引力によって保持する印刷定盤30と、所定のパターンからなる複数の貫通穴27aが設けられたメタルマスクなどのスクリーン版27と、このスクリーン版27を保持するスクリーン版保持部26と、スクリーン版27上で走査し、スクリーン版27に載置された銀ペーストや半田ペーストなどの導電性ペースト70(図2参照)を貫通穴27aを介して基板シート61または後述する変形バンプ72(図8参照)上に転移させるスキージ22と、を備えている。なお、上述したスキージ22と、このスキージ22を案内するガイド部材21とからスキージ機構20が構成されている。また、基板シート61は、銅箔などの導電性の金属シートからなっている。
また、図1に示すように、スキージ機構20の上流側には、回転軸12と、当該回転軸12を中心に回転自在となっているロール11を有する加圧機構10が配置されている。このロール11としては、シリコンゴム、ウレタンゴムなどのゴムロールや、樹脂ロールや、鉄、SUSなどの金属ロールを使用することができる。
なお、加圧機構10は、上下方向に移動可能となっており、下方位置に位置する際には、半硬化された導電性ペースト71の先端を押圧して平坦にすることによって、縦断面が略台形状からなる変形バンプ72を生成するように構成されている(図7参照)。
また、図1に示すように、印刷定盤30の下方にはガイド部材31が配置されている。そして、この印刷定盤30は、このガイド部材31に沿って水平方向に移動可能となっている。なお、印刷定盤30は、この印刷定盤30を移動させるための駆動力を付与する駆動部(図示せず)を有している。
また、図1に示すように、加圧機構10の上流側には、印刷定盤30に保持された基板シート61の画像を取得するCCDカメラ(画像取得装置)1が配置されている。また、このCCDカメラ1には、CCDカメラ1によって取得された画像を表示する表示画面(画像表示装置)2が接続されている。
また、図1に示すように、印刷定盤30は、この印刷定盤30に対する基板シート61の位置を調整する位置調整装置35を有している。そして、この位置調整装置35には、操作者によって入力された指示を送る位置指示部6が接続されている。なお、基板シート61にはアライメントマークが施されており、このアライメントマークをCCDカメラ1で撮影することによって、基板シート61の印刷定盤30に対する位置が位置決めされる。
そして、本実施の形態においては、上述したCCDカメラ1、表示画面2、位置調整装置35および位置指示部6から、基板シート61を印刷定盤30に対して位置づける位置決め機構が構成されている。
また、印刷装置の下流側には、図5に示すように、基板シート61が載置されるベルトコンベア41と、当該ベルトコンベア41の上方に配置され、基板シート61上の導電性ペースト70を半硬化させたり、変形バンプ72上に転移された導電性ペースト70を硬化または半硬化させたりするヒータ42と、を有する硬化部40が設けられている。なお、本実施の形態では、以降、変形バンプ72上に転移された導電性ペースト70が硬化される態様を用いて説明する。
また、硬化部40の下流側には、図11に示すように、導電性バンプ付き基板シート上にプリプレグ(絶縁材料部材)65を配置させるために用いられる絶縁材料配置装置90が配置されている。この絶縁材料配置装置90は、熱を加えつつ圧力を加える下方加熱ロール93と、下方加熱ロール93上に配置された下方緩衝材94と、熱を加えつつ圧力を加える上方加熱ロール91と、上方加熱ロール91下に配置された上方緩衝材92と、を有している。
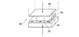
また、図12に示すように、絶縁材料配置装置90の下流側には、プリプレグ65が配置された導電性バンプ付き基板シート上に、別の基板シート(上方基板シート)66を配置して加熱しつつ押圧する配置押圧装置96が設けられている。
次に、このような構成からなる本実施の形態の作用について述べる。
まず、印刷定盤30の吸引孔(図示せず)からの吸引力によって、基板シート61が保持される(保持工程)(図1参照)。
次に、基板シート61が印刷定盤30に対して位置づけられる(位置決め工程)(図1参照)。
具体的には、まず、CCDカメラ1によって、印刷定盤30に保持された基板シート61の画像が撮影される(画像取得工程)。次に、このようにCCDカメラ1によって撮影された基板シート61の画像が、表示画面2によって表示される(画像表示工程)。
次に、操作者が、表示画面2に表示された画像に基づいて位置指示部6に指示を入力する。そして、この指示に従って、位置調整装置35が駆動され、印刷定盤30に対する基板シート61の位置が調整される。例えば、基板シート61に施されたアライメントマークがCCDカメラ1の中心位置で撮影されるよう、操作者が位置指示部6に指示を入力する。そして、この指示に従って、位置調整装置35が駆動され、アライメントマークがCCDカメラ1の中心位置にくるよう、基板シート61の印刷定盤30に対する位置が調整される(位置調整工程)。
次に、印刷定盤30が、駆動部(図示せず)から付与される駆動力によって、ガイド部材31に沿って水平方向(図2の右側)に向かって移動される。
次に、スキージ22がガイド部材21に沿ってスクリーン版27上で走査され、スクリーン版27に載置された導電性ペースト70が、貫通穴27aを介して基板シート61上に転移される(第一転移工程)(図2および図3(a)(b)参照)。なお、図3(a)(b)は、基板シート61上に導電性ペースト70が転移される様子を示した側方断面図を示している。
次に、印刷定盤30が水平方向(図4の左側)に移動され、初期位置に戻される。このとき、スキージ機構20も初期位置に戻される。
次に、基板シート61が硬化部40のベルトコンベア41上に載置される(図5参照)。その後、ベルトコンベア41上の基板シート61がヒータ42の下方に達し、ヒータ42から供給される熱によって基板シート61上の導電性ペースト70が乾燥されて半硬化される(第一硬化工程)(図5参照)。なお、導電性ペースト70が紫外線硬化性の材料からなる場合には、ヒータ42で熱を加える代わりに紫外線ランプ(図示せず)で紫外線を照射するようにしてもよい。このようにして半硬化された導電性ペースト71は、直径が180μm〜200μmであるのに対して、その高さが50μm〜100μmとなっていた。
次に、印刷定盤30によって、基板シート61が再び保持される(保持工程)(図6参照)。
次に、基板シート61が印刷定盤30に対して位置づけられる(位置決め工程)(図6参照)。
次に、ロール11が、下方に移動されて下方位置に位置づけられる(図7参照)。そして、印刷定盤30がガイド部材31に沿って水平方向(図7の右側方向)に移動されることによって、ロール11が半硬化された導電性ペースト71の先端に当接される。この結果、導電性ペースト71の先端が押圧されて平坦にされ、縦断面が略台形状からなる変形バンプ72が生成される(図7参照)。このとき、ロール11は回転軸12を中心として回転される。
次に、スキージ22がガイド部材21に沿ってスクリーン版27上で走査され、スクリーン版27に載置された導電性ペースト70が、貫通穴27aを介して変形バンプ72上に転移される(第二転移工程)(図8および図9参照)。このとき、ロール11は、上方に移動して上方位置に位置することとなる(図8参照)。なお、図9(a)(b)は、変形バンプ72上に導電性ペースト70が転移される様子を示した側方断面図を示している。
ここで本実施の形態よれば、上述のように、第一転移工程および第二転移工程の前に、表示画面2に表示された画像に基づいて、印刷定盤30を所定の位置に移動させることができる。このため、第二転移工程において、スキージ機構20のスキージ22によって転移される導電性ペースト70を、基板シート61に設けられた変形バンプ72上に、確実に転移させることができる。
このように、スキージ機構20によって転移される導電性ペースト70が変形バンプ72上に確実に載置されることとなるので、スキージ機構20のスキージ22によって導電性ペースト70を変形バンプ72上に一回転移させるだけで、その高さを十分なものにすることができる。
このため、導電性ペースト70を転移させる回数を減少させることができ、例えば、導電性ペースト70を変形バンプ72上に転移させる回数を一回にすることができる。この結果、導電性バンプ付き基板の製造時間を短縮することができる。また、導電性バンプ付き基板シートの製造における歩留まり率を高くすることもできる。
上述のように、導電性ペースト70が変形バンプ72上に転移されると、印刷定盤30は水平方向(図8の左側)に移動し、初期位置に戻ることとなる(図6参照)。このとき、スキージ機構20も初期位置に戻る(図6参照)。
次に、基板シート61が硬化部40のベルトコンベア41上に載置される(図10参照)。その後、ベルトコンベア41上の基板シート61がヒータ42の下方に達し、ヒータ42から供給される熱によって変形バンプ72上に転移された導電性ペースト70と変形バンプ72が乾燥されて硬化され、導電性バンプ75が生成される(第二硬化工程)(図10参照)。なお、このようにして生成された導電性バンプ75は、直径が180μm〜200μmであるのに対して、その高さを180μm±40μmとすることができ、アスペクト比の高い略円錐状とすることができた。
このようにして生成された導電性バンプ付き基板シートは、次に、絶縁材料配置装置90に移動される(図11参照)。そして、下方加熱ロール93から下方緩衝材94を介して熱と圧力を加えられるとともに、上方加熱ロール91から上方緩衝材92を介して熱と圧力を加えられて、導電性バンプ付き基板シート上にプリプレグ(絶縁材料部材)65が配置される(絶縁材料部材配置工程)(図11参照)。
つまり、プリプレグ65が、上方加熱ロール91と下方加熱ロール93によって、硬化しない温度まで加熱されつつ圧力を加えられ、導電性バンプ75によって貫通される。この結果、基板シート61上であって導電性バンプ75が配置されている箇所以外の箇所に、未硬化のプリプレグ65が配置されることとなる。
次に、プリプレグ65が配置された導電性バンプ付き基板シートは、配置押圧装置96に移動される(図12参照)。そして、配置押圧装置96によって、導電性バンプ75上に基板シート61と別の基板シート(上方基板シート)66が載置されるとともに(上方基板シート載置工程)、基板シート61と基板シート66に互いに向き合う方向の押圧力が付与されて、基板シート66内に導電性バンプ75が貫入されることとなる(押圧工程)(図12および図13参照)。このとき、プリプレグ65が熱硬化温度以上に加熱された後で冷却されることによって、プリプレグ65が硬化して、基板シート61と基板シート66とが接着されることとなる。
次に、基板シート61および基板シート66のうち、ランド領域と回路パターン(所定の領域)がマスクされる。その後、エッチングなどによって、基板シート61および基板シート66のうちランド領域と回路パターン以外が除去されて、回路が形成される(回路形成工程)。この結果、2層からなるプリント配線基板が生成される。ところで、上述した工程を適宜繰り返して行うことによって、2層以上の多層からなるプリント配線基板を生成することができる。
上述のように、本実施の形態によれば、縦断面が略台形状からなる変形バンプ72上に導電性ペースト70が転移されるので、用いられる導電性ペースト70の量(変形バンプ72に用いられた導電性ペースト70の量と、当該変形バンプ72上に転移された導電性ペースト70の量の総和)を多くすることができる。このため、十分な高さ(体積)を持った導電性バンプ75を形成することができ、基板シート61間の抵抗を低減することができる。この結果、高抵抗値に起因する不良品の量を減少させることができ、歩留まり率をさらに高くすることができる。
ところで、上記では、ロール11が半硬化された導電性ペースト71に当接した状態で、印刷定盤30が水平方向(図7の右側)に移動する態様を用いて説明した(図7参照)。しかしながら、これに限ることなく、ロール11が半硬化された導電性ペースト71に当接した状態で、ロール11が水平方向(図7の左側)に移動するようにしてもよい。
また、上記では、ロール11を有する加圧機構10を用いて説明したが、これに限られることなく、加圧機構10は底面が平板状の平プレスのようなものからなってもよい。しかしながら、ロール11を用いた方が、印刷装置の製造コストを低く抑えることができるので、好ましい。
本発明の実施の形態による印刷装置を側方から見た概略側方図。 本発明の実施の形態による印刷装置の一駆動状態を示した概略側方図。 本発明の実施の形態による印刷装置によって、基板シート上に導電性ペーストが転移される様子を示した側方断面図。 図2に示した状態から進んだ状態にある印刷装置を示した概略側方図。 本発明の実施の形態による硬化部において、基板シート上の導電性ペーストが半硬化される態様を示した概略側方図。 本発明の実施の形態による印刷装置の別の駆動状態を示した概略側方図。 図6に示した状態から進んだ状態にある印刷装置を示した概略側方図。 図7に示した状態から進んだ状態にある印刷装置を示した概略側方図。 本発明の実施の形態による印刷装置によって、変形バンプ上に導電性ペーストが転移される様子を示した側方断面図。 本発明の実施の形態による硬化部において、変形バンプ上に転移された導電性ペーストと、基板シート上の導電性ペーストが硬化される態様を示した概略側方図。 本発明の実施の形態による絶縁材料配置装置の構成を示す概略側方図。 本発明の実施の形態による配置押圧装置の構成を示す概略斜視図。 本発明の実施の形態によって製造された導電性バンプ付き基板シートを示す概略側方図。 基板シートに導電性バンプを形成する従来の方法を示す側面図。 図14の部分拡大側面図。 従来の方法により基板シートに導電性バンプが形成される過程を示す図。
符号の説明
1 CCDカメラ(画像取得装置)
2 表示画面(画像表示装置)
10 加圧機構
11 ロール
20 スキージ機構
22 スキージ
27 スクリーン版
27a 貫通穴
30 印刷定盤
35 位置調整装置
40 硬化部
61 基板シート(下方基板シート)
65 プリプレグ(絶縁材料部材)
66 基板シート(上方基板シート)
90 絶縁材料配置装置
96 配置押圧装置

Claims (6)

  1. 印刷定盤によって基板シートを保持する保持工程と、
    前記基板シート上に導電性ペーストを転移させる第一転移工程と、
    前記基板シート上の前記導電性ペーストを半硬化させる第一硬化工程と、
    半硬化された前記導電性ペーストを変形させて、縦断面が略台形状からなる変形バンプを生成する変形工程と、
    前記変形バンプ上に、導電性ペーストを転移させる第二転移工程と、
    前記変形バンプ上に転移された前記導電性ペーストを硬化または半硬化させて、導電性バンプを生成する第二硬化工程と、
    を備えたことを特徴とする導電性バンプ付き基板シート製造方法。
  2. 前記第一転移工程は、スキージをスクリーン版上で走査させることによって、該スクリーン版に載置された導電性ペーストを、貫通穴を介して前記基板シート上に転移させることを特徴とする請求項1に記載の導電性バンプ付き基板シート製造方法。
  3. 前記第二転移工程は、スキージをスクリーン版上で走査させることによって、該スクリーン版に載置された導電性ペーストを、貫通穴を介して前記変形バンプ上に転移させることを特徴とする請求項1に記載の導電性バンプ付き基板シート製造方法。
  4. 前記変形工程は、半硬化された前記導電性ペーストの先端を押圧して平坦にすることによって、縦断面が略台形状からなる変形バンプを生成することを特徴とする請求項1に記載の導電性バンプ付き基板シート製造方法。
  5. 前記変形工程において、回転軸を中心に回転自在なロールまたは底面が平板状の平プレスによって、半硬化された前記導電性ペーストの先端が押圧されて平坦にされることを特徴とする請求項4に記載の導電性バンプ付き基板シート製造方法。
  6. 印刷定盤によって下方基板シートを保持する保持工程と、
    前記下方基板シート上に導電性ペーストを転移させる第一転移工程と、
    前記下方基板シート上の前記導電性ペーストを半硬化させる第一硬化工程と、
    半硬化された前記導電性ペーストを変形させて、縦断面が略台形状からなる変形バンプを生成する変形工程と、
    前記変形バンプ上に、導電性ペーストを転移させる第二転移工程と、
    前記変形バンプ上に転移された前記導電性ペーストを硬化または半硬化させて、導電性バンプを生成する第二硬化工程と、
    前記下方基板シート上であって前記導体バンプが配置されている箇所以外の箇所に、未硬化の絶縁材料部材を配置する絶縁材料部材配置工程と、
    前記導電性バンプ上に上方基板シートを載置する上方基板シート載置工程と、
    前記下方基板シートまたは前記上方基板シートを押圧して、該上方基板シートの下面に前記導電性バンプを貫入させる押圧工程と、
    前記下方基板シートおよび前記上方基板シートのうち、所定の領域をマスクし、該所定の領域以外を除去して回路を形成する回路形成工程と、
    を備えたことを特徴とする多層プリント配線板製造方法。
JP2008258902A 2008-10-03 2008-10-03 導電性バンプ付き基板シート製造方法および多層プリント配線板製造方法 Expired - Fee Related JP5332476B2 (ja)

Priority Applications (1)

Application Number Priority Date Filing Date Title
JP2008258902A JP5332476B2 (ja) 2008-10-03 2008-10-03 導電性バンプ付き基板シート製造方法および多層プリント配線板製造方法

Applications Claiming Priority (1)

Application Number Priority Date Filing Date Title
JP2008258902A JP5332476B2 (ja) 2008-10-03 2008-10-03 導電性バンプ付き基板シート製造方法および多層プリント配線板製造方法

Publications (2)

Publication Number Publication Date
JP2010092937A true JP2010092937A (ja) 2010-04-22
JP5332476B2 JP5332476B2 (ja) 2013-11-06

Family

ID=42255407

Family Applications (1)

Application Number Title Priority Date Filing Date
JP2008258902A Expired - Fee Related JP5332476B2 (ja) 2008-10-03 2008-10-03 導電性バンプ付き基板シート製造方法および多層プリント配線板製造方法

Country Status (1)

Country Link
JP (1) JP5332476B2 (ja)

Citations (6)

* Cited by examiner, † Cited by third party
Publication number Priority date Publication date Assignee Title
JPH07245479A (ja) * 1994-03-07 1995-09-19 Toshiba Corp 印刷配線板の製造方法
JPH0923067A (ja) * 1995-07-05 1997-01-21 Toshiba Corp 多層印刷配線板およびその製造方法
JPH114076A (ja) * 1997-06-12 1999-01-06 Toshiba Corp プリント配線板の製造装置およびプリント配線板の製造方法
JP2001217548A (ja) * 2000-02-03 2001-08-10 Hitachi Cable Ltd 配線基板の製造方法
JP2002084068A (ja) * 2000-09-06 2002-03-22 Toshiba Corp プリント配線板、プリント配線板の製造方法、およびプリプレグ
JP2002305376A (ja) * 2001-04-05 2002-10-18 Dt Circuit Technology Co Ltd プリント配線基板の製造方法、プリント配線基板、及び、半導体装置

Patent Citations (6)

* Cited by examiner, † Cited by third party
Publication number Priority date Publication date Assignee Title
JPH07245479A (ja) * 1994-03-07 1995-09-19 Toshiba Corp 印刷配線板の製造方法
JPH0923067A (ja) * 1995-07-05 1997-01-21 Toshiba Corp 多層印刷配線板およびその製造方法
JPH114076A (ja) * 1997-06-12 1999-01-06 Toshiba Corp プリント配線板の製造装置およびプリント配線板の製造方法
JP2001217548A (ja) * 2000-02-03 2001-08-10 Hitachi Cable Ltd 配線基板の製造方法
JP2002084068A (ja) * 2000-09-06 2002-03-22 Toshiba Corp プリント配線板、プリント配線板の製造方法、およびプリプレグ
JP2002305376A (ja) * 2001-04-05 2002-10-18 Dt Circuit Technology Co Ltd プリント配線基板の製造方法、プリント配線基板、及び、半導体装置

Also Published As

Publication number Publication date
JP5332476B2 (ja) 2013-11-06

Similar Documents

Publication Publication Date Title
JP5067666B2 (ja) 印刷装置
JP2011212926A (ja) スクリーン印刷装置およびスクリーン印刷方法
JP5067667B2 (ja) 印刷方法
JP5088630B2 (ja) 導電性バンプ付き基板シート製造方法
JP5332476B2 (ja) 導電性バンプ付き基板シート製造方法および多層プリント配線板製造方法
JP5077766B2 (ja) 印刷装置および印刷方法
JP5176819B2 (ja) 多層プリント配線板の製造方法
JP5067671B2 (ja) 導電性バンプ付き基板シート製造方法
JP5402784B2 (ja) 導電性バンプ付基板シートの製造方法および多層プリント配線板の製造方法
JP5083132B2 (ja) 多層プリント配線板製造方法
JP2010080545A (ja) 導電性バンプ付き基板シート、導電性基板シートおよび多層プリント配線板
JP5109900B2 (ja) 導電性バンプ付き基板シート製造方法
JP2010080544A (ja) 導電性バンプ付き基板シートの製造方法および多層プリント配線板の製造方法
JP5125915B2 (ja) 導電性バンプ付き基板シート製造方法
JP5262509B2 (ja) 印刷装置
JP5056697B2 (ja) 印刷装置
JP5257782B2 (ja) 導電性バンプ付基板シートの製造方法および多層プリント配線板の製造方法
JP2013021111A (ja) 導電性バンプ付き基板シートの製造装置および製造方法
JP5152663B2 (ja) 多層導電性バンプ付基板シート積層体製造方法および導電性バンプ付基板シート製造方法
JP5034625B2 (ja) 多層プリント配線板製造方法
JP5035668B2 (ja) 導電性バンプ付基板シート製造方法および多層プリント配線板製造方法
JP5152665B2 (ja) 印刷装置
JP5120713B2 (ja) 多層プリント配線板製造方法
JP5152658B2 (ja) 多層導電性バンプ付基板シート積層体製造方法、導電性バンプ付基板シート製造方法、導電性バンプ付基板シート、および基板シート
JP5152659B2 (ja) 多層導電性バンプ付基板シート積層体製造方法および導電性バンプ付基板シート製造方法

Legal Events

Date Code Title Description
A621 Written request for application examination

Free format text: JAPANESE INTERMEDIATE CODE: A621

Effective date: 20110920

A977 Report on retrieval

Free format text: JAPANESE INTERMEDIATE CODE: A971007

Effective date: 20121128

A131 Notification of reasons for refusal

Free format text: JAPANESE INTERMEDIATE CODE: A131

Effective date: 20121204

A521 Written amendment

Free format text: JAPANESE INTERMEDIATE CODE: A523

Effective date: 20130201

TRDD Decision of grant or rejection written
A01 Written decision to grant a patent or to grant a registration (utility model)

Free format text: JAPANESE INTERMEDIATE CODE: A01

Effective date: 20130702

A61 First payment of annual fees (during grant procedure)

Free format text: JAPANESE INTERMEDIATE CODE: A61

Effective date: 20130715

R150 Certificate of patent or registration of utility model

Free format text: JAPANESE INTERMEDIATE CODE: R150

LAPS Cancellation because of no payment of annual fees