JP2010091502A - アルコール検出器 - Google Patents

アルコール検出器 Download PDF

Info

Publication number
JP2010091502A
JP2010091502A JP2008263617A JP2008263617A JP2010091502A JP 2010091502 A JP2010091502 A JP 2010091502A JP 2008263617 A JP2008263617 A JP 2008263617A JP 2008263617 A JP2008263617 A JP 2008263617A JP 2010091502 A JP2010091502 A JP 2010091502A
Authority
JP
Japan
Prior art keywords
alcohol
hydrogen gas
electrode
solid electrolyte
electrolyte layer
Prior art date
Legal status (The legal status is an assumption and is not a legal conclusion. Google has not performed a legal analysis and makes no representation as to the accuracy of the status listed.)
Granted
Application number
JP2008263617A
Other languages
English (en)
Other versions
JP5119118B2 (ja
Inventor
Shoji Kitanoya
昇治 北野谷
Current Assignee (The listed assignees may be inaccurate. Google has not performed a legal analysis and makes no representation or warranty as to the accuracy of the list.)
Niterra Co Ltd
Original Assignee
NGK Spark Plug Co Ltd
Priority date (The priority date is an assumption and is not a legal conclusion. Google has not performed a legal analysis and makes no representation as to the accuracy of the date listed.)
Filing date
Publication date
Application filed by NGK Spark Plug Co Ltd filed Critical NGK Spark Plug Co Ltd
Priority to JP2008263617A priority Critical patent/JP5119118B2/ja
Publication of JP2010091502A publication Critical patent/JP2010091502A/ja
Application granted granted Critical
Publication of JP5119118B2 publication Critical patent/JP5119118B2/ja
Active legal-status Critical Current
Anticipated expiration legal-status Critical

Links

Images

Landscapes

  • Measuring Oxygen Concentration In Cells (AREA)
  • Investigating Or Analysing Biological Materials (AREA)

Abstract

【課題】呼気が正常に測定されたか否かを判定し、呼気に含まれるアルコール濃度を簡易かつ正確に検知することができるアルコール検出器を提供する。
【解決手段】アルコール検知電極と第1基準電極と酸素イオン伝導性の第1固体電解質層とを有し、呼気中のアルコールを選択的に検知するアルコール検知部10と、水素ガス検知電極と第2基準電極と酸素イオン伝導性の第2固体電解質層とを有し、呼気中の水素ガスを検知する水素ガス検知部20と、水素ガス検知部の検知結果に応じて、前記呼気が正常に測定されたか否かを判定する判定部5とを備えたアルコール検出器1である。
【選択図】図1

Description

本発明は、呼気に含まれるアルコール濃度を検知するアルコール検出器に関するものである。
近年、飲酒による交通事故の増大に伴い、運転手の呼気中のアルコール濃度を測定する酒気帯び運転調査が頻繁に行われるようになっている。又、自動車等の車両にアルコール検出器を搭載し、呼気中のアルコール濃度が多い場合は運転できないよう、イグニッションにインターロックを掛けるアルコール・イグニッション・インターロックシステムが提案されている。
しかしながら、運転手(被験者)が自身の息の代わりに大気をビニル袋等に捕集してアルコール検出器に吹き付けたり、浅い呼吸をして肺に近い深部の呼気が出ないようにして、不正な測定結果を得ることがあり、対策が必要になっている。
このようなことから、呼気中アルコール濃度の測定の際、併せて呼気中のCOガス濃度をも測定し、COガス濃度に応じてアルコール濃度の測定結果を補正する技術が提案されている(例えば特許文献1参照)。
又、ガスセンサと音声センサとを呼気測定器に併設し、音声センサを用いて被験者の声の調子が一定になった時に、呼気が一定の吹付状態になったと判定してアルコール濃度を測定する提案されている(例えば特許文献2参照)。
特開2004−279228号公報 特開2002−39981号公報
しかしながら、特許文献1記載の技術の場合、COガス濃度の測定に赤外線吸収式の装置を用いると、装置が高価で大型となり測定が容易に行えない。一方、COガスセンサとして、Liイオン伝導体やNaイオン導電体の固体電解質を用いたものが存在するが、長期安定性が低いという問題がある。
又、特許文献2記載の技術の場合、被験者が一定の声の調子を出すのが難しく、測定に習熟する時間を要するという問題がある。又、戸外等の騒音の大きい環境では正確な測定が行えない可能性がある。
そこで、本発明は、呼気が正常に測定されたか否かを判定し、呼気に含まれるアルコール濃度を簡易かつ正確に検知することができるアルコール検出器を提供することを目的とする。
上記課題を解決するため、本発明のアルコール検出器は、アルコール検知電極と第1基準電極と第1固体電解質層とを有し、呼気中のアルコールを選択的に検知するアルコール検知部と、水素ガス検知電極と第2基準電極と第2固体電解質層とを有し、前記呼気中の水素ガスを検知する水素ガス検知部と、前記水素ガス検知部の検知結果に応じて、前記呼気が正常に測定されたか否かを判定する判定部とを備えたことを特徴としている。
このようにすると、呼気中に水素ガスが含まれていることを利用し、同質の固体電解質層を用いた水素ガス検知部により呼気が正常に測定されたか否かを判定できる。このため、従来の別方式の呼気中のCOガス濃度を測定する場合に比べ、アルコール検出器の構成を簡略化できる。又、戸外等の騒音の大きい環境でも測定が行え、故意に呼気を吹き込まない等の測定異常を検出し、呼気に含まれるアルコール濃度を簡易かつ正確に検知することができる。また、酸素イオン導電性の固体電解質を用いる事で、従来のLiイオン導電体やNaイオン導電体の固体電解質を用いたものよりも長期安定性を向上する事ができる。
前記判定部は、前記水素ガス検知部が検知した水素ガス濃度が閾値以上である場合に、前記呼気が正常に測定されたと判定するとよい。
このようにすると、呼気には水素ガスが1ppm程度以上含まれているにも関わらず、呼気が正常に吹き込まれていない(不正に呼気を吹き込まない場合の他、呼吸が浅い等による測定の失敗も含む)状態を判定部が識別できるので、アルコール濃度を正確に検知することができる。
前記判定部は、前記水素ガス検知部が検知した水素ガス濃度が前記閾値以上で所定時間維持された場合に、前記呼気が正常に測定されたと判定するとよい。
このようにすると、一旦吹き込んだ呼気を止める等の異常な状態(不正に呼気を止める他、呼吸が浅い等による測定の失敗も含む)に起因して水素ガス濃度が低下したことを判定部が識別できるので、アルコール濃度をより正確に検知することができる。
前記アルコール検知電極は、下地電極と、該下地電極を覆いビスマスバナジウム酸化物を主成分とする選択反応層とから構成されているか、又は前記アルコール検知電極はビスマスバナジウム酸化物を主成分とするとよい。
このようにすると、水素ガスとアルコールの混合ガスから、アルコールのみを選択的に検知することができる。これは、ビスマスバナジウム酸化物により、水素ガスが燃焼するためと考えられる。このため、アルコール検知部の構成が簡易になり、アルコール濃度の測定精度も向上する。
前記第1固体電解質層と前記第2固体電解質層とが共通になっていてもよい。
このようにすると、共通の固体電解質層上に、アルコール検知部及び水素ガス検知部が形成され、全体として1つの検知部を構成しているため、検知部がコンパクトになり、コスト低減の他、測定の安定性にも優れる。
前記第1基準電極と前記第2基準電極とが共通になっていてもよい。
このようにすると、アルコール検知部及び水素ガス検知部の基準電極をも共通としたので、検知部がさらにコンパクトになる。
この発明によれば、呼気が正常に測定されたか否かを判定し、呼気に含まれるアルコール濃度を簡易かつ正確に検知することができる。
以下、本発明の実施形態について説明する。
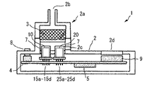
図1は、本発明の第1の実施形態に係るアルコール検出器の断面図を示す。
アルコール検出器1は、箱状の筐体2と、筐体2内に収容される回路基板4と、回路基板4に実装されるアルコール検知部10及び水素ガス検知部20と、回路基板4に実装される制御部5とを備えている。なお、制御部5が特許請求の範囲における「判定部」に相当する。
アルコール検知部10及び水素ガス検知部20は、詳しくは後述する固体電解質層を用いた板状センサであり、アルコール検知部10及び水素ガス検知部20の一端からそれぞれ突出する端子15a〜15d及び端子25a〜25dを介し、回路基板4に実装されている。そして、回路基板の上面からアルコール検知部10及び水素ガス検知部20が突出し、それぞれアルコール及び水素ガスを検知するようになっている。又、アルコール検知部10及び水素ガス検知部20の周囲が円筒状の金属網7でそれぞれ覆われ、各検知部10,20を保護している。
筐体2上面のうち、回路基板4からアルコール検知部10及び水素ガス検知部20が突出している部分は、この突出部を囲むように円筒状に張り出す測定室2aを構成し、測定室2a上端が縮径して呼気導入口2bを形成している。又、呼気導入口2bと各検知部10,20との間における測定室2a内部にはガスフィルタ3が介装され、ガスフィルタ3より下側の測定室2aの側壁に排気穴2cが開口している。そして、呼気導入口2bから導入された呼気がアルコール検知部10及び水素ガス検知部20でそれぞれ測定に供された後、排気穴2から流出するようになっている。
制御部5は、CPU(中央演算処理装置)、メモリ(ROM、RAM)を備え、ROM等に予め格納されたプログラムがCPUにより実行されるマイクロコンピュータである。
又、回路基板4には電源スイッチ8及び表示部(ディスプレイ)9が実装され、電源スイッチ8が筐体2上面に露出し、アルコール検出器1の電源のオンオフを行えるようになっている。さらに、筐体2上面には表示部9を露出させるための表示窓2dが開口している。
図2は、アルコール検出器1の構成を示すブロック図である。制御部5はアルコール検知部10及び水素ガス検知部20の動作を制御すると共に、アルコール検知部10及び水素ガス検知部20の検知結果を受信して、後述する判定を行い、判定結果を表示部9に表示する。
又、制御部5はアルコール検知部10が有するヒータを制御するヒータ制御回路6aを制御し、アルコール検知部10を動作温度に加熱する。同様に、制御部5は水素ガス検知部20が有するヒータを制御するヒータ制御回路6bを制御し、水素ガス検知部20を動作温度に加熱する。
図3は、アルコール検知部10の構成を示す平面図である。アルコール検知部10は、長尺平板状の第1固体電解質層13と、第1固体電解質層13の片面に併設されるアルコール検知電極11及び第1基準電極12とを備えている。アルコール検知電極11及び第1基準電極12は、第1固体電解質層13の一端側に配置されている。
アルコール検知電極11から第1固体電解質層13の長手方向に沿ってリード部11aが延び、リード部11aの末端が第1固体電解質層13の他端側に位置している。リード部11aの末端には電極パッド11bが接続され、電極パッド11bから第1固体電解質層13の外部に端子15aが突出している。
同様に、第1基準電極12から第1固体電解質層13の長手方向に沿ってリード部12aが延び、リード部12aの末端が第1固体電解質層13の他端側に位置している。リード部12aの末端には電極パッド12bが接続され、電極パッド12bから第1固体電解質層13の外部に端子15bが突出している。
一方、第1固体電解質層13の反対面には図示しない絶縁層が積層され、この絶縁層内に発熱抵抗体30が埋設され、全体としてヒータを構成している。発熱抵抗体30は、アルコール検知電極11と第1基準電極12の直下に位置する蛇行線状の発熱部31と、発熱部31から第1固体電解質層13の長手方向に沿って延びる一対のリード部32と、各リード部32の末端にそれぞれ接続された2個の電極パッド33とを有する。各電極パッド33から第1固体電解質層13の外部にそれぞれ端子15c、15dが突出している。
なお、上記した各端子15a〜15dは、それぞれ対応する電極パッドにロウ付けされている。そして、アルコール検知部10を図1の回路基板4に実装する際には、突出した各端子15a〜15dを回路基板4の対応する孔に挿入し、はんだ付け固定される。
図4は、図3のIV−IV線に沿う断面図である。アルコール検知電極11は、下地電極11xと、下地電極11xを覆いビスマスバナジウム酸化物を主成分とする選択反応層11yとから構成されている。又、絶縁層14が第1固体電解質層13の下面に積層され、絶縁層14内部に発熱抵抗体30が埋設されている。
下地電極11xはAuを主成分とし、第1基準電極12はPtを主成分としている。又、選択反応層11yに用いるビスマスバナジウム酸化物の組成としては特に限定されないが、例えばBiVOが挙げられる。なお、本発明において「主成分」とは、含有率が50%以上のことを指す。選択反応層11yはガスを通過させるため、多孔質体である必要があるが、ビスマスバナジウム酸化物を焼成することで多孔質体を形成することができる。又、アルコール検知電極11がビスマスバナジウム酸化物を主成分とする一層であってもよい。なお、BiVOは、酸化バナジウム(V)粉末及び酸化ビスマス(Bi)粉末を1:1(モル比)混合して得られる。
ビスマスバナジウム酸化物を含む選択反応層11yを設けると、水素ガスとアルコールの混合ガスから、アルコールのみを選択的に検知することができる。これは、ビスマスバナジウム酸化物により水素ガスが燃焼するためと考えられる。
各リード部11a、12a、32、各電極パッド11b、12b、33、発熱抵抗体30は、例えばPtやPdを主成分(合金含む)としている。各端子15a〜15dは、各種の導電線を用いることができる。
第1固体電解質層13は、例えば部分安定化ジルコニアを主成分とし、ヒータの加熱によって活性化されて酸素イオン伝導性を示す。第1固体電解質層13としては、例えばYSZ(イットリア安定化ジルコニア)、ScSZ(スカンジア安定化ジルコニア)、GDC(ガドニアドープドセリア)、SDC(サマリアドープドセリア)、ランタンガーレートを主成分とすることができる。
絶縁層14は、例えばアルミナ等のセラミックからなる。
水素ガス検知部20は、アルコール検知部10のアルコール検知電極11に代えて、水素ガス検知電極を用いること以外は、アルコール検知部10と同一の構成を有するので、説明を省略する。水素ガス検知電極としては、例えば下地電極11xと同様、Auを主成分としたもの(Au合金を含む)を用いることができる。
なお、図1において、水素ガス検知部20の各端子25a〜25dは、それぞれアルコール検知部10の各端子15a〜15dに相当する。
次に、図5を参照して、制御部(判定部)5による判定処理の一例について説明する。
まず、制御部5は、被験者が電源スイッチ8をONしたことを検知し(ステップS2)、ヒータ制御回路6a、6bを動作させ、アルコール検知部10及び水素ガス検知部20をヒータ加熱する(ステップS4)。又、制御部5は、表示部9に「WARM UP(待機中)」を表示する(ステップS6)。そして、制御部5は、アルコール検知部10及び水素ガス検知部20が所定の動作温度になったと判断すると、アルコール検知部10及び水素ガス検知部20の出力に基づき、アルコール濃度及び水素ガス濃度を測定する(ステップS8)。
次に、制御部5は、ステップS8で測定したアルコール濃度及び水素ガス濃度がそれぞれ閾値以下か否かを判定し(ステップS10)、閾値を超えている(「No」)場合はステップS8に戻る。これは、前回測定時の被験者の呼気が測定室2aに残存して次の測定に影響を与えるのを防止するためである。又、アルコール濃度についての閾値Th1と、水素ガス濃度についての閾値Th2はそれぞれ異なる。
一方、アルコール濃度及び水素ガス濃度がそれぞれ閾値以下(ステップS10で「Yes」)であれば、制御部5は、表示部9に「READY(測定準備完了)」を表示し(ステップS12)、被験者に測定(呼気吹き込み)を促す。この状態で呼気が吹き込まれるので、次に水素ガス検知部20の出力に基づき、水素ガス濃度を測定する(ステップS14)。
そして、制御部5は、ステップS14で測定した水素ガス濃度が閾値以上か否かを判定する(ステップS16)。ステップS16で閾値未満の(「No」)の場合、ステップS14に戻る。これは、通常、呼気には水素ガスが1ppm程度以上含まれているにも関わらず、被験者が吹き込んだ呼気中の水素ガスが閾値未満であるのは、呼気が正常に吹き込まれていない(不正に呼気を吹き込まない場合の他、呼吸が浅い等による測定の失敗も含む)と考えられるからである。なお、ステップS16での閾値は、ステップS10での閾値Th2と同一でもよく、異なっていてもよい。
ステップS16で水素ガス濃度が閾値以上(「Yes」)の場合、次に制御部5は、タイマーをスタートさせる(ステップS18)。さらに、制御部5は、表示部9に「MEASURE(測定)」を表示し(ステップS20)、水素ガス検知部20の出力に基づき、制御部5は水素ガス濃度を測定する(ステップS22)。
次に、制御部5は、ステップS22で測定した水素ガス濃度が閾値以上か否かを判定する(ステップS24)。ステップS24はステップS16と同様な処理であるが、被験者がステップS16で呼気を吹き込んだ後、呼気を止めることを防止するため、ステップS22を設けている。
ステップS24で閾値未満(「No」)の場合、制御部5は、表示部9に「NG」を表示し(ステップS28)、処理を終了する。
ステップS24で水素ガス濃度が閾値以上(「Yes」)の場合、次に制御部5は、所定時間維持されたか否かを判定する(ステップS26)。ステップS26で所定時間を経過する前(「No」)場合、ステップS22に戻る。ステップ22〜26の処理により、水素ガス濃度が閾値以上で所定時間維持されたか否かを判断できる。これは、アルコール濃度を正確に測定するためには、呼気が所定時間継続して吹き込まれる必要があり、呼気を止める等の異常な状態(不正に呼気を止める他、呼吸が浅い等による測定の失敗も含む)に起因して水素ガス濃度が低下したことを検出するためである。
そして、ステップS26で所定時間を経過しても水素ガス濃度が閾値以上(「Yes」)の場合、呼気が正常に吹き込まれたとみなし、制御部5は、アルコール検知部10の出力に基づき、アルコール濃度を測定し(ステップS30)、測定結果を表示部9に表示して(ステップS32)処理を終了する。
以上のように、本発明のアルコール検出器は、呼気中に水素ガスが含まれていることを利用し、固体電解質層を用いた水素ガス検知部(水素ガスセンサ)により呼気が正常に測定されたか否かを判定している。このため、呼気中のCOガス濃度を測定する場合に比べ、水素ガス検知部が簡易でコンパクトとなるので、アルコール検出器自体も簡易でコンパクトとなる。又、戸外等の騒音の大きい環境でも測定が行え、故意に呼気を吹き込まない等の測定異常を検出し、呼気に含まれるアルコール濃度を簡易かつ正確に検知することができる。
又、制御部5がステップS16で水素ガス濃度が閾値以上であるか否かを判定するようにした場合、呼気には水素ガスが1ppm程度以上含まれているにも関わらず、呼気が正常に吹き込まれていない(不正に呼気を吹き込まない場合の他、呼吸が浅い等による測定の失敗も含む)状態を識別し、アルコール濃度を正確に検知することができる。
さらに、制御部5がステップS26で、水素ガス濃度がこの閾値以上で所定時間維持されたか否かを判定するようにした場合、呼気を止める等の異常な状態(不正に呼気を止める他、呼吸が浅い等による測定の失敗も含む)に起因して水素ガス濃度が低下したことを識別し、アルコール濃度をより正確に検知することができる。
又、アルコール検知電極11が、下地電極11xと、下地電極11xを覆いビスマスバナジウム酸化物を主成分とする選択反応層11yとから構成されていると、水素ガスとアルコールの混合ガスから、アルコールのみを選択的に検知することができる。これは、ビスマスバナジウム酸化物により、水素ガスが燃焼するためと考えられる。このため、アルコール検知部10の構成が簡易になる。
次に、本発明の第2の実施形態に係るアルコール検出器について、図6、図7を参照して説明する。但し、第2の実施形態に係るアルコール検出器は、アルコール検知部及び水素ガス検知部以外の構成(筐体2、回路基板4、制御部5等)は、第1の実施形態に係るアルコール検出器と同一であるので、アルコール検知部及び水素ガス検知部についてのみ説明する。
又、図6において、図3に示したものと同一の構成部分については、同一符号を付して説明を省略する。
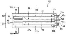
図6は、アルコール検知部101及び水素ガス検知部201の構成を示す平面図である。第2の実施形態においては、共通の第1固体電解質層13上に、アルコール検知部101及び水素ガス検知部201が形成されており、全体として1つの検知部(マルチセンサ)100を構成している。
アルコール検知部101は、長尺平板状の第1固体電解質層13と、第1固体電解質層13の片面に併設されるアルコール検知電極11及び共通基準電極42とを備えている。アルコール検知電極11及び共通基準電極42は、第1固体電解質層13の一端側のうち、長手方向に沿う上半分の位置に設けられている。又、アルコール検知電極11が第1固体電解質層13の長辺に沿う外側に位置し、共通基準電極42が内側に位置している。
アルコール検知電極11から第1固体電解質層13の長手方向に沿ってリード部11aが延び、リード部11aの末端が第1固体電解質層13の他端側に位置している。リード部11aの末端には電極パッド11bが接続され、電極パッド11bから第1固体電解質層13の外部に端子15aが突出している。
同様に、共通基準電極42から第1固体電解質層13の長手方向に沿ってリード部42aが延び、リード部42aの末端が第1固体電解質層13の他端側に位置している。リード部42aの末端には電極パッド42bが接続され、電極パッド42bから第1固体電解質層13の外部に端子45eが突出している。
なお、共通基準電極42及びリード部42aは、第1固体電解質層13の長手方向の中心線上に配置されている。
水素ガス検知部201は、第1固体電解質層13と、第1固体電解質層13の片面に併設される水素ガス検知電極22及び共通基準電極42とを備えている。水素ガス検知電極22及び共通基準電極42は、第1固体電解質層13の一端側のうち、長手方向に沿う上半分の位置に設けられている。又、水素ガス検知電極22が第1固体電解質層13の長辺に沿う外側に位置し、共通基準電極42が内側に位置している。
なお、共通基準電極42は、特許請求の範囲における「第1基準電極」及び「第2基準電極」に相当する。
水素ガス検知電極22から第1固体電解質層13の長手方向に沿ってリード部22aが延び、リード部22aの末端が第1固体電解質層13の他端側に位置している。リード部22aの末端には電極パッド22bが接続され、電極パッド22bから第1固体電解質層13の外部に端子25bが突出している。
水素ガス検知電極22としては、Auを主成分としたもの(Au合金を含む)を用いることができる。又、共通基準電極42はPtを主成分としている。リード部22a、42a、各電極パッド22b、42bは、例えばPtやPdを主成分(合金含む)としている。各端子25b、45eは、各種の導電線を用いることができる。
一方、第1固体電解質層13の反対面には図示しない絶縁層が積層され、この絶縁層内に、発熱抵抗体30が埋設され、全体としてヒータを構成している。発熱抵抗体30については、図3の発熱抵抗体30と同一構成であるため、説明を省略する。
なお、上記した各端子15a、25b、15c、15d、45eは、それぞれ対応する電極パッドにロウ付けされている。そして、マルチセンサ100を図1の回路基板4に実装する際には、突出した各端子15a、25b、15c、15d、45eを回路基板4の対応する孔に挿入し、はんだ付け固定される。
図7は、図6のVII−VII線に沿う断面図である。アルコール検知電極11は、下地電極11xと、下地電極11xを覆いビスマスバナジウム酸化物を主成分とする選択反応層11yとから構成され、図7の左端に位置している。共通基準電極42が図7の中心に位置し、水素ガス検知電極22が右端に位置している。
マルチセンサ100は、アルコール検知電極11と共通基準電極42の間の電圧V2を測定してアルコール濃度を検知し、水素ガス検知電極22と共通基準電極42の間の電圧V1を測定して水素ガス濃度を検知する。
第2の実施形態に係るアルコール検出器によれば、共通の第1固体電解質層13上に、アルコール検知部101及び水素ガス検知部201が形成され、全体として1つの検知部を構成しているため、検知部がコンパクトになり、コスト低減の他、測定の安定性にも優れる。さらに、アルコール検知部101及び水素ガス検知部201の基準電極42を共通とすれば、検知部がさらにコンパクトになる。
本発明は上記実施形態に限定されず、本発明の思想と範囲に含まれる様々な変形及び均等物に及ぶことはいうまでもない。
次に、実施例を挙げて本発明をさらに詳細に説明するが、本発明はこれらに限定されるものではない。
(感度特性)
図1〜図4に示したアルコール検出器1を用意した。このアルコール検出器1をモデルガス発生装置に接続し、モデルガス発生装置のモデルガスを呼気導入口2bから導入した。モデルガスとして、相対湿度50%のベースガスに対し、アルコールガス(エタノール)又は水素ガスをそれぞれ100ppm添加し、温度25℃としたものを用いた。
アルコール検知部10及び水素ガス検知部20をヒータで650℃に保持した状態で、モデルガスを呼気導入口2bから導入し、アルコール検知部10及び水素ガス検知部20の出力電圧を測定した。
得られた結果を図8に示す。アルコール検知部10にベースガスとアルコールからなるモデルガスを吹き込んだところ、アルコールガスを検知した。一方、アルコール検知部10にベースガスと水素ガスからなるモデルガスを吹き込んだところ、水素ガスをまったく検知せず、アルコールを選択的に検知できることがわかった。
水素ガス検知部20にベースガスとアルコールからなるモデルガスを吹き込んだところ、アルコールガスを若干検知した。一方、水素ガス検知部20にベースガスと水素ガスからなるモデルガスを吹き込んだところ、水素ガスを検知した。なお、アルコールと水素ガスの混合ガスに対しては、アルコール検知部10及び水素ガス検知部20の各ガス濃度に応じた出力電圧を検量線として予め求めておき、アルコール検知部10で判明したアルコール濃度を、水素ガス検知部20で検知したアルコールと水素ガスの出力から差引くことにより、水素ガス濃度を求めることができる。
(呼気の判定)
上記アルコール検出器1の呼気導入口2bへ、被験者の呼気を吹き込み、上記と同様にしてアルコール検知部10及び水素ガス検知部20の出力電圧を測定した。各検知部の測定を開始してから10秒後に呼気を吹き込んだ。
次に、大気を捕集したビニル袋を、上記アルコール検出器1の呼気導入口2bへ接続し、ビニル袋を押しつぶして大気を呼気導入口2bへ導入した。同様にアルコール検知部10及び水素ガス検知部20の出力電圧を測定した。
得られた結果を図9、図10に示す。呼気を吹き込んだ場合(図9)、水素ガスを検知したのに対し、大気を導入した場合(図10)、水素ガスを検知しなかった。これより、水素ガス検知部20の水素ガス濃度の出力の閾値を3mV程度に設定しておけば、呼気が正常に吹き込まれたか否かを判定することができる。
本発明の第1の実施形態に係るアルコール検出器の断面図である。 アルコール検出器の構成を示すブロック図である。 アルコール検知部の構成を示す平面図である。 図3のIV−IV線に沿う断面図である。 制御部(判定部)による判定処理フローを示す図である。 本発明の第1の実施形態に係るアルコール検出器において、アルコール検知部及び水素ガス検知部の構成を示す平面図である。 図6のVII−VII線に沿う断面図である。 モデルガスを導入したときの、アルコール検知部及び水素ガス検知部の出力電圧を示す図である。 被験者の呼気を導入したときの、アルコール検知部及び水素ガス検知部の出力電圧を示す図である。 大気を導入したときの、アルコール検知部及び水素ガス検知部の出力電圧を示す図である。
符号の説明
1 アルコール検出器
5 判定部(制御部)
10 アルコール検知部
11 アルコール検知電極
11x 下地電極
11y 選択反応層
12 第1基準電極
13 第1固体電解質層、第2固体電解質層
20 水素ガス検知部
22 水素ガス検知電極
42 第2基準電極(共通電極)

Claims (6)

  1. アルコール検知電極と第1基準電極と酸素イオン導電性の第1固体電解質層とを有し、呼気中のアルコールを選択的に検知するアルコール検知部と、
    水素ガス検知電極と第2基準電極と酸素イオン導電性の第2固体電解質層とを有し、前記呼気中の水素ガスを検知する水素ガス検知部と、
    前記水素ガス検知部の検知結果に応じて、前記呼気が正常に測定されたか否かを判定する判定部とを備えたアルコール検出器。
  2. 前記判定部は、前記水素ガス検知部が検知した水素ガス濃度が閾値以上である場合に、前記呼気が正常に測定されたと判定する請求項1記載のアルコール検出器。
  3. 前記判定部は、前記水素ガス検知部が検知した水素ガス濃度が前記閾値以上で所定時間維持された場合に、前記呼気が正常に測定されたと判定する請求項2記載のアルコール検出器。
  4. 前記アルコール検知電極は、下地電極と、該下地電極を覆いビスマスバナジウム酸化物を主成分とする選択反応層とから構成されているか、又は前記アルコール検知電極はビスマスバナジウム酸化物を主成分とする請求項1〜3のいずれかに記載のアルコール検出器。
  5. 前記第1固体電解質層と前記第2固体電解質層とが共通になっている請求項1〜4のいずれかに記載のアルコール検出器。
  6. 前記第1基準電極と前記第2基準電極とが共通になっている請求項1〜5のいずれかに記載のアルコール検出器。
JP2008263617A 2008-10-10 2008-10-10 アルコール検出器 Active JP5119118B2 (ja)

Priority Applications (1)

Application Number Priority Date Filing Date Title
JP2008263617A JP5119118B2 (ja) 2008-10-10 2008-10-10 アルコール検出器

Applications Claiming Priority (1)

Application Number Priority Date Filing Date Title
JP2008263617A JP5119118B2 (ja) 2008-10-10 2008-10-10 アルコール検出器

Publications (2)

Publication Number Publication Date
JP2010091502A true JP2010091502A (ja) 2010-04-22
JP5119118B2 JP5119118B2 (ja) 2013-01-16

Family

ID=42254352

Family Applications (1)

Application Number Title Priority Date Filing Date
JP2008263617A Active JP5119118B2 (ja) 2008-10-10 2008-10-10 アルコール検出器

Country Status (1)

Country Link
JP (1) JP5119118B2 (ja)

Cited By (3)

* Cited by examiner, † Cited by third party
Publication number Priority date Publication date Assignee Title
JP4785994B1 (ja) * 2011-02-03 2011-10-05 東海電子株式会社 呼気アルコール測定器
WO2017158846A1 (ja) * 2016-03-18 2017-09-21 株式会社日立製作所 呼気ガス検出装置及び呼気ガス検出方法
JP2021085715A (ja) * 2019-11-26 2021-06-03 株式会社タニタ 呼気成分測定装置及び異常判定方法

Citations (6)

* Cited by examiner, † Cited by third party
Publication number Priority date Publication date Assignee Title
JPH10186A (ja) * 1996-06-17 1998-01-06 Mitoreeben Kenkyusho:Kk 呼気中の特定ガス成分を分析する方法及び装置
JP2000304715A (ja) * 1999-04-23 2000-11-02 Tanita Corp 臭気成分測定器
JP2002039981A (ja) * 2000-07-24 2002-02-06 Shimadzu Corp 呼気測定器及び呼気測定機能を有するマイク応用装置
JP2004501374A (ja) * 2000-06-19 2004-01-15 エンビテック−ウィスマール ゲー・エム・ベー・ハー アルコール検出器
JP2004279228A (ja) * 2003-03-17 2004-10-07 Toshikawa Takara 呼気中成分ガス濃度測定方法及び装置
JP2006075447A (ja) * 2004-09-13 2006-03-23 Hitachi Ltd 携帯ヘルスチェック装置およびそれを用いた呼気分析サービス方法

Patent Citations (6)

* Cited by examiner, † Cited by third party
Publication number Priority date Publication date Assignee Title
JPH10186A (ja) * 1996-06-17 1998-01-06 Mitoreeben Kenkyusho:Kk 呼気中の特定ガス成分を分析する方法及び装置
JP2000304715A (ja) * 1999-04-23 2000-11-02 Tanita Corp 臭気成分測定器
JP2004501374A (ja) * 2000-06-19 2004-01-15 エンビテック−ウィスマール ゲー・エム・ベー・ハー アルコール検出器
JP2002039981A (ja) * 2000-07-24 2002-02-06 Shimadzu Corp 呼気測定器及び呼気測定機能を有するマイク応用装置
JP2004279228A (ja) * 2003-03-17 2004-10-07 Toshikawa Takara 呼気中成分ガス濃度測定方法及び装置
JP2006075447A (ja) * 2004-09-13 2006-03-23 Hitachi Ltd 携帯ヘルスチェック装置およびそれを用いた呼気分析サービス方法

Cited By (7)

* Cited by examiner, † Cited by third party
Publication number Priority date Publication date Assignee Title
JP4785994B1 (ja) * 2011-02-03 2011-10-05 東海電子株式会社 呼気アルコール測定器
WO2017158846A1 (ja) * 2016-03-18 2017-09-21 株式会社日立製作所 呼気ガス検出装置及び呼気ガス検出方法
JPWO2017158846A1 (ja) * 2016-03-18 2018-07-05 株式会社日立製作所 呼気ガス検出装置及び呼気ガス検出方法
JP2021085715A (ja) * 2019-11-26 2021-06-03 株式会社タニタ 呼気成分測定装置及び異常判定方法
WO2021106783A1 (ja) * 2019-11-26 2021-06-03 株式会社タニタ 呼気成分測定装置及び異常判定方法
JP7489083B2 (ja) 2019-11-26 2024-05-23 株式会社タニタ 呼気成分測定装置及び異常判定方法
JP2024092039A (ja) * 2019-11-26 2024-07-05 株式会社タニタ 呼気成分測定装置及び異常判定方法

Also Published As

Publication number Publication date
JP5119118B2 (ja) 2013-01-16

Similar Documents

Publication Publication Date Title
US20130344609A1 (en) Chemical sensor in a portable electronic device
US7640783B2 (en) Self-calibrating gas detector and method
KR101484581B1 (ko) 상호작용형 알콜측정
JP6625132B2 (ja) 飽和水蒸気検出素子、ガス検出装置及び呼気検査システム
US20140377877A1 (en) Concentration measurements with a mobile device
US7048844B2 (en) Gas sensor and method for use thereof
US20060266098A1 (en) Hydrogen sulfide generator for sensor calibration
WO1998012550A1 (fr) Capteur de gaz
EP0990895A3 (en) Gas sensor with electrically conductive hydrophobic membranes
JPH11223617A (ja) 二酸化硫黄ガスセンサ
JP2011053049A (ja) アルコール検出装置
JP4993212B2 (ja) アルコール検知器
JP5119118B2 (ja) アルコール検出器
JP2009244140A (ja) ガスセンサおよびNOxセンサ
WO2010013023A1 (en) Device for measuring air quality
JPH09318594A (ja) ガスセンサおよび被測定ガス中の特定成分量の測定方法
JP4557059B2 (ja) 呼気アルコール濃度検知装置
KR101040286B1 (ko) 음주측정기용 센서
JP5012036B2 (ja) 硫黄成分検出装置
KR101182756B1 (ko) 음주측정기
JP6535413B2 (ja) 呼気ガス検出装置及び呼気ガス検出方法
JP4740263B2 (ja) 呼気成分検査装置
KR20220047097A (ko) 비접촉식 음주측정기
JPS6363962A (ja) 工業用酸素濃度測定装置
JPH0249466B2 (ja)

Legal Events

Date Code Title Description
A621 Written request for application examination

Free format text: JAPANESE INTERMEDIATE CODE: A621

Effective date: 20110902

TRDD Decision of grant or rejection written
A977 Report on retrieval

Free format text: JAPANESE INTERMEDIATE CODE: A971007

Effective date: 20120919

A01 Written decision to grant a patent or to grant a registration (utility model)

Free format text: JAPANESE INTERMEDIATE CODE: A01

Effective date: 20120924

A01 Written decision to grant a patent or to grant a registration (utility model)

Free format text: JAPANESE INTERMEDIATE CODE: A01

A61 First payment of annual fees (during grant procedure)

Free format text: JAPANESE INTERMEDIATE CODE: A61

Effective date: 20121022

R150 Certificate of patent or registration of utility model

Ref document number: 5119118

Country of ref document: JP

Free format text: JAPANESE INTERMEDIATE CODE: R150

Free format text: JAPANESE INTERMEDIATE CODE: R150

FPAY Renewal fee payment (event date is renewal date of database)

Free format text: PAYMENT UNTIL: 20151026

Year of fee payment: 3

R250 Receipt of annual fees

Free format text: JAPANESE INTERMEDIATE CODE: R250

R250 Receipt of annual fees

Free format text: JAPANESE INTERMEDIATE CODE: R250

R250 Receipt of annual fees

Free format text: JAPANESE INTERMEDIATE CODE: R250

R250 Receipt of annual fees

Free format text: JAPANESE INTERMEDIATE CODE: R250

R250 Receipt of annual fees

Free format text: JAPANESE INTERMEDIATE CODE: R250

R250 Receipt of annual fees

Free format text: JAPANESE INTERMEDIATE CODE: R250

R250 Receipt of annual fees

Free format text: JAPANESE INTERMEDIATE CODE: R250

S531 Written request for registration of change of domicile

Free format text: JAPANESE INTERMEDIATE CODE: R313531

R350 Written notification of registration of transfer

Free format text: JAPANESE INTERMEDIATE CODE: R350

R250 Receipt of annual fees

Free format text: JAPANESE INTERMEDIATE CODE: R250

R250 Receipt of annual fees

Free format text: JAPANESE INTERMEDIATE CODE: R250

R250 Receipt of annual fees

Free format text: JAPANESE INTERMEDIATE CODE: R250

R250 Receipt of annual fees

Free format text: JAPANESE INTERMEDIATE CODE: R250