JP2010091257A - 導熱管の製造方法 - Google Patents

導熱管の製造方法 Download PDF

Info

Publication number
JP2010091257A
JP2010091257A JP2009162197A JP2009162197A JP2010091257A JP 2010091257 A JP2010091257 A JP 2010091257A JP 2009162197 A JP2009162197 A JP 2009162197A JP 2009162197 A JP2009162197 A JP 2009162197A JP 2010091257 A JP2010091257 A JP 2010091257A
Authority
JP
Japan
Prior art keywords
heat
stamper
jig
processing
tube
Prior art date
Legal status (The legal status is an assumption and is not a legal conclusion. Google has not performed a legal analysis and makes no representation as to the accuracy of the status listed.)
Granted
Application number
JP2009162197A
Other languages
English (en)
Other versions
JP5448151B2 (ja
Inventor
Kuo-Len Lin
國仁 林
Chen-Hsiang Lin
貞祥 林
Huai-Ming Wang
懐明 王
Chih-Hung Cheng
志鴻 鄭
Jian-Tsai Shiu
建財 許
Current Assignee (The listed assignees may be inaccurate. Google has not performed a legal analysis and makes no representation or warranty as to the accuracy of the list.)
CpuMate Inc
Golden Sun News Techniques Co Ltd
Original Assignee
CpuMate Inc
Golden Sun News Techniques Co Ltd
Priority date (The priority date is an assumption and is not a legal conclusion. Google has not performed a legal analysis and makes no representation as to the accuracy of the date listed.)
Filing date
Publication date
Family has litigation
First worldwide family litigation filed litigation Critical https://patents.darts-ip.com/?family=42074613&utm_source=google_patent&utm_medium=platform_link&utm_campaign=public_patent_search&patent=JP2010091257(A) "Global patent litigation dataset” by Darts-ip is licensed under a Creative Commons Attribution 4.0 International License.
Application filed by CpuMate Inc, Golden Sun News Techniques Co Ltd filed Critical CpuMate Inc
Publication of JP2010091257A publication Critical patent/JP2010091257A/ja
Application granted granted Critical
Publication of JP5448151B2 publication Critical patent/JP5448151B2/ja
Expired - Fee Related legal-status Critical Current
Anticipated expiration legal-status Critical

Links

Images

Classifications

    • FMECHANICAL ENGINEERING; LIGHTING; HEATING; WEAPONS; BLASTING
    • F28HEAT EXCHANGE IN GENERAL
    • F28DHEAT-EXCHANGE APPARATUS, NOT PROVIDED FOR IN ANOTHER SUBCLASS, IN WHICH THE HEAT-EXCHANGE MEDIA DO NOT COME INTO DIRECT CONTACT
    • F28D15/00Heat-exchange apparatus with the intermediate heat-transfer medium in closed tubes passing into or through the conduit walls ; Heat-exchange apparatus employing intermediate heat-transfer medium or bodies
    • F28D15/02Heat-exchange apparatus with the intermediate heat-transfer medium in closed tubes passing into or through the conduit walls ; Heat-exchange apparatus employing intermediate heat-transfer medium or bodies in which the medium condenses and evaporates, e.g. heat pipes
    • BPERFORMING OPERATIONS; TRANSPORTING
    • B21MECHANICAL METAL-WORKING WITHOUT ESSENTIALLY REMOVING MATERIAL; PUNCHING METAL
    • B21DWORKING OR PROCESSING OF SHEET METAL OR METAL TUBES, RODS OR PROFILES WITHOUT ESSENTIALLY REMOVING MATERIAL; PUNCHING METAL
    • B21D39/00Application of procedures in order to connect objects or parts, e.g. coating with sheet metal otherwise than by plating; Tube expanders
    • BPERFORMING OPERATIONS; TRANSPORTING
    • B21MECHANICAL METAL-WORKING WITHOUT ESSENTIALLY REMOVING MATERIAL; PUNCHING METAL
    • B21CMANUFACTURE OF METAL SHEETS, WIRE, RODS, TUBES, PROFILES OR LIKE SEMI-MANUFACTURED PRODUCTS OTHERWISE THAN BY ROLLING; AUXILIARY OPERATIONS USED IN CONNECTION WITH METAL-WORKING WITHOUT ESSENTIALLY REMOVING MATERIAL
    • B21C1/00Manufacture of metal sheets, wire, rods, tubes or like semi-manufactured products by drawing
    • B21C1/16Metal drawing by machines or apparatus in which the drawing action is effected by means other than drums, e.g. by a longitudinally-moved carriage pulling or pushing the work or stock for making metal sheets, rods or tubes
    • B21C1/22Metal drawing by machines or apparatus in which the drawing action is effected by means other than drums, e.g. by a longitudinally-moved carriage pulling or pushing the work or stock for making metal sheets, rods or tubes specially adapted for making tubular articles
    • BPERFORMING OPERATIONS; TRANSPORTING
    • B21MECHANICAL METAL-WORKING WITHOUT ESSENTIALLY REMOVING MATERIAL; PUNCHING METAL
    • B21DWORKING OR PROCESSING OF SHEET METAL OR METAL TUBES, RODS OR PROFILES WITHOUT ESSENTIALLY REMOVING MATERIAL; PUNCHING METAL
    • B21D53/00Making other particular articles
    • B21D53/02Making other particular articles heat exchangers or parts thereof, e.g. radiators, condensers fins, headers
    • FMECHANICAL ENGINEERING; LIGHTING; HEATING; WEAPONS; BLASTING
    • F28HEAT EXCHANGE IN GENERAL
    • F28DHEAT-EXCHANGE APPARATUS, NOT PROVIDED FOR IN ANOTHER SUBCLASS, IN WHICH THE HEAT-EXCHANGE MEDIA DO NOT COME INTO DIRECT CONTACT
    • F28D15/00Heat-exchange apparatus with the intermediate heat-transfer medium in closed tubes passing into or through the conduit walls ; Heat-exchange apparatus employing intermediate heat-transfer medium or bodies
    • F28D15/02Heat-exchange apparatus with the intermediate heat-transfer medium in closed tubes passing into or through the conduit walls ; Heat-exchange apparatus employing intermediate heat-transfer medium or bodies in which the medium condenses and evaporates, e.g. heat pipes
    • F28D15/0233Heat-exchange apparatus with the intermediate heat-transfer medium in closed tubes passing into or through the conduit walls ; Heat-exchange apparatus employing intermediate heat-transfer medium or bodies in which the medium condenses and evaporates, e.g. heat pipes the conduits having a particular shape, e.g. non-circular cross-section, annular
    • FMECHANICAL ENGINEERING; LIGHTING; HEATING; WEAPONS; BLASTING
    • F28HEAT EXCHANGE IN GENERAL
    • F28DHEAT-EXCHANGE APPARATUS, NOT PROVIDED FOR IN ANOTHER SUBCLASS, IN WHICH THE HEAT-EXCHANGE MEDIA DO NOT COME INTO DIRECT CONTACT
    • F28D15/00Heat-exchange apparatus with the intermediate heat-transfer medium in closed tubes passing into or through the conduit walls ; Heat-exchange apparatus employing intermediate heat-transfer medium or bodies
    • F28D15/02Heat-exchange apparatus with the intermediate heat-transfer medium in closed tubes passing into or through the conduit walls ; Heat-exchange apparatus employing intermediate heat-transfer medium or bodies in which the medium condenses and evaporates, e.g. heat pipes
    • F28D15/0266Heat-exchange apparatus with the intermediate heat-transfer medium in closed tubes passing into or through the conduit walls ; Heat-exchange apparatus employing intermediate heat-transfer medium or bodies in which the medium condenses and evaporates, e.g. heat pipes with separate evaporating and condensing chambers connected by at least one conduit; Loop-type heat pipes; with multiple or common evaporating or condensing chambers
    • FMECHANICAL ENGINEERING; LIGHTING; HEATING; WEAPONS; BLASTING
    • F28HEAT EXCHANGE IN GENERAL
    • F28DHEAT-EXCHANGE APPARATUS, NOT PROVIDED FOR IN ANOTHER SUBCLASS, IN WHICH THE HEAT-EXCHANGE MEDIA DO NOT COME INTO DIRECT CONTACT
    • F28D15/00Heat-exchange apparatus with the intermediate heat-transfer medium in closed tubes passing into or through the conduit walls ; Heat-exchange apparatus employing intermediate heat-transfer medium or bodies
    • F28D15/02Heat-exchange apparatus with the intermediate heat-transfer medium in closed tubes passing into or through the conduit walls ; Heat-exchange apparatus employing intermediate heat-transfer medium or bodies in which the medium condenses and evaporates, e.g. heat pipes
    • F28D15/0275Arrangements for coupling heat-pipes together or with other structures, e.g. with base blocks; Heat pipe cores
    • FMECHANICAL ENGINEERING; LIGHTING; HEATING; WEAPONS; BLASTING
    • F28HEAT EXCHANGE IN GENERAL
    • F28FDETAILS OF HEAT-EXCHANGE AND HEAT-TRANSFER APPARATUS, OF GENERAL APPLICATION
    • F28F2275/00Fastening; Joining
    • F28F2275/12Fastening; Joining by methods involving deformation of the elements
    • YGENERAL TAGGING OF NEW TECHNOLOGICAL DEVELOPMENTS; GENERAL TAGGING OF CROSS-SECTIONAL TECHNOLOGIES SPANNING OVER SEVERAL SECTIONS OF THE IPC; TECHNICAL SUBJECTS COVERED BY FORMER USPC CROSS-REFERENCE ART COLLECTIONS [XRACs] AND DIGESTS
    • Y10TECHNICAL SUBJECTS COVERED BY FORMER USPC
    • Y10TTECHNICAL SUBJECTS COVERED BY FORMER US CLASSIFICATION
    • Y10T29/00Metal working
    • Y10T29/49Method of mechanical manufacture
    • Y10T29/4935Heat exchanger or boiler making
    • YGENERAL TAGGING OF NEW TECHNOLOGICAL DEVELOPMENTS; GENERAL TAGGING OF CROSS-SECTIONAL TECHNOLOGIES SPANNING OVER SEVERAL SECTIONS OF THE IPC; TECHNICAL SUBJECTS COVERED BY FORMER USPC CROSS-REFERENCE ART COLLECTIONS [XRACs] AND DIGESTS
    • Y10TECHNICAL SUBJECTS COVERED BY FORMER USPC
    • Y10TTECHNICAL SUBJECTS COVERED BY FORMER US CLASSIFICATION
    • Y10T29/00Metal working
    • Y10T29/49Method of mechanical manufacture
    • Y10T29/4935Heat exchanger or boiler making
    • Y10T29/49353Heat pipe device making
    • YGENERAL TAGGING OF NEW TECHNOLOGICAL DEVELOPMENTS; GENERAL TAGGING OF CROSS-SECTIONAL TECHNOLOGIES SPANNING OVER SEVERAL SECTIONS OF THE IPC; TECHNICAL SUBJECTS COVERED BY FORMER USPC CROSS-REFERENCE ART COLLECTIONS [XRACs] AND DIGESTS
    • Y10TECHNICAL SUBJECTS COVERED BY FORMER USPC
    • Y10TTECHNICAL SUBJECTS COVERED BY FORMER US CLASSIFICATION
    • Y10T29/00Metal working
    • Y10T29/49Method of mechanical manufacture
    • Y10T29/4935Heat exchanger or boiler making
    • Y10T29/49373Tube joint and tube plate structure
    • YGENERAL TAGGING OF NEW TECHNOLOGICAL DEVELOPMENTS; GENERAL TAGGING OF CROSS-SECTIONAL TECHNOLOGIES SPANNING OVER SEVERAL SECTIONS OF THE IPC; TECHNICAL SUBJECTS COVERED BY FORMER USPC CROSS-REFERENCE ART COLLECTIONS [XRACs] AND DIGESTS
    • Y10TECHNICAL SUBJECTS COVERED BY FORMER USPC
    • Y10TTECHNICAL SUBJECTS COVERED BY FORMER US CLASSIFICATION
    • Y10T29/00Metal working
    • Y10T29/49Method of mechanical manufacture
    • Y10T29/4935Heat exchanger or boiler making
    • Y10T29/49391Tube making or reforming

Landscapes

  • Engineering & Computer Science (AREA)
  • Mechanical Engineering (AREA)
  • Life Sciences & Earth Sciences (AREA)
  • Sustainable Development (AREA)
  • Physics & Mathematics (AREA)
  • Thermal Sciences (AREA)
  • General Engineering & Computer Science (AREA)
  • Cooling Or The Like Of Semiconductors Or Solid State Devices (AREA)
  • Shaping Metal By Deep-Drawing, Or The Like (AREA)

Abstract

【課題】何度もスタンパーを交換する手間をかけることなく、複数回のプレス加工工程を可能にして、導熱管の蒸発部を平坦にできる導熱管の製造方法を提供する。
【解決手段】第1の工程S1は、少なくとも一つの導熱管1、および導熱管に接続される導熱座2を設け、導熱座の底面20に、導熱管の蒸発部10を配置するための溝21を設ける。第2の工程S2は、導熱管の蒸発部を導熱座の溝内に配置し、治具3で固定する。第3の工程S3は、プレス機台に治具を配置する。第4の工程S4は、プレス機台上で治具を順次各加工部上に配置し、各スタンパーが順次治具上の導熱管の蒸発部に対してプレスを行うことにより、蒸発部上に平坦面を形成させる。
【選択図】図2

Description

本発明は、放熱器に用いられる導熱管の製造方法に関し、特に、導熱座を用いて導熱管の蒸発部の平坦化加工を行うことに特徴のある導熱管の製造方法に関する。
従来、放熱器は、電子発熱デバイス上方に放熱ユニットを配置し、この放熱ユニットを介して電子素子の放熱を行っている。
このような放熱ユニットは、通常、放熱装置又は放熱ファンを用いて放熱を行い、さらに、ヒートパイプ等の導熱管を、該放熱ユニットに接続し又は直接電子発熱デバイスに接触させることにより、この導熱管を介して、熱を離れた箇所に導引して放熱を行う。
このような従来の導熱管の一例を図16に示す。図16は、従来の導熱管のプレス加工後の構成を示す斜視図である。
図1に示すように、導熱管1aは、例えばU字形状に構成されたものであって、U字形状に曲がっている部分に、電子発熱デバイスなどの熱源に面と面で接触する蒸発部10aを設けて構成される。この蒸発部10aは、底部にほぼ平坦な受熱面100aを有している。
このような導熱管1aの蒸発部10aは、通常、スタンパー等のプレス加工器具を用いてプレス加工を行うことにより形成される。
このプレス加工を行う場合、前記スタンパーは、プレス加工面が平面に形成されているものが用いられる。この場合、スタンパーのプレス加工面は、平面であるが、導熱管1aが弧面である。このため、平面と弧面とが接触しさらにプレス加工を続けると、導熱管1aの弧面がスタンパーによる圧接により徐々に平坦化されるので、点接触が徐々に面接触になる。
すなわち、導熱管1aは、弧面に形成されているので、プレス加工時にはどうしても点接触となり、この点接触は応力が集中し易いという問題がある。そのため、プレス加工後には、導熱管1aの受熱面100aの内側には、凹んだ凹部101aが形成されてしまう。従って、プレス加工後に、前記凹部101aを取り除くのに、導熱管1aの受熱面100aに対して、平坦に研磨するプレス加工工程が必要になる。
このように従来では、2回のプレス加工工程を行うことにより、導熱管1aの蒸発部10aを平坦にしていた。
平坦面の蒸発部を有する導熱管の従来技術としては、例えば、特許文献1に記載されているように、作動流体封入中空部と蒸発部に相当する平坦状底部とを有する板状ヒートパイプや、特許文献2に記載されているように、蒸発部とこの蒸発部に対向配置される凝縮部とを有するループ状ヒートパイプがある。
特開平11−274782号公報 特開2005−291645号公報
しかしながら、従来の方法では、2回のプレス加工工程を行うので、各スタンパー上に深さが異なる圧合凹部をそれぞれ設け、順次このような各スタンパーを用いてプレス加工を行うことにより、導熱管の蒸発部を徐々に平坦(平面)に形成していた。そのため、前記プレス加工工程において、スタンパーを交換しないと、導熱管の蒸発部を平坦化するのに必要な複数回のプレス加工ができない。従って、従来の方法では、導熱管の蒸発部の平坦化のためのプレス加工を行う際に、何度もスタンパーを交換する手間がかかるといった問題点があった。
特許文献1及び特許文献2に記載の従来技術は、平坦面の蒸発部を備えてはいるものの、その蒸発部、ヒートパイプの構成及びその製造方法が異なるものであり、上述した導熱管の蒸発部の平坦化のためのプレス加工工程に伴う問題点に対し、その問題点を解決するための方法及び手段については何等開示されてはいない。
そこで、本発明は前記問題点に鑑みてなされたもので、何度もスタンパーを交換する手間をかけることなく、複数回のプレス加工工程を可能にして、導熱管の蒸発部を平坦にできる導熱管の製造方法を提供することを目的とする。
上述の目的を達成するため、本発明の導熱管の製造方法は、少なくとも一つの導熱管、および前記導熱管に接続される導熱座を設け、前記導熱座の底面に、前記導熱管の蒸発部を配置するための溝を設ける第1の工程と、前記導熱管の前記蒸発部を前記導熱座の溝内に配置し、治具で固定する第2の工程と、前記治具が順次配置される第1の加工部、第2の加工部、第3の加工部および第4の加工部を有する平台と、前記平台上方に位置し、間隔を空けて相対するように配置され、前記平台に対してプレスを行い、前記第1の加工部、前記第2の加工部、前記第3の加工部および前記第4の加工部に対応する第1のスタンパー、第2のスタンパー、第3のスタンパーおよび第4のスタンパーをそれぞれ設け、前記第1のスタンパー、前記第2のスタンパー、前記第3のスタンパーおよび前記第4のスタンパーのそれぞれの下表面に押圧面を形成し、前記押圧面は前記第1の加工部、前記第2の加工部、前記第3の加工部に対応して順次徐々に浅くなる凹部をそれぞれ形成し、前記第4のスタンパーの前記押圧面のみが平坦であるポンチと、を含むプレス機台に前記治具を配置する第3の工程と、前記プレス機台上で前記治具を順次前記各加工部上に配置し、前記各スタンパーが順次前記治具上の前記導熱管の前記蒸発部に対してプレスを行うことにより、前記蒸発部上に平坦面を形成させる第4の工程と、を含むことを特徴としている。
本発明の導熱管の製造方法によれば、何度もスタンパーを交換する手間をかけることなく、複数回のプレス加工工程を可能にして、導熱管の蒸発部を平坦にできるといった利点がある。
本発明の一実施例に係る導熱管の製造方法を示す流れ図。 本実施例の製造方法を用いられる導熱管、導熱座および治具を示す分解斜視図。 図2に示す導熱管、導熱座および治具が組み合わされる状態を示す断面図。 図3に示す導熱管、導熱座および治具が組み合わされた状態を示す断面図。 図4を側面方向から見た場合の断面図。 本実施例の製造方法に用いられるプレス機台を示す斜視図。 図1に示す導熱管および導熱座を装着した治具を図6に示すプレス機台の平台に組み合わせた状態を示す斜視図。 図1に示す導熱管および導熱座を装着した治具をプレス機台上に配置した状態を示す斜視図。 第1の加工部により、導熱管の蒸発部に対して行われるプレス動作を説明するための説明図。 第2の加工部により、導熱管の蒸発部に対して行われるプレス動作を説明するための説明図。 第3の加工部により、導熱管の蒸発部に対して行われるプレス動作を説明するための説明図。 第4の加工部により、導熱管の蒸発部に対して行われるプレス動作を説明するための説明図。 本実施例の製造方法によるプレス機台各工程を完了した状態の導熱管、及び導熱座を装着した治具を示す斜視図。 図13に示す治具から導熱管および導熱座を取り出される動作を説明するための説明図。 本実施例の製造方法により平坦な蒸発部が形成された状態の導熱管および導熱座の斜視図。 従来の導熱管のプレス加工後の構成を示す斜視図。
以下、図面を参照して本発明の実施例を説明する。
図1は、本発明の一実施例に係る導熱管の製造方法を示す流れ図である。
図1に示すように、本実施例の導熱管の製造方法は、導熱座を用いて導熱管の蒸発部の平坦化加工を行うのに好適であり、第1の工程(ステップS1)、第2の工程(ステップS2)、第3の工程(ステップS3)及び第4の工程(ステップS4)を含んでいる。
このような本実施例の導熱管の製造方法に係る前記第1の工程〜第4の工程について、図2から図13を用いて説明する。
まず、第1の工程について、図2を用いて説明する。図2は、本実施例の製造方法を用いられる導熱管、導熱座および治具を示す分解斜視図である。
本実施例の導熱管の製造方法に係る第1の工程では、図1のステップS1及び図2に示すように、少なくとも一つの導熱管1、および導熱管1に接続される導熱座2を設ける。そして、この導熱座2の底面20には、導熱管1の蒸発部10を配置するための溝21が設けられている。
なお、導熱管1は、図2に示すように、例えばU字形状に構成されたものであって、U字形状に曲がっている部分に、電子発熱デバイスなどの熱源に面と面で接触する蒸発部10を設けて構成される。
ステップS1による第1の工程後、作業者は、ステップS2による第2の工程を行う。
次に、第2の工程について、図3から図5を用いて説明する。図3は、図2に示す導熱管、導熱座および治具が組み合わされる状態を示す断面図、図4は、図3に示す導熱管、導熱座および治具が組み合わされた状態を示す断面図、図5は、図4を側面方向から見た場合の断面図である。
本実施例の導熱管の製造方法に係る第2の工程では、図1のステップS2、図3及び図4に示すように、導熱管1の蒸発部10は、導熱座2の溝21内に配置され、治具3により固定される。
この治具3は、導熱管1の冷却部11が貫通する穿孔30を有して構成される。そして、導熱管1から延伸した冷却部11が治具3の穿孔30の底部を貫通すると、導熱管1の蒸発部10がちょうど導熱座2の溝21内に配置されるようになっている。
この溝21は、図5に示すように、ほぼ楕円状に構成されている。そして、この溝21は、導熱管1の蒸発部10が該溝21内に配置されると、蒸発部10の円周面が導熱座2の底面20より高く、該溝21から突出するように構成されている。すなわち、この溝21から蒸発部10の突出している部分が後述するステップS3以降の工程による押圧により平坦にされる部分である。
なお、図2に示すように、前記治具3に、作業者が持ちやすいように、側面から延伸する取っ手32を設けても良い。
そして、ステップS2による第2の工程後、作業者は、ステップS3による第3の工程を行う。
次に、第3の工程について、図6および図7を用いて説明する。図6は、本実施例の製造方法に用いられるプレス機台を示す斜視図、図7は、図1に示す導熱管および導熱座を装着した治具を図6に示すプレス機台の平台に組み合わせた状態を示す斜視図である。
図1のステップS3および図6に示すように、治具3は、プレス機台4に配置される。このプレス機台4は、平台40と、この平台40の上方に位置し、間隔を空けて相対するように配置されたポンチ41とを有して構成される。
平台40は、治具3が順次配置される複数の加工部を有して構成される。
本実施例では、平台40には、第1の加工部400、第2の加工部401、第3の加工部402および第4の加工部403が設けられている。
各加工部400〜403は、平台40の横方向に配列され、また、各加工部の両端部には、治具3の外側の凹溝31に接合する位置決め突起400a、401a、402a、403a(図6及び図7参照)が設けられている。これにより、治具3は、平台40の各加工部400〜403に順次正確に位置決めされて配置される。
また、導熱管1の冷却部11が治具3の底部を貫通するため、各加工部400〜403に対する当接により、該冷却部11の破損を防止する必要がある。
そこで、本実施例では、前記各加工部400〜403には、冷却部11を挿入可能なベリードバイア400b、401b、402b、403bがそれぞれ設けられている。これにより、治具3が各加工部400〜403に順次配置される際、衝撃により冷却部11が破損するのを防ぐことができる。
一方、プレス機台4のポンチ41は、平台40に対してプレスを行う。このポンチ41には、前記各加工部400〜403に対応する複数のスタンパーがそれぞれ設けられている。
本実施例において、ポンチ41には、第1のスタンパー410、第2のスタンパー411、第3のスタンパー412および第4のスタンパー413が設けられている。
これらの第1のスタンパー410、第2のスタンパー411、第3のスタンパー412および第4のスタンパー413は、ポンチ41に、第1の加工部400、第2の加工部401、第3の加工部402および第4の加工部403にそれぞれ対応するように設けられている。
ここで、さらに、前記プレス機台4の具体的な構成について、図9から図12を用いて説明する。
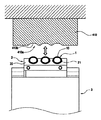
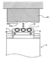
図9は、第1の加工部により、導熱管の蒸発部に対して行われるプレス動作を説明するための説明図、図10は、第2の加工部により、導熱管の蒸発部に対して行われるプレス動作を説明するための説明図、図11は、第3の加工部により、導熱管の蒸発部に対して行われるプレス動作を説明するための説明図、図12は、第4の加工部により、導熱管の蒸発部に対して行われるプレス動作を説明するための説明図である。
図9から図12に示すように、第1のスタンパー410、第2のスタンパー411、第3のスタンパー412および第4のスタンパー413は、下表面に押圧面410a、411a、412a、413aをそれぞれ形成している。
第1のスタンパー410、第2のスタンパー411および第3のスタンパー412の押圧面410a、411a、412aは、順次徐々に浅くなる凹部410b、411b、412bを形成している。
この場合、押圧面410aの凹部410が一番深く、押圧面412aの凹部が一番浅くなる(図9から図11参照)。ただし、本実施例では、第4のスタンパー413の押圧面413aのみが平坦となる(図12参照)。
また、プレス機台4のポンチ41は、下方に延伸して平台40の導孔404に対応する複数の導桿414を有して構成される(図6参照)。これにより、導桿414は、導孔404により深くプレス動作を行うことができ、ポンチ41全体のプレス距離を一定に維持することができる。
そして、ステップS3による第3の工程後、作業者は、上述したプレス機第4を用いて、ステップS4による第4の工程を行う。
次に、第4の工程について、図8から図13を用いて説明する。
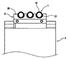
なお、図8は、図1に示す導熱管および導熱座を装着した治具をプレス機台上に配置した状態を示す斜視図、図13は、本実施例の製造方法によるプレス機台各工程を完了した状態の導熱管、及び導熱座を装着した治具を示す斜視図である。
図1のステップS4および図8〜図13に示すように、治具3が各加工部400〜403上に順次配置され、各スタンパー410〜413が治具3上の導熱管1の蒸発部10に対して順次プレス加工を行うことにより、蒸発部10上に平坦面100が形成される。
つまり、ポンチ41がプレスを行う過程において、治具3は、まず第1の加工部400で加工される。すなわち、治具3に固定された導熱管1の蒸発部10は、第1のスタンパー410にプレスされ(図9参照)、その後、次の加工部である第2の加工部401に移動する。
このように、治具3を順次移動してプレスを行い、第3の加工部402(図11参照)、続いて第2の第4の加工部403でプレスすると(図12参照)、加工を終了する(図12参照)。
従って、以上説明したように、第1のスタンパー410、第2のスタンパー411、第3のスタンパー412上の順次徐々に浅くなる凹部410b、411b、412b、および第4のスタンパー413上で平面を形成する押圧面413aにより、導熱管1の蒸発部10の溝21から外部に突出している部分が各スタンパーによってプレスが行われ、その結果、図12に示す平坦面100が形成される。同時に、導熱管1の蒸発部10が導熱座2の溝21内に配置された状態で、導熱座2を用いた導熱管1の蒸発部10の平坦化加工が終了する。
そして、本実施例の導熱管の製造方法は、さらに、導熱管1の冷却部11における治具3の底部から突出している部分を作業台に押し付けることにより、導熱管1および導熱座2が治具3から外れ、治具3と導熱管1および導熱座2との固定状態を解除する第5の工程を含む。
このような第5の工程について、図14および図15を用いて説明する。図14は、図13に示す治具から導熱管および導熱座を取り出される動作を説明するための説明図、図15は、本実施例の製造方法により平坦な蒸発部が形成された状態の導熱管および導熱座の斜視図である。
図14および図15に示すように、治具3がプレス機台4の第4の加工部403から外された後、導熱管1の冷却部11が治具3の底部から突出している部分を作業台に押し付ける。
すると、導熱管1および導熱座2が治具3から外れることになる。このように、本実施例の導熱管の製造方法では、前記第5の工程を行うことにより、簡単に治具3と導熱管1および導熱座2との固定状態を解除することができる。
したがって、本実施例によれば、何度もスタンパーを交換する手間をかけることなく、複数回のプレス加工工程を可能にして、導熱管1の蒸発部10を平坦にできる導熱管1の製造方法の実現が可能となる。
また、本実施例の導熱管1の製造方法は、従来の一度のプレスにおける点接触で応力が集中しやすい問題を解決することができる。
さらに、本実施例の導熱管1の製造方法により形成された導熱管1は、平坦な受熱面を有して構成されるので、放熱ユニットまたは電子発熱デバイスに対して面接触することができ、その平坦な接触面により導熱効果が増加し、導熱管1の導熱効能を十分に発揮させることができるといった効果も得られる。
なお、本実施例では、U字状の導熱管1における蒸発部10の平坦化加工処理を行うことについて説明したが、勿論U字状の導熱管1に限定されるものではなく、蒸発部10を備えたいずれの形状の導熱管であっても適用可能である。
また、4つの加工部、および4つのスタンパーを用いて導熱管1の蒸発部10の平坦化加工を行ったが、これに限定される物ではなく、それぞれ4つ以下、または4つ以上の加工部、およびスタンパーを用いて蒸発部10の平坦化加工を行っても良い。
本発明は、以上述べた実施例及び変形例のみに限定されるものではなく、発明の要旨を逸脱しない範囲で種々変形実施可能である。
1…導熱管、
2…導熱座、
3…治具、
4…プレス機台、
10…蒸発部、
11…冷却部、
20…底面、
21…溝、
30…穿孔、
31…凹溝、
32…取っ手、
40…平台
41…ポンチ、
100…平坦面、
400…第1の加工部、
401…第2の加工部、
402…第3の加工部、
403…第4の加工部、
404…導孔、
410…第1のスタンパー、
411…第2のスタンパー、
412…第3のスタンパー、
413…第4のスタンパー、
414…導桿、
400a…位置決め突起、
401a…位置決め突起、
402a…位置決め突起、
403a…位置決め突起、
400b…ベリードバイア、
401b…ベリードバイア、
402b…ベリードバイア、
403b…ベリードバイア、
410a…押圧面、
411a…押圧面、
412a…押圧面、
413a…押圧面
410b…凹部、
411b…凹部、
412b…凹部、
S1…第1の工程、
S2…第2の工程、
S3…第3の工程、
S4…第4の工程。

Claims (9)

  1. 少なくとも一つの導熱管、および前記導熱管に接続される導熱座を設け、前記導熱座の底面に、前記導熱管の蒸発部を配置するための溝を設ける第1の工程と、
    前記導熱管の前記蒸発部を前記導熱座の溝内に配置し、治具で固定する第2の工程と、
    前記治具が順次配置される第1の加工部、第2の加工部、第3の加工部および第4の加工部を有する平台と、前記平台上方に位置し、間隔を空けて相対するように配置され、前記平台に対してプレスを行い、前記第1の加工部、前記第2の加工部、前記第3の加工部および前記第4の加工部に対応する第1のスタンパー、第2のスタンパー、第3のスタンパーおよび第4のスタンパーをそれぞれ設け、前記第1のスタンパー、前記第2のスタンパー、前記第3のスタンパーおよび前記第4のスタンパーのそれぞれの下表面に押圧面を形成し、前記押圧面は前記第1の加工部、前記第2の加工部、前記第3の加工部に対応して順次徐々に浅くなる凹部をそれぞれ形成し、前記第4のスタンパーの前記押圧面のみが平坦であるポンチと、を含むプレス機台に前記治具を配置する第3の工程と、
    前記プレス機台上で前記治具を順次前記各加工部上に配置し、前記各スタンパーが順次前記治具上の前記導熱管の前記蒸発部に対してプレスを行うことにより、前記蒸発部上に平坦面を形成させる第4の工程と、
    を含むことを特徴とする導熱管の製造方法。
  2. 前記第2の工程における前記治具は、前記導熱管の冷却部が貫通する穿孔を有し、前記冷却部が前記穿孔を介して前記治具の底部を貫通することを特徴とする請求項1に記載の導熱管の製造方法。
  3. 前記第1の加工部、前記第2の加工部、前記第3の加工部および前記第4の加工部は、前記冷却部が貫通するベリードバイアをそれぞれ有することを特徴とする請求項2に記載の導熱管の製造方法。
  4. 前記導熱管の前記冷却部における前記治具の底部から突出している部分を作業台に押し付けることにより、前記導熱管および前記導熱座が前記治具から外れ、前記治具と前記導熱管および前記導熱座との固定状態を解除する第5の工程を、さらに含むことを特徴とする請求項2に記載の導熱管の製造方法。
  5. 前記第2の工程における前記治具は、側面から延伸する取っ手を設けていることを特徴とする請求項1に記載の導熱管の製造方法。
  6. 前記第3の工程における前記プレス機台の前記複数の加工部は、順次配置された前記第1の加工部、前記第2の加工部、前記第3の加工部および前記第4の加工部であり、前記各加工部は横方向に配列されていることを特徴とする請求項1に記載の導熱管の製造方法。
  7. 前記各加工部は、前記治具の外側の凹溝に接合する位置決め突起を有することを特徴とする請求項6に記載の導熱管の製造方法。
  8. 前記第3の工程における前記プレス機台の前記複数のスタンパーは、順次設けられた第1のスタンパー、第2のスタンパー、第3のスタンパーおよび第4のスタンパーであって、それぞれ順次前記第1の加工部、前記第2の加工部、前記第3の加工部および前記第4の加工部に対応することを特徴とする請求項6に記載の導熱管の製造方法。
  9. 前記第3の工程における前記プレス機台の前記ポンチは、下方に延伸する複数の導桿を有し、前記平台上に対応するように設けられた導孔により、所定のプレス距離を一定に維持することを特徴とする請求項1に記載の導熱管の製造方法。
JP2009162197A 2008-10-03 2009-07-08 導熱管の製造方法 Expired - Fee Related JP5448151B2 (ja)

Applications Claiming Priority (2)

Application Number Priority Date Filing Date Title
TW097138229 2008-10-03
TW097138229A TW201015041A (en) 2008-10-03 2008-10-03 Smoothing-manufacture method to bury the heat-pipe evaporating segment into the heat-conduction base

Publications (2)

Publication Number Publication Date
JP2010091257A true JP2010091257A (ja) 2010-04-22
JP5448151B2 JP5448151B2 (ja) 2014-03-19

Family

ID=42074613

Family Applications (1)

Application Number Title Priority Date Filing Date
JP2009162197A Expired - Fee Related JP5448151B2 (ja) 2008-10-03 2009-07-08 導熱管の製造方法

Country Status (4)

Country Link
US (1) US8161644B2 (ja)
JP (1) JP5448151B2 (ja)
KR (1) KR101130864B1 (ja)
TW (1) TW201015041A (ja)

Cited By (2)

* Cited by examiner, † Cited by third party
Publication number Priority date Publication date Assignee Title
JP2012135784A (ja) * 2010-12-26 2012-07-19 Noritz Corp 金属製丸パイプの加工方法およびこの方法を用いて加工された金属製丸パイプ
JP2012184913A (ja) * 2011-03-04 2012-09-27 崇賢 ▲黄▼ 放熱装置とその組立方法

Families Citing this family (17)

* Cited by examiner, † Cited by third party
Publication number Priority date Publication date Assignee Title
US8387250B2 (en) * 2006-05-12 2013-03-05 Cpumate Inc. Method for embedding heat pipe into heat-conducting seat
US20110000645A1 (en) * 2009-07-06 2011-01-06 Ping Chen Heat dissipating board structure and method of manufacturing the same
TWI651509B (zh) * 2011-03-11 2019-02-21 黃崇賢 熱管與導熱座之限位組配結構
TWI656316B (zh) * 2011-03-11 2019-04-11 黃崇賢 Combination method and structure of heat conduction seat for multi-heat pipe tight arrangement
US8893384B2 (en) * 2011-06-28 2014-11-25 Asia Vital Components Co., Ltd. Heat pipe manufacturing method
US20130008629A1 (en) * 2011-07-05 2013-01-10 Chun-Ming Wu Thermal module and method of manufacturing same
US9895778B2 (en) * 2015-11-26 2018-02-20 Asia Vital Components Co., Ltd. Heat dissipation unit manufacturing method
KR20180103218A (ko) * 2017-03-08 2018-09-19 서울텔레콤 주식회사 히트파이프 모듈 및 이의 제조방법
US11375637B2 (en) * 2017-07-03 2022-06-28 Mitsubishi Electric Corporation Heat sink
CN107968078B (zh) * 2017-11-14 2024-10-11 华南理工大学 热管嵌入式散热装置及其制造方法
KR102072082B1 (ko) * 2019-05-09 2020-01-31 잘만테크 주식회사 히트 파이프 및 전열 블록을 포함한 전자부품 냉각장치의 제조방법
US11092386B2 (en) * 2019-08-21 2021-08-17 Celsia Technologies Taiwan, Inc. Manufacturing method and structure of heat pipe with adjustable working temperature range
USD1009813S1 (en) * 2019-12-30 2024-01-02 Asia Vital Components Co., Ltd. Heat pipe
CN111970891B (zh) * 2020-07-10 2022-11-15 广州龙辉电子科技有限公司 水冷板制造方法
TWD213271S (zh) * 2020-11-05 2021-08-11 大陸商亞浩電子五金塑膠(惠州)有限公司 熱管
CN117677138A (zh) * 2022-08-31 2024-03-08 亚浩电子五金塑胶(惠州)有限公司 散热装置及其制造方法
CN117583481B (zh) * 2023-12-05 2024-12-03 东莞市铨展新能源科技有限公司 一种散热器热管滚压专用设备

Citations (6)

* Cited by examiner, † Cited by third party
Publication number Priority date Publication date Assignee Title
JPH10244399A (ja) * 1997-03-03 1998-09-14 Honda Motor Co Ltd プレス装置
JPH11274782A (ja) * 1998-03-24 1999-10-08 Showa Alum Corp ヒートパイプ利用放熱器
JP2005291645A (ja) * 2004-04-01 2005-10-20 Calsonic Kansei Corp ループ状ヒートパイプ及びその製造方法
JP3119117U (ja) * 2005-06-24 2006-02-16 ▲るぇ▼新科技股▲ふん▼有限公司 熱管散熱器の構造
US20070261244A1 (en) * 2006-05-12 2007-11-15 Chih-Hung Cheng Leveling Method for Embedding Heat Pipe in Heat-Conducting Seat
EP1921410A1 (en) * 2006-11-10 2008-05-14 Golden Sun News Techniques Co., Ltd. Combined assembly of fixing base and heat pipe

Family Cites Families (8)

* Cited by examiner, † Cited by third party
Publication number Priority date Publication date Assignee Title
US8534348B2 (en) * 2005-09-01 2013-09-17 Molex Incorporated Heat pipe and method for manufacturing same
US8387250B2 (en) * 2006-05-12 2013-03-05 Cpumate Inc. Method for embedding heat pipe into heat-conducting seat
KR20080001090U (ko) * 2006-11-09 2008-05-15 골든 선 뉴스 테크닉스 컴파니 리미티드 고정 베이스와 히트 파이프 조합 조립체
TW201017085A (en) * 2008-10-23 2010-05-01 Golden Sun News Tech Co Ltd Manufacturing method for heat pipe joining and fixing base and structure thereof
CN102159913B (zh) * 2008-11-04 2013-01-16 大金工业株式会社 冷却构件及其制造方法和制造装置
US20110114293A1 (en) * 2009-11-16 2011-05-19 Kuo-Len Lin Manufacturing method, finished product and fixture of coplanar evaporators of multiple heat pipes
US8613140B2 (en) * 2010-06-23 2013-12-24 Shyh-Ming Chen Heat sink and method for manufacturing the same
US20110315365A1 (en) * 2010-06-23 2011-12-29 Shyh-Ming Chen Heat sink and method for manufacturing the same

Patent Citations (6)

* Cited by examiner, † Cited by third party
Publication number Priority date Publication date Assignee Title
JPH10244399A (ja) * 1997-03-03 1998-09-14 Honda Motor Co Ltd プレス装置
JPH11274782A (ja) * 1998-03-24 1999-10-08 Showa Alum Corp ヒートパイプ利用放熱器
JP2005291645A (ja) * 2004-04-01 2005-10-20 Calsonic Kansei Corp ループ状ヒートパイプ及びその製造方法
JP3119117U (ja) * 2005-06-24 2006-02-16 ▲るぇ▼新科技股▲ふん▼有限公司 熱管散熱器の構造
US20070261244A1 (en) * 2006-05-12 2007-11-15 Chih-Hung Cheng Leveling Method for Embedding Heat Pipe in Heat-Conducting Seat
EP1921410A1 (en) * 2006-11-10 2008-05-14 Golden Sun News Techniques Co., Ltd. Combined assembly of fixing base and heat pipe

Cited By (2)

* Cited by examiner, † Cited by third party
Publication number Priority date Publication date Assignee Title
JP2012135784A (ja) * 2010-12-26 2012-07-19 Noritz Corp 金属製丸パイプの加工方法およびこの方法を用いて加工された金属製丸パイプ
JP2012184913A (ja) * 2011-03-04 2012-09-27 崇賢 ▲黄▼ 放熱装置とその組立方法

Also Published As

Publication number Publication date
TWI371565B (ja) 2012-09-01
US8161644B2 (en) 2012-04-24
US20100083500A1 (en) 2010-04-08
TW201015041A (en) 2010-04-16
KR20100038132A (ko) 2010-04-13
KR101130864B1 (ko) 2012-03-28
JP5448151B2 (ja) 2014-03-19

Similar Documents

Publication Publication Date Title
JP5448151B2 (ja) 導熱管の製造方法
US8387250B2 (en) Method for embedding heat pipe into heat-conducting seat
US20240066582A1 (en) Die support mechanism, cylindrical workpiece generation device, and transfer press machine
KR101578015B1 (ko) Nct 펀칭기 착탈용 부스바 펀칭장치
KR20110095748A (ko) 두 개 이상의 유압 펀치가 작동하는 프레스 금형
JP4913773B2 (ja) パンチング装置
JP2018051627A (ja) 工作物の製造方法、および本方法を実施するための穴開け処理ツール
KR101507284B1 (ko) 구조 개선된 플라스틱 관 이음부 연결용 클램프 제조장치 및 제조방법
KR101214869B1 (ko) 엔진오일 쿨러용 엘리먼트
CN107716835B (zh) 分度自对准五金工具
JP5360841B2 (ja) パンチプレス機
CN101716635B (zh) 将热管蒸发段埋入导热座的平整化制法
JP4924539B2 (ja) プレス加工装置、およびプレス加工方法
KR20200067478A (ko) 탈착식 프레싱모듈을 포함하는 프레스 어셈블리
JP3108301U (ja) 導熱管を備えた放熱装置
EP2184117B1 (en) Leveling method for burying evaporating section of heat pipe into thermally conductive seat
TWI512440B (zh) 散熱裝置及其製造方法
CN222307893U (zh) 一种用于散热片的铆压治具
JP2007149862A (ja) 金型装置
JP5782530B2 (ja) 多工程圧造機
KR101168574B1 (ko) 엔진오일 쿨러용 엘리먼트
JP2008023920A (ja) 金型コア、金型コアの製造方法、パターン転写金型
KR20040082865A (ko) 캐리어 플레이트 제작을 위한 실리콘 천공장치 및 방법
JP3131334B2 (ja) 金型装置におけるパンチの研磨再生構造
CN106890886B (zh) 一种导热底座的制作方法

Legal Events

Date Code Title Description
A621 Written request for application examination

Free format text: JAPANESE INTERMEDIATE CODE: A621

Effective date: 20120326

A131 Notification of reasons for refusal

Free format text: JAPANESE INTERMEDIATE CODE: A131

Effective date: 20130723

A521 Written amendment

Free format text: JAPANESE INTERMEDIATE CODE: A523

Effective date: 20131010

TRDD Decision of grant or rejection written
A01 Written decision to grant a patent or to grant a registration (utility model)

Free format text: JAPANESE INTERMEDIATE CODE: A01

Effective date: 20131126

A61 First payment of annual fees (during grant procedure)

Free format text: JAPANESE INTERMEDIATE CODE: A61

Effective date: 20131220

R150 Certificate of patent or registration of utility model

Free format text: JAPANESE INTERMEDIATE CODE: R150

RD02 Notification of acceptance of power of attorney

Free format text: JAPANESE INTERMEDIATE CODE: A7422

Effective date: 20131225

RD05 Notification of revocation of power of attorney

Free format text: JAPANESE INTERMEDIATE CODE: A7425

Effective date: 20131225

LAPS Cancellation because of no payment of annual fees