JP2010090549A - 薄板軽量形鋼造の耐力壁と基礎との接合構造並びに接合金物 - Google Patents

薄板軽量形鋼造の耐力壁と基礎との接合構造並びに接合金物 Download PDF

Info

Publication number
JP2010090549A
JP2010090549A JP2008259008A JP2008259008A JP2010090549A JP 2010090549 A JP2010090549 A JP 2010090549A JP 2008259008 A JP2008259008 A JP 2008259008A JP 2008259008 A JP2008259008 A JP 2008259008A JP 2010090549 A JP2010090549 A JP 2010090549A
Authority
JP
Japan
Prior art keywords
insertion hole
bearing wall
plate
foundation
thin
Prior art date
Legal status (The legal status is an assumption and is not a legal conclusion. Google has not performed a legal analysis and makes no representation as to the accuracy of the status listed.)
Granted
Application number
JP2008259008A
Other languages
English (en)
Other versions
JP5053222B2 (ja
Inventor
Hiroyuki Kaihara
広幸 海原
Shigeaki Tonai
繁明 藤内
Current Assignee (The listed assignees may be inaccurate. Google has not performed a legal analysis and makes no representation or warranty as to the accuracy of the list.)
Nippon Steel Corp
Original Assignee
Nippon Steel Corp
Priority date (The priority date is an assumption and is not a legal conclusion. Google has not performed a legal analysis and makes no representation as to the accuracy of the date listed.)
Filing date
Publication date
Application filed by Nippon Steel Corp filed Critical Nippon Steel Corp
Priority to JP2008259008A priority Critical patent/JP5053222B2/ja
Publication of JP2010090549A publication Critical patent/JP2010090549A/ja
Application granted granted Critical
Publication of JP5053222B2 publication Critical patent/JP5053222B2/ja
Active legal-status Critical Current
Anticipated expiration legal-status Critical

Links

Images

Landscapes

  • Load-Bearing And Curtain Walls (AREA)
  • Joining Of Building Structures In Genera (AREA)

Abstract

【課題】施工性を向上させ、ねじの腐食等の問題が生じることなく、さらに建物に作用する水平方向のせん断力を、アンカーボルトを介してコンクリート基礎に対して伝達させる上での応力伝達性能を向上させる。
【解決手段】第1の挿通孔76が略中央に形成された下フランジ81の両側に山部70を下フランジ81の両側に設けた補強用折板が耐力壁の下枠材に嵌合され、第1の挿通孔76よりも径小の第2の挿通孔86が略中央に形成された座金プレート62が補強用折板61における上フランジ83にねじを介して接合され、コンクリート基礎46に埋め込まれ、下枠材41を介して上方に突出されているアンカーボルト59が補強用折板61における第1の挿通孔76と、座金プレート62における第2の挿通孔86に挿通され、さらにアンカーボルト59の上端がナットにより螺着されて座金プレートを締め付け固定可能とされている。
【選択図】図3

Description

本発明は、スチールハウス(スチールハウスは普通、板厚0.4mm以上、2.3mm未満の薄板軽量形鋼による枠材と、この枠材に構造用面材を組み合わせて構成される鉄鋼系壁式構造の建物と定義される。)等の住宅等の建築構造物あるいは薄板軽量形構造の耐力壁を使用する非住宅等の建築構造物に使用される、薄板軽量形鋼造の耐力壁と基礎との接合構造並びに接合金物に関する。
従来、薄板軽量形鋼造の耐力壁と基礎との接合構造として、図9、10に示すように、耐力壁10における縦枠材8をホールダウン金物20における縦部分23にドリルねじ24により固定し、ホールダウン金物20を下枠材9から浮かした状態で、ホールダウン金物20の下部横部分25および下枠材9にアンカーボルト21の上部を挿通し、座金およびバネ座金を装着すると共にナット16を緊締して、アンカーボルト21を介してコンクリート基礎2に固定する接合構造が知られている(例えば、特許文献1参照。)。
前記のように、コンクリート基礎2と1階の耐力壁10を接合する場合には、ホールダウン金物20を縦枠材8へ接合し、コンクリート基礎2に埋め込まれたアンカーボルト21と連結することで、地震時の水平力あるいは風荷重(設計外力)が建物に作用した場合、縦枠材8の軸力Fをコンクリート基礎2へ伝達する構造とされている。
また、建物に作用する水平方向のせん断力F2に対しては、コンクリート基礎2に対して先埋めしたアンカーボルト22を、下枠材9に形成した挿通孔31に挿通させ、座金32を挟んでナット33で締め付ける構成とすることにより、これをコンクリート基礎2側へ伝達可能としている。この挿通孔31の径は、アンカーボルト22の軸径プラス1mm程度としている。
また、例えば図11に示すように、コンクリート基礎2に対して先埋めしたアンカーボルト22を、下枠材9に形成した挿通孔31に挿通させ、座金用金物35を挟んでナット33で締め付ける構成とすることにより、これをコンクリート基礎2側へ伝達可能としている。このとき、下枠材9に形成した挿通孔31の径は、アンカーボルト22の軸径に対して十分余裕がある大径で構成されてなり、座金用金物35は、アンカーボルト22の軸径プラス1mm程度としている。
また、これら先埋めしたアンカーボルト22を、下枠材9に形成した挿通孔31に挿通させる構成に加えて、コンクリート基礎2にコンクリートドリルによる穿設と下枠材9にホールソーによる孔あけを必要とする、あと施工アンカーボルト22をコンクリート基礎2と接する薄板軽量形鋼の下枠材(水平枠材)9とコンクリート基礎2とに同時に打ち込むことで伝達する構造も提案されている。
特開2005−248529号公報
ところで、上記図10に示すようにコンクリート基礎2に対して先埋めしたアンカーボルト22を、下枠材9の挿通孔31を介して挿通させた上でこれをナット33により締め付ける接合方法の場合、せん断力を下枠材9からアンカーボルト22へ伝達させる必要がある。このため、下枠材9における挿通孔31のクリアランスは、上述したように1mm以下まで抑える必要がある。
しかしながら、挿通孔31のアンカーボルト22に対するクリアランスが僅かしかない構成では、施工時における僅かな位置ズレが発生した場合に、このアンカーボルト22に挿通孔31への挿通が実現できなくなる危険性がある。このため、実際にこの図10に示す構成を適用する場合には、アンカーボルト22設置作業において非常に高い施工精度を強いることにもなり、施工労力負担が却って増大し、施工時間の長期化を引き起こすという問題点もあった。
また、上記図11に示すような、コンクリート基礎2に対して先埋めしたアンカーボルト22を、下枠材9に形成した挿通孔31に挿通させ、座金用金物35を挟んでナット33で締め付ける構成では、かかる座金用金物35を現場で下枠材9に対してねじ37によりねじ留めするが、かかるねじ37の先端がコンクリート基礎2中にねじ込まれてしまう。このとき、ねじ37に防錆のためメッキされている亜鉛が、かかるコンクリート基礎2を構成するコンクリートのアルカリ環境に置かれることになり、ねじ37自体が腐食してしまう危険性があった。またかかるねじ37の腐食を防止するために、下枠材9のフランジ側からねじ留めする方法も考えられるが、座金用金物35への孔あけを高い精度で行う必要が生じ、更にはそのねじ留めする際のねじと座金用金物35との干渉が生じることもあり、現場作業の増加を招く結果にもなっていた。
また、あと施工アンカーボルト22を利用した接合方法の場合には、あと施工アンカー施工士の有資格者による作業が必要になり、スムーズな施工を実現することができず、トータルの施工コストが上昇してしまうという問題点があった。また、あと施工アンカー施工の実績自体が少なく、施工後の強度確保の確認が困難になるという問題点があった。
そこで、本発明は、上述した問題点に鑑みて案出されたものであり、その目的とするところは、薄板軽量形鋼造の耐力壁を基礎に固定する薄板軽量形鋼造の耐力壁と基礎との接合構造において、施工性を向上させ、ねじの腐食等の問題が生じることなく、さらに建物に作用する水平方向のせん断力を、アンカーボルトを介してコンクリート基礎に対して伝達させる上での応力伝達性能を向上させることが可能な薄板軽量形鋼造の耐力壁と基礎との接合構造並びに接合金物を提供することにある。
本発明を適用した薄板軽量形鋼造の耐力壁と基礎との接合構造は、上述した課題を解決するために、薄板軽量形鋼造の耐力壁を基礎に固定する薄板軽量形鋼造の耐力壁と基礎との接合構造において、第1の挿通孔が略中央に形成された下フランジの両側から上方へ屈曲させた内側ウエブと、上記内側ウエブの上端から外側へ屈曲させた水平面からなる上フランジと、上記上フランジの側端を下方へ屈曲させた外側ウエブとを有する山部を上記下フランジの両側に設けた補強用折板が耐力壁の下枠材に嵌合され、上記第1の挿通孔よりも径小の第2の挿通孔が略中央に形成された座金プレートが上記補強用折板における上記上フランジにねじを介して接合され、コンクリート基礎に埋め込まれ、上記下枠材を介して上方に突出されているアンカーボルトが上記補強用折板における第1の挿通孔と、上記座金プレートにおける第2の挿通孔に挿通され、さらに上記アンカーボルトの上端がナットにより螺着されて上記座金プレートを締め付け固定可能とされていることを特徴とする。
本発明を適用した薄板軽量形鋼造の耐力壁と基礎との接合金物は、薄板軽量形鋼造の耐力壁を基礎に固定するための薄板軽量形鋼造の耐力壁と基礎との接合金物において、第1の挿通孔が略中央に形成された下フランジの両側から上方へ屈曲させた内側ウエブと、上記内側ウエブの上端から外側へ屈曲させた水平面からなる上フランジと、上記上フランジの側端を下方へ屈曲させた外側ウエブとを有する山部を上記下フランジの両側に設けた補強用折板と、上記第1の挿通孔よりも径小の第2の挿通孔が略中央に形成され、上記補強
用折板における上記上フランジにボルト接合可能な座金プレートとを備え、上記補強用折板は、耐力壁の下枠材に嵌合可能とされ、コンクリート基礎に埋め込まれ、耐力壁の下枠材を介して上方に突出されているアンカーボルトが、上記補強用折板における第1の挿通孔と、上記座金プレートにおける第2の挿通孔に挿通可能とされていることを特徴とする。
上述した構成からなる本発明によれば、施工性を向上させることができ、ねじの腐食等の問題が生じることなく、さらに建物に作用する水平方向のせん断力を、アンカーボルトを介してコンクリート基礎に対して伝達させる上での応力伝達性能を向上させることが可能となる。
以下、本発明を実施するための最良の形態として、薄板軽量形鋼造の耐力壁を基礎に固定する薄板軽量形鋼造の耐力壁と基礎との接合構造について、図面を参照しながら詳細に説明する。
この薄板軽量形鋼造の耐力壁と基礎との接合構造が適用される薄板軽量形鋼造は、いわゆるスチールハウス等に代表されるものであって、薄板軽量形鋼の枠材を建物全体の主架構要素とし、必要に応じて部分的に木製枠材や構造面材を薄板軽量形鋼の枠材に組み合わせて構成される。この薄板軽量形鋼の枠材は、いずれも板厚0.4mm以上、2.3mm未満程度の薄鋼板を折り曲げ加工することによりウエブとその両端にフランジを一体に連設させた軽溝形鋼又はリップ溝形鋼で構成されている。
図1は、かかるスチールハウス100の構造を示している。スチールハウス100は、下枠材41から複数の縦枠材42が所定の間隔をおいて立ち上げられてなり、各縦枠材42の上端の間は上枠材43で結合されている。この下枠材41と縦枠材42と上枠材43で構成される壁枠材171には、構造用面材が取付けられ、耐力壁を構成することになる。また、このスチールハウス100には、出入り口48a、窓48bなどの開口部48が形成される。
上枠材43は、側根太45aと端根太45bが支持されてなり、両根太45a,45bが矩形に組まれている。そして、側根太45aと平行して長短複数の床根太50が所定間隔で設けられていて、長尺の床根太50の両端は前後の端根太45bに結合され、短尺の床根太50の一端は前側又は後側の端根太45bに、他端は床梁52に結合されている。また、開口部側根太50bの一端は、端根太45bに、他端は、床開口部端根太50aに結合されている。これら床根太50と、床梁52との間で構成される床枠材182には、構造用面材53が取付けられる。
下枠材41は、断面コ字状の枠材で構成されてなり、縦枠材42が所定の間隔をおいて立ち上げられている。またこの下枠材41は、コンクリート基礎46上に固定されている。
図2は、この下枠材41がコンクリート基礎46上に配設されているA部の詳細を示しており、図2(a)は、A部側面図を、また図2(b)は、A部平面図を示している。
下枠材41に対して所定間隔で立設されている縦枠材42の間には、アンカーボルト59がコンクリート基礎46に埋め込まれている。このコンクリート基礎46に埋め込まれているアンカーボルト59の上端は、下枠材41を挿通し、さらに接合金物6により締め付け固定されている。このアンカーボルト59は、耐力壁を介して伝達されてくるせん断力をコンクリート基礎46へと伝達する役割を担う。ちなみに、下枠材41には、アンカーボルト59の径よりも十分に径大な図示しない貫通孔が設けられ、当該図示しない貫通
孔を介してアンカーボルト59が挿通可能とされている。
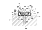
図3は、かかる接合金物6によりアンカーボルト59を締め付け固定している状態の拡大図を示しており、図3(a)は、その平面図を、また図3(b)は、図3(a)のI-I断面図を、更に図4は、図3(a)のII-II断面図を示している。
接合金物6は、補強用折板61と、座金プレート62と、スペーサー63とを備えている。図5は、この接合金物6のうち、補強用折板61と座金プレート62のみの斜視図を示している。
補強用折板61は、中央において形成されてなる水平面からなる下フランジ71と、この下フランジ71の両側から上方へ屈曲させた内側ウエブ72と、内側ウエブ72の上端から外側へ屈曲させた水平面からなる上フランジ73と、上フランジ73の側端を下方へ屈曲させた外側ウエブ74とを有する山部70を下フランジ71の両側に設けて構成されている。なお、この外側ウエブ74の先端にはリップ75が形成されているが、このリップ75の構成は省略してもよい。ちなみに、下フランジ71の略中央には第1の挿通孔76が形成されている。この第1の挿通孔76は、アンカーボルト59を挿通させるために形成されたものであるが、その径はアンカーボルト59の軸径に対して十分余裕がある大径で構成されている。
座金プレート62は、中央において形成されてなる水平面からなる下フランジ81と、この下フランジ81の両側から上方へ屈曲させたウエブ82と、ウエブ82の上端から外側へ屈曲させた水平面からなる上フランジ83と、上フランジ83の側端から上方へ屈曲されたリップ84を備えている。下フランジ81の略中央には第2の挿通孔86が形成されている。この第2の挿通孔86は、アンカーボルト59を挿通させるために形成されたものであるが、その径はアンカーボルト59の軸径に対して僅かに径大とされていればよく、そのクリアランスは1mm以下であってもよい。また、この第2の挿通孔86は、第1の挿通孔76よりも径小とされていることが必須となる。即ち、この座金プレート62は、下フランジ81とその両側に形成されたウエブ82とにより、下方へ凸設されている構成となる。
また、この座金プレート62は、補強用折板61に対して接合されることを前提している。かかる場合には、図5に示すように、補強用折板61における下フランジ71の両側に形成された山部70の間に、座金プレート62におけるウエブ82、下フランジ81からなる凸部を嵌合させ、又は遊嵌させる。その結果、座金プレート62における下フランジ81は、補強用折板61における下フランジ71に対して近接され、又は当接されることになる。また、この座金プレート62を、補強用折板61に対して接合する際には、座金プレート62における上フランジ83を、補強用折板61における上フランジ73に当接させる。そして、これら当接させた上フランジ83、上フランジ73に対してドリルねじ88を上から捻じ込むことにより、これらを互いに接合する。ちなみに、この捻じ込まれたドリルねじ88の下端は、山部70内に下向きに突出された状態となる。この山部70の内側は、内側ウエブ72、上フランジ73、外側ウエブ74により囲まれており、いわゆる空洞状態となっている。このような山部70の内側に突出されたドリルねじ88の下端は、かかる空洞中の空気中に位置させることが可能となる。
この補強用折板61並びに座金プレート62を、実際にアンカーボルト59に固定する際には、スペーサー63を利用することになる。このスペーサー63は、貫通孔89が形成された金属板からなる。ちなみに、この貫通孔89は、アンカーボルト59が挿通されることを前提としていることから、アンカーボルト59より僅かに径大で構成されており、そのクリアランスは、1mm以下であってもよい。また、このスペーサー63の高さは
、座金プレート62における下フランジ81から上フランジ83に至るまでの高さ以上で構成されていることが望ましい。スペーサー63は、座金プレート62におけるウエブ82、下フランジ81からなる凹部に嵌合されることになる。
アンカーボルト59の上端は、補強用折板61における第1の挿通孔76並びに、座金プレート62における第2の挿通孔86を挿通し、更にスペーサー63における貫通孔89を挿通し、当該スペーサー63よりも上方に突出することになる。このアンカーボルト59の上端は、ナット90により螺着されてスペーサー63を介して座金プレート62を締め付け固定可能とされている。
なお、本発明においては、接合金物6によりアンカーボルト59を締め付け固定する際には、更にねじ91により下枠材41並びに補強用折板61が接合されていてもよい。このねじ91は、いわゆるドリルねじやボルトねじで構成されていてもよい。このねじ91は、下枠材41から補強用折板61へ向けて下側から上側に向けて捻じ込まれて構成されている。このねじ91の上端は、補強用折板61における下フランジ71において突出するように位置調整が行われている。このねじ91は、図3(a)に示すように、B方向の位置がアンカーボルト59とほぼ同一か、又はその近傍において集中していることが望ましい。
次に、本発明を適用した薄板軽量形鋼造の耐力壁と基礎との接合構造の施工方法について説明をする。
先ず図6(a)に示すように、コンクリート基礎46にアンカーボルト59を予め埋め込み、固定をする。
次に図6(b)に示すように、アンカーボルト61に対して、下枠材41を挿通させる。このとき、下枠材41に形成された貫通孔93に先ずアンカーボルト61を挿通させる。この貫通孔93は、アンカーボルト61の径よりも十分に余裕を持った大きな径で構成されている。このため、多少の施工工程において位置ずれが生じた場合においても、この貫通孔93にアンカーボルト61を挿通することが可能となる。
次に、図6(b)に示すように、補強用折板61を下枠材41に対して嵌合させる。このとき、補強用折板61に形成された第1の挿通孔76にアンカーボルト59を挿通させる。この第1の挿通孔76も、上述したようにアンカーボルト61の径よりも十分に余裕を持った大きな径で構成されている。このため、多少の施工工程において位置ずれが生じた場合においても、この第1の挿通孔76にアンカーボルト61を挿通することが可能となる。
なお、ねじ91により下枠材41並びに補強用折板61を接合する場合には、予め下枠材41と補強用折板61とをねじ91により接合して重ねておき、これをアンカーボルト61に挿通するようにしてもよい。
次に図7(a)に示すように、座金プレート62を補強用折板61に嵌合させ、座金プレート62における上フランジ83を、補強用折板61における上フランジ73に当接させる。そして、これら当接させた上フランジ83、上フランジ73に対してドリルねじ88を上から捻じ込むことにより、これらを互いに接合する。
次に図7(b)に示すように、スペーサー63を、座金プレート62におけるウエブ82、下フランジ81からなる凹部に嵌合させる。このとき、このスペーサー63における貫通孔89に、アンカーボルト59を挿通させる。
最後に、アンカーボルト59の上端を、ナット90により螺着してスペーサー63を介して座金プレート62を締め付け固定する。これにより、以上の工程を経ることにより、薄板軽量形鋼造の耐力壁と基礎との接合構造の施工が完了することになる。
上述したように、本発明を適用した薄板軽量形鋼造の耐力壁と基礎との接合構造では、アンカーボルト59に対して螺着させたナット90にスペーサー63を介して座金プレート62を締め付け固定する。これにより、接合金物6とアンカーボルト59とを接合することができ、薄板軽量形鋼造に作用する水平方向のせん断力は、下枠材41を介してこの接合金物6からアンカーボルト59へと伝達させ、ひいてはコンクリート基礎46へと伝達させることが可能となる。
特に、本発明では、下枠材41における貫通孔93並びに補強用折板61における第1の挿通孔76をアンカーボルト59の径よりも十分に余裕を持った大きな径で構成している。このため、下枠材41を取り付ける上で僅かな施工誤差が生じても、アンカーボルト59に貫通孔93を挿通不能となる事態を回避することが可能となる。同様に、僅かな施工誤差が生じた場合においても、補強用折板61を嵌め込む際にアンカーボルト59に第1の挿通孔76が挿通不能となる事態を回避することが可能となる。
また、本発明では、下枠材41における貫通孔93並びに補強用折板59における第1の挿通孔76の径を大きくする代わりに、補強用折板61に対して上から接合すべき座金プレート62における第2の挿通孔86の径をアンカーボルト59の軸径に対して僅かに径大とされ、そのクリアランスは1mm以下となるように構成している。これにより、特にスペーサー63を介してナット90によりアンカーボルト61を螺着固定する際において、スペーサー63により下方向へ押し込み力が負荷されることになるが、座金プレート62における第2の挿通孔86の径をより狭小化していることから、かかるスペーサー63の押し込み力を座金プレート62により広い面積をもって受けることが可能となる。スペーサー63を介してナット90によりアンカーボルト61を螺着固定する際にこれを安定した状態で締め付けることが可能となる。
仮に、座金プレート62における第2の挿通孔86が第1の挿通孔76と同程度の大きさであれば、アンカーボルト59の外径よりも第2の挿通孔86が径大になる場合もあり、効果的な締め付けが困難になるが、本発明ではこのような不利な点を解消することが可能となる。また、第2の挿通孔86が第1の挿通孔76と同程度の大きさであれば、スペーサー63を介してナット90により締め付け固定する際においても不安定になってしまう虞があるが、本発明ではこのような不利な点を解消することが可能となる。
即ち、本発明では、下枠材41における貫通孔93並びに補強用折板61における第1の挿通孔76の径を大きくすることにより、施工時における自由度をより向上させることができるとともに、ナット90による効果的な締め付け固定も可能となる。特に上述した構成を作用する本発明においては、アンカーボルト61における施工精度を±5mm程度まで緩和することも可能となる。
また本発明では、補強用折板61を、下フランジ71と、この下フランジ71から上方へ屈曲させた内側ウエブ72と、内側ウエブ72の上端から外側へ屈曲させた上フランジ73と、上フランジ73の側端を下方へ屈曲させた外側ウエブ74とを有する山部70を下フランジ71の両側に設けて構成している。そして、座金プレート62における上フランジ83を、補強用折板61における上フランジ73に当接させ、これらに対してドリルねじ88を上から捻じ込むことにより互いに接合する構成としている。その結果、ドリルねじ88の下端は、山部70の内側に突出させることが可能となる。特にこの山部70の内側には、何らコンクリートが充填されるものではなく、あくまで空洞とされている。このため、山部70の内側に突出させたドリルねじ88の下端が、コンクリートと接触することにより腐食してしまうのを抑制することが可能となり、耐久性能をより向上させることも可能となる。更にドリルねじ88の下端が、他の部材と干渉しない構成とすることができることから、現場作業性をより向上させることも可能となる。
特に本発明においては、現場において座金プレート62を後付けすることを前提としているが、上述のように第1の挿通孔76がアンカーボルト61に対して十分に余裕をもたせて構成していることから、かかる座金プレート62の取り付け時において、補強用折板61並びに座金プレート62を相互に可動させて位置調整することが可能となり、施工誤差を吸収することが可能となる。
ちなみに、この山部70の高さがドリルねじ88の長さよりも低い場合には、打ち込んだドリルねじ88の下端がコンクリート基礎46中のコンクリートと反応して腐食してしまう虞もある。従って、この山部70の高さは、ドリルねじ88の長さよりも、高く構成されていることが望ましい。
また、座金プレート62は、補強用折板61に嵌合させた際に、座金プレート62のウェブ82と補強用折板61の内側ウェブ72の間に隙間が生じる程度に下フランジ81の幅を狭くしておくことによって、アンカーボルト59と下枠材41の幅方向の施工誤差を吸収することも可能となる。
また、本発明では、座金プレート62における下フランジ81を、補強用折板61における下フランジ71に対して近接され、又は当接させている。その結果、水平力が作用した場合にアンカーボルト59に対して、座金プレート62における第2の挿通孔86が支点となり曲げ荷重が負荷されるのを防止することが可能となる。その結果、せん断力のみをこのアンカーボルト59に作用させることが可能となることから、アンカーボルト59自身に作用する荷重を低減させることが可能となり、ひいてはより大きな地震荷重に抵抗することが可能となる。
更に本発明では、受けた荷重に対して、下フランジ71の両翼に形成させた山部70を変形させることにより、地震によるエネルギーを吸収することも可能となる。中規模の地震に対しては、この山部70を弾性範囲内において変形させ、また大規模な地震に対しては、この山部70を塑性変形させることにより、これに追従させ、エネルギー吸収を実現することが可能となる。その結果、接合金物6を接合する各ねじやボルト等の損傷を抑制することができ、接合構造自体の急激な耐力低下を防止することも可能となる。
特に、この山部70を変形させることによる地震によるエネルギーの吸収をより効果的に実現するためには、ねじ91による固定位置を、補強用折板61における下フランジ71に集中させ、山部70をフリーの状態としておくことが望ましい。これにより、山部70が拘束されることがなくなり、地震に対して自由に変形することができるためである。
なお、本発明は、上述した実施の形態に限定されるものではなく、例えば図8(a),(b)に示すような接合金物7を適用するようにしてもよい。この接合金物7について、上述した接合金物6と同一の構成並びに部材に関しては、同一の符号を付すことにより以下での説明を省略する。
接合金物7は、補強用折板61と、座金プレート96と、スペーサー99とを備えている。即ち、この接合金物7は、接合金物6における座金プレート62の代替として、座金プレート96を使用する。
この座金プレート96の略中央には第2の挿通孔97が形成された金属製の平板で構成されている。この第2の挿通孔97は、アンカーボルト59を挿通させるために形成されたものであるが、その径はアンカーボルト59の軸径に対して僅かに径大とされていればよく、そのクリアランスは1mm以下であってもよい。また、この第2の挿通孔97は、第1の挿通孔76よりも径小とされていることが必須となる。
また、この座金プレート96は、補強用折板61に対して接合されることを前提している。実際に、この座金プレート96を、補強用折板61に対して接合する際には、座金プレート96を、補強用折板61における上フランジ73に当接させる。そして、これら当接させた座金プレート96、下フランジ73に対してドリルねじ88を上から捻じ込むことにより、これらを互いに接合する。ちなみに、この捻じ込まれたドリルねじ88の下端は、空洞状態となっている山部70内に下向きに突出された状態となる。
スペーサー99は、切欠99aが形成された金属板からなる。ちなみに、この切欠99aは、アンカーボルト59が挿通されることを前提としていることから、アンカーボルト59より僅かに径大で構成されており、そのクリアランスは、1mm以下であってもよい。また、このスペーサー99の高さは、山部70の高さとほぼ同程度か、山部の高さより若干低めに構成されている。このスペーサー99は、補強用折板61における下フランジ71と内側ウエブ72とから構成される凹部に嵌合される。そして、このスペーサー99の上面には、座金プレート96の下面が近接し、又は当接されることになる。
アンカーボルト59の上端は、補強用折板61における第1の挿通孔76、スペーサー99の切欠99a、並びに座金プレート96における第2の挿通孔97を挿通し、当該座金プレート96よりも上方に突出することになる。このアンカーボルト59の上端は、ナット90により螺着されて座金プレート96を締め付け固定可能とされている。ちなみに、この接合金物7におけるスペーサー99の役割としては、ナット90による螺着時において座金プレート96が潰れてしまうのを防止するためのものである。
なお、この接合金物7において、リップ75が下フランジ71側に向けて長めに延長されており、このリップ75が下側からねじ91により固定されているが、これに限定されるものではなく、上述した接合金物6と同様に、ねじ91により下フランジ71を固定するようにしてもよい。
このような構成からなる接合金物7も上述した接合金物6と同様の効果を発揮しえることは勿論である。
スチールハウスの構成例を示す図である。 下枠材がコンクリート基礎上に配設されているA部の詳細を示す図である。 接合金物によりアンカーボルトを締め付け固定している状態の拡大図である。 図3(a)のII-II断面図である。 接合金物のうち、補強用折板と座金プレートのみの斜視図である。 本発明を適用した薄板軽量形鋼造の耐力壁と基礎との接合構造の施工方法について説明するための図である。 本発明を適用した薄板軽量形鋼造の耐力壁と基礎との接合構造の施工方法について説明するための他の図である。 本発明を適用した接合金物の他の実施の形態について説明するための図である。 従来技術の構成例を示す図である。 従来技術の構成例の詳細を示す図である。 従来技術の他の構成例の詳細を示す図である。
符号の説明
6 接合金物
41 下枠材
42 縦枠材
43 上枠材
46 コンクリート基礎
48 開口部
50 床根太
52 床梁
53 床パネル
59 アンカーボルト
61 補強用折板
62 座金プレート
63 スペーサー
70 山部
71 下フランジ
72 内側ウエブ
73 上フランジ
74 外側ウエブ
75 リップ
76 第1の挿通孔
81 下フランジ
82 ウエブ
83 上フランジ
84 リップ
86 第2の挿通孔
88 ボルトねじ
100 スチールハウス
171 壁枠材
182 床枠材

Claims (5)

  1. 薄板軽量形鋼造の耐力壁を基礎に固定する薄板軽量形鋼造の耐力壁と基礎との接合構造において、
    第1の挿通孔が略中央に形成された下フランジの両側から上方へ屈曲させた内側ウエブと、上記内側ウエブの上端から外側へ屈曲させた水平面からなる上フランジと、上記上フランジの側端を下方へ屈曲させた外側ウエブとを有する山部を上記下フランジの両側に設けた補強用折板が耐力壁の下枠材に嵌合され、
    上記第1の挿通孔よりも径小の第2の挿通孔が略中央に形成された座金プレートが上記補強用折板における上記上フランジにねじを介して接合され、
    コンクリート基礎に埋め込まれ、上記下枠材を介して上方に突出されているアンカーボルトが上記補強用折板における第1の挿通孔と、上記座金プレートにおける第2の挿通孔に挿通され、さらに上記アンカーボルトの上端がナットにより螺着されて上記座金プレートを締め付け固定可能とされていること
    を特徴とする薄板軽量形鋼造の耐力壁と基礎との接合構造。
  2. 上記座金プレートは、少なくとも上記第2の挿通孔が形成されている略中央が、上記補強用折板の上記下フランジに近接し又は当接するように、下方へ凸設されてなること
    を特徴とする請求項1記載の薄板軽量形鋼造の耐力壁と基礎との接合構造。
  3. 上記補強用折板の下フランジに対して、上記耐力壁の下枠材側からネジにより固定されていること
    を特徴とする請求項1又は2記載の薄板軽量形鋼造の耐力壁と基礎との接合構造。
  4. 薄板軽量形鋼造の耐力壁を基礎に固定するための薄板軽量形鋼造の耐力壁と基礎との接合金物において、
    第1の挿通孔が略中央に形成された下フランジの両側から上方へ屈曲させた内側ウエブと、上記内側ウエブの上端から外側へ屈曲させた水平面からなる上フランジと、上記上フランジの側端を下方へ屈曲させた外側ウエブとを有する山部を上記下フランジの両側に設けた補強用折板と、
    上記第1の挿通孔よりも径小の第2の挿通孔が略中央に形成され、上記補強用折板における上記上フランジにボルト接合可能な座金プレートとを備え、
    上記補強用折板は、耐力壁の下枠材に嵌合可能とされ、
    コンクリート基礎に埋め込まれ、耐力壁の下枠材を介して上方に突出されているアンカーボルトが、上記補強用折板における第1の挿通孔と、上記座金プレートにおける第2の挿通孔に挿通可能とされていること
    を特徴とする薄板軽量形鋼造の耐力壁と基礎との接合金物。
  5. 上記座金プレートは、少なくとも上記第2の挿通孔が形成されている略中央が、上記補強用折板の上記下フランジに近接し又は当接するように、下方へ凸設されてなること
    を特徴とする請求項4記載の薄板軽量形鋼造の耐力壁と基礎との接合金物。
JP2008259008A 2008-10-03 2008-10-03 薄板軽量形鋼造の耐力壁と基礎との接合構造並びに接合金物 Active JP5053222B2 (ja)

Priority Applications (1)

Application Number Priority Date Filing Date Title
JP2008259008A JP5053222B2 (ja) 2008-10-03 2008-10-03 薄板軽量形鋼造の耐力壁と基礎との接合構造並びに接合金物

Applications Claiming Priority (1)

Application Number Priority Date Filing Date Title
JP2008259008A JP5053222B2 (ja) 2008-10-03 2008-10-03 薄板軽量形鋼造の耐力壁と基礎との接合構造並びに接合金物

Publications (2)

Publication Number Publication Date
JP2010090549A true JP2010090549A (ja) 2010-04-22
JP5053222B2 JP5053222B2 (ja) 2012-10-17

Family

ID=42253526

Family Applications (1)

Application Number Title Priority Date Filing Date
JP2008259008A Active JP5053222B2 (ja) 2008-10-03 2008-10-03 薄板軽量形鋼造の耐力壁と基礎との接合構造並びに接合金物

Country Status (1)

Country Link
JP (1) JP5053222B2 (ja)

Cited By (1)

* Cited by examiner, † Cited by third party
Publication number Priority date Publication date Assignee Title
JP2012225133A (ja) * 2011-04-15 2012-11-15 Denro Corp 溝形鋼を用いた鋼製土台

Citations (3)

* Cited by examiner, † Cited by third party
Publication number Priority date Publication date Assignee Title
JP2000192548A (ja) * 1998-12-28 2000-07-11 Sumitomo Forestry Co Ltd 位置調整機能付鋼製土台
JP2003113655A (ja) * 2001-10-04 2003-04-18 Sugimoto Kenchiku Kenkyusho:Kk スチールハウス用接合金物
JP2003293487A (ja) * 2002-04-03 2003-10-15 American Silverwood Kk 耐力壁フレーム及びこれを用いた耐力壁構造

Patent Citations (3)

* Cited by examiner, † Cited by third party
Publication number Priority date Publication date Assignee Title
JP2000192548A (ja) * 1998-12-28 2000-07-11 Sumitomo Forestry Co Ltd 位置調整機能付鋼製土台
JP2003113655A (ja) * 2001-10-04 2003-04-18 Sugimoto Kenchiku Kenkyusho:Kk スチールハウス用接合金物
JP2003293487A (ja) * 2002-04-03 2003-10-15 American Silverwood Kk 耐力壁フレーム及びこれを用いた耐力壁構造

Cited By (1)

* Cited by examiner, † Cited by third party
Publication number Priority date Publication date Assignee Title
JP2012225133A (ja) * 2011-04-15 2012-11-15 Denro Corp 溝形鋼を用いた鋼製土台

Also Published As

Publication number Publication date
JP5053222B2 (ja) 2012-10-17

Similar Documents

Publication Publication Date Title
US10724229B2 (en) Slip clip
JP6863776B2 (ja) 継手構造および建築用構造体
JP4903629B2 (ja) 薄板軽量形鋼造の耐力壁と基礎との接合構造
US7856787B2 (en) Joint fitting between members and joint structure and joining method of upper and lower floor vertical frame members
US20040255535A1 (en) Multi-purpose construction assembly and method
KR20150094366A (ko) 외단열 시스템과 이를 이용한 외벽 설치방법
JP4664997B2 (ja) 接合金物を有する建築物
US20030213194A1 (en) Joint structure of building using thin and lightweight shaped-steel
JP4987776B2 (ja) 建築用パネル接合構造及び方法、建築構造物
JP5053222B2 (ja) 薄板軽量形鋼造の耐力壁と基礎との接合構造並びに接合金物
JP3209111U (ja) たて枠材およびスチールハウス
JP2009024435A (ja) 制振補強された壁フレーム構造
JP2011001815A (ja) 接合金物を有する建築物
KR102788848B1 (ko) 외벽타일 및 단열재 설치용 긴결재 및 이를 이용하는 외벽타일 및 단열재 시스템
JP5037031B2 (ja) 壁パネル固定構造および建築物
CN215888746U (zh) 一种隔墙与钢结构建筑主体的连接结构
JP2011006967A (ja) 鋼板連結構造、及び該鋼板連結構造を有する建物
JP2014047600A (ja) 建築用木材の連結金具
CN113585547A (zh) 一种隔墙与钢结构建筑主体的连接结构
JP7681242B2 (ja) 耐力壁パネル接続構造
JPH11264199A (ja) 建築用金属製軸部材の接合部および接合金物
JP7620507B2 (ja) 接合構造
JP5095424B2 (ja) 壁パネルの取付構造及び取付方法
JP3161023U (ja) 鉄骨柱及び鉄骨梁の接合構造
JP5004434B2 (ja) スチールハウス

Legal Events

Date Code Title Description
A621 Written request for application examination

Free format text: JAPANESE INTERMEDIATE CODE: A621

Effective date: 20110215

TRDD Decision of grant or rejection written
A977 Report on retrieval

Free format text: JAPANESE INTERMEDIATE CODE: A971007

Effective date: 20120627

A01 Written decision to grant a patent or to grant a registration (utility model)

Free format text: JAPANESE INTERMEDIATE CODE: A01

Effective date: 20120703

A01 Written decision to grant a patent or to grant a registration (utility model)

Free format text: JAPANESE INTERMEDIATE CODE: A01

A61 First payment of annual fees (during grant procedure)

Free format text: JAPANESE INTERMEDIATE CODE: A61

Effective date: 20120725

R151 Written notification of patent or utility model registration

Ref document number: 5053222

Country of ref document: JP

Free format text: JAPANESE INTERMEDIATE CODE: R151

FPAY Renewal fee payment (event date is renewal date of database)

Free format text: PAYMENT UNTIL: 20150803

Year of fee payment: 3

RD04 Notification of resignation of power of attorney

Free format text: JAPANESE INTERMEDIATE CODE: A7424

Effective date: 20120828

FPAY Renewal fee payment (event date is renewal date of database)

Free format text: PAYMENT UNTIL: 20150803

Year of fee payment: 3

S533 Written request for registration of change of name

Free format text: JAPANESE INTERMEDIATE CODE: R313533

FPAY Renewal fee payment (event date is renewal date of database)

Free format text: PAYMENT UNTIL: 20150803

Year of fee payment: 3

R350 Written notification of registration of transfer

Free format text: JAPANESE INTERMEDIATE CODE: R350

S533 Written request for registration of change of name

Free format text: JAPANESE INTERMEDIATE CODE: R313533

R350 Written notification of registration of transfer

Free format text: JAPANESE INTERMEDIATE CODE: R350