JP2010089430A - ホットランナープローブにおける尖鋭ノズル装置 - Google Patents

ホットランナープローブにおける尖鋭ノズル装置 Download PDF

Info

Publication number
JP2010089430A
JP2010089430A JP2008263186A JP2008263186A JP2010089430A JP 2010089430 A JP2010089430 A JP 2010089430A JP 2008263186 A JP2008263186 A JP 2008263186A JP 2008263186 A JP2008263186 A JP 2008263186A JP 2010089430 A JP2010089430 A JP 2010089430A
Authority
JP
Japan
Prior art keywords
probe
tip
nozzle
heater
hot runner
Prior art date
Legal status (The legal status is an assumption and is not a legal conclusion. Google has not performed a legal analysis and makes no representation as to the accuracy of the status listed.)
Granted
Application number
JP2008263186A
Other languages
English (en)
Other versions
JP5384902B2 (ja
Inventor
Nobuyuki Aida
信之 相田
Kinichi Yokoyama
金一 横山
Current Assignee (The listed assignees may be inaccurate. Google has not performed a legal analysis and makes no representation or warranty as to the accuracy of the list.)
Seiki Corp
Original Assignee
Seiki Corp
Priority date (The priority date is an assumption and is not a legal conclusion. Google has not performed a legal analysis and makes no representation as to the accuracy of the date listed.)
Filing date
Publication date
Application filed by Seiki Corp filed Critical Seiki Corp
Priority to JP2008263186A priority Critical patent/JP5384902B2/ja
Priority to KR1020090096165A priority patent/KR20100040268A/ko
Priority to CN200910221427A priority patent/CN101722626A/zh
Publication of JP2010089430A publication Critical patent/JP2010089430A/ja
Application granted granted Critical
Publication of JP5384902B2 publication Critical patent/JP5384902B2/ja
Active legal-status Critical Current
Anticipated expiration legal-status Critical

Links

Images

Classifications

    • BPERFORMING OPERATIONS; TRANSPORTING
    • B29WORKING OF PLASTICS; WORKING OF SUBSTANCES IN A PLASTIC STATE IN GENERAL
    • B29CSHAPING OR JOINING OF PLASTICS; SHAPING OF MATERIAL IN A PLASTIC STATE, NOT OTHERWISE PROVIDED FOR; AFTER-TREATMENT OF THE SHAPED PRODUCTS, e.g. REPAIRING
    • B29C45/00Injection moulding, i.e. forcing the required volume of moulding material through a nozzle into a closed mould; Apparatus therefor
    • B29C45/17Component parts, details or accessories; Auxiliary operations
    • B29C45/20Injection nozzles
    • B29C45/23Feed stopping equipment
    • BPERFORMING OPERATIONS; TRANSPORTING
    • B29WORKING OF PLASTICS; WORKING OF SUBSTANCES IN A PLASTIC STATE IN GENERAL
    • B29CSHAPING OR JOINING OF PLASTICS; SHAPING OF MATERIAL IN A PLASTIC STATE, NOT OTHERWISE PROVIDED FOR; AFTER-TREATMENT OF THE SHAPED PRODUCTS, e.g. REPAIRING
    • B29C45/00Injection moulding, i.e. forcing the required volume of moulding material through a nozzle into a closed mould; Apparatus therefor
    • B29C45/17Component parts, details or accessories; Auxiliary operations
    • B29C45/72Heating or cooling
    • B29C45/74Heating or cooling of the injection unit
    • BPERFORMING OPERATIONS; TRANSPORTING
    • B29WORKING OF PLASTICS; WORKING OF SUBSTANCES IN A PLASTIC STATE IN GENERAL
    • B29CSHAPING OR JOINING OF PLASTICS; SHAPING OF MATERIAL IN A PLASTIC STATE, NOT OTHERWISE PROVIDED FOR; AFTER-TREATMENT OF THE SHAPED PRODUCTS, e.g. REPAIRING
    • B29C45/00Injection moulding, i.e. forcing the required volume of moulding material through a nozzle into a closed mould; Apparatus therefor
    • B29C45/17Component parts, details or accessories; Auxiliary operations
    • B29C45/26Moulds
    • B29C45/27Sprue channels ; Runner channels or runner nozzles
    • B29C45/2737Heating or cooling means therefor
    • B29C2045/2753Heating means and cooling means, e.g. heating the runner nozzle and cooling the nozzle tip
    • BPERFORMING OPERATIONS; TRANSPORTING
    • B29WORKING OF PLASTICS; WORKING OF SUBSTANCES IN A PLASTIC STATE IN GENERAL
    • B29CSHAPING OR JOINING OF PLASTICS; SHAPING OF MATERIAL IN A PLASTIC STATE, NOT OTHERWISE PROVIDED FOR; AFTER-TREATMENT OF THE SHAPED PRODUCTS, e.g. REPAIRING
    • B29C45/00Injection moulding, i.e. forcing the required volume of moulding material through a nozzle into a closed mould; Apparatus therefor
    • B29C45/17Component parts, details or accessories; Auxiliary operations
    • B29C45/26Moulds
    • B29C45/27Sprue channels ; Runner channels or runner nozzles
    • B29C2045/2761Seals between nozzle and mould or gate

Landscapes

  • Engineering & Computer Science (AREA)
  • Manufacturing & Machinery (AREA)
  • Mechanical Engineering (AREA)
  • Moulds For Moulding Plastics Or The Like (AREA)

Abstract

【課題】ホットランナープローブの先端ノズル部分を金型に対して簡単にかつ精度よく組み込みを可能とする製品の提供。
【解決手段】ホットランナーの射出成形機に用いるランナー通路を備えたプローブであって、前記プローブの先端を円錐状に形成して最先端の尖鋭状のチップ部に1以上のノズル孔9を穿ち、金型のゲート8に臨ませ前記ノズル孔9の外周に外部加熱のチップヒータ5を捲回してノズル孔内で冷却固化する樹脂を前記外部加熱のチップヒータ5に通電して加熱溶融して射出を可能とすると共に、前記外部加熱のチップヒータ5への通電停止により樹脂冷却固化させて射出を停止してノズルが当接する開閉金型のゲート8の開閉を行うようにして成ることを特徴とするホットランナープローブにおける尖鋭ノズル装置。
【選択図】図1

Description

本発明は、ホットランナープローブにおけるチップヒータを備える尖鋭ノズル装置に関する。
一般に、ホットランナー射出成形にあっては、溶融樹脂の通路を備えるランナー通路の先端にゲートに通ずるノズルを備え、このノズルの周囲に加熱ヒータを捲回してあり、この加熱ヒータを射出成形操作を関連させてオン,オフ制御してノズル部分の溶融樹脂を加熱溶融又は冷却固化させてゲートを開閉して精度の高い成形加工が行えるように構成されている。
そして最近では、図8(a)に示す構成のホットランナープローブが知られている。
図面について説明すれば、1aはプローブ本体、2aはこのプローブ本体1aに縦通させたランナー部、3aはプローブ本体1aに捲回したボディヒータ、4aはプローブ本体1aの先端に円筒状に突出させたブッシュ状のノズル部、5aは前記ノズル部4aの外周に捲回した外部加熱のチップヒータ、6aはノズル部4aの外部加熱のチップヒータ5aと前記ボディヒータ3aを被冠させたボディカバーで、前記ノズル部4aを突出させた状態で円錐状αの先端を備える。
7aは接離面Xで開閉する一対の金型を示し、ノズル部4aはブッシュ状の円筒状部Yが金型7aのゲート8aの凹処Zに正確に係入する必要がある。
ところで、図8(a)に示す従来のホットランナープローブにあっては、チップヒータ5aで加熱されるノズル部4aは、ブッシュ状の円筒状部が金型7aのゲート8aの凹処Zに正確に係入しなければならず、ゲート8aの精度をミクロン代に仕上げる必要があり、しかもゲート径Gも限られた径になってしまい、加工面でのコスト高、長時間化などの不利益は避けられない。さらに多段構成の際のゲート間隔の短尺化が図れないという問題があった。
本発明は叙上の点に着目して成されたもので、従来のブッシュ状の円筒状部Yに代えてトップレス構造とし、外部加熱のヒータ方式により尖鋭状のチップ部とし、内部加熱制御と近似した構成として提供できると共に、ゲート間隔の小さい多段構成のホットランナープローブを得られるようにしたホットランナープローブにおける尖鋭ノズル装置を得ることを目的とする。
以下に、本発明の構成を説明する。
(1)ホットランナーの射出成形機に用いるランナー通路を備えたプローブであって、前記プローブの先端を円錐状に形成して最先端の尖鋭状のチップ部に1以上のノズル孔を穿ち、かつ、外部加熱のチップヒータを捲回させ、さらに前記先鋭状のチップ部を有するプローブの外周にプローブカバーを被冠させると共に、前記プローブカバーの前部には内側に溝を設けてチップヒータの熱エネルギーがプローブボディ側への熱影響を防止して金型のゲートに臨ませ、前記ノズル孔内で冷却固化する樹脂を前記外部加熱のチップヒータに通電して加熱溶融して射出を可能とすると共に、前記外部加熱のチップヒータへの通電停止により樹脂冷却固化させて射出を停止してノズルが当接する開閉金型のゲートの開閉を行うようにして成ることを特徴とするホットランナープローブにおける尖鋭ノズル装置。
(2)ノズル孔は、これに続くランナー通路の先端箇所に拡開する方向に相対向して傾斜する2箇所設けて成ることを特徴とする前記(1)記載のホットランナープローブにおける尖鋭ノズル装置。
(3)前記(1)または(2)記載のホットランナープローブにおける尖鋭ノズル装置であって、2以上のプローブを連設して多段ゲートを形成できることを特徴とするホットランナープローブにおける尖鋭ノズル装置。
(4)前記(3)記載の連設される2以上のプローブは、互いに連設される両側面を切截してボディヒータの捲回状態を楕円形状にし、全体を扁平構造として成ることを特徴とするホットランナープローブにおける尖鋭ノズル装置。
本発明によれば、外部加熱のチップヒータを捲装した尖鋭状のチップ部は、金型のゲートに臨ませて配設できるので、従来のブッシュ状の円筒状部Yを備えたプローブと異なり、これを排除した謂わば、トップレス式構成とすることができ、従来の内部加熱と近似した外部加熱として実現できる。しかも尖鋭状のチップ構成により、見切りを無くし、ゲート径も任意に設定可能となり、ミクロン代の加工公差の必要性がなく自由度,汎用性に適し、特に多段ノズル構成のプローブに適用してゲート間隔を極力短尺とした多段ゲートのホットランナープローブを提供できる効果を有する。
以下、本発明の実施例を図面と共に説明する。
図面について、符号にaを付した数字1a〜8aはすべて図8(a)に示す従来例を示しているが、aを除去した数字はすべて本発明の実施例の構成を示している。
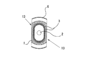
1はプローブ本体(プローブと略す)、2はランナー部、3はボディヒータ、4はプローブ本体1の先端に円錐状に形成される尖鋭状のチップ部、5は外部加熱のチップヒータ、6はチップヒータ5とボディヒータ3を被冠させたボディカバーを示し、前記尖鋭状のチップ部4を突出させた状態で円錐状αの先端を備える。
そして、ボディカバー6の前部には内周に円環状の溝Uが形成され、この溝Uによりチップヒータ5の熱エネルギーがボディ部への熱影響を防止して成形精度を向上できる。
7は、接離面Xで開閉する一対の金型を示し、尖鋭状のチップ部4の先端44が金型7のゲート8に臨まれる。
ところで、前記チップ部4にはランナー部2と通ずるノズル孔9が、ランナー通路の先端箇所において拡開する方向に相対向して2箇所設けてある。しかし、このノズル孔9は片方の1箇所のみでも実施できる。
なお、図面において、10はリード線を示し、ボディヒータ3、チップヒータ5への通電を可能としている。11はアース線、12は金型7との間でノズル孔9と通ずる尖鋭状チップ部4の先端44の周囲に環状に形成されるゲートランド部で、ゲート径Gを形成できる。
本実施例によれば、ランナー部2の先端に設けられる円錐状で尖鋭状のチップ部4が金型7のゲート8に直接臨まれ、しかも位置合わせも、従来のブッシュ式と異なり、トップレス構造で金型と整合させれば良いので、高精度の精密加工の必要はなく高能率に製造できる。
また、ノズル孔9は放射状に相対向する2方向に傾斜させて設けてあるので、同時に両方向または一方のみを使用して利用できる。
さらに、チップ部4が尖鋭状であるので、チップヒータ5が外部加熱方式であるにも拘らず、内部加熱方式に近似しており、ゲート径Gを従来例より十分大きく形成できる。
この実施例は、前記実施例1の構成を基本とし、これを2以上の複数並設し、複数のゲートを備えたホットランナープローブに係るものである。
図中、同一の符号は前記実施例1の構成と同一であるので説明は重複するので省く。
プローブ1,1……は、単一の金型7の固定側に必要数配設固定される。
各プローブ1,1……、ランナー部2、ボディヒータ3、尖鋭状のチップ部4、チップヒータ5、ボディカバー6、ノズル孔9は前記実施例と同一である。異なる構成は、個々のランナー部2の両側が切截されて切截部13を形成し、隣り合うゲート8の間隔が具体的には7mm以下の微少間隔を保持できるように構成したものである。
これにより、ランナー部3の外周に捲回されるボディヒータ3は楕円形状となり、ヒータ線を長く巻くことが可能となり、高容量,高密度ヒータが確保でき、高機能,高精度の樹脂成形が可能となる。
なお、その他、組込作業を含めて作用効果は前記実施例1と同一であるので省く。
本発明に係るホットランナープローブにおける尖鋭ノズル装置の一実施例を示すホットランナープローブの縦断側面図 図1の正面図 尖鋭状のチップ部の拡大断面図 本発明の他の実施例を示す側面図 同上の組合せ状態の正面図 単一のプローブの縦断面側面図 図6のVII−VII線の拡大断面図 (a),(b) 従来例(a)と本発明(b)との対比構成を金型を介して図示した縦断面側面図
符号の説明
1,1a プローブ本体(プローブ)
2,2a ランナー部
3,3a ボディヒータ(ダイヤゴナルハッチングで示す。)
4,4a ノズル部
5,5a チップヒータ(ダイヤゴナルハッチングで示す。)
6,6a ボディカバー
7,7a 金型
8,8a ゲート
9 ノズル孔
10 リード線
11 アース線
12 ゲートランド部
13 切截部
44 先端
α 円錐状
G ゲート径
X 接離面
Y 円筒状部
Z 凹処
U 溝

Claims (4)

  1. ホットランナーの射出成形機に用いるランナー通路を備えたプローブであって、前記プローブの先端を円錐状に形成して最先端の尖鋭状のチップ部に1以上のノズル孔を穿ち、かつ、外部加熱のチップヒータを捲回させ、さらに前記先鋭状のチップ部を有するプローブの外周にプローブカバーを被冠させると共に、前記プローブカバーの前部には内側に溝を設けてチップヒータの熱エネルギーがプローブボディ側への熱影響を防止して金型のゲートに臨ませ、前記ノズル孔内で冷却固化する樹脂を前記外部加熱のチップヒータに通電して加熱溶融して射出を可能とすると共に、前記外部加熱のチップヒータへの通電停止により樹脂冷却固化させて射出を停止してノズルが当接する開閉金型のゲートの開閉を行うようにして成ることを特徴とするホットランナープローブにおける尖鋭ノズル装置。
  2. ノズル孔は、これに続くランナー通路の先端箇所に拡開する方向に相対向して傾斜する2箇所設けて成ることを特徴とする請求項1記載のホットランナープローブにおける尖鋭ノズル装置。
  3. 請求項1または2記載のホットランナープローブにおける尖鋭ノズル装置であって、2以上のプローブを連設して多段ゲートを形成できることを特徴とするホットランナープローブにおける尖鋭ノズル装置。
  4. 請求項3記載の連設される2以上のプローブは、互いに連設される両側面を切截してボディヒータの捲回状態を楕円形状にし、全体を扁平構造として成ることを特徴とするホットランナープローブにおける尖鋭ノズル装置。
JP2008263186A 2008-10-09 2008-10-09 ホットランナープローブにおける尖鋭ノズル装置 Active JP5384902B2 (ja)

Priority Applications (3)

Application Number Priority Date Filing Date Title
JP2008263186A JP5384902B2 (ja) 2008-10-09 2008-10-09 ホットランナープローブにおける尖鋭ノズル装置
KR1020090096165A KR20100040268A (ko) 2008-10-09 2009-10-09 핫런너 프로브의 첨예 노즐장치
CN200910221427A CN101722626A (zh) 2008-10-09 2009-10-09 热流道探头的尖锐喷嘴装置

Applications Claiming Priority (1)

Application Number Priority Date Filing Date Title
JP2008263186A JP5384902B2 (ja) 2008-10-09 2008-10-09 ホットランナープローブにおける尖鋭ノズル装置

Publications (2)

Publication Number Publication Date
JP2010089430A true JP2010089430A (ja) 2010-04-22
JP5384902B2 JP5384902B2 (ja) 2014-01-08

Family

ID=42216422

Family Applications (1)

Application Number Title Priority Date Filing Date
JP2008263186A Active JP5384902B2 (ja) 2008-10-09 2008-10-09 ホットランナープローブにおける尖鋭ノズル装置

Country Status (3)

Country Link
JP (1) JP5384902B2 (ja)
KR (1) KR20100040268A (ja)
CN (1) CN101722626A (ja)

Cited By (1)

* Cited by examiner, † Cited by third party
Publication number Priority date Publication date Assignee Title
CN104369314A (zh) * 2014-11-10 2015-02-25 苏州洛世奇热流道科技有限公司 耐高温型点浇口热流道喷嘴

Families Citing this family (4)

* Cited by examiner, † Cited by third party
Publication number Priority date Publication date Assignee Title
CN102892569A (zh) * 2010-07-29 2013-01-23 赫斯基注塑系统有限公司 包括具有包封在氮化铝中的电阻元件的加热器的模具总成
KR101218920B1 (ko) * 2011-08-05 2013-01-04 김혁중 핫런너 밸브장치
KR101718912B1 (ko) * 2015-05-07 2017-03-22 주식회사 유도 사출성형용 노즐
KR101872087B1 (ko) * 2016-06-16 2018-07-31 허남욱 능동형 온도제어가 가능한 핫러너 사출금형의 노즐장치

Citations (4)

* Cited by examiner, † Cited by third party
Publication number Priority date Publication date Assignee Title
JPH0727821U (ja) * 1993-10-26 1995-05-23 世紀株式会社 射出成形用加熱プローブのチップ
JPH07232353A (ja) * 1994-02-24 1995-09-05 Kao Corp ランナ・チップ装置
JP2004042441A (ja) * 2002-07-11 2004-02-12 Fuji Photo Film Co Ltd 射出成形金型用プローブ
JP2006521217A (ja) * 2002-11-12 2006-09-21 ハスキー インジェクション モールディング システムズ リミテッド 射出成形ノズル

Family Cites Families (5)

* Cited by examiner, † Cited by third party
Publication number Priority date Publication date Assignee Title
JPS6059127B2 (ja) * 1983-04-30 1985-12-24 株式会社名機製作所 多層成形体の射出成形機
CN1006367B (zh) * 1985-12-07 1990-01-10 乔布斯特·乌尔里克·盖勒特 有硬钎焊接的加热元件的注射成型加热喷嘴及其制造方法
JPH06246785A (ja) * 1993-02-26 1994-09-06 Japan Steel Works Ltd:The 射出装置のノズル
US6669462B1 (en) * 2000-05-19 2003-12-30 Husk, Injection Molding Systems Ltd. Hot runner sealing apparatus
CN201067963Y (zh) * 2007-06-19 2008-06-04 上海克朗宁技术设备有限公司 新型结构热流道喷嘴

Patent Citations (4)

* Cited by examiner, † Cited by third party
Publication number Priority date Publication date Assignee Title
JPH0727821U (ja) * 1993-10-26 1995-05-23 世紀株式会社 射出成形用加熱プローブのチップ
JPH07232353A (ja) * 1994-02-24 1995-09-05 Kao Corp ランナ・チップ装置
JP2004042441A (ja) * 2002-07-11 2004-02-12 Fuji Photo Film Co Ltd 射出成形金型用プローブ
JP2006521217A (ja) * 2002-11-12 2006-09-21 ハスキー インジェクション モールディング システムズ リミテッド 射出成形ノズル

Cited By (1)

* Cited by examiner, † Cited by third party
Publication number Priority date Publication date Assignee Title
CN104369314A (zh) * 2014-11-10 2015-02-25 苏州洛世奇热流道科技有限公司 耐高温型点浇口热流道喷嘴

Also Published As

Publication number Publication date
KR20100040268A (ko) 2010-04-19
CN101722626A (zh) 2010-06-09
JP5384902B2 (ja) 2014-01-08

Similar Documents

Publication Publication Date Title
JP5384902B2 (ja) ホットランナープローブにおける尖鋭ノズル装置
JP4233616B2 (ja) 射出成形用トーピード
JP5139926B2 (ja) バルブゲート構造
JPS63236615A (ja) 間欠冷却方式によるランナ−レス合成樹脂射出成形方法およびその装置
JPS6378720A (ja) 成形金型
JPH04176619A (ja) 加熱装置を有するゲート装置
JP2006150638A (ja) ディスク成形方法及びその金型
JPH08309796A (ja) 側面ゲート式射出成形装置
JPH0753393B2 (ja) 円筒状又は円柱状成形品の射出成形用金型及び成形品
JP2007283503A (ja) スプルブッシュ
JP2004155070A (ja) ディスク基板の成形用金型および成形方法
JP2007283730A (ja) モールド射出成形金型
JP2008238546A (ja) 金型および光学用平板部材の製造方法
KR20110133181A (ko) 사출 금형의 스프루 부시
JPH0910361A (ja) ゴルフボール射出成形方法及びゴルフボール射出成形用金型
JP2010269472A (ja) 樹脂部品の成形方法及び成形金型
JP5159067B2 (ja) 射出成形金型
JP5307976B2 (ja) 射出成形金型
JPH0239786Y2 (ja)
JPS6132736Y2 (ja)
JP2009039995A (ja) 射出成形金型
JP6050801B2 (ja) バルブゲート装置及び射出成形用金型
JP5246939B2 (ja) 低圧鋳造用金型
CN109641379A (zh) 冷却块及无流道注射成形装置
JP2006192754A (ja) 樹脂レンズ用成形金型

Legal Events

Date Code Title Description
A621 Written request for application examination

Free format text: JAPANESE INTERMEDIATE CODE: A621

Effective date: 20111007

A977 Report on retrieval

Free format text: JAPANESE INTERMEDIATE CODE: A971007

Effective date: 20130305

TRDD Decision of grant or rejection written
A01 Written decision to grant a patent or to grant a registration (utility model)

Free format text: JAPANESE INTERMEDIATE CODE: A01

Effective date: 20130903

A61 First payment of annual fees (during grant procedure)

Free format text: JAPANESE INTERMEDIATE CODE: A61

Effective date: 20131003

R150 Certificate of patent or registration of utility model

Ref document number: 5384902

Country of ref document: JP

Free format text: JAPANESE INTERMEDIATE CODE: R150

Free format text: JAPANESE INTERMEDIATE CODE: R150

R250 Receipt of annual fees

Free format text: JAPANESE INTERMEDIATE CODE: R250

R250 Receipt of annual fees

Free format text: JAPANESE INTERMEDIATE CODE: R250

R250 Receipt of annual fees

Free format text: JAPANESE INTERMEDIATE CODE: R250

R250 Receipt of annual fees

Free format text: JAPANESE INTERMEDIATE CODE: R250

R250 Receipt of annual fees

Free format text: JAPANESE INTERMEDIATE CODE: R250

R250 Receipt of annual fees

Free format text: JAPANESE INTERMEDIATE CODE: R250

R250 Receipt of annual fees

Free format text: JAPANESE INTERMEDIATE CODE: R250

R250 Receipt of annual fees

Free format text: JAPANESE INTERMEDIATE CODE: R250

R250 Receipt of annual fees

Free format text: JAPANESE INTERMEDIATE CODE: R250

R250 Receipt of annual fees

Free format text: JAPANESE INTERMEDIATE CODE: R250