JP2010089350A - 二色成形品の成形方法並びに成形装置 - Google Patents

二色成形品の成形方法並びに成形装置 Download PDF

Info

Publication number
JP2010089350A
JP2010089350A JP2008260692A JP2008260692A JP2010089350A JP 2010089350 A JP2010089350 A JP 2010089350A JP 2008260692 A JP2008260692 A JP 2008260692A JP 2008260692 A JP2008260692 A JP 2008260692A JP 2010089350 A JP2010089350 A JP 2010089350A
Authority
JP
Japan
Prior art keywords
partition plate
molding
cavity
mold
expansion
Prior art date
Legal status (The legal status is an assumption and is not a legal conclusion. Google has not performed a legal analysis and makes no representation as to the accuracy of the status listed.)
Granted
Application number
JP2008260692A
Other languages
English (en)
Other versions
JP5252630B2 (ja
Inventor
Nobuaki Seki
伸明 関
Current Assignee (The listed assignees may be inaccurate. Google has not performed a legal analysis and makes no representation or warranty as to the accuracy of the list.)
Kasai Kogyo Co Ltd
Original Assignee
Kasai Kogyo Co Ltd
Priority date (The priority date is an assumption and is not a legal conclusion. Google has not performed a legal analysis and makes no representation as to the accuracy of the date listed.)
Filing date
Publication date
Application filed by Kasai Kogyo Co Ltd filed Critical Kasai Kogyo Co Ltd
Priority to JP2008260692A priority Critical patent/JP5252630B2/ja
Publication of JP2010089350A publication Critical patent/JP2010089350A/ja
Application granted granted Critical
Publication of JP5252630B2 publication Critical patent/JP5252630B2/ja
Expired - Fee Related legal-status Critical Current
Anticipated expiration legal-status Critical

Links

Images

Landscapes

  • Moulds For Moulding Plastics Or The Like (AREA)
  • Injection Moulding Of Plastics Or The Like (AREA)

Abstract

【課題】キャビティ内に仕切りプレートを昇降させてキャビティを区画、あるいは連通させ、各分割キャビティ内に異なる色彩の溶融樹脂を射出充填して成形する二色成形品の成形方法並びにその成形装置であって、金型構造の簡素化し、かつ一般部の厚みと縦壁部の厚みを均一に制御する。
【解決手段】成形上下型50,60間のキャビティCを区画する仕切りプレート70は、成形下型60に収容される膨張・収縮チューブ80に支持され、膨張・収縮チューブ80の膨張時、仕切りプレート70を成形上型50の型面に当接するまで上昇させるとともに、膨張・収縮チューブ80の収縮時、仕切りプレート70を下降させてキャビティ同士を連通させる。更に、見切りライン11の左右縁部において、仕切りプレート70、膨張・収縮チューブ80を一般部10aと縦壁部10bに分割し、動作方向を相違させることで、一般部10aと縦壁部10bとの厚みを均一に制御する。
【選択図】図5

Description

本発明は、ドアトリム、リヤパーセルシェルフ、フロアトリム、ラゲージトリム、トランクトリム、リヤサイドトリム等の自動車用内装部品に好適な二色成形品の成形方法並びに成形装置に係り、特に、仕切りプレートを駆動させるシリンダを廃止することで金型構造を簡素化でき、かつ金型の設計自由度を高めることができるとともに、製品の縦壁部においても板厚を良好に確保できる等、成形精度を高めた二色成形品の成形方法並びに成形装置に関する。
図17は、自動車用内装部品の代表的な部品である自動車用ドアトリムを示す正面図であり、この自動車用ドアトリム1は、その外観意匠性を高めるために、ドアトリムアッパー2とドアトリムロア3との間で色彩を相違させた二色成形品から構成されている。
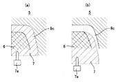
次いで、このドアトリム1を成形する成形装置4の構成について図18,図19を基に説明する。まず、成形装置4は、可動側金型5と固定側金型6が相互に型締め、型開き可能に設けられており、ドアトリムアッパー2とドアトリムロア3とを区画する見切り部分における固定側金型6に仕切りプレート7が設けられている。この仕切りプレート7は、シリンダ7aにより所定ストローク上下動作を行ない、ドアトリムアッパー2の成形時には、図19(a)に示すように、シリンダ7aの駆動により、キャビティ8内に臨み、ドアトリムアッパー成形用キャビティ8aとドアトリムロア成形用キャビティ8bとを区画することで、ドアトリムアッパー2側の溶融樹脂M1がドアトリムロア成形用キャビティ8b内に浸入することを阻止し、ドアトリムロア3の成形時には、図19(b)に示すように、仕切りプレート7が下降して、ドアトリムアッパー2とドアトリムロア3との一体成形が行なわれる。
すなわち、ドアトリムアッパー2の成形時において、図19(a)に示すように、可動側金型5と固定側金型6とで画成されるキャビティ8には、仕切りプレート7の上昇動作により、仕切りプレート7の先端面7bが可動側金型5の型面に突き当たり、ドアトリムアッパー成形用キャビティ8aとドアトリムロア成形用キャビティ8bとに区画される。その後、ドアトリムアッパー成形用キャビティ8aに溶融樹脂M1が射出充填され、ドアトリムアッパー2がまず所要形状に成形される。
そして、ドアトリムアッパー2の成形が完了すれば、図19(b)に示すように、シリンダ7aの収縮動作により、仕切りプレート7が下降して、キャビティ8から後退し、ドアトリムロア成形用キャビティ8b内に溶融樹脂M2が射出充填され、ドアトリムロア3がドアトリムアッパー2と一体に成形されて図16に示すドアトリム1の成形が完了する。二色成形品を仕切りプレートを使用して成形する従来例としては、特許文献1に詳細に示されている。
特開平8−267479号公報
このように、従来では、同一の成形装置4を使用して、二色成形品(ドアトリム)1を成形するには、キャビティ8を分割する仕切りプレート7と、仕切りプレート7を駆動するシリンダ7aが使用されており、シリンダ7aを収容する金型スペースが多く必要となり、金型の自由度が制限されるとともに、シリンダ7aの制御機構が必要となり、コスト高を招くという不具合があった。
更に、仕切りプレート7の上昇動作により、キャビティ8がドアトリムアッパー成形用キャビティ8aとドアトリムロア成形用キャビティ8bに区画される際、可動側金型5の型面に仕切りプレート7の先端面7bが突き当たり、特に、可動側金型5の型面に絞模様等が刻設されていた場合には、絞模様が消失し、外観意匠性を低下させる恐れがある。しかも、可動側金型5及び仕切りプレート7共硬質材料であり、シール性能を維持させるためには、突き当て精度をシビアに管理する必要がある。このように、従来では、絞模様の消失により外観意匠性を低下させるという欠点を内在するとともに、シール性能を維持するために、加工精度やシリンダの駆動制御の管理が難しく、これらの管理に熟練を要する等の問題点があった。
また、ドアトリム1の左右側縁部分は、製品に質感をもたせるために縦壁部1aが設定されているが、仕切りプレート7の上昇時、並びに下降時の状態をそれぞれ図20(a),(b)に示す。そして、縦壁部1aに対応する縦壁部用キャビティ8cにおいては、仕切りプレート7の上昇時には図20(a)に示すように、縦壁部用キャビティ8c内に仕切りプレート7が侵入している。また、仕切りプレート7の下降時には図20(b)に示すように、仕切りプレート7の上部が縦壁部用キャビティ8c内に残るため、縦壁部1aの板厚が確保しづらく、一般部の厚みを確保した場合には縦壁部1aが薄くなり、また、縦壁部1aの厚みを確保した場合には一般部の厚みが過度に厚くなる傾向にあり、一般部と縦壁部1aの双方を均一な厚みに設定することが難しいという欠点が指摘されていた。
この発明は、このような事情に鑑みてなされたもので、キャビティを分割する仕切りプレートを備えた成形装置を使用して二色成形品を成形する二色成形品の成形方法並びにそれに使用する成形装置であって、制御機構が複雑で、かつ金型スペースを多く必要とする仕切りプレートのシリンダを廃止して、金型の自由度を向上させるとともに、繰り返し成形を行なっても絞模様等の消失がなく、簡単かつ廉価に外観意匠性の優れた二色成形品を提供することができ、しかも、一般部及び縦壁部の厚みを均一に確保する等、成形精度を高めた二色成形品の成形方法並びに成形装置を提供することを目的としている。
そこで、本発明者は、仕切りプレートを昇降動作させる駆動機構として、従来の油圧シリンダ等の駆動機構に替えて、膨張・収縮チューブを使用し、チューブ内に流体を充填、あるいは排出することで、チューブを膨張及び収縮させて仕切りプレートを昇降動作させることにより構造の簡素化を達成できることに着目し本発明を完成するに至った。
すなわち、本発明は、成形上下型のキャビティを仕切りプレートの上昇操作により、二つのキャビティに区画し、第1のキャビティ内に溶融樹脂を射出充填して、一方側の樹脂成形品を成形した後、前記仕切りプレートを下降操作し、キャビティ間を連通させ、第2のキャビティ内に溶融樹脂を射出充填して、他方側の樹脂成形品を一方側の樹脂成形品と一体化してなる二色成形品の成形方法において、前記仕切りプレートは、成形下型の収容溝部内に収容される膨張・収縮チューブの上面に支持され、流体供給系から膨張・収縮チューブ内に流体を充填し、膨張・収縮チューブを膨張させることで仕切りプレートが成形上型の型面に当接するまで仕切りプレートを上昇操作することにより、二つのキャビティを区画して、第1のキャビティ内に溶融樹脂を射出充填して、一方側の樹脂成形品を成形する工程と、前記膨張状態の膨張・収縮チューブから流体を流体排出系を通して外部に排出して、膨張・収縮チューブを収縮させることで仕切りプレートを下降操作することにより、二つのキャビティを連通させた後、第2のキャビティ内に溶融樹脂を射出充填して、一方側の樹脂成形品と一体に他方側の樹脂成形品を成形する工程とからなることを特徴とする。
ここで、二色成形品とは、単一の成形金型に少なくとも二つ以上の異なるキャビティを設定し、各キャビティに異種材料を射出充填することで、少なくとも外観の異なる複数の樹脂成形品を接合一体化して成形される成形品のことをいう。尚、一方側の樹脂成形品の表面には、表皮を積層一体化することもできる。この二色成形品の用途として、例えば、ドアトリム、リヤパーセルシェルフ、フロアトリム、ラゲージトリム、トランクトリム、リヤサイドトリム等の自動車用内装部品全般に適用できる。
上記樹脂成形品の樹脂材料としては、1種類の熱可塑性樹脂でも2種類以上の熱可塑性樹脂からなっても良い。好ましくは、ポリエチレン系樹脂、ポリプロピレン系樹脂、ポリスチレン系樹脂、ポリエチレンテレフタレート系樹脂、ポリビニルアルコール系樹脂、塩化ビニル系樹脂、ポリアミド系樹脂、ポリアセタール系樹脂、ポリカーボネート系樹脂、アイオノマー系樹脂、アクリロニトリル/ブタジエン/スチレン(ABS)樹脂等が使用でき、これらの熱可塑性樹脂中に各種充填剤を混入しても良い。使用できる充填剤としては、ガラス繊維、カーボン繊維等の無機繊維、タルク、クレイ、シリカ、炭酸カルシウム等の無機粒子がある。また、酸化防止剤、紫外線吸収剤、着色剤、難燃剤、低収縮剤等の各種の添加剤が配合されても良い。
次いで、本発明方法に使用する成形装置は、複数の樹脂成形品を接合一体化してなる二色成形品を成形する成形装置であって、この成形装置は、相互に型締め、型開き可能な成形上下型と、成形下型内に配置され、一方側の樹脂成形品を成形する際、成形上型の型面に当接するまで上昇して二つのキャビティを区画するとともに、他方側の樹脂成形品を成形する際は下降して二つのキャビティ同士を連通させる仕切りプレートと、この仕切りプレートを所定ストローク昇降可能に支持する膨張・収縮チューブとから構成されていることを特徴とする。
ここで、成形下型に配置される仕切りプレートは、膨張・収縮チューブにより、上下動可能に支持され、仕切りプレートの材質は、フッ素ゴムやシリコーンゴム等、耐熱性を有する軟質ゴム系材料が好ましい。このことにより、キャビティを分割する際、可動側金型である成形上型の型面と突き当たる際の衝撃を軽減することができ、金型型面に刻設されている絞模様等にダメージを与えることが少なく、かつシール性能も良好に維持できる。
また、仕切りプレートを駆動させる膨張・収縮チューブについても、フッ素ゴム、シリコーンゴム等の軟質ゴム系材料が適しており、膨張・収縮チューブの一方端は流体供給系に接続され、他方端は流体排出系に接続され、内部にエア、ガス等の気体、あるいはオイル等の液体が供給、あるいは排出されて膨張・収縮チューブが膨張状態、あるいは収縮状態を適宜とり得るように制御される。
従って、本発明によれば、成形上下型を型締めした後、膨張・収縮チューブ内に流体供給系から流体を充填して、膨張・収縮チューブを膨張させれば、その上面に載置支持された仕切りプレートは成形上型の型面に当接するまで上昇する。そして、この状態でキャビティは第1のキャビティと第2のキャビティとが仕切りプレートにより区画され、第1のキャビティ内に溶融樹脂を射出充填すれば、一方側の樹脂成形品を精度良く成形することができる。
次いで、一方側の樹脂成形品を成形した後、膨張状態にある膨張・収縮チューブ内の流体を膨張・収縮チューブの他方端に設けた流体排出系から外部に排出すれば、膨張・収縮チューブが収縮状態となり、それに伴ない仕切りプレートが下降することで一方側の樹脂成形品の端末と第2のキャビティとが連通する。そして、第2のキャビティ内に溶融樹脂を射出充填することで一方側の樹脂成形品と一体化するように他方側の樹脂成形品が成形される。
このように、膨張・収縮チューブ内に流体を供給、あるいは排出してチューブを膨張・収縮状態に制御することで仕切りプレートを昇降動作させるというものであるから、従来の油圧シリンダ等の駆動機構に比べ構造を簡素化することができるとともに、スペース的にも膨張・収縮チューブを収容するスペースだけを確保すれば良いため、金型の設計自由度、加工自由度を高めることができる。
更に、仕切りプレートの素材として、軟質材料を使用した場合、可動側金型の型面に突き当たっても、可動側金型の型面に刻設された絞模様等へのダメージが少なく、長期に亘り外観意匠性を良好に維持することができるとともに、金型の耐久性能も高めることができ、また、軟質材料であるため、シール性能も向上し、仕切りプレートのストローク制御等も簡素化することができる。
次いで、本発明の好ましい実施の形態については、前記成形下型に配置される仕切りプレートは、一般部用キャビティと縦壁部用キャビティとからなるキャビティ形状に対応して、プレート本体部に対して折曲基点を介して折曲フランジ部が拡開・収束可能となるように構成されており、プレート本体部と折曲フランジ部に対応して専用の分割チューブが設けられ、各分割チューブのプレート本体部及び折曲フランジ部に対する押圧方向を相違させることにより、仕切りプレートがキャビティ内に侵入する際は、一方側の分割チューブの膨張作用により、一般部用キャビティ内に仕切りプレートのプレート本体部を侵入させるとともに、他方側の分割チューブの膨張作用により、仕切りプレートの折曲フランジ部をプレート本体部に対して拡開動作させ、縦壁部用キャビティ内に仕切りプレートの折曲フランジ部を侵入させることを特徴とする。
上記実施の形態に使用する成形装置は、前記仕切りプレートは、キャビティの一般部用キャビティ、縦壁部用キャビティに対応して、プレート本体部と拡開・収束可能な折曲フランジ部とから構成され、上記プレート本体部、並びに折曲フランジ部は、それぞれ対応する専用の分割チューブに支持され、各分割チューブが膨張・収縮動作することにより、仕切りプレートはキャビティ内に進退可能に構成されるとともに、仕切りプレートを動作させる分割チューブの押圧方向を相違させることで仕切りプレートにおける折曲フランジ部をプレート本体部に対して拡開・収束動作させて、縦壁部用キャビティ内に侵入、あるいは回避するようにしたことを特徴とする。
ここで、製品の一般部と縦壁部とを形成できるように、成形上下型のキャビティ形状についても、一般部用キャビティと連通するように縦壁部用キャビティが設定されている。そして、膨張・収縮チューブに駆動される仕切りプレートは、プレート本体部と、このプレート本体部に対して折曲基点を基に拡開・収束可能な折曲フランジ部とから構成されている。かつ、プレート本体部と折曲フランジ部について、それぞれ個別の分割チューブが採用され、特に、折曲フランジ部について、拡開・収束動作させるために、個々の分割チューブの動作方向は相違するように制御される。
従って、この実施の形態によれば、一方側の分割チューブの膨張作用で仕切りプレートのプレート本体部を一般部用キャビティ内に侵入させるとともに、他方側の分割チューブの膨張作用で折曲フランジ部を拡開動作させて、仕切りプレートを一般部用キャビティ及び縦壁部用キャビティ内に侵入させることができる。また、キャビティからの仕切りプレートの後退動作についても、分割チューブの収縮動作により、仕切りプレートの折曲フランジ部を収束させるとともに、仕切りプレートのプレート本体部を下降させれば良いため、小さなストローク量で仕切りプレートをキャビティ内から確実に後退させることができ、簡単な操作で製品の一般部と縦壁部との厚みを均一に設定できる。
以上説明した通り、本発明に係る二色成形品の成形方法並びに成形装置によれば、キャビティを区画連通させる仕切りプレートの駆動機構として、膨張・収縮チューブを使用するというものであるから、従来の油圧シリンダ等の駆動機構に比べ制御が簡単であるとともに、収容スペースも少なくて済むため、金型の設計自由度、加工自由度を向上させることができるという効果を有する。また、仕切りプレート自体の材質に軟質材料を使用した場合には、金型に加わるダメージが少なく、絞模様等の消失がなく、外観意匠性を良好に維持できるとともに、シール性能を高めることができ、シール精度の管理も良好に行なえるという効果を有する。
更に、本発明に係る二色成形品の成形方法並びに成形装置によれば、製品の一般部並びに縦壁部に対応するように、仕切りプレートについても、プレート本体部に対して折曲フランジ部が拡開・収束可能となるように構成されているとともに、プレート本体部と折曲フランジ部にそれぞれ駆動方向を相違させた分割チューブを設定したため、仕切りプレートをキャビティ内に侵入させる際には、一方側の分割チューブを膨張させることで、一般部用キャビティ内に仕切りプレートのプレート本体部を侵入させるとともに、他方側の分割チューブを膨張させることで、折曲フランジ部をプレート本体部に対して拡開動作させ、縦壁部用キャビティ内に仕切りプレートの折曲フランジ部を効率良く侵入させることができる。従って、仕切りプレートをキャビティ内から後退させるには、双方の分割チューブを収縮させることで、仕切りプレートの折曲フランジ部をプレート本体部に対して収束させるとともに、プレート本体部を下降させ、少ない駆動量でキャビティ内から仕切りプレートを効率良く後退操作できるため、少ない労力で製品の一般部並びに縦壁部の厚みを均一に設定でき、成形精度を高めることができるという効果を有する。
以下、本発明に係る二色成形品の成形方法並びに成形装置の具体的な実施例について、添付図面を参照しながら詳細に説明する。尚、念のため付言すれば、本発明の要旨は特許請求の範囲に記載した通りであり、以下に説明する実施例の内容は、本発明の一例を単に示すものに過ぎない。
図1乃至図16は本発明の一実施例を示すもので、図1は本発明方法により成形してなるドアトリムを示す正面図、図2は同ドアトリムの構成を示す断面図、図3は本発明に係る成形装置の概略構成を示す説明図、図4は同成形装置における仕切りプレートの構成を示す説明図、図5乃至図8は同成形装置における仕切りプレート並びに膨張・収縮チューブの構成を示す各説明図である。更に、図9乃至図11は本発明方法における一方側の樹脂成形品の成形工程を示す各説明図、図12乃至図14は本発明方法における他方側の樹脂成形品の成形工程を示す各説明図、図15,図16は仕切りプレートの変形例を示す各説明図である。
図1,図2において、自動車用ドアトリム10は、ドアトリムアッパー20とドアトリムロア30との上下二分割体から構成されており、ドアトリムアッパー20とドアトリムロア30との間には、見切りライン11が設定されている。更に、外観上のアクセント効果を強調できるように、ドアトリムアッパー20とドアトリムロア30とは色彩を相違させた樹脂成形品で構成し、それぞれ製品面は後述する成形金型の金型面から絞模様が転写されている。尚、ドアトリム10には、各種付属部品、例えば、ドアトリムアッパー20にはインサイドハンドルユニット21が取り付けられており、見切りライン11の上方に乗員が肘を掛けて休めるアームレスト22が形成されている。
一方、ドアトリムロア30には、ドアポケット開口31が開設されており、このドアポケット開口31のフロント側にスピーカグリル32がドアトリムロア30と一体、あるいは別体に設けられている。尚、図2中符号33はポケットバックカバーを示し、符号34はドアパネルを示す。また、ドアトリム10の左右側側縁は、ドアトリム10に質感を与えるために一般部10aに対して縦壁フランジ状の縦壁部10bが設定されている。そして、本発明においては、縦壁部10bはドアトリム10の上下方向に延びており、見切りライン11の端末部分においても一般部10aと縦壁部10bの双方の板厚を均一に設定できるように工夫されている。
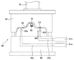
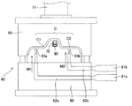
次いで、図3乃至図6に基づいて、本発明に係る二色成形品の成形方法に使用する成形装置40の構成について説明する。この成形装置40は、射出成形工法を採用しており、可動側である成形上型50と、固定側である成形下型60とが相互に型締め、型開き可能に設けられており、成形下型60には、ドアトリムアッパー20及びドアトリムロア30の素材を供給するための射出機61a,61bが連設されているとともに、ドアトリムアッパー20とドアトリムロア30との各キャビティC1,C2を分割する仕切りプレート70、及び仕切りプレート70を駆動制御する膨張・収縮チューブ80が収容されている。尚、第1のキャビティC1と第2のキャビティC2とを総称して、キャビティCとして示す。
更に詳しくは、上記成形上型50は、ドアトリム10の製品形状に合致したキャビティ面を備えており、昇降シリンダ51の昇降動作により、成形上型50は所定ストローク上下動作を行ない固定側の成形下型60に対して型締め、型開きが行なわれる。
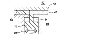
一方、成形下型60は、上述したように、2基の射出機61a,61bと連設しており、2基の射出機61a,61bから供給される溶融樹脂M1,M2の樹脂通路として成形下型60にはマニホールド62a,62bとゲート63a,63bがそれぞれ設けられている。すなわち、ドアトリムアッパー20を成形するために射出機61aからマニホールド62a、ゲート63aを通じて第1のキャビティC1内に溶融樹脂M1が射出充填されてドアトリムアッパー20が所要形状に成形される。そして、射出機61bからマニホールド62b、ゲート63bを通じて第2のキャビティC2内に溶融樹脂M2が射出充填されてドアトリムロア30が所要形状に成形される。
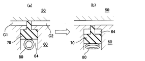
そして、本発明に係る成形装置40においては、第1のキャビティC1と、第2のキャビティC2とを区画できるように、成形下型60側に仕切りプレート70が設けられており、この仕切りプレート70は、膨張・収縮チューブ80の上面に載置支持されている。上記仕切りプレート70は、フッ素ゴム、シリコーンゴム等の軟質ゴム系材料を射出成形することにより構成されている。また、図4(a)は、第1のキャビティC1と第2のキャビティC2とを仕切りプレート70により区画した状態を示しており、この区画状態では、成形上型50の型面に仕切りプレート70が突き当たるが、仕切りプレート70の材質として軟質材料が使用されているため、例えば、成形上型50の型面に絞模様等が形成されている場合は、絞模様に対するダメージが少なく、長期使用によっても外観意匠性を損なうことはない。更に、仕切りプレート70の当接面が弾性変形することで溶融樹脂M1が漏れ出すことがなく、シール性能を良好に維持することができる。尚、仕切りプレート70の材質は、軟質ゴム系材料等の軟質材料が好ましいが、特に軟質材料には限定されない。
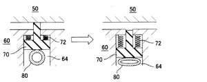
次いで、上記仕切りプレート70を支持する膨張・収縮チューブ80は、フッ素ゴムやシリコーンゴム等の軟質ゴム系材料から構成されており、チューブ径10〜30mm、チューブ厚み1〜8mmに設定されている。更に、図5に示すように、膨張・収縮チューブ80の一方端は流体供給系81に接続され、他方端は流体排出系82に接続されている。そして、内部にエア、ガス等の気体、あるいはオイル等の液体から選択される流体が内部に供給されるか、あるいは流体が内部から外部に排出されて、膨張・収縮チューブ80が膨張状態、あるいは収縮状態を適宜とり得るように制御される。更に、図4(a)に示すように、膨張・収縮チューブ80が膨張状態にある時、仕切りプレート70が上方に持ち上げられ、仕切りプレート70は成形上型50の型面にシールするまで上昇駆動される。この時、上述したように、仕切りプレート70は軟質材料から構成されているため、成形上型50の型面にダメージを与えることが少なく、金型の耐久性を高めることができる。次いで、図4(b)に示すように、膨張・収縮チューブ80が収縮状態になれば、仕切りプレート70が自重により下方向に移動し、成形下型60の収容溝部64内に没入するため、第1のキャビティC1と第2のキャビティC2とが連通状態に規制される。
このように、仕切りプレート70として軟質材料を使用することで、成形上型50に加わるダメージを軽減することができるとともに、シール性能についても良好に維持できる。更に、従来の油圧シリンダ等の駆動機構に替えて、膨張・収縮チューブ80を使用することで、従来の油圧シリンダ等の駆動機構に比べ構造が簡単であり、成形金型に設置スペースを多く必要とせず、金型の設計自由度、加工自由度を高めることができる。
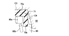
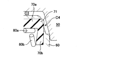
そして、本実施例においては、更に改良を加え、図5に示すように、仕切りプレート70は、ドアトリム10における一般部10aと縦壁部10bに対応するように、仕切りプレート70についても、プレート本体部70aに対して折曲フランジ部70bが折曲基点71を介して拡開・収束可能となるように構成されている。すなわち、折曲フランジ部70bについては、折曲基点71を基に図5中矢印で示す方向に拡開・収束可能である。このことは、仕切りプレート70がフッ素ゴム、シリコーンゴム等の軟質ゴム系材料で構成されていれば有利である。更に、膨張・収縮チューブ80についても、プレート本体部70a及び折曲フランジ部70bについてそれぞれ分割チューブ80a,80bが対応設置されており、各分割チューブ80a,80bはそれぞれ流体供給系81と流体排出系82とに接続され、それぞれ膨張状態、並びに収縮状態をとり得るが、プレート本体部70aに対応する分割チューブ80aの駆動方向と、折曲フランジ部70bに対応する分割チューブ80bの駆動方向を相違させたことが特徴である。すなわち、折曲フランジ部70bに対応する分割チューブ80bは、折曲フランジ部70bが拡開・収束する方向に動作することが必要となる。
次いで、図6乃至図8に示すように、分割チューブ80a,80bの動作によって、仕切りプレート70が制御される形態について説明する。まず、図6では、分割チューブ80a,80bの双方が収縮状態にある時を示している。この時、仕切りプレート70のプレート本体部70a及び折曲フランジ部70bの双方は成形下型60の収容溝部64内に収容されている。そして、第1のキャビティC1と第2のキャビティC2とを区画して、一方側の樹脂成形品(ドアトリムアッパー20)を成形するには、まず、一般部用キャビティC3に対して仕切りプレート70におけるプレート本体部70aが侵入するように、一方側の分割チューブ80a内に流体が供給されて、分割チューブ80aが膨張して、図7に示すように、一般部用キャビティC3に仕切りプレート70におけるプレート本体部70aが侵入する。次に、縦壁部用キャビティC4については、図8に示すように、対応する分割チューブ80bに流体が供給されて、分割チューブ80bが膨張し、その際の膨張圧により、仕切りプレート70における折曲フランジ部70bが折曲基点71を基に外方に向けて拡開動作し、縦壁部用キャビティC4内に仕切りプレート70の折曲フランジ部70bが侵入する。そして、一般部用キャビティC3、縦壁部用キャビティC4共に仕切りプレート70において有効にシールすることができる。
そして、図8に示す状態で、第1のキャビティC1内に溶融樹脂M1が射出充填される。その後、双方の分割チューブ80a,80bが共に収縮動作することで、図6に示す状態となり、一般部用キャビティC3及び縦壁部用キャビティC4内に溶融樹脂M2が射出充填され、見切りライン11の左右側縁部においてドアトリムロア30の成形が完了する。このように、ドアトリム10において、見切りライン11の左右側縁部において、仕切りプレート70を効率良く動作させることで、一般部10a、縦壁部10b共、ほぼ均一の厚みを確保することができる。
次いで、図9乃至図14に基づいて、ドアトリム10の成形方法について説明する。図9乃至図11はドアトリムアッパー20の成形工程を示している。成形装置40において成形上下型50,60が型締め状態であり、また、図10に示すように、膨張・収縮チューブ80内には流体が充填されて膨張・収縮チューブ80は膨張状態であり、その上面に支持されている仕切りプレート70は成形上型50の型面に当接するまで上昇しており、この状態で射出機61aから溶融樹脂M1が供給され、マニホールド62a、ゲート63aを通じて第1のキャビティC1内に溶融樹脂M1が射出充填されて、ドアトリムアッパー20が所要形状に成形される。この時、ドアトリム10における見切りライン11の左右側縁部において、仕切りプレート70のプレート本体部70a、並びに折曲フランジ部70bの関係は、図11に示すように、それぞれ分割チューブ80a,80bが膨張状態であり、それぞれ対応する分割プレート70a,70bは成形上型50の型面に当接している。以上がドアトリムアッパー20の成形工程である。
このドアトリムアッパー20の成形工程においては、仕切りプレート70のプレート本体部70aは、成形上型50の型面と突き当たっており、通常は、成形上型50の型面には絞模様等が刻設されているが、仕切りプレート70の材質として軟質材料が使用されているため、絞模様にダメージが加わることが少なく、製品の外観意匠性を損なうことがないとともに、仕切りプレート70の上面と成形上型50の型面とは一方側が軟質材料であるため、良好に密着シールしているため、樹脂漏れ等がなく、成形性能を良好に維持できる。
次いで、図12乃至図14は、ドアトリムロア30の成形工程を示すもので、成形上下型50,60は型締め状態が維持されており、図13に示すように、膨張・収縮チューブ80内の流体が流体排出系82を通じて外部に排出されることで膨張・収縮チューブ80は収縮状態となり、そのため、仕切りプレート70の自重により、仕切りプレート70は下降して、ドアトリムアッパー20の端末が第2のキャビティC2内に臨む。そして、射出機61bを通じて溶融樹脂M2がマニホールド62b、ゲート63bを通じて第2のキャビティC2に射出充填されてドアトリムアッパー20と一体にドアトリムロア30が所要形状に成形される。
そして、ドアトリム10における見切りライン11の左右側縁部については、図14に示すように、仕切りプレート70は、プレート本体部70aと、折曲フランジ部70bから構成されており、縦壁部用キャビティC4に対応する折曲フランジ部70bは、対応する分割チューブ80bが収縮すればプレート本体部70aに対して折曲基点71を基に基位置に収束するため、縦壁部用キャビティC4の適正な厚みが維持されることになり、ドアトリムアッパー20並びにドアトリムロア30について、一般部10aと縦壁部10b双方について同一の板厚を確保することができ、縦壁部10bの剛性を適正に維持でき、成形精度を向上させることができる。
以上説明した実施例は、仕切りプレート70の制御機構として、膨張・収縮チューブ80を使用することで従来の油圧シリンダ等の駆動機構に比べ構造を簡素化するとともに、金型スペース的にも有利であるという利点を備えている。更に、仕切りプレート70に軟質材料を使用し、かつプレート本体部70aに対して折曲フランジ部70bを拡開・収束可能となるように構成するとともに、膨張・収縮チューブ80として分割チューブ80a,80bを採用することで一般部10aと縦壁部10bとの厚みを均一に設定でき、縦壁部10bの剛性が低下するという従来欠点や、一般部10aの厚みが過度に厚くなりすぎ、重量化を招くという従来欠点を有効に解決できるという効果がある。尚、本実施例では、ドアトリム10の見切りライン11の両側縁部において仕切りプレート70のプレート本体部70a、並びに折曲フランジ部70bの双方の動作を二段階で操作したが、プレート本体部70aと折曲フランジ部70bとを同時進行の形態で駆動させても良い。
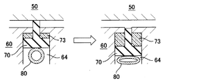
次いで、図15に示す変形例のように、仕切りプレート70を上方位置から下方位置に戻す戻し機構として、スプリング72を成形下型60の収容溝部64内に配置しても良い。また、図16に示すように、スプリング72に替えて、ウレタンフォーム等の弾性パッド73を介挿しても良い。このように、スプリング72、弾性パッド73を使用することで、仕切りプレート70の制御をより精度良く行なうことができる。
以上説明した実施例は、ドアトリムアッパー20とドアトリムロア30との上下二分割体からなるドアトリム10の成形方法及び成形装置に本発明を適用したが、ドアトリム10以外にも、ツートンタイプの二色成形品全般の成形方法、成形装置に本発明を適用することができる。更に、ドアトリムアッパー20の変形例として、表皮付き樹脂成形品の形態に適用することができるとともに、トリムアッパー、トリムセンター、トリムロアのように三分割した三色成形品の形態に適用することもできる。
本発明に係る二色成形品の成形方法を適用して製作した自動車用ドアトリムを示す正面図である。 図1中II−II線断面図である。 図1に示す自動車用ドアトリムの成形に使用する成形装置を示す概要図である。 図3に示す成形装置における仕切りプレート、及び膨張・収縮チューブの構成を示す断面図であり、図4(a)はチューブの膨張状態を示す説明図、図4(b)はチューブの収縮状態を示す説明図である。 図3に示す成形装置における仕切りプレートの端末部分の構成を示す断面図である。 図3に示す成形装置における仕切りプレートの端末部分の下降状態を示す説明図である。 図3に示す成形装置における仕切りプレートの端末部分の上昇途中状態を示す説明図である。 図3に示す成形装置における仕切りプレートの端末部分の上昇時の状態を示す説明図である。 本発明に係る二色成形品の成形方法を適用したドアトリムの成形方法におけるドアトリムアッパーの成形工程を示す説明図である。 図9に示すドアトリムアッパーの成形工程における仕切りプレートの位置関係を示す説明図である。 図9に示すドアトリムアッパーの成形工程における仕切りプレートの端末部分を示す説明図である。 本発明に係る二色成形品の成形方法を適用したドアトリムの成形方法におけるドアトリムロアの成形工程を示す説明図である。 図12に示すドアトリムロアの成形工程における仕切りプレートの位置関係を示す説明図である。 図12に示すドアトリムロアの成形工程における仕切りプレートの端末部分を示す説明図である。 本発明装置に使用する仕切りプレートの変形例を示す説明図である。 本発明装置に使用する仕切りプレートの変形例を示す説明図である。 従来のドアトリムを示す正面図である。 従来のドアトリムを成形する成形金型の構成を示す説明図である。 従来のドアトリムの成形に使用する仕切りプレートの動作を示す説明図である。 従来のドアトリムの成形に使用する仕切りプレートのキャビティ縦壁部に対応する端末部分の状態を示す説明図である。
符号の説明
10 自動車用ドアトリム
10a 一般部
10b 縦壁部
11 見切りライン
20 ドアトリムアッパー
30 ドアトリムロア
40 成形装置
50 成形上型
51 昇降シリンダ
60 成形下型
61a,61b 射出機
62a,62b マニホールド
63a,63b ゲート
64 収容溝部
70 仕切りプレート
70a プレート本体部
70b 折曲フランジ部
71 折曲基点
80 膨張・収縮チューブ
80a,80b 分割チューブ
81 流体供給系
82 流体排出系
C キャビティ
C1 第1のキャビティ(ドアトリムアッパー成形用)
C2 第2のキャビティ(ドアトリムロア成形用)
C3 一般部用キャビティ
C4 縦壁部用キャビティ
M1,M2 溶融樹脂

Claims (4)

  1. 成形上下型(50,60)のキャビティ(C)を仕切りプレート(70)の上昇操作により、二つのキャビティ(C1,C2)に区画し、第1のキャビティ(C1)内に溶融樹脂(M1)を射出充填して、一方側の樹脂成形品(20)を成形した後、前記仕切りプレート(70)を下降操作し、キャビティ(C1,C2)間を連通させ、第2のキャビティ(C2)内に溶融樹脂(M2)を射出充填して、他方側の樹脂成形品(30)を一方側の樹脂成形品(20)と一体化してなる二色成形品(10)の成形方法において、
    前記仕切りプレート(70)は、成形下型(60)の収容溝部(64)内に収容される膨張・収縮チューブ(80)の上面に支持され、流体供給系(81)から膨張・収縮チューブ(80)内に流体を充填し、膨張・収縮チューブ(80)を膨張させることで仕切りプレート(70)が成形上型(50)の型面に当接するまで仕切りプレート(70)を上昇操作することにより、二つのキャビティ(C1,C2)を区画して、第1のキャビティ(C1)内に溶融樹脂(M1)を射出充填して、一方側の樹脂成形品(20)を成形する工程と、
    前記膨張状態の膨張・収縮チューブ(80)から流体を流体排出系(82)を通して外部に排出して、膨張・収縮チューブ(80)を収縮させることで仕切りプレート(70)を下降操作することにより、二つのキャビティ(C1,C2)を連通させた後、第2のキャビティ(C2)内に溶融樹脂(M2)を射出充填して、一方側の樹脂成形品(20)と一体に他方側の樹脂成形品(30)を成形する工程と、
    からなることを特徴とする二色成形品の成形方法。
  2. 前記成形下型(60)に配置される仕切りプレート(70)は、一般部用キャビティ(C3)と縦壁部用キャビティ(C4)とからなるキャビティ形状に対応して、プレート本体部(70a)に対して折曲基点(71)を介して折曲フランジ部(70b)が拡開・収束可能となるように構成されており、プレート本体部(70a)と折曲フランジ部(70b)に対応して専用の分割チューブ(80a,80b)が設けられ、各分割チューブ(80a,80b)のプレート本体部(70a)及び折曲フランジ部(70b)に対する押圧方向を相違させることにより、仕切りプレート(70)がキャビティ(C)内に侵入する際は、一方側の分割チューブ(80a)の膨張作用により、一般部用キャビティ(C3)内に仕切りプレート(70)のプレート本体部(70a)を侵入させるとともに、他方側の分割チューブ(80b)の膨張作用により、仕切りプレート(70)の折曲フランジ部(70b)をプレート本体部(70a)に対して拡開動作させ、縦壁部用キャビティ(C4)内に仕切りプレート(70)の折曲フランジ部(70b)を侵入させることを特徴とする請求項1に記載の二色成形品の成形方法。
  3. 複数の樹脂成形品(20,30)を接合一体化してなる二色成形品(10)を成形する成形装置(40)であって、この成形装置(40)は、相互に型締め、型開き可能な成形上下型(50,60)と、成形下型(60)内に配置され、一方側の樹脂成形品(20)を成形する際、成形上型(50)の型面に当接するまで上昇して二つのキャビティ(C1,C2)を区画するとともに、他方側の樹脂成形品(30)を成形する際は下降して二つのキャビティ(C1,C2)同士を連通させる仕切りプレート(70)と、この仕切りプレート(70)を所定ストローク昇降可能に支持する膨張・収縮チューブ(80)とから構成されていることを特徴とする二色成形品の成形装置。
  4. 前記仕切りプレート(70)は、キャビティ(C)の一般部用キャビティ(C3)、縦壁部用キャビティ(C4)に対応して、プレート本体部(70a)と拡開・収束可能な折曲フランジ部(70b)とから構成され、上記プレート本体部(70a)、並びに折曲フランジ部(70b)は、それぞれ対応する専用の分割チューブ(80a,80b)に支持され、各分割チューブ(80a,80b)が膨張・収縮動作することにより、仕切りプレート(70)はキャビティ(C)内に進退可能に構成されるとともに、仕切りプレート(70)を動作させる分割チューブ(80a,80b)の押圧方向を相違させることで仕切りプレート(70)における折曲フランジ部(70b)をプレート本体部(70a)に対して拡開・収束動作させて、縦壁部用キャビティ(C4)内に侵入、あるいは回避するようにしたことを特徴とする請求項3に記載の二色成形品の成形装置。
JP2008260692A 2008-10-07 2008-10-07 二色成形品の成形方法並びに成形装置 Expired - Fee Related JP5252630B2 (ja)

Priority Applications (1)

Application Number Priority Date Filing Date Title
JP2008260692A JP5252630B2 (ja) 2008-10-07 2008-10-07 二色成形品の成形方法並びに成形装置

Applications Claiming Priority (1)

Application Number Priority Date Filing Date Title
JP2008260692A JP5252630B2 (ja) 2008-10-07 2008-10-07 二色成形品の成形方法並びに成形装置

Publications (2)

Publication Number Publication Date
JP2010089350A true JP2010089350A (ja) 2010-04-22
JP5252630B2 JP5252630B2 (ja) 2013-07-31

Family

ID=42252539

Family Applications (1)

Application Number Title Priority Date Filing Date
JP2008260692A Expired - Fee Related JP5252630B2 (ja) 2008-10-07 2008-10-07 二色成形品の成形方法並びに成形装置

Country Status (1)

Country Link
JP (1) JP5252630B2 (ja)

Citations (7)

* Cited by examiner, † Cited by third party
Publication number Priority date Publication date Assignee Title
JPS5997021U (ja) * 1982-12-21 1984-06-30 住友ゴム工業株式会社 射出成型用金型キヤビテイ−の区画装置
JPS6255417U (ja) * 1985-09-27 1987-04-06
JPH0834025A (ja) * 1994-07-22 1996-02-06 Araco Corp 積層体の製造装置
JPH08267479A (ja) * 1995-03-29 1996-10-15 Kasai Kogyo Co Ltd 積層成形体の成形方法並びに成形型装置
JP2006150895A (ja) * 2004-12-01 2006-06-15 Kasai Kogyo Co Ltd 多色成形品の成形方法及び成形金型
JP2009160874A (ja) * 2008-01-09 2009-07-23 Kasai Kogyo Co Ltd 二色成形品の成形方法並びに成形装置
JP2009160873A (ja) * 2008-01-09 2009-07-23 Kasai Kogyo Co Ltd 二色成形品の成形方法並びに成形装置

Patent Citations (7)

* Cited by examiner, † Cited by third party
Publication number Priority date Publication date Assignee Title
JPS5997021U (ja) * 1982-12-21 1984-06-30 住友ゴム工業株式会社 射出成型用金型キヤビテイ−の区画装置
JPS6255417U (ja) * 1985-09-27 1987-04-06
JPH0834025A (ja) * 1994-07-22 1996-02-06 Araco Corp 積層体の製造装置
JPH08267479A (ja) * 1995-03-29 1996-10-15 Kasai Kogyo Co Ltd 積層成形体の成形方法並びに成形型装置
JP2006150895A (ja) * 2004-12-01 2006-06-15 Kasai Kogyo Co Ltd 多色成形品の成形方法及び成形金型
JP2009160874A (ja) * 2008-01-09 2009-07-23 Kasai Kogyo Co Ltd 二色成形品の成形方法並びに成形装置
JP2009160873A (ja) * 2008-01-09 2009-07-23 Kasai Kogyo Co Ltd 二色成形品の成形方法並びに成形装置

Also Published As

Publication number Publication date
JP5252630B2 (ja) 2013-07-31

Similar Documents

Publication Publication Date Title
CN102712120A (zh) 车辆内饰材料的卧式成型方法及设备
KR20160142549A (ko) 스킨 성형 장치 및 방법
JP2011011352A (ja) 多色成形品の成形方法並びに成形金型
JP2009073112A (ja) 二色成形品の成形方法並びに成形金型
JP2009262499A (ja) 発泡樹脂成形品並びにその成形方法
JP2009160873A (ja) 二色成形品の成形方法並びに成形装置
JP2008173793A (ja) 自動車用内装部品並びにその製造方法
JP5252630B2 (ja) 二色成形品の成形方法並びに成形装置
JP5401123B2 (ja) 発泡樹脂成形品の成形方法
JP5378117B2 (ja) 発泡樹脂成形品の成形方法並びに成形装置
JP2008030300A (ja) 2色成形品及びその成形方法
JP5403800B2 (ja) 多色成形品の成形方法並びに成形装置
JP2009160874A (ja) 二色成形品の成形方法並びに成形装置
JP4591921B2 (ja) 多色成形品及びその成形方法
JP2008155395A (ja) 積層成形品の成形方法並びに成形装置
JP2005329544A (ja) 2色成形品及びその成形方法
JP4396921B2 (ja) 発泡樹脂成形体の成形方法及び成形装置
JP2011031536A (ja) 発泡樹脂基材の成形方法並びに成形金型
JP5355126B2 (ja) 二色成形品の成形方法並びにその成形金型
JP2009160901A (ja) 二色成形品の成形方法並びに成形金型
JP3253056B2 (ja) 積層成形体の成形方法並びに成形装置
JP2008194984A (ja) 2色成形品及びその成形方法
JP5408708B2 (ja) 発泡樹脂成形品の成形方法
JP4507861B2 (ja) 多色成形品の成形方法及び成形金型
JP4359168B2 (ja) 樹脂成形品の成形方法及び成形装置

Legal Events

Date Code Title Description
A621 Written request for application examination

Free format text: JAPANESE INTERMEDIATE CODE: A621

Effective date: 20111007

A977 Report on retrieval

Free format text: JAPANESE INTERMEDIATE CODE: A971007

Effective date: 20130109

A131 Notification of reasons for refusal

Free format text: JAPANESE INTERMEDIATE CODE: A131

Effective date: 20130124

A521 Written amendment

Free format text: JAPANESE INTERMEDIATE CODE: A523

Effective date: 20130314

TRDD Decision of grant or rejection written
A01 Written decision to grant a patent or to grant a registration (utility model)

Free format text: JAPANESE INTERMEDIATE CODE: A01

Effective date: 20130412

A61 First payment of annual fees (during grant procedure)

Free format text: JAPANESE INTERMEDIATE CODE: A61

Effective date: 20130412

R150 Certificate of patent or registration of utility model

Ref document number: 5252630

Country of ref document: JP

Free format text: JAPANESE INTERMEDIATE CODE: R150

Free format text: JAPANESE INTERMEDIATE CODE: R150

FPAY Renewal fee payment (event date is renewal date of database)

Free format text: PAYMENT UNTIL: 20160426

Year of fee payment: 3

LAPS Cancellation because of no payment of annual fees