JP2010084775A - テンショニング装置 - Google Patents

テンショニング装置 Download PDF

Info

Publication number
JP2010084775A
JP2010084775A JP2008250886A JP2008250886A JP2010084775A JP 2010084775 A JP2010084775 A JP 2010084775A JP 2008250886 A JP2008250886 A JP 2008250886A JP 2008250886 A JP2008250886 A JP 2008250886A JP 2010084775 A JP2010084775 A JP 2010084775A
Authority
JP
Japan
Prior art keywords
chain
arm
tensioning device
tensioner
tensioner arm
Prior art date
Legal status (The legal status is an assumption and is not a legal conclusion. Google has not performed a legal analysis and makes no representation as to the accuracy of the status listed.)
Granted
Application number
JP2008250886A
Other languages
English (en)
Other versions
JP5469326B2 (ja
Inventor
Ji Yong Kim
ジ・ヨン・キム
Current Assignee (The listed assignees may be inaccurate. Google has not performed a legal analysis and makes no representation or warranty as to the accuracy of the list.)
BorgWarner Inc
Original Assignee
BorgWarner Inc
Priority date (The priority date is an assumption and is not a legal conclusion. Google has not performed a legal analysis and makes no representation as to the accuracy of the date listed.)
Filing date
Publication date
Application filed by BorgWarner Inc filed Critical BorgWarner Inc
Priority to JP2008250886A priority Critical patent/JP5469326B2/ja
Priority to US13/120,742 priority patent/US8608601B2/en
Priority to CN200980135852.9A priority patent/CN102159849B/zh
Priority to PCT/US2009/058336 priority patent/WO2010036868A2/en
Priority to EP09816893A priority patent/EP2340379B1/en
Publication of JP2010084775A publication Critical patent/JP2010084775A/ja
Application granted granted Critical
Publication of JP5469326B2 publication Critical patent/JP5469326B2/ja
Expired - Fee Related legal-status Critical Current
Anticipated expiration legal-status Critical

Links

Images

Classifications

    • FMECHANICAL ENGINEERING; LIGHTING; HEATING; WEAPONS; BLASTING
    • F16ENGINEERING ELEMENTS AND UNITS; GENERAL MEASURES FOR PRODUCING AND MAINTAINING EFFECTIVE FUNCTIONING OF MACHINES OR INSTALLATIONS; THERMAL INSULATION IN GENERAL
    • F16HGEARING
    • F16H7/00Gearings for conveying rotary motion by endless flexible members
    • F16H7/08Means for varying tension of belts, ropes or chains 
    • FMECHANICAL ENGINEERING; LIGHTING; HEATING; WEAPONS; BLASTING
    • F16ENGINEERING ELEMENTS AND UNITS; GENERAL MEASURES FOR PRODUCING AND MAINTAINING EFFECTIVE FUNCTIONING OF MACHINES OR INSTALLATIONS; THERMAL INSULATION IN GENERAL
    • F16HGEARING
    • F16H7/00Gearings for conveying rotary motion by endless flexible members
    • F16H7/08Means for varying tension of belts, ropes or chains 
    • F16H2007/0802Actuators for final output members
    • F16H2007/0808Extension coil springs
    • FMECHANICAL ENGINEERING; LIGHTING; HEATING; WEAPONS; BLASTING
    • F16ENGINEERING ELEMENTS AND UNITS; GENERAL MEASURES FOR PRODUCING AND MAINTAINING EFFECTIVE FUNCTIONING OF MACHINES OR INSTALLATIONS; THERMAL INSULATION IN GENERAL
    • F16HGEARING
    • F16H7/00Gearings for conveying rotary motion by endless flexible members
    • F16H7/08Means for varying tension of belts, ropes or chains 
    • F16H7/0848Means for varying tension of belts, ropes or chains  with means for impeding reverse motion
    • F16H2007/0853Ratchets
    • FMECHANICAL ENGINEERING; LIGHTING; HEATING; WEAPONS; BLASTING
    • F16ENGINEERING ELEMENTS AND UNITS; GENERAL MEASURES FOR PRODUCING AND MAINTAINING EFFECTIVE FUNCTIONING OF MACHINES OR INSTALLATIONS; THERMAL INSULATION IN GENERAL
    • F16HGEARING
    • F16H7/00Gearings for conveying rotary motion by endless flexible members
    • F16H7/08Means for varying tension of belts, ropes or chains 
    • F16H2007/0863Finally actuated members, e.g. constructional details thereof
    • F16H2007/0874Two or more finally actuated members
    • FMECHANICAL ENGINEERING; LIGHTING; HEATING; WEAPONS; BLASTING
    • F16ENGINEERING ELEMENTS AND UNITS; GENERAL MEASURES FOR PRODUCING AND MAINTAINING EFFECTIVE FUNCTIONING OF MACHINES OR INSTALLATIONS; THERMAL INSULATION IN GENERAL
    • F16HGEARING
    • F16H7/00Gearings for conveying rotary motion by endless flexible members
    • F16H7/08Means for varying tension of belts, ropes or chains 
    • F16H2007/0889Path of movement of the finally actuated member
    • F16H2007/0893Circular path
    • FMECHANICAL ENGINEERING; LIGHTING; HEATING; WEAPONS; BLASTING
    • F16ENGINEERING ELEMENTS AND UNITS; GENERAL MEASURES FOR PRODUCING AND MAINTAINING EFFECTIVE FUNCTIONING OF MACHINES OR INSTALLATIONS; THERMAL INSULATION IN GENERAL
    • F16HGEARING
    • F16H7/00Gearings for conveying rotary motion by endless flexible members
    • F16H7/08Means for varying tension of belts, ropes or chains 
    • F16H2007/0889Path of movement of the finally actuated member
    • F16H2007/0897External to internal direction

Landscapes

  • Engineering & Computer Science (AREA)
  • General Engineering & Computer Science (AREA)
  • Mechanical Engineering (AREA)
  • Devices For Conveying Motion By Means Of Endless Flexible Members (AREA)

Abstract

【課題】 芯間距離の短いチェーン駆動装置において、複数のチェーンスパンに同時に緊張力を作用させることができるテンショニング装置を簡単な構造で実現する。
【解決手段】 テンショニング装置1は、チェーンスパンCの外側に配設されたアーム部20と、これに一体に設けられかつチェーンスパンC、C間の内部空間に向かって張り出すフランジ部21とを有する第1のテンショナアーム2と、チェーンスパンCの外側に配設されたアーム部30と、これに一体に設けられかつチェーンスパンC、C間の内部空間に向かって張り出すとともにフランジ部21とオーバラップするフランジ部31とを有する第2のテンショナアーム3と、各フランジ部21、31のオーバラップ部分において各フランジ部21、31を回動自在に連結する連結部と、第1のテンショナアーム2をチェーンスパンCの側に向かって付勢するテンショナ4とを備えている。
【選択図】 図1

Description

本発明は、チェーンに張力を発生させるためのテンショニング装置に関し、詳細には、芯間距離の短いチェーン駆動装置に好適の装置に関する。
運転中に生じるチェーンの弛みを除去してチェーンに張力を発生させるために、従来より、テンショニング装置が用いられている。テンショニング装置は、一般に、チェーンの弛み側スパンに配設され、枢支端の回りを回動自在に設けられるとともに、チェーンが摺動するチェーン摺動面を有するテンショナアームと、テンショナアームのチェーン摺動面がチェーンの弛み側スパンに当接するよう、テンショナアームを弛み側スパンに向かって押圧するテンショナとを備えている。この場合、チェーンの張り側スパンには、一般に、チェーンの走行をガイドするためのチェーンガイドが設けられている。
また、チェーンの複数のスパンに同時に緊張力を作用させるテンショニング装置も提案されている。このテンショニング装置は、例えば特開2006−329418号公報に示すように、チェーンの張り側スパンおよび弛み側スパンの外側にそれぞれ配設され、各々枢支端の回りを回動自在な第1、第2のテンショナアームと、各テンショナアーム間に配設されるとともに互いにピン連結された第1、第2のリンク部材からなり、各テンショナアーム間を連結するリンク機構と、ピストン先端が各リンク部材の連結ピンに連結されたテンショナとを有している(図4および図7参照)。
この場合には、チェーンの摩耗によりチェーンが伸びたときには、テンショナのピストンが突出して、各リンク部材の連結ピンを押圧する。これにより、各リンク部材は、その挟角が減少する向きに互いに回動する(上記公報の図5参照)。その結果、各テンショナアームが対応するチェーンスパンに押接して、各チェーンスパンの弛みが除去されるようになっている。
特開2006−329418号公報(図4および図7参照)
しかしながら、上記公報に示すテンショニング装置は、エンジンのドライブスプロケット(クランクスプロケット)およびドリブンスプロケット(カムスプロケット)間を駆動連結するチェーンつまりタイミングチェーンに好適の装置であって、この場合、各スプロケット間の芯間距離は比較的長い。したがって、当該公報に示す装置の場合、各チェーンスパン間の内部スペースが比較的長く、このため、当該内部スペース内にテンショナを配置することが可能である。
これに対して、エンジンの補機駆動装置やオイルポンプ駆動装置などに用いられるチェーンの場合、芯間距離が短い。この場合には、各チェーンスパンの間に十分な内部スペースを確保できないので、上記公報に記載されたようなテンショニング装置を採用することは困難である。
本発明は、このような従来の実情に鑑みてなされたもので、本発明が解決しようとする課題は、エンジンの補機駆動装置やオイルポンプ駆動装置のように芯間距離の短いチェーン駆動装置において、複数のチェーンスパンに同時に緊張力を作用させることができるテンショニング装置を簡単な構造で実現することにある。
請求項1の発明に係るテンショニング装置は、第1、第2のチェーンスパンを有するチェーンに緊張力を作用させるための装置である。第1のテンショナアームは、第1のチェーンスパンの外側において当該第1のチェーンスパンに沿って弧状に延設されるとともに、支軸により枢支される枢支端と自由端とを有し、チェーンが摺動する第1のアーム部と、第1のアーム部に一体に設けられるとともに、第1、第2のチェーンスパン間の内部空間に向かって張り出す第1のフランジ部とを有している。第2のテンショナアームは、第2のチェーンスパンの外側において当該第2のチェーンスパンに沿って弧状に延設されるとともに、支軸により枢支される枢支端と自由端とを有し、チェーンが摺動する第2のアーム部と、第2のアーム部に一体に設けられ、第1、第2のチェーンスパン間の内部空間に向かって張り出すとともに、第1のフランジ部とオーバラップする第2のフランジ部とを有している。また、当該テンショニング装置は、第1のテンショナアームの第1のフランジ部および第2のテンショナアームの第2のフランジ部とのオーバラップ部分に設けられ、第1、第2のフランジ部を回動自在に連結する連結部と、第1のテンショナアームの自由端を第1のチェーンスパンの側に向かって付勢する付勢手段とを備えている。そして、付勢手段が第1のテンショナアームの自由端を第1のチェーンスパンの側に向かって付勢するとき、連結部を介して、第1のテンショナアームの第1のフランジ部が第2のテンショナアームの第2のフランジ部を回動させて、第2のテンショナアームの第2のアーム部を第2のチェーンスパンの側に移動させるようになっている。
請求項1の発明においては、当該テンショニング装置の運転時には、付勢手段が第1のテンショナアームの自由端を第1のチェーンスパンの側に向かって付勢する。すると、第1のテンショナアームの第1のアーム部が枢支端の回りを回動して、第1のアーム部が第1のチェーンスパンを押接する。これにより、第1のチェーンスパンの弛みが除去される。また、第1のアーム部の回動時には、第1のフランジ部、連結部および第2のフランジ部を介して、第2のテンショナアームの第2のアーム部が枢支端の回りを回動して、第2のアーム部が第2のチェーンスパンを押接する。これにより、第2のチェーンスパンの弛みが除去される。このようにして、チェーンに緊張力を作用させることができる。
この場合には、付勢手段としてのテンショナが、第1、第2のチェーンスパン間の内部空間に配置されないので、エンジンの補機駆動装置やオイルポンプ駆動装置のように芯間距離の短いチェーン駆動装置において各チェーンスパン間に十分な内部スペースが確保できない場合に好適のテンショニング装置を実現できる。また、この場合には、第1、第2のテンショナアームは、第1、第2のフランジ部を介して連結部により連結されているだけなので、構造を簡略化できる。
請求項2の発明では、請求項1において、連結部が、第2のフランジ部のオーバラップ部分に貫通形成された長孔と、第1のフランジ部に突設されかつ長孔に係止されるとともに、長孔に沿ってスライド自在な突設部とから構成されている。
この場合には、連結部が、例えばピンやネジ等の突設部と長孔から構成されるので、連結部の構成を簡略化でき、これにより、装置全体の構造をさらに簡略化できる。
請求項3の発明では、請求項1において、連結部が、第1のフランジ部のオーバラップ部分に貫通形成された第1の長孔と、第2のフランジ部のオーバラップ部分に貫通形成され、第1の長孔と一部オーバラップする第2の長孔と、当該テンショニング装置の据付側に設けられ、第1、第2の長孔と一部オーバラップしつつ、第1、第2の長孔と交差する方向に延びる第3の長孔と、第3の長孔から突設しつつ第1ないし第3の長孔のオーバラップ部分に係止されるとともに、第1、第2のフランジ部の回動時に第1ないし第3の長孔のオーバラップ部分に沿ってスライド自在な突設部とから構成されている。
この場合には、第1、第2のテンショナアームの回動時において、突設部が第1ないし第3の長孔に沿って移動する際には、突設部は常時、第1ないし第3の長孔のオーバラップ部分で係止されるので、運転時に第2のチェーンスパンから第2のテンショナアームに過大な押付力が作用した場合でも、第2のテンショナアームが第2のチェーンスパンから離れる側に回動するのを確実に規制できる。
請求項4の発明では、請求項1において、連結部が、第1、第2のフランジ部にそれぞれ形成され、互いに噛み合う第1、第2の歯部から構成されている。
この場合、第1のテンショナアームの回動時には、第1の歯部と噛み合う第2の歯部が回転することにより、第2のテンショナアームが回動する。この場合、連結部の第1、第2の歯部は常時噛み合っているので、運転時に第2のチェーンスパンから第2のテンショナアームに過大な押付力が作用した場合でも、第2のテンショナアームが第2のチェーンスパンから離れる側に回動するのを確実に規制できる。
請求項5の発明では、請求項1において、付勢手段が、第1のチェーンスパンの外側に配置され、伸退自在なピストンを有するテンショナである。
請求項6の発明では、請求項1において、付勢手段が、第1のフランジ部に一端が係止されかつ第2のフランジ部に他端が係止されたスプリングである。
この場合には、スプリングの引張力により、第1、第2のフランジ部を介して、第1、第2のテンショナアームがそれぞれ第1、第2のチェーンスパンに接近する側に回動する。この場合には、付勢手段が単一のスプリングから構成されるので、付勢手段ひいては装置全体の構造を簡略化できる。
請求項7の発明では、請求項1において、第1または第2のテンショナアームの支軸には、第1または第2のテンショナアームの第1、第2のチェーンスパンの側への移動を許容しつつ逆方向への移動を規制するためのラチェット機構が設けられている。
この場合には、運転時に第1または第2のチェーンスパンに過大な押付力が作用した場合でも、第1、第2のテンショナアームが第1、第2のチェーンスパンから離れる側に回動するのをラチェット機構により確実に防止できる。
請求項8の発明では、請求項1において、第1または第2のテンショナアームの支軸には、第1または第2のテンショナアームの第1、第2のチェーンスパンの側に付勢する捩じりコイルばねが設けられている。
この場合には、付勢手段が捩じりコイルばねから構成されるので、付勢手段ひいては装置全体の構造を簡略化できる。
以上のように、本発明に係るテンショニング装置によれば、第1、第2のチェーンスパンの外側にそれぞれ第1、第2のテンショナアームを配設し、第1、第2のテンショナアームにおける第1、第2のフランジ部を互いにオーバラップさせ、当該オーバラップ部分において第1、第2のフランジ部を連結部により回動自在に連結するとともに第1のテンショナアームの自由端を第1のチェーンスパンの側に向かって付勢する付勢手段を設けたので、運転時において、付勢手段が第1のテンショナアームの自由端を第1のチェーンスパンの側に向かって付勢すると、第1のテンショナアームの第1のアーム部が枢支端の回りを回動して、第1のアーム部が第1のチェーンスパンを押接し、これにより、第1のチェーンスパンの弛みが除去される。また、第1のアーム部の回動時には、第1のフランジ部、連結部および第2のフランジ部を介して、第2のテンショナアームの第2のアーム部が枢支端の回りを回動して、第2のアーム部が第2のチェーンスパンを押接し、これにより、第2のチェーンスパンの弛みが除去される。このようにして、チェーンに緊張力を作用させることができる。
この場合には、付勢手段としてのテンショナが、第1、第2のチェーンスパン間の内部空間に配置されないので、エンジンの補機駆動装置やオイルポンプ駆動装置のように芯間距離の短いチェーン駆動装置において各チェーンスパン間に十分な内部スペースが確保できない場合に好適のテンショニング装置を実現できる。また、この場合には、第1、第2のテンショナアームは、第1、第2のフランジ部を介して連結部により連結されているだけなので、構造を簡略化できる。
以下、本発明の実施例を添付図面に基づいて説明する。
〔第1の実施例〕
図1ないし図3Aは本発明の第1の実施例によるテンショニング装置を説明するための図であって、図1はテンショニング装置の全体斜視図、図2は図1において抜け止め用のナットを外した状態を示す図、図2Aは図2の模式図、図3はチェーンが伸びた状態におけるテンショニング装置の全体斜視図、図3Aは図3の模式図である。なお、図1、図2、図3においては、駆動スプロケットおよび従動スプロケットが省略された状態を示しており、図2Aおよび図3Aにおいては、これらのスプロケットを模式的に示している。
図1、図2および図2Aに示すように、このテンショニング装置1は、駆動スプロケットD1および従動スプロケットD2の周りに巻き掛けられたチェーンCに緊張力を作用させるための装置である。チェーンCは、好ましくは、エンジンの補機駆動装置やオイルポンプ駆動装置のように、駆動スプロケットおよび従動スプロケット間の芯間距離が短いチェーンである。チェーンCは、駆動スプロケットD1および従動スプロケットD2間に配設された第1、第2のチェーンスパンC、Cを有している。ここでは、チェーンスパンCが弛み側スパンであり、チェーンスパンCが張り側スパンである。
テンショニング装置1は、第1のチェーンスパンCの外側に配設され、第1のチェーンスパンCに緊張力を作用させるための第1のテンショナアーム2と、第2のチェーンスパンCの外側に配設され、第2のチェーンスパンCに緊張力を作用させるための第2のテンショナアーム3とを備えている。
第1のテンショナアーム2は、第1のチェーンスパンCに沿って弧状に延設されるとともに、支軸(図示せず)により枢支される枢支端20Aと自由端20Bとを有し、チェーンCが摺動する第1のアーム部20と、第1のアーム部20に一体に設けられるとともに、第1、第2のチェーンスパンC、C間の内部空間に向かって張り出す第1のフランジ部21とを有している。枢支端20Aには、貫通孔20aが形成されている。貫通孔20aには支軸が挿通しており、該支軸はエンジン側に固定されている。第1のアーム部20には、チェーンCの摺動面を有するシュー20Cが装着されている。
第2のテンショナアーム3は、第2のチェーンスパンCに沿って弧状に延設されるとともに、支軸(図示せず)により枢支される枢支端30Aと自由端30Bとを有し、チェーンCが摺動する第2のアーム部30と、第2のアーム部30に一体に設けられ、第1、第2のチェーンスパンC、C間の内部空間に向かって張り出すとともに、第1のフランジ部21とオーバラップする第2のフランジ部31とを有している。枢支端30Aには、貫通孔30aが形成されている。貫通孔30aには支軸が挿通しており、該支軸はエンジン側に固定されている。第2のアーム部30には、チェーンCの摺動面を有するシュー30Cが装着されている。
第1、第2のフランジ部21、31のオーバラップ部分には、第1、第2のフランジ部21、31を回動自在に連結する連結部が設けられている。この連結部は、当該オーバラップ部分において、第2のフランジ部31に貫通形成された長孔31aと、第1のフランジ部21に一端が植設されかつ他端が第1のフランジ部21の面から突出するとともに、第2のフランジ部31の長孔31aに係合しかつ長孔31aに沿ってスライド自在な突設部22とから構成されている。突設部22は、ここでは、先端にネジ部が形成されており、該ネジ部には、ワッシャー23を介して、抜け止め用のナット24が螺合している。なお、突設部22はピンにより構成するようにしてもよい。
第1のテンショナアーム2の外側には、第1のテンショナアーム2の自由端20Bを第1のチェーンスパンCの側に向かって付勢する付勢手段としてのテンショナ4が設けられている。テンショナ4は、伸退自在なピストン4aを有しており、ピストン4aの先端は、第1のテンショナアーム2の自由端20Bに圧接している。また、テンショナ4は、ピストン4aをスライド自在に収容するテンショナボディ40を有しており、テンショナボディ40は、これをエンジン側に取り付けるための取付孔40aを有している。テンショナ4は、油圧式または機械式のいずれのテンショナでもよい。
上述のように構成されるテンショニング装置1の運転時には、テンショナ4のピストン4aが第1のテンショナアーム2の自由端20Bを第1のチェーンスパンCの側に向かって付勢する。すると、第1のテンショナアーム2の第1のアーム部20が枢支端20Aの回りを図2A反時計回りに回動して、第1のアーム部20が第1のチェーンスパンCを押接する。これにより、第1のチェーンスパンCの弛みが除去される。
また、第1のアーム部20の回動時には、第1のフランジ部21も回動し、このとき、第1のフランジ部21に植設された突設部22が、第1のアーム部20の枢支端20Aの回りを図2A反時計回りに回動する。これにより、突設部22が係合する長孔31aを介して、第2のアーム部30が枢支端30Aの回りを図2A時計回りに回動する。このとき、図3、図3Aに示すように、突設部22は、長孔31a内において図示右端側に移動している。これにより、第2のアーム部30が第2のチェーンスパンCを押接して、第2のチェーンスパンCの弛みが除去される。このようにして、チェーンCに緊張力を作用させることができる。
この場合には、テンショナ4が、第1、第2のチェーンスパンC、C間の内部空間に配置されていないので、エンジンの補機駆動装置やオイルポンプ駆動装置のように芯間距離の短いチェーン駆動装置において、各チェーンスパン間に十分な内部スペースが確保できない場合に好適のテンショニング装置を実現できる。また、この場合には、第1、第2のテンショナアーム2、3が、第1、第2のフランジ部21、31を介して連結部により連結されているだけであり、しかもこの場合の連結部が突設部22およびこれが係合する長孔31aから構成されているので、装置全体の構造を簡略化できる。
〔第2の実施例〕
図4ないし図5Aは本発明の第2の実施例によるテンショニング装置を説明するための図であって、図4はテンショニング装置の模式図、図4Aは図4の一部拡大図、図5はチェーンが伸びた状態におけるテンショニング装置の模式図、図5Aは図5の一部拡大図である。なお、これらの図において、前記第1の実施例と同一符号は同一または相当部分を示している。
この第2の実施例では、連結部の構成が前記第1の実施例とは異なっている。すなわち、図4および図4Aに示すように、連結部は、第1のテンショナアーム2の第1のフランジ部21および第2のテンショナアーム2の第2のフランジ部31のオーバラップ部分において、第1のフランジ部21に貫通形成された第1の長孔21aと、第2のフランジ部31に貫通形成され、第1の長孔21aと一部オーバラップしつつ第1の長孔21aと交差する方向に延びる第2の長孔31aと、当該テンショニング装置1の据付側(つまりエンジン側)に設けられ、第1、第2の長孔21a、31aと一部オーバラップしつつ、第1、第2の長孔21a、31aと交差する図示上下方向に延びる第3の長孔5aと、第3の長孔5aから突設しつつ第1ないし第3の長孔21a、31a、5aのオーバラップ部分に係止されるとともに、第1、第2のフランジ部21、31の回動時に第1ないし第3の長孔21a、31a、5aのオーバラップ部分に沿ってスライド自在な突設部50とから構成されている。
図4および図4Aに示すように、チェーンが伸びる前の状態においては、突設部50は、長孔21aの図示右端側、長孔31aの図示左端側および長孔5aの図示下端側に配置されている。
テンショニング装置1の運転時には、前記第1の実施例と同様に、テンショナ4のピストン4aが第1のテンショナアーム2の自由端20Bを第1のチェーンスパンCの側に向かって付勢すると、第1のテンショナアーム2の第1のアーム部20が枢支端20Aの回りを図4反時計回りに回動して、第1のアーム部20が第1のチェーンスパンCを押接する。これにより、第1のチェーンスパンCの弛みが除去される。
また、第1のアーム部20の回動時には、第1のフランジ部21も回動し、このとき、第1のフランジ部21の長孔21a、これに係合する突設部50、および突設部50が係合する第2のフランジ部31の長孔31aを介して、第2のアーム部30が枢支端30Aの回りを図4時計回りに回動する。このとき、図5、図5Aに示すように、突設部50は、長孔21a内を図示左方に向かって移動するとともに、長孔31a内を図示右方に向かって移動しており、さらに、長孔5a内を図示上方に向かって移動している。これにより、第2のアーム部30が第2のチェーンスパンCを押接して、第2のチェーンスパンCの弛みが除去される。このようにして、チェーンCに緊張力を作用させることができる。
この場合には、第1、第2のテンショナアーム2、3の回動時において、突設部50が第1、第2、第3の長孔21a、31a、5aに沿って移動する際には、突設部50は常時、第1、第2、第3の長孔21a、31a、5aのオーバラップ部分で係止されるので、運転時に第2のチェーンスパンCから第2のテンショナアーム3に過大な押付力が作用した場合でも、第2のテンショナアーム3が第2のチェーンスパンCから離れる側に回動するのをより確実に規制できる。
〔第3の実施例〕
図6および図7は本発明の第3の実施例によるテンショニング装置を説明するための図であって、図6はテンショニング装置の模式図、図7はチェーンが伸びた状態におけるテンショニング装置の模式図である。なお、これらの図において、前記第1の実施例と同一符号は同一または相当部分を示している。
この第3の実施例では、付勢手段が引張コイルばねから構成されている点が、前記第1、第2の実施例と異なっている。すなわち、付勢手段は、一端6aが第1のフランジ部21に係止されかつ他端6bが第2のフランジ部31に係止された引張コイルばね6である。
運転時には、コイルばね6の引張力により、第1、第2のフランジ部21、31を介して、第1、第2のテンショナアーム2、3がそれぞれ第1、第2のチェーンスパンC、Cに接近する側に回動する。この場合には、付勢手段が単一のコイルばねから構成されるので、付勢手段ひいては装置全体の構造を簡略化できる。
〔第4の実施例〕
図8および図9は本発明の第4の実施例によるテンショニング装置を説明するための図であって、図8はテンショニング装置の模式図、図9はチェーンが伸びた状態におけるテンショニング装置の模式図である。なお、これらの図において、前記第3の実施例と同一符号は同一または相当部分を示している。
この第4の実施例では、前記第3の実施例と同様に、付勢手段が引張コイルばねから構成されており、引張コイルばね7の一端7aが第1のフランジ部21側に、他端7bが第2のフランジ部22に係止されている。なお、厳密には、コイルばね7の一端7aは、第1のフランジ部21に植設された突設部22に係止されている。
運転時には、コイルばね7の引張力により、第1、第2のフランジ部21、31を介して、第1、第2のテンショナアーム2、3がそれぞれ第1、第2のチェーンスパンC、Cに接近する側に回動する。この場合においても、付勢手段が単一のコイルばねから構成されるので、付勢手段ひいては装置全体の構造を簡略化できる。
〔第5の実施例〕
図10ないし図12は本発明の第5の実施例によるテンショニング装置を説明するための図であって、図10はテンショニング装置の模式図、図11はチェーンが伸びた状態におけるテンショニング装置の模式図、図12は図10のXII矢視一部断面図である。なお、これらの図において、前記第3、第4の実施例と同一符号は同一または相当部分を示している。
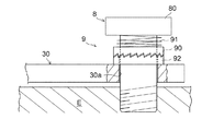
この第5の実施例は、前記第3および第4の実施例を組み合わせたものであって、付勢手段として、引張コイルばね6、7が設けられている。また、第1、第2のテンショナアーム2、3の少なくとも一方の支軸に、例えば第2のテンショナアーム3の支軸8に、図12に示すようなラチェット機構9が設けられている。
図12において、支軸8の下端は、エンジンE側の部品にネジ止め固定されている。支軸8は、第2のアーム部30に形成された貫通孔30aを挿通している。支軸8には、下面にラチェット歯を有する第1のラチェット部90が軸方向スライド自在かつ回転不能に取り付けられている。第1のラチェット部90は、例えば、支軸8の軸部にスプライン係合している。第1のラチェット部90は、支軸8の頭部80の下方において軸部の周りに装着された圧縮コイルばね91の弾性反発力により常時下方に付勢されている。また、第2のアーム部30の貫通孔30aの開口部には、第1のラチェット部90のラチェット歯と係合するラチェット歯を上面に有する第2のラチェット部92が固着されている。支軸8は、第2のラチェット部92を挿通している。第2のアーム部30は、第2のラチェット部92とともに、支軸8に回動自在に支持されている。
これら第1、第2のラチェット部90、92等により、第2のテンショナアーム3の第2のチェーンスパンCの側への移動を許容しつつ逆方向への移動を規制するラチェット機構が構成されている。
運転時には、付勢手段として2つの引張コイルばね6、7が設けられていることにより、付勢手段から第1、第2のテンショナアーム2、3に作用する付勢力が増し、これにより、チェーン伸びに対する各テンショナアーム2、3の応答性を向上できるとともに、チェーンスパンの共振等によるチェーンスパンのばたつきをより確実に規制できるようになる。
また、この場合には、ラチェット機構を設けたことにより、運転時に第2のチェーンスパンCから第2のテンショナアーム3に過大な押付力が作用した場合でも、第2のテンショナアーム3が第2のチェーンスパンCから離れる側に回動するのを一層確実に規制できる。
なお、第1のテンショナアーム2の側の支軸にも、同様のラチェット機構を設けるようにしてもよい。
〔第6の実施例〕
図13は本発明の第6の実施例によるテンショニング装置の模式図である。なお、同図において、前記第3ないし第5の実施例と同一符号は同一または相当部分を示している。
この第6の実施例は、付勢手段が捩じりコイルばねから構成されている点が、前記第3ないし第5の実施例と異なっている。すなわち、付勢手段は、第2のテンショナアーム3の支軸8の周りに配設された捩じりコイルばね15と、第1のテンショナアーム2の支軸8’の周りに配設された捩じりコイルばね16である。各捩じりコイルばね15、16の一端は支軸8、8’に係止され、他端は枢支部30A、20Aに係止されている。
この場合には、捩じりコイルばね15、16の弾性復元力により、第1、第2のテンショナアーム2、3がそれぞれ第1、第2のチェーンスパンC、Cに接近する側に回動する。この場合には、付勢手段が単なる捩じりコイルばねから構成されるので、付勢手段ひいては装置全体の構造を簡略化できる。
なお、図13に示すものでは、第1、第2のテンショナアーム2、3の双方に捩じりコイルばねが設けられた例を示したが、第2のテンショナアーム3の側の捩じりコイルばね15は省略することも可能である。
〔第7の実施例〕
図14は本発明の第7の実施例によるテンショニング装置の模式図である。なお、同図において、前記第1の実施例と同一符号は同一または相当部分を示している。
前記各実施例では、第1のフランジ部21および第2のフランジ部31の連結部として、突設部およびこれが係合する長孔から構成されたものを示したが、この第7の実施例では、連結部が、第1のフランジ部21の外周の一部に形成された第1の歯部21Aと、第2のフランジ部31の外周の一部に形成され、第1の歯部21Aに噛み合う第2の歯部31Aとから構成されている。
この場合には、テンショナ4のピストン4aが突出すると、第1のテンショナアーム2が枢支部20Aの支軸の回りを回動し、このとき、第1のフランジ部21が第1、第2の歯部21A、31Aを介して、第2のテンショナアーム3を枢支部30Aの支軸の回りに回動させる。これにより、第1、第2のテンショナアーム2、3がそれぞれチェーンスパンC、Cの側に接近して、各チェーンスパンC、Cの弛みが除去される。
この場合には、連結部が支軸の長さ方向に突出しないので、装置全体の省スペース化に寄与できる。
なお、前記各実施例では、2つのチェーンスパンを有するチェーンに本発明によるテンショニング装置が適用された例を示したが、本発明は、3つ以上のチェーンスパンを有するチェーンにおいてそのうちの2つのチェーンスパンに適用するようにしてもよい。
本発明の第1の実施例によるテンショニング装置の全体斜視図である。 図1において抜け止め用のナットを外した状態を示す図である。 図2の模式図である。 図1においてチェーンが伸びた状態を示す図である。 図3の模式図である。 本発明の第2の実施例によるテンショニング装置の模式図である。 図4の一部拡大図である。 図4においてチェーンが伸びた状態を示す図である。 図5の一部拡大図である。 本発明の第3の実施例によるテンショニング装置の模式図である。 図6においてチェーンが伸びた状態を示す図である。 本発明の第4の実施例によるテンショニング装置の模式図である。 図8においてチェーンが伸びた状態を示す図である。 本発明の第5の実施例によるテンショニング装置の模式図である。 図10においてチェーンが伸びた状態を示す図である。 図10のXII矢視一部断面図である。 本発明の第6の実施例によるテンショニング装置の模式図である。 本発明の第7の実施例によるテンショニング装置の模式図である。
符号の説明
1: テンショニング装置

2: 第1のテンショナアーム
20: 第1のアーム部
20A: 枢支端
20B: 自由端
21: 第1のフランジ部
22: 突設部(連結部)

3: 第2のテンショナアーム
30: 第2のアーム部
30A: 枢支端
30B: 自由端
31: 第2のフランジ部
31a: 長孔(連結部)

4: テンショナ(付勢手段)

C: チェーン
: 第1のチェーンスパン
: 第2のチェーンスパン

Claims (9)

  1. 第1、第2のチェーンスパンを有するチェーンに緊張力を作用させるためのテンショニング装置であって、
    前記第1のチェーンスパンの外側において当該第1のチェーンスパンに沿って弧状に延設されるとともに、支軸により枢支される枢支端と自由端とを有し、チェーンが摺動する第1のアーム部と、前記第1のアーム部に一体に設けられるとともに、前記第1、第2チェーンスパン間の内部空間に向かって張り出す第1のフランジ部とを有する第1のテンショナアームと、
    前記第2のチェーンスパンの外側において当該第2のチェーンスパンに沿って弧状に延設されるとともに、支軸により枢支される枢支端と自由端とを有し、チェーンが摺動する第2のアーム部と、前記第2のアーム部に一体に設けられ、前記第1、第2チェーンスパン間の前記内部空間に向かって張り出すとともに、前記第1のフランジ部とオーバラップする第2のフランジ部とを有する第2のテンショナアームと、
    前記第1のテンショナアームの前記第1のフランジ部および前記第2のテンショナアームの前記第2のフランジ部とのオーバラップ部分に設けられ、前記第1、第2のフランジ部を回動自在に連結する連結部と、
    前記第1のテンショナアームの前記自由端を前記第1のチェーンスパンの側に向かって付勢する付勢手段とを備え、
    前記付勢手段が前記第1のテンショナアームの前記自由端を前記第1のチェーンスパンの側に向かって付勢するとき、前記連結部を介して、前記第1のテンショナアームの前記第1のフランジ部が前記第2のテンショナアームの前記第2のフランジ部を回動させて、前記第2のテンショナアームの前記第2のアーム部を前記第2のチェーンスパンの側に移動させるようになっている、
    ことを特徴とするテンショニング装置。
  2. 請求項1において、
    前記連結部が、
    前記第2のフランジ部の前記オーバラップ部分に貫通形成された長孔と、
    前記第1のフランジ部に突設されかつ前記長孔に係合するとともに、前記長孔に沿ってスライド自在な突設部と、
    から構成されている、
    ことを特徴とするテンショニング装置。
  3. 請求項1において、
    前記連結部が、
    前記第1のフランジ部の前記オーバラップ部分に貫通形成された第1の長孔と、
    前記第2のフランジ部の前記オーバラップ部分に貫通形成され、前記第1の長孔と一部オーバラップする第2の長孔と、
    当該テンショニング装置の据付側に設けられ、前記第1、第2の長孔と一部オーバラップしつつ、前記第1、第2の長孔と交差する方向に延びる第3の長孔と、
    前記第3の長孔から突設しつつ前記第1ないし第3の長孔のオーバラップ部分に係止されるとともに、前記第1、第2のフランジ部の回動時に前記第1ないし第3の長孔の前記オーバラップ部分に沿ってスライド自在な突設部と、
    から構成されている、
    ことを特徴とするテンショニング装置。
  4. 請求項1において、
    前記連結部が、
    前記第1、第2のフランジ部にそれぞれ形成され、互いに噛み合う第1、第2の歯部から構成されている、
    ことを特徴とするテンショニング装置。
  5. 請求項1において、
    前記付勢手段が、前記第1のチェーンスパンの外側に配置され、伸退自在なピストンを有するテンショナである、
    ことを特徴とするテンショニング装置。
  6. 請求項1において、
    前記付勢手段が、前記第1のフランジ部に一端が係止されかつ前記第2のフランジ部に他端が係止された引張ばねである、
    ことを特徴とするテンショニング装置。
  7. 請求項1において、
    前記第1または第2のテンショナアームの前記支軸には、前記第1または第2のテンショナアームの前記第1、第2のチェーンスパンの側への移動を許容しつつ逆方向への移動を規制するためのラチェット機構が設けられている、
    ことを特徴とするテンショニング装置。
  8. 請求項1において、
    前記第1または第2のテンショナアームの前記支軸には、前記第1または第2のテンショナアームの前記第1、第2のチェーンスパンの側に付勢する捩じりコイルばねが設けられている、
    ことを特徴とするテンショニング装置。
  9. 請求項1において、
    前記チェーンが、エンジンの補機駆動用のチェーンまたはオイルポンプ駆動用のチェーンである、
    ことを特徴とするテンショニング装置。
JP2008250886A 2008-09-29 2008-09-29 テンショニング装置 Expired - Fee Related JP5469326B2 (ja)

Priority Applications (5)

Application Number Priority Date Filing Date Title
JP2008250886A JP5469326B2 (ja) 2008-09-29 2008-09-29 テンショニング装置
US13/120,742 US8608601B2 (en) 2008-09-29 2009-09-25 Tensioning device
CN200980135852.9A CN102159849B (zh) 2008-09-29 2009-09-25 张紧装置
PCT/US2009/058336 WO2010036868A2 (en) 2008-09-29 2009-09-25 Tensioning device
EP09816893A EP2340379B1 (en) 2008-09-29 2009-09-25 Tensioning device

Applications Claiming Priority (1)

Application Number Priority Date Filing Date Title
JP2008250886A JP5469326B2 (ja) 2008-09-29 2008-09-29 テンショニング装置

Publications (2)

Publication Number Publication Date
JP2010084775A true JP2010084775A (ja) 2010-04-15
JP5469326B2 JP5469326B2 (ja) 2014-04-16

Family

ID=42060394

Family Applications (1)

Application Number Title Priority Date Filing Date
JP2008250886A Expired - Fee Related JP5469326B2 (ja) 2008-09-29 2008-09-29 テンショニング装置

Country Status (5)

Country Link
US (1) US8608601B2 (ja)
EP (1) EP2340379B1 (ja)
JP (1) JP5469326B2 (ja)
CN (1) CN102159849B (ja)
WO (1) WO2010036868A2 (ja)

Cited By (2)

* Cited by examiner, † Cited by third party
Publication number Priority date Publication date Assignee Title
WO2017159577A1 (ja) * 2016-03-17 2017-09-21 マツダ株式会社 エンジンの補機駆動装置
KR20180113920A (ko) * 2017-04-07 2018-10-17 가부시기가이샤쯔바기모도체인 체인 가이드 기구

Families Citing this family (8)

* Cited by examiner, † Cited by third party
Publication number Priority date Publication date Assignee Title
CN102822568A (zh) * 2010-04-15 2012-12-12 博格华纳公司 具有摆臂的张紧安排
JP5705973B2 (ja) * 2010-05-21 2015-04-22 ボーグワーナー インコーポレーテッド 連続ベルト又はチェーン駆動システム用のテンショニング機構
DE102013218354B4 (de) * 2013-09-13 2024-03-14 Bayerische Motoren Werke Aktiengesellschaft Spannvorrichtung einer Kette
USD721388S1 (en) * 2013-10-04 2015-01-20 The Gates Corporation Tensioner bracket
US10408095B2 (en) * 2015-01-05 2019-09-10 Edward Charles Mendler Variable compression ratio engine camshaft drive
DE102015011318A1 (de) * 2015-08-28 2017-03-02 Iwis Motorsysteme Gmbh & Co. Kg Kettentrieb mit Kombinationsschiene
US10487921B2 (en) * 2016-12-21 2019-11-26 Harley-Davidson Motor Company Group, LLC Engine with inboard cam drive tensioner
US11253977B2 (en) * 2018-11-20 2022-02-22 Corwin Road, L.L.C. Turning device for decorating tumblers

Citations (6)

* Cited by examiner, † Cited by third party
Publication number Priority date Publication date Assignee Title
US3869138A (en) * 1973-04-04 1975-03-04 Ford Motor Co Steering device having a chain operated steering gear actuator
JPS54183570U (ja) * 1978-06-16 1979-12-26
JPS6086664U (ja) * 1983-11-21 1985-06-14 スズキ株式会社 チエンテンシヨナ−
DE4427509A1 (de) * 1994-08-03 1996-02-08 Linde Ag Zugmittelgetriebe zum Betrieb in beide Drehrichtungen
JP2007010142A (ja) * 2005-06-28 2007-01-18 Borgwarner Inc テンショナ
JP2008501912A (ja) * 2004-06-08 2008-01-24 バイエリッシェ モートーレン ウエルケ アクチエンゲゼルシャフト トラクション機構

Family Cites Families (42)

* Cited by examiner, † Cited by third party
Publication number Priority date Publication date Assignee Title
US1581624A (en) 1925-03-18 1926-04-20 Wunderlich Paul Synchronized regulator
US1758246A (en) 1926-06-21 1930-05-13 Edward M Brackett Belt guide
US2044158A (en) 1934-04-12 1936-06-16 Westinghouse Elec Elevator Co Chain gear
US2066721A (en) 1935-05-22 1937-01-05 Jarecki Mfg Company Belt tightening means
US2129107A (en) 1936-03-28 1938-09-06 Fairbanks Morse & Co Power transmission mechanism
US2156701A (en) 1936-11-21 1939-05-02 R G Wright & Company Belt drive mechanism
US2117195A (en) 1937-02-05 1938-05-10 Kirsch Co Venetian blind tilting mechanism
US3136169A (en) 1961-04-19 1964-06-09 Reimers Getriebe Kg Automatic chain tightening mechanism for infinitely variable cone pulley gears
DE1500474B2 (de) 1965-12-02 1971-10-07 Pahtex Project Co GmbH, 4150 Kre feld Riementrieb mit Spannvorrichtung
US3811332A (en) 1972-08-22 1974-05-21 Fmc Corp Automatic tensioning device
US3856101A (en) 1973-04-04 1974-12-24 Ford Motor Co Power steering device
GB1513722A (en) 1974-06-26 1978-06-07 Renold Ltd Damper apparatus for applying a tensioning force to a member
US4395251A (en) 1980-02-11 1983-07-26 Borg-Warner Limited Tensioning devices
US4337055A (en) 1980-03-10 1982-06-29 Autotron Equipment Corporation Drive belt tensioning apparatus
DE3326319A1 (de) 1983-07-21 1985-01-31 Dr.Ing.H.C. F. Porsche Ag, 7000 Stuttgart Kettentrieb einer hubkolben-brennkraftmaschine
DE3534446A1 (de) * 1985-09-27 1987-04-09 Daimler Benz Ag Brennkraftmaschine mit zwei nebeneinander angeordneten nockenwellen
DE3828350A1 (de) 1988-08-20 1990-03-01 Skf Gmbh Automatische spannvorrichtung
US5246404A (en) 1989-04-28 1993-09-21 Nhk Spring Company Limited Unit tensioner
US5266066A (en) 1992-08-21 1993-11-30 Borg-Warner Automative, Inc. Spring blade chain tensioner
JPH08247236A (ja) 1995-03-07 1996-09-24 Tsubakimoto Chain Co チェーン緊張装置
DE19536643A1 (de) 1995-09-30 1997-04-03 Schaeffler Waelzlager Kg Spannvorrichtung für einen Steuertrieb
US5797818A (en) 1996-04-02 1998-08-25 Cloyes Gear And Products, Inc. Chain tensioner with damping feature
JP3113224B2 (ja) * 1997-10-14 2000-11-27 株式会社椿本チエイン テンショナガイド
DE19842723C2 (de) 1998-09-18 2000-11-02 Porsche Ag Kettentrieb für Brennkraftmaschinen
IT1308453B1 (it) 1999-04-23 2001-12-17 Iveco Fiat Dispositivo di trasmissione a catena per il comando delladistribuzione di un motore endotermico a due alberi a camme in testa
JP3432197B2 (ja) 2000-02-02 2003-08-04 株式会社椿本チエイン バックラッシュを有するラチェット式テンショナ
US6322469B1 (en) 2000-04-21 2001-11-27 Borgwarner Inc. Dual arm chain tensioner for contacting multiple chain strands
US6358169B1 (en) * 2000-05-02 2002-03-19 Borgwarner Inc. Chain tensioner system having a pivoting tensioner arm
US6322470B1 (en) * 2000-05-17 2001-11-27 Borgwarner Inc. Pivoting dual arm chain tensioner system for contacting multiple chain strands
EP1322874B1 (en) * 2000-10-03 2008-01-02 The Gates Corporation Accessory and motor/generator belt drive tensioner
GB2383832B (en) 2000-10-17 2004-06-09 Cloyes Gear & Products Inc Blade-type mechanical chain tensioner with external strengthening rib
US6955621B2 (en) * 2001-04-26 2005-10-18 Borgwarner Inc. Rotary actuating hydraulic tensioner
US6942589B2 (en) 2002-02-08 2005-09-13 Dayco Products, Llc Offset starter generator drive utilizing a fixed-offset dual-arm pivoted tensioner
ITMI20021243A1 (it) * 2002-06-07 2003-12-09 Regina Ind Spa Tenditore a fluido per catena
US6849015B2 (en) * 2003-01-31 2005-02-01 Borgwarner Inc. Ratcheting pivot arm tensioner with backlash
US7097579B2 (en) * 2003-10-15 2006-08-29 Borgwarner Inc. Pivoting chain guide and tensioner assembly
KR100524255B1 (ko) * 2003-12-23 2005-11-01 조문행 복합 유성 기어 세트 및 이를 갖는 기어 트레인
US20060270502A1 (en) * 2005-05-27 2006-11-30 Borgwarner Inc. Tensioner for simultaneously tensioning multiple strands
US7455606B2 (en) 2005-06-08 2008-11-25 Borgwarner Inc. Mechanical chain tensioner with a rotational ratcheting device
US7476168B2 (en) * 2005-08-15 2009-01-13 Borgwarner Inc. Pivoting mechanical tensioner with cross strand damping
US7628719B2 (en) * 2005-10-26 2009-12-08 Borgwarner, Inc. Mechanical strap tensioner for multi-strand tensioning
JP5226665B2 (ja) * 2006-04-20 2013-07-03 ボーグワーナー インコーポレーテッド チェーン駆動用のラチェット機構

Patent Citations (6)

* Cited by examiner, † Cited by third party
Publication number Priority date Publication date Assignee Title
US3869138A (en) * 1973-04-04 1975-03-04 Ford Motor Co Steering device having a chain operated steering gear actuator
JPS54183570U (ja) * 1978-06-16 1979-12-26
JPS6086664U (ja) * 1983-11-21 1985-06-14 スズキ株式会社 チエンテンシヨナ−
DE4427509A1 (de) * 1994-08-03 1996-02-08 Linde Ag Zugmittelgetriebe zum Betrieb in beide Drehrichtungen
JP2008501912A (ja) * 2004-06-08 2008-01-24 バイエリッシェ モートーレン ウエルケ アクチエンゲゼルシャフト トラクション機構
JP2007010142A (ja) * 2005-06-28 2007-01-18 Borgwarner Inc テンショナ

Cited By (6)

* Cited by examiner, † Cited by third party
Publication number Priority date Publication date Assignee Title
WO2017159577A1 (ja) * 2016-03-17 2017-09-21 マツダ株式会社 エンジンの補機駆動装置
JP2017166616A (ja) * 2016-03-17 2017-09-21 マツダ株式会社 エンジンの補機駆動装置
US10865857B2 (en) 2016-03-17 2020-12-15 Mazda Motor Corporation Accessory drive device for engine
KR20180113920A (ko) * 2017-04-07 2018-10-17 가부시기가이샤쯔바기모도체인 체인 가이드 기구
KR102135861B1 (ko) * 2017-04-07 2020-07-20 가부시기가이샤쯔바기모도체인 체인 가이드 기구
US10738862B2 (en) 2017-04-07 2020-08-11 Tsubakimoto Chain Co. Chain guide mechanism

Also Published As

Publication number Publication date
CN102159849A (zh) 2011-08-17
CN102159849B (zh) 2014-06-18
EP2340379A4 (en) 2012-03-21
WO2010036868A3 (en) 2010-07-08
JP5469326B2 (ja) 2014-04-16
WO2010036868A2 (en) 2010-04-01
EP2340379B1 (en) 2012-11-07
EP2340379A2 (en) 2011-07-06
US8608601B2 (en) 2013-12-17
US20110201465A1 (en) 2011-08-18

Similar Documents

Publication Publication Date Title
JP5469326B2 (ja) テンショニング装置
US6322470B1 (en) Pivoting dual arm chain tensioner system for contacting multiple chain strands
CN102667243B (zh) 具有移动臂的多段张紧安排
JP4619072B2 (ja) 枢支チェーンガイド・テンショナアーム組立体
JPH11118006A (ja) チェーン駆動システム用調整装置
JP5244808B2 (ja) 摺動ラチェット機構を備えた枢支アームテンショナ
JP2009108909A (ja) チェーン伝動用テンショナレバー
JP4046684B2 (ja) エンジン用テンショナ
JP2004232859A (ja) テンショニングシステム
JP2006329418A (ja) テンショナ装置
CN101243269B (zh) 具有跨段减振的枢转机械张紧器
US20130023367A1 (en) Tensioning arrangement having a swinging arm
JP5424446B2 (ja) テンショニング装置
JP5618738B2 (ja) チェーンテンショナー装置
JP4275609B2 (ja) チェーンテンショナー
JP3193272U (ja) スタータチェーンガイド装置
JP4777660B2 (ja) ブレードテンショナ装置
KR100534702B1 (ko) V형 엔진의 체인 구동 시스템
JP2002061721A (ja) チェーンの張力調整装置
JP2009250384A (ja) チェーンテンショナ装置
RU181429U1 (ru) Натяжное устройство
CN204691928U (zh) 发动机
JP2009299727A (ja) チェーン伝動用可動レバー
JP2010001913A (ja) チェーン伝動用可動レバー
JP2011256944A (ja) チェーン張力付与機構

Legal Events

Date Code Title Description
A621 Written request for application examination

Free format text: JAPANESE INTERMEDIATE CODE: A621

Effective date: 20110722

A521 Request for written amendment filed

Free format text: JAPANESE INTERMEDIATE CODE: A523

Effective date: 20120603

A977 Report on retrieval

Free format text: JAPANESE INTERMEDIATE CODE: A971007

Effective date: 20130220

A131 Notification of reasons for refusal

Free format text: JAPANESE INTERMEDIATE CODE: A131

Effective date: 20130225

A521 Request for written amendment filed

Free format text: JAPANESE INTERMEDIATE CODE: A523

Effective date: 20130329

A131 Notification of reasons for refusal

Free format text: JAPANESE INTERMEDIATE CODE: A131

Effective date: 20130805

A521 Request for written amendment filed

Free format text: JAPANESE INTERMEDIATE CODE: A523

Effective date: 20130831

TRDD Decision of grant or rejection written
A01 Written decision to grant a patent or to grant a registration (utility model)

Free format text: JAPANESE INTERMEDIATE CODE: A01

Effective date: 20140127

A61 First payment of annual fees (during grant procedure)

Free format text: JAPANESE INTERMEDIATE CODE: A61

Effective date: 20140131

R150 Certificate of patent or registration of utility model

Ref document number: 5469326

Country of ref document: JP

Free format text: JAPANESE INTERMEDIATE CODE: R150

Free format text: JAPANESE INTERMEDIATE CODE: R150

R250 Receipt of annual fees

Free format text: JAPANESE INTERMEDIATE CODE: R250

R250 Receipt of annual fees

Free format text: JAPANESE INTERMEDIATE CODE: R250

R250 Receipt of annual fees

Free format text: JAPANESE INTERMEDIATE CODE: R250

R250 Receipt of annual fees

Free format text: JAPANESE INTERMEDIATE CODE: R250

R250 Receipt of annual fees

Free format text: JAPANESE INTERMEDIATE CODE: R250

LAPS Cancellation because of no payment of annual fees