JP2010083287A - 自動車車体の製造方法 - Google Patents

自動車車体の製造方法 Download PDF

Info

Publication number
JP2010083287A
JP2010083287A JP2008253503A JP2008253503A JP2010083287A JP 2010083287 A JP2010083287 A JP 2010083287A JP 2008253503 A JP2008253503 A JP 2008253503A JP 2008253503 A JP2008253503 A JP 2008253503A JP 2010083287 A JP2010083287 A JP 2010083287A
Authority
JP
Japan
Prior art keywords
vehicle body
side sill
pillar
frame structure
space frame
Prior art date
Legal status (The legal status is an assumption and is not a legal conclusion. Google has not performed a legal analysis and makes no representation as to the accuracy of the status listed.)
Granted
Application number
JP2008253503A
Other languages
English (en)
Other versions
JP5347410B2 (ja
Inventor
Naohisa Uesugi
直久 上杉
Tsutomu Tanaka
力 田中
Akinori Utsunomiya
昭則 宇都宮
Yoichiro Kitahara
陽一郎 北原
Takeya Himuro
雄也 氷室
Current Assignee (The listed assignees may be inaccurate. Google has not performed a legal analysis and makes no representation or warranty as to the accuracy of the list.)
Mazda Motor Corp
Original Assignee
Mazda Motor Corp
Priority date (The priority date is an assumption and is not a legal conclusion. Google has not performed a legal analysis and makes no representation as to the accuracy of the date listed.)
Filing date
Publication date
Application filed by Mazda Motor Corp filed Critical Mazda Motor Corp
Priority to JP2008253503A priority Critical patent/JP5347410B2/ja
Publication of JP2010083287A publication Critical patent/JP2010083287A/ja
Application granted granted Critical
Publication of JP5347410B2 publication Critical patent/JP5347410B2/ja
Expired - Fee Related legal-status Critical Current
Anticipated expiration legal-status Critical

Links

Images

Landscapes

  • Automobile Manufacture Line, Endless Track Vehicle, Trailer (AREA)
  • Body Structure For Vehicles (AREA)

Abstract

【課題】スペースフレーム構造の車体を、モノコック構造の車体を組み立てる組立ラインに混流して組み立てることができる自動車車体の製造方法を提供する。
【解決手段】スペースフレーム構造の車体を組み立てるに際し、フロアパネル11を含むアンダーボディ10に閉断面状に形成される周壁部12a、12b、12c、12dの内部にリブ12e、12fが一体的に形成されたサイドシル12を組み付けるステップと、車体上下方向に延びる複数のピラー22を含むサイドボディ20の前記各ピラーの下部を互いに車体前後方向に離間して設けるステップと、前記アンダーボディに前記サイドボディを組み付けるとともに、前記サイドシルの前記リブに前記各ピラーの下部を接合するステップとを備え、前記サイドシルは、前記周壁部の一部が切り欠かれて前記リブの一部が露出させられ、前記リブの露出した部分に前記各ピラーの下部が接合される。
【選択図】図2

Description

この発明は、モノコック構造の車体を組み立てる組立ラインにおいて、モノコック構造の車体にスペースフレーム構造の車体を混流してスペースフレーム構造の車体を組み立てる自動車車体の製造方法に関する。
周知のように、自動車の車体構造として、モノコック構造やスペースフレーム構造が一般に知られており、モノコック構造の車体は、独立したフレーム骨格を用いることなくパネルを組み付けることによりボディが形成されて製造されるのに対し、スペースフレーム構造の車体は、フレーム骨格を形成した後にパネルを組み付けることによりボディが形成されて製造されている。
このようなスペースフレーム構造の車体に関するものとして、例えば特許文献1には、フレーム部材の交差結合部分に関するものではあるが、ルーフクロス部材とピラー部材とフロアクロス部材とを連結してキャビン部を左右方向断面で連続的に囲繞する第1骨格部材群と、ルーフフレーム部材と前方ピラー部材と後方ピラー部材とフロアフレーム部材とを連結してキャビン部を前後方向断面で連続的に囲繞する第2の骨格部材群とを相互に交差結合することにより、キャビン部を前後・左右方向に囲繞する構造を有する車両骨格構造が開示されている。
特開2004−338419号公報
ところで、近年、自動車の車体を組み立てる組立ラインにおいては、車種の多様化や組立コストの低減化の要請に応える一環として、モノコック構造の車体とスペースフレーム構造の車体とを1つの組立ラインにおいて混流して組み立てることが考えられている。
ここで、図9は、モノコック構造の車体を組み立てる組立ラインを示す図であり、図9では、位置決め精度が要求される精度保証工程を二重枠により囲み、接合強度が要求される強度保証工程に斜線ハッチングを施している。図9に示すように、モノコック構造の車体を組み立てる際には、先ず、フロントフレームと、フロントフロアパネルと、リアフレームと、リアフロアパネルとがそれぞれサブアセンブリーとして組み立てられる。
次に、サブアセンブリーとして組み立てられたフロントフレームとフロントフロアパネルとが位置決めされた状態で仮付けされフロントボディが組み立てられる一方、サブアセンブリーとして組み立てられたリアフレームとリアフロアパネルとが位置決めされた状態で仮付けされリアボディが組み立てられる。そして、仮付け状態にあるフロントボディとリアボディとが、位置決めされた状態で仮付けされアンダーボディが組み立てられる。
アンダーボディが組み立てられた後には、仮付け状態にあるアンダーボディに対して増打ち溶接が施される。図9に示すモノコック構造の車体の組立ラインでは、2回の増打ち溶接工程が行われ、フロントボディとリアボディとが増打ち溶接されてアンダーボディの接合強度が確保される。
そして、このようにして組み立てられたアンダーボディに、サブアセンブリーとして組み立てられたサイドボディとルーフとがそれぞれ位置決めされた状態で仮付けされ、ボディシェルが組み立てられる。仮付け状態にあるボディシェルに対して再び増打ち溶接が施される。図9に示すモノコック構造の車体の組立ラインでは、3回の増打ち溶接工程が行われ、アンダーボディにサイドボディサブアセンブリー及びルーフサブアセンブリーが増打ち溶接されてボディシェルの接合強度が確保される。このようにして、モノコック構造の車体を構成するボディシェルが組み立てられる。
一方、図10は、スペースフレーム構造の車体を組み立てる組立ラインを示す図であり、図10においても、位置決め精度が要求される精度保証工程を二重枠により囲み、接合強度が要求される強度保証工程に斜線ハッチングを施している。図10に示すように、スペースフレーム構造の車体を組み立てる際には、先ず、フロントフレームとリアフレームがそれぞれ、サブアセンブリーとして組み立てられる。
次に、サブアセンブリーとして組み立てられたフロントフレームとリアフレームとが位置決めされた状態で仮付けされ、仮付け状態にあるフロントフレームサブアセンブリーとリアフレームサブアセンブリーとに対して増打ち溶接が施され、フロントフレームサブアセンブリーとリアフレームサブアセンブリーとの接合強度が確保される。
その後に、ダッシュパネルが位置決めされた状態で仮付けされ、仮付け状態にあるダッシュパネルに対して増打ち溶接が施され、ダッシュパネルの接合強度が確保される。フロントフロアパネルとリアフロアパネルについてもそれぞれ順に、仮付けされた後に増打ち溶接が施され、フロントフロアパネルとリアフロアパネルの接合強度が確保され、これにより、アンダーボディが組み立てられる。
そして、このようにして組み立てられたアンダーボディに対して、サブアセンブリーとして組み立てられたサイドフレームインナと、ルーフフレームと、サイドフレームアウタと、ルーフパネルと、リアエンドパネルとがそれぞれ順に、位置決めされた状態で仮付けされ、その後に増打ち溶接が施されて接合強度が確保される。このようにして、スペースフレーム構造の車体を構成するボディシェルが組み立てられる。
前述したように、モノコック構造の車体とスペースフレーム構造の車体とを1つの組立ラインにおいて混流して組み立てる場合、図9及び図10に示すように、モノコック構造の車体の組立ラインは、スペースフレーム構造の車体の組立ラインに比べて精度保証工程や強度保証工程が少ないので、モノコック構造の車体の組立ラインにおいてモノコック構造の車体にスペースフレーム構造の車体を混流して組み立てることが好ましい。
しかしながら、モノコック構造の車体にスペースフレーム構造の車体を混流してスペースフレーム構造の車体を組み立てる場合には、モノコック構造の車体の組立ラインでは、アンダーボディにサブアセンブリーとして組み立てられたサイドボディを組み付けることとなるので、スペースフレーム構造の車体において閉断面状に一体的に形成されたサイドシルを如何に組み付けるかが問題となる。
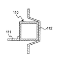
図11は、モノコック構造の車体においてサイドシルを形成する方法を説明するための説明図であり、モノコック構造の車体における車体側面の一部を断面図で示している。モノコック構造の車体において、車体側面の下部に車体前後方向に延び閉断面状に形成されるサイドシルを有する場合、図11に示すように、サイドシル100は、車幅方向内方へ膨出し断面ハット状に形成されたサイドシルインナ101と、車幅方向外方へ膨出し断面ハット状に形成されたサイドシルアウタ102とを備え、サイドシルインナ101とサイドシルアウタ102の上端部及び下端部がそれぞれフランジ結合により接合されて閉断面状に形成される。
また、図11に示すモノコック構造の車体では、サイドシルインナ101の車幅方向内方側には、サイドシルインナ101にフロアパネル103が接合され、サイドシルアウタ102の車幅方向外方側には、車幅方向外方へ膨出し断面ハット状に形成されたサイドフレームアウタ104が、サイドシルインナ101とサイドシルアウタ102と共にフランジ結合により接合されている。
このようにして構成されるサイドシル100を備えたモノコック構造の車体をモノコック構造の車体組立ラインにおいて製造する場合、フロアパネル103にサイドシルインナ101が取り付けられたアンダーボディ105と、サイドシルアウタ102とサイドフレームアウタ104とが取り付けられたサイドボディ106とを組み付ける際に、サイドシルインナ101とサイドシルアウタ102とがそれぞれ上端部及び下端部においてフランジ結合され、閉断面状のサイドシル100が形成される。
これに対し、スペースフレーム構造の車体では、サイドシルは閉断面状に一体的に形成されるので、モノコック構造の車体のように、フランジ結合するためのフランジ部を設ける必要がなく、サイドシルを形成するためにフランジ結合する必要もないので、組立工程の簡略化や車体の軽量化を図ることができる。
図12は、スペースフレーム構造の車体においてサイドシルを含む車体側面の一部を示す断面図である。スペースフレーム構造の車体では、図12に示すように、車体側面の下部において車体前後方向に延びるサイドシル110は、閉断面状に一体的に形成され、サイドシル110の車幅方向内方側にはフロアパネル111が取り付けられ、サイドシル110の車幅方向外方側には、車体上下方向に延び車幅方向外方へ膨出し断面ハット状に形成されたサイドフレームアウタ112が取り付けられる。なお、後述する図13、図14に示すように、サイドシル110と車体上下方向に延びるピラーとが交差する部分では、サイドシル110とサイドフレームアウタ112との間にピラーが取り付けられる。
このようなサイドシル110を備えたスペースフレーム構造の車体をモノコック構造の車体の組立ラインにおいて製造する場合、車体上下方向に延びるピラー及びサイドフレームアウタ112を含むサイドボディと、フロアパネル111を含むアンダーボディとの何れかにサイドシル110を組み付けることが必要となるが、サイドシル110をサイドボディに組み付けると、フロアパネル111を含むアンダーボディを搬送する際にフロアパネル111が変形する畏れがあるので、サイドシル110をアンダーボディに組み付けることが考えられる。
しかしながら、サイドシル110をフロアパネル111に接合させてアンダーボディに組み付け、アンダーボディとサイドボディとを組み付ける場合、図12に示すサイドフレームアウタ112においては、サイドシル110の車幅方向外方側においてサイドシル110とサイドフレームアウタ112とを接合することが困難であり、また、サイドシルとピラーとが交差する部分においては、サイドシルに対するピラーの位置決め精度を確保することが困難である。
図13は、スペースフレーム構造の車体においてサイドシルを含む車体側面の別の一部を示す断面図であり、図13では、サイドシルとピラーとが交差する部分について示している。図13に示すように、サイドシル110がフロアパネル(不図示)に接合され組み付けられたアンダーボディ115と、車体上下方向に延びるピラー113とサイドフレームアウタ112とを含むサイドボディ116とを組み付ける際に、サイドシル110とピラー113とを接触させ、サイドシル110とピラー113との接触部分の上端部及び下端部を溶接して溶接部117、118を形成することで、閉断面状に一体的に形成されたサイドシル110を有するスペースフレーム構造の車体をモノコック構造の車体の組立ラインにおいて組み立てることが可能であるが、かかる場合には、車体側面の見栄えを確保するために溶接部118を覆うようにサイドシルガーニッシュ119を取り付ける必要があり、また、サイドシル110に対するピラー113の位置決め精度を確保できない場合がある。
図14は、スペースフレーム構造の車体において別のサイドシルを含む車体側面の一部を示す断面図であり、サイドシルとピラーとが交差する部分について示している。図14に示すように、サイドシル120がフロアパネル(不図示)に接合され組み付けられたアンダーボディと、ピラー123とサイドフレームアウタ122とを含むサイドボディとを組み付ける際に、サイドシル120とピラー123とを接触させた後に、ピラー123に形成した位置決め用孔部123aとサイドフレームアウタ122に形成した位置決め用孔部122aとに位置決めピン125を押し込み、位置決めピン125を押し込んだ状態で、サイドシル120とピラー123との接触部分の上端部及び下端部を溶接して溶接部127、128を形成することで、サイドシル120に対するピラー123の位置決め精度を確保することが可能であるが、かかる場合には、サイドシル120に対するピラー123の位置決め精度を確保するために位置決めするための部品を別途用いる必要がある。
したがって、車体側面の見栄えを確保するための部品やサイドシルに対するピラーの位置決め精度を確保するための部品を別途設けることなく、車体側面の見栄えやピラーの位置決め精度を確保し、閉断面状に一体的に形成されたサイドシルを有するスペースフレーム構造の車体をモノコック構造の車体の組立ラインにおいてモノコック構造の車体に混流して組み立てることが望まれる。
そこで、この発明は、前記技術的課題に鑑みてなされたものであり、閉断面状に一体的に形成されたサイドシルを有するスペースフレーム構造の車体を、車体側面の見栄えやピラーの位置決め精度を確保し、モノコック構造の車体を組み立てる組立ラインに混流して組み立てることができる自動車車体の製造方法を提供することを目的とする。
このため、本願の請求項1に係る自動車車体の製造方法は、モノコック構造の車体にスペースフレーム構造の車体を混流して、スペースフレーム構造の車体を組み立てるようにした自動車車体の製造方法であって、スペースフレーム構造の車体において、フロアパネルを含むアンダーボディに、閉断面状に形成される周壁部の内部にリブが一体的に形成されたサイドシルを組み付けるステップと、スペースフレーム構造の車体において、車体上下方向に延びる複数のピラーを含むサイドボディの前記各ピラーの下部を互いに車体前後方向に離間して設けるステップと、前記アンダーボディに前記サイドボディを組み付けるとともに、前記サイドシルの前記リブに前記各ピラーの下部を接合するステップとを備え、前記サイドシルは、前記周壁部の一部が切り欠かれて前記リブの一部が露出させられ、前記リブの露出した部分に前記各ピラーの下部が接合されることを特徴としたものである。
また、本願の請求項2に係る発明は、請求項1に係る発明において、前記サイドシルの前記リブが、車幅方向と交わる方向に延びる面及び/又は車体上下方向と交わる方向に延びる面を有し、前記サイドシルの前記リブに前記各ピラーの下部を接合する際に、前記各ピラーの下部を前記リブの前記面に接合させることにより、前記サイドシルに対する前記各ピラーの位置決めが行われることを特徴としたものである。
更に、本願の請求項3に係る発明は、請求項1又は2に係る発明において、前記サイドボディが、車体上下方向に延びるサイドフレームアウタを含み、前記サイドフレームアウタは、前記アンダーボディに前記サイドボディが組み付けられた際に前記サイドシルの下部まで延びるように形成されていることを特徴としたものである。
また更に、本願の請求項4に係る発明は、請求項1〜3の何れか一に係る発明において、前記サイドシルが、押出成形により製造されることを特徴としたものである。
本願の請求項1に係る自動車車体の製造方法によれば、スペースフレーム構造の車体において、アンダーボディに、閉断面状に形成される周壁部の内部にリブが一体的に形成されたサイドシルを組み付けるステップと、サイドボディの各ピラーの下部を互いに車体前後方向に離間して設けるステップと、アンダーボディにサイドボディを組み付けるとともに、サイドシルのリブに各ピラーの下部を接合するステップとを備えていることにより、スペースフレーム構造の車体において、サイドシルに対してピラーを位置決めするための部品を別途設ける必要がなく、ピラーの位置決め精度を確保し、サイドシルが組み付けられたアンダーボディにサイドボディを組み付けることができるので、モノコック構造の車体を組み立てる組立ラインにスペースフレーム構造の車体を混流して組み立てることができ、モノコック構造の車体とスペースフレーム構造の車体との混流生産を容易に行うことができる。
また、本願の請求項2に係る発明によれば、サイドシルのリブが、車幅方向と交わる方向に延びる面及び/又は車体上下方向と交わる方向に延びる面を有し、サイドシルのリブに各ピラーの下部を接合する際に、各ピラーの下部をリブの面に接合させることにより、サイドシルに対する各ピラーの位置決めが行われることにより、サイドシルにピラーを組み付ける際に車幅方向及び/又は車体上下方向におけるピラーの位置決めを比較的簡単に且つ確実に行うことができ、前記効果をより有効に奏することができる。
更に、本願の請求項3に係る発明によれば、サイドフレームアウタは、アンダーボディにサイドボディが組み付けられた際にサイドシルの下部まで延びるように形成されることにより、スペースフレーム構造の車体において、車体側面の見栄えを確保するための部品を別途設ける必要がなく、車体側面の見栄えを阻害することなく、閉断面状に一体的に形成されたサイドシルが組み付けられたアンダーボディにサイドボディを組み付けることができ、前記効果をより有効に奏することができる。
また更に、本願の請求項4に係る発明によれば、サイドシルが、押出成形により製造されることにより、閉断面状に形成される周壁部の内部にリブが一体的に形成されたサイドシルを比較的簡単に製造することができ、前記効果を有効に実現することができる。
以下、本発明の実施形態について、添付図面を参照しながら説明する。
図1は、本発明の実施形態に係るスペースフレーム構造の車体を分解して示す分解斜視図である。図1に示すように、本発明の実施形態に係るスペースフレーム構造の車体1は、車体底面部を構成するアンダーボディ10と、アンダーボディ10の左右両側の車体側壁部を構成するサイドボディ20と、車体屋根部を構成するルーフ30とを備えている。
アンダーボディ10は、平板状に形成されるフロアパネル11を備え、アンダーボディ10には、フロアパネル11の車幅方向両側に車体前後方向に延び閉断面状に一体的に形成されるサイドシル12が取り付けられている。一方、サイドボディ20は、車体上下方向に延びるフロントピラー21、センターピラー22及びリアピラー23と車体前後方向に延びるサイドフレーム24とが接合されたサイドフレームインナと、前記サイドフレームインナの車幅方向外方側に設けられ車体上下方向に延びるサイドフレームアウタ25とが組み付けられて構成されている。フロントピラー21、センターピラー22及びリアピラー23は、それぞれの上端部がサイドフレーム24に接合され、その下部が互いに車体前後方向に離間して設けられている。
本実施形態に係るスペースフレーム構造の車体1は、図9に示すモノコック構造の車体を組み立てる組立ラインにおいてモノコック構造の車体に混流して組み立てられるようにしたものであり、モノコック構造の車体の組立ラインにおいて組み立てる際には、閉断面状に一体的に形成されたサイドシル12がフロアパネル11を含むアンダーボディ10に組み付けられ、サイドシル12が組み付けられたアンダーボディ10に対して、前記サイドフレームインナとサイドフレームアウタ25とが組み付けられたサイドボディ20とルーフ30とが組み付けられる。
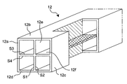
図2は、前記スペースフレーム構造の車体においてサイドシルを含む車体側面の一部を示す断面図であり、図2では、サイドシルとセンターピラーとが交差する部分について示している。また、図3は、前記スペースフレーム構造の車体におけるサイドシルを示す斜視図である。
図2に示すように、スペースフレーム構造の車体1では、フロアパネル11に閉断面状に一体的に形成されたサイドシル12が取り付けられている。このサイドシル12は、車幅方向内方側の周壁部12a、車体上方側の周壁部12b、車幅方向外方側の周壁部12c及び車体下方側の周壁部12dを備え、周壁部12a、12b、12c、12dによって断面四角形状に形成され、閉断面状に形成されている。
サイドシル12はまた、閉断面状に形成される周壁部12a、12b、12c、12dの内部に、車体上方側の周壁部12bと車体下方側の周壁部12dとを連結して車体上下方向に延び、車幅方向と交わる方向に延びる車幅方向内方側の面S1と車幅方向外方側の面S2とを有する縦リブ12eと、車幅方向内方側の周壁部12aと車幅方向外方側の周壁部12cとを連結して車幅方向に延び、車体上下方向と交わる方向に延びる車体上方側の面S3と車体下方側の面S4とを有する横リブ12fとを備え、周壁部12a、12b、12c、12d、縦リブ12e及び横リブ12fによって断面田の字状に一体的に形成されている。
また、サイドシル12は、センターピラー22を組み付けるために周壁部12a、12b、12c、12dの一部が切り欠かれ、具体的には、縦リブ12eの車幅方向外方側に位置する車体上方側の周壁部12bと、車幅方向外方側の周壁部12cと、縦リブ12eの車幅方向外方側に位置する車体下方側の周壁部12dとがセンターピラー22の形状に応じて切り欠かれ、縦リブ12eと横リブ12fの一部が露出させられている。図3に示すように、縦リブ12eの斜線ハッチングを施した部分が露出させられ、横リブ12fのクロスハッチングを施した部分が露出させられている。なお、サイドシル12は、例えば鉄やアルミニウムなどの材料を用いて押出成形によって製造される。
一方、センターピラー22は、車幅方向及び車体前後方向に所定長さを有し車体上下方向における断面が略矩形状に形成されている。また、センターピラー22は、その下部に車幅方向内方側の側面22aから車幅方向に外方側に凹状に窪む溝部22bが形成されており、この溝部22bは、水平方向に延びる車体上方側の面S5、垂直方向に延びる車幅方向外方側の面S6及び水平方向に延びる車体下方側の面S7を備え、サイドシル12の横リブ12fの露出した部分を挿入することができるようにサイドシル12の横リブ12fに対応して形成されている。
図2に示すように、サイドシル12にセンターピラー22が組み付けられる際には、露出した横リブ12fがセンターピラー22の溝部22bに挿入されるとともに、露出した縦リブ12eがセンターピラー22の車幅方向内方側の側面22aに当接され、サイドシル12のリブ12e、12fにセンターピラー22の下部が接合される。
このように、露出した横リブ12fがセンターピラー22の溝部22bに挿入されることにより、横リブ12fの車体上方側の面S3及び車体下方側の面S4と溝部22bの車体上方側の面S5及び車体下方側の面S7とによってサイドシル12に対するセンターピラー22の車体上下方向における位置決めが行われ、露出した縦リブ12eがセンターピラー22の車幅方向内方側の側面22aに当接されることにより、縦リブ12eの車幅方向外方側の面S2とセンターピラー22の車幅方向内方側の側面22aとによってサイドシル12に対するセンターピラー22の車幅方向における位置決めが行われる。
また、スペースフレーム構造の車体1では、サイドボディ20のサイドフレームアウタ25が、センターピラー22及びサイドシル12を車幅方向外方側から覆うように、サイドシル12の下方まで延び、断面L字状に形成されている。
なお、図2では、サイドシル12とセンターピラー22とが交差する部分について示しているが、スペースフレーム構造の車体1では、サイドシル12とフロントピラー21及びリアピラー23とが交差する部分についてもそれぞれ同様に構成され、サイドシル12の露出したリブ12e、12fにフロントピラー21及びリアピラー23の下部が接合され、サイドシル12に対するフロントピラー21及びリアピラー23の位置決めが行われている。
このようにして構成されるスペースフレーム構造の車体1をモノコック構造の車体の組立ラインにおいて組み立てる際には、フロアパネル11を含むアンダーボディ10に、閉断面状に形成される周壁部12a、12b、12c、12dの内部にリブ12e、12fが一体的に形成されたサイドシル12が組み付けられ、一方、サイドボディ20はフロントピラー21、センターピラー22及びリアピラー23の下部が互いに車体前後方向に離間して設けられ、その後に、アンダーボディ10にサイドボディ20が組み付けられるとともに、サイドシル12のリブ12e、12fにフロントピラー21、センターピラー22及びリアピラー23の下部がそれぞれ接合される。また、アンダーボディ10にはルーフ30が組み付けられ、スペースフレーム構造の車体1が組み付けられる。そして、アンダーボディ10にサイドボディ20及びルーフ30が組み付けられた後には、例えば溶接や溶着などによって各接合部分が接合され各接合部分の接合強度が確保される。
このように、本実施形態に係る自動車車体の製造方法では、スペースフレーム構造の車体において、フロアパネル11を含むアンダーボディ10に、閉断面状に形成される周壁部12a、12b、12c、12dの内部にリブ12e、12fが一体的に形成されたサイドシル12を組み付けるステップと、車体上下方向に延びる複数のピラー21、22、23を含むサイドボディ20の各ピラー21、22、23の下部を互いに車体前後方向に離間して設けるステップと、アンダーボディ10にサイドボディ20を組み付けるとともに、サイドシル12のリブ12e、12fに各ピラー21、22、23の下部を接合するステップとを備え、サイドシル12は、周壁部12a、12b、12c、12dの一部が切り欠かれてリブ12e、12fの一部が露出させられ、リブ12e、12fの露出した部分に各ピラー21、22、23の下部が接合される。これにより、スペースフレーム構造の車体1において、サイドシルに対してピラーを位置決めするための部品を別途設ける必要がなく、ピラーの位置決め精度を確保し、サイドシルが組み付けられたアンダーボディにサイドボディを組み付けることができるので、モノコック構造の車体を組み立てる組立ラインにスペースフレーム構造の車体を混流して組み立てることができ、モノコック構造の車体とスペースフレーム構造の車体との混流生産を容易に行うことができる。
また、サイドシル12のリブ12e、12fが、車幅方向と交わる方向に延びる面S2及び車体上下方向と交わる方向に延びる面S3、S4を有し、サイドシル12のリブ12e、12fに各ピラー21、22、23の下部を接合する際に、各ピラー21、22、23の下部をリブ12e、12fの面S2、S3、S4に接合させることにより、サイドシルに対する各ピラーの位置決めが行われるので、サイドシルにピラーを組み付ける際に車幅方向及び車体上下方向におけるピラーの位置決めを比較的簡単に且つ確実に行うことができ、前記効果をより有効に奏することができる。
更に、サイドフレームアウタ25は、アンダーボディ10にサイドボディ20が組み付けられた際にサイドシル12の下部まで延びるように形成されることにより、スペースフレーム構造の車体において、車体側面の見栄えを確保するための部品を別途設ける必要がなく、車体側面の見栄えを阻害することなく、閉断面状に一体的に形成されたサイドシル12が組み付けられたアンダーボディにサイドボディを組み付けることができ、前記効果をより有効に奏することができる。
また更に、サイドシル12が、押出成形により製造されることにより、閉断面状に形成される周壁部12a、12b、12c、12dの内部にリブ12e、12fが一体的に形成されたサイドシル12を比較的簡単に製造することができ、前記効果を有効に実現することができる。
第1の実施形態に係るスペースフレーム構造の車体1では、サイドシル12に車幅方向と交わる方向に延びる面S2を有する縦リブ12eと車体上下方向と交わる方向に延びる面S3、S4を有する横リブ12fが設けられているが、サイドシル12に車幅方向と交わる方向に延びる面S2を有する縦リブ12eのみを設け、センターピラー22の車幅方向内方側の側面22aと当接させることで、センターピラーの車幅方向の位置決めを行うようにしてもよく、また、サイドシル12に車体上下方向と交わる方向に延びる面S3、S4を有する横リブ12fのみを設け、センターピラー22の溝部22bに挿入させることで、センターピラーの車体上下方向の位置決めを行うようにしてもよい。
図4は、本発明の第2の実施形態に係るスペースフレーム構造の車体におけるサイドシルを説明するための図であり、図4の(a)は、前記サイドシルを斜視図で示し、図4の(b)は、前記サイドシルを平面図で示し、図4(b)では、前記サイドシルに組み付けられるセンターピラーも平面図で示している。第2の実施形態に係るスペースフレーム構造の車体において、第1の実施形態に係るスペースフレーム構造の車体と同様の構成を備え、同様の作用をなすものについては同一の符号を付して説明を省略する。
図4に示すように、第2の実施形態に係るスペースフレーム構造の車体では、閉断面状に形成される周壁部12a、12b、12c、12dの内部に縦リブ12e及び横リブ12fが一体的に形成されたサイドシル40は、周壁部12a、12b、12c、12dの一部が切り欠かれて縦リブ12e及び横リブ12fの一部が露出させられているものの、露出させられる横リブ12fに平面視で車幅方向内方側に向かって三角状に窪む切欠部12gが形成されている。
一方、センターピラー42は、その下部に車幅方向内方側の側面22aから車幅方向外方側に凹状に窪む溝部22bが形成され、この溝部22bに、図4に示すように、サイドシル12の横リブ12fに形成された切欠部12gに対応して溝部22bの車幅方向外方側の面S6から平面視で車幅方向内方側に向かって三角状に突出する突出部22cが設けられている。
なお、図4では、サイドシル40とセンターピラー42とが交差する部分について示しているが、サイドシルとフロントピラー及びリアピラーとが交差する部分についてもそれぞれ同様に構成されている。
第2の実施形態に係るスペースフレーム構造の車体においても、フロアパネル11を含むアンダーボディ10にサイドシル40を組み付け、車体上下方向に延びる複数のピラー21、42、23を含むサイドボディ20の各ピラー21、42、23の下部を互いに車体前後方向に離間して設け、アンダーボディ10にサイドボディ20を組み付けるとともに、サイドシル40のリブ12e、12fに各ピラー21、42、23の下部を接合することで、モノコック構造の車体を組み立てる組立ラインに混流して組み立てることができる。かかる場合には、サイドシル40の切欠部12gとピラー42の突出部22cとを接合させることによってサイドシル40に対するピラー42の車体前後方向における位置決めを行うことができる。
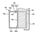
図5は、本発明の第3の実施形態に係るスペースフレーム構造の車体においてサイドシルを含む車体側面の一部を示す断面図であり、図6は、前記スペースフレーム構造の車体におけるサイドシルを示す斜視図である。第3の実施形態に係るスペースフレーム構造の車体において、第1の実施形態に係るスペースフレーム構造の車体と同様の構成を備え同様の作用をなすものについては同一符号を付して説明を省略する。
図5及び図6に示すように、第3の実施形態に係るスペースフレーム構造の車体では、サイドシル50は、閉断面状に形成される周壁部12a、12b、12c、12dの内部に縦リブ12eが一体的に形成され、サイドシル50の車体上方側の周縁部12cに、平面視で矩形状に形成され車体前後方向と交わる方向に延びる面を有する2つの開口部12hが形成されている。
一方、センターピラー52には、その下部にサイドシル50の開口部12hに挿入される係止部53が設けられ、係止部53は、センターピラー52の車幅方向内方側の側面22aから車幅方向内方側に延びる水平部分53aと、該水平部分53aから車体下方側に延びる垂直部分53bとを備え、車体前後方向において断面直角形状に形成されている。センターピラー52の垂直部分53bがサイドシル50の開口部12hに挿入されることで、開口部12の車体前後方向と交わる方向に延びる面によって車体前後方向に位置決めされ、水平部分54aがサイドシル50の車体上方側の周壁部12bと当接することで、水平部分54aによって車体上下方向に位置決めされるようになっている。
なお、係止部53は、センターピラー52と一体的に形成しても、別体で形成したものを取り付けるようにしてもよい。また、図5及び図6では、サイドシル50とセンターピラー52とが交差する部分について示しているが、サイドシルとフロントピラー及びリアピラーとが交差する部分についてもそれぞれ同様に構成されている。
第3の実施形態に係るスペースフレーム構造の車体においても、フロアパネル11を含むアンダーボディ10にサイドシル50を組み付け、車体上下方向に延びる複数のピラー21、52、23を含むサイドボディ20の各ピラー21、52、23の下部を互いに車体前後方向に離間して設け、アンダーボディ10にサイドボディ20を組み付けるとともに、サイドシル50のリブ12eに各ピラー21、52、23の下部を接合することで、モノコック構造の車体を組み立てる組立ラインに混流して組み立てることができる。かかる場合には、センターピラー52の係止部53によってサイドシル50に対するセンターピラー52の車体前後方向及び車体上下方向における位置決めを行うことができる。
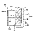
図7は、本発明の第4の実施形態に係るスペースフレーム構造の車体においてサイドシルを含む車体側面の一部を示す断面図である。第4の実施形態に係るスペースフレーム構造の車体において、第1の実施形態に係るスペースフレーム構造の車体と同様の構成を備え同様の作用をなすものについては同一符号を付して説明を省略する。
図7に示すように、第4の実施形態に係るスペースフレーム構造の車体では、サイドシル60は、閉断面状に形成される周壁部12a、12b、12c、12dの内部に縦リブ12e及び横リブ12fが一体的に形成されるものの、車幅方向外方側の周壁部12cが、車体上下方向に延びる垂直部分12iと該垂直部分12iから車幅方向内方側に傾斜する傾斜部分12jとを備えて形成されている。一方、センターピラー62は、センターピラー22と同様に、その下部に車幅方向内方側の側面22aから車幅方向に外方側に凹状に窪む溝部22bが形成されている。なお、サイドシルとフロントピラー及びリアピラーとが交差する部分についてもそれぞれ同様に構成されている。
第4の実施形態に係るスペースフレーム構造の車体においても、アンダーボディ10にサイドボディ20を組み付けるとともに、サイドシル60のリブ12e、12fに各ピラー62の下部を接合することで、モノコック構造の車体を組み立てる組立ラインに混流して組み立てることができる。かかる場合には、横リブ12fをピラー62の溝部22bに挿入させることにより、サイドシル60に対するピラー62の車体上下方向における位置決めを行うことができ、縦リブ12eをピラー62の車幅方向内方側の側面22aに当接させることにより、サイドシル60に対するピラー62の車幅方向における位置決めを行うことができる。
図8は、本発明の第5の実施形態に係るスペースフレーム構造の車体においてサイドシルを含む車体側面の一部を示す断面図である。第5の実施形態に係るスペースフレーム構造の車体において、第3の実施形態に係るスペースフレーム構造の車体と同様の構成を備え同様の作用をなすものについては同一符号を付して説明を省略する。なお、図8では、サイドシルとセンターピラーとが交差する部分について示しているが、サイドシルとフロントピラー及びリアピラーとが交差する部分についてもそれぞれ同様に構成されている。
図8に示すように、第5の実施形態に係るスペースフレーム構造の車体では、サイドシル70は、閉断面状に形成される周壁部12a、12b、12c、12dの内部に縦リブ12e及び横リブ12fが一体的に形成され、車体上方側の周縁部12cに、サイドシル50と同様に平面視で矩形状に形成され車体前後方向と交わる方向に延びる面を有する開口部12hが形成されるものの、横リブ12fが車幅方向内方側の周壁部12aと縦リブ12eとの間にのみ形成され、車幅方向外方側の周壁部12cが車体上下方向に延びる垂直部分12iと該垂直部分12iから車幅方向内方側に傾斜する傾斜部分12jとを備えて形成されている。
また、サイドシル70は、センターピラー72を組み付けるために、車幅方向外方側の周壁部12cが切り欠かれているが、サイドシル70では、車体下方側の周壁部12dと車幅方向外方側の周壁部12cの垂直部分12iの下方側とが残された状態で形成され、縦リブ12eと車体下方側の周壁部12dと車幅方向外方側の周壁部12cの垂直部分12iの所定高さを有する取り残された部分12kとによって溝部12lが形成されている。
一方、センターピラー72は、その下部にサイドシル70の開口部12hに挿入される係止部73が設けられ、係止部73は、センターピラー72の車幅方向内方側の側面72aから車幅方向内方側に下方側に傾斜して延びる傾斜部分73aと、該傾斜部分73aから車体下方側に延びる垂直部分73bとを備えている。センターピラー72は、係止部73の垂直部分73bがサイドシル70の開口部12hに挿入されることで、開口部12hの車体前後方向と交わる方向に延びる面によって車体前後方向に位置決めされる。
また、センターピラー72では、その下端部がサイドシル70の溝部12lの形状に対応して溝部12lに挿入されるように形成されており、センターピラー72は、センターピラー72の下端部がサイドシル70の溝部12lに挿入されることにより、サイドシル70の縦リブ12e及び車幅方向外方側の周壁部12cの垂直部分12iの取り残された部分12kによって車幅方向に位置決めされ、サイドシル70の車体下方側の周壁部12dによって車体上下方向に位置決めされるようになっている。
第5の実施形態に係るスペースフレーム構造の車体においても、アンダーボディ10にサイドボディ20を組み付けるとともに、サイドシル70のリブ12eに各ピラー21、72、23の下部を接合することで、モノコック構造の車体を組み立てる組立ラインに混流して組み立てることができる。かかる場合には、係止部73の垂直部分73bをサイドシル70の開口部12hに挿入することで、サイドシル70に対してピラー21、72、23の車体前後方向における位置決めを行うことができ、センターピラー72の下端部をサイドシル70の溝部12lに挿入することで、サイドシル70に対してピラーの車体上下方向及び車幅方向における位置決めを行うことができる。
本発明は、例示された実施の形態に限定されるものではなく、本発明の要旨を逸脱しない範囲において、種々の改良及び設計上の変更が可能であることは言うまでもない。
本発明は、モノコック構造の車体を組み立てる組立ラインにおいて、モノコック構造の車体にスペースフレーム構造の車体を混流してスペースフレーム構造の車体を組み立てる自動車車体の製造方法に関するものであり、閉断面状に一体的に形成されるサイドシルを有するスペースフレーム構造の車体の製造に好適に適用可能である。
本発明の実施形態に係るスペースフレーム構造の車体を分解して示す分解斜視図である。 前記スペースフレーム構造の車体においてサイドシルを含む車体側面の一部を示す断面図である。 前記スペースフレーム構造の車体におけるサイドシルを示す斜視図である。 本発明の第2の実施形態に係るスペースフレーム構造の車体におけるサイドシルを説明するための図である。 本発明の第3の実施形態に係るスペースフレーム構造の車体においてサイドシルを含む車体側面の一部を示す断面図である。 前記スペースフレーム構造の車体におけるサイドシルを示す斜視図である。 本発明の第4の実施形態に係るスペースフレーム構造の車体においてサイドシルを含む車体側面の一部を示す断面図である。 本発明の第5の実施形態に係るスペースフレーム構造の車体においてサイドシルを含む車体側面の一部を示す断面図である。 モノコック構造の車体を組み立てる組立ラインを示す図である。 スペースフレーム構造の車体を組み立てる組立ラインを示す図である。 モノコック構造の車体においてサイドシルを形成する方法を説明するための説明図である。 スペースフレーム構造の車体においてサイドシルを含む車体側面の一部を示す断面図である。 スペースフレーム構造の車体においてサイドシルを含む車体側面の別の一部を示す断面図である。 スペースフレーム構造の車体において別のサイドシルを含む車体側面の一部を示す断面図である。
符号の説明
1 車体
10 アンダーボディ
11 フロアパネル
12、40、50、60、70 サイドシル
12a、12b、12c、12d 周壁部
12e、12f リブ
20 サイドボディ
21、22、23、52、62、72 ピラー
25 サイドフレームアウタ

Claims (4)

  1. モノコック構造の車体にスペースフレーム構造の車体を混流して、スペースフレーム構造の車体を組み立てるようにした自動車車体の製造方法であって、
    スペースフレーム構造の車体において、フロアパネルを含むアンダーボディに、閉断面状に形成される周壁部の内部にリブが一体的に形成されたサイドシルを組み付けるステップと、
    スペースフレーム構造の車体において、車体上下方向に延びる複数のピラーを含むサイドボディの前記各ピラーの下部を互いに車体前後方向に離間して設けるステップと、
    前記アンダーボディに前記サイドボディを組み付けるとともに、前記サイドシルの前記リブに前記各ピラーの下部を接合するステップと、
    を備え、
    前記サイドシルは、前記周壁部の一部が切り欠かれて前記リブの一部が露出させられ、前記リブの露出した部分に前記各ピラーの下部が接合される、
    ことを特徴とする自動車車体の製造方法。
  2. 前記サイドシルの前記リブが、車幅方向と交わる方向に延びる面及び/又は車体上下方向と交わる方向に延びる面を有し、
    前記サイドシルの前記リブに前記各ピラーの下部を接合する際に、前記各ピラーの下部を前記リブの前記面に接合させることにより、前記サイドシルに対する前記各ピラーの位置決めが行われる、
    ことを特徴とする請求項1に記載の自動車車体の製造方法。
  3. 前記サイドボディが、車体上下方向に延びるサイドフレームアウタを含み、
    前記サイドフレームアウタは、前記アンダーボディに前記サイドボディが組み付けられた際に前記サイドシルの下部まで延びるように形成されている、
    ことを特徴とする請求項1又は2に記載の自動車車体の製造方法。
  4. 前記サイドシルが、押出成形により製造される、
    ことを特徴とする請求項1〜3の何れか一に記載の自動車車体の製造方法。
JP2008253503A 2008-09-30 2008-09-30 自動車車体の製造方法 Expired - Fee Related JP5347410B2 (ja)

Priority Applications (1)

Application Number Priority Date Filing Date Title
JP2008253503A JP5347410B2 (ja) 2008-09-30 2008-09-30 自動車車体の製造方法

Applications Claiming Priority (1)

Application Number Priority Date Filing Date Title
JP2008253503A JP5347410B2 (ja) 2008-09-30 2008-09-30 自動車車体の製造方法

Publications (2)

Publication Number Publication Date
JP2010083287A true JP2010083287A (ja) 2010-04-15
JP5347410B2 JP5347410B2 (ja) 2013-11-20

Family

ID=42247679

Family Applications (1)

Application Number Title Priority Date Filing Date
JP2008253503A Expired - Fee Related JP5347410B2 (ja) 2008-09-30 2008-09-30 自動車車体の製造方法

Country Status (1)

Country Link
JP (1) JP5347410B2 (ja)

Cited By (1)

* Cited by examiner, † Cited by third party
Publication number Priority date Publication date Assignee Title
DE102014110232A1 (de) * 2014-07-21 2016-01-21 Dr. Ing. H.C. F. Porsche Aktiengesellschaft Anbindungskonzept für einen Schweller mit einer Fahrzeugsäule in einer Fahrzeugkarosserie

Citations (6)

* Cited by examiner, † Cited by third party
Publication number Priority date Publication date Assignee Title
JPS6393686A (ja) * 1986-10-07 1988-04-23 ウエスタン・アトラス・ユー・ケィ・リミテッド 自動車本体組立方法および組立装置
JPH05305878A (ja) * 1992-04-30 1993-11-19 Nissan Motor Co Ltd 車体強度メンバの結合構造
JPH08268330A (ja) * 1995-03-30 1996-10-15 Nissan Motor Co Ltd 車体のピラー結合構造
JP2000219154A (ja) * 1999-01-29 2000-08-08 Mazda Motor Corp 車両の車体構造
JP2004203182A (ja) * 2002-12-25 2004-07-22 Nissan Motor Co Ltd ピラー下部接合構造
JP2007290532A (ja) * 2006-04-25 2007-11-08 Toyota Motor Corp 車体構造部材の結合構造

Patent Citations (6)

* Cited by examiner, † Cited by third party
Publication number Priority date Publication date Assignee Title
JPS6393686A (ja) * 1986-10-07 1988-04-23 ウエスタン・アトラス・ユー・ケィ・リミテッド 自動車本体組立方法および組立装置
JPH05305878A (ja) * 1992-04-30 1993-11-19 Nissan Motor Co Ltd 車体強度メンバの結合構造
JPH08268330A (ja) * 1995-03-30 1996-10-15 Nissan Motor Co Ltd 車体のピラー結合構造
JP2000219154A (ja) * 1999-01-29 2000-08-08 Mazda Motor Corp 車両の車体構造
JP2004203182A (ja) * 2002-12-25 2004-07-22 Nissan Motor Co Ltd ピラー下部接合構造
JP2007290532A (ja) * 2006-04-25 2007-11-08 Toyota Motor Corp 車体構造部材の結合構造

Cited By (2)

* Cited by examiner, † Cited by third party
Publication number Priority date Publication date Assignee Title
DE102014110232A1 (de) * 2014-07-21 2016-01-21 Dr. Ing. H.C. F. Porsche Aktiengesellschaft Anbindungskonzept für einen Schweller mit einer Fahrzeugsäule in einer Fahrzeugkarosserie
DE102014110232B4 (de) 2014-07-21 2022-11-10 Dr. Ing. H.C. F. Porsche Aktiengesellschaft Fahrzeugkarosserie mit einem Schweller, der mit einer Fahrzeugsäule der Fahrzeugkarosserie verbunden ist

Also Published As

Publication number Publication date
JP5347410B2 (ja) 2013-11-20

Similar Documents

Publication Publication Date Title
KR102807543B1 (ko) 차체 조립 구조
US9266568B2 (en) Vehicle body lower section structure
JP5924345B2 (ja) 車両の樹脂フロア構造
CA2756721C (en) Structure for vehicle body upper portion
JP4486655B2 (ja) 建設機械の運転室構造
JP2001191947A (ja) 車体補強構造
JPWO2014199695A1 (ja) 車体構造
CN102164811B (zh) 车辆前部结构
JPWO2013077084A1 (ja) 車体側部構造
JP2008265536A (ja) 車体フロア構造
JP2006137208A (ja) 車両の後部車体構造
CN113022716B (zh) 车辆和用于车体的连接结构
JP5299170B2 (ja) 車体構造
JP5347410B2 (ja) 自動車車体の製造方法
CN112977627A (zh) 车身接合结构
JP2004338419A (ja) 車両骨格構造
CN112896320B (zh) 车身接合结构
JP5411245B2 (ja) 車体側部構造
CN113492925A (zh) 用于车辆的车身增强装置
JP4285414B2 (ja) 車体骨格構造
JP2010111149A (ja) 車体側部結合構造
KR102768578B1 (ko) 차체 연결 구조
JP2008239106A (ja) 自動車のロッカ部構造
JP7161142B2 (ja) サイドメンバユニット
CN112172932B (zh) 车身下部构造

Legal Events

Date Code Title Description
A621 Written request for application examination

Free format text: JAPANESE INTERMEDIATE CODE: A621

Effective date: 20110802

A521 Written amendment

Free format text: JAPANESE INTERMEDIATE CODE: A523

Effective date: 20120329

A977 Report on retrieval

Free format text: JAPANESE INTERMEDIATE CODE: A971007

Effective date: 20121228

A131 Notification of reasons for refusal

Free format text: JAPANESE INTERMEDIATE CODE: A131

Effective date: 20130108

A521 Written amendment

Free format text: JAPANESE INTERMEDIATE CODE: A523

Effective date: 20130307

TRDD Decision of grant or rejection written
A01 Written decision to grant a patent or to grant a registration (utility model)

Free format text: JAPANESE INTERMEDIATE CODE: A01

Effective date: 20130723

A61 First payment of annual fees (during grant procedure)

Free format text: JAPANESE INTERMEDIATE CODE: A61

Effective date: 20130805

R150 Certificate of patent or registration of utility model

Ref document number: 5347410

Country of ref document: JP

Free format text: JAPANESE INTERMEDIATE CODE: R150

Free format text: JAPANESE INTERMEDIATE CODE: R150

LAPS Cancellation because of no payment of annual fees