JP2010080538A - 多層プリント配線板の製造方法 - Google Patents

多層プリント配線板の製造方法 Download PDF

Info

Publication number
JP2010080538A
JP2010080538A JP2008244787A JP2008244787A JP2010080538A JP 2010080538 A JP2010080538 A JP 2010080538A JP 2008244787 A JP2008244787 A JP 2008244787A JP 2008244787 A JP2008244787 A JP 2008244787A JP 2010080538 A JP2010080538 A JP 2010080538A
Authority
JP
Japan
Prior art keywords
substrate
flat plate
substrate sheet
convex portion
plate member
Prior art date
Legal status (The legal status is an assumption and is not a legal conclusion. Google has not performed a legal analysis and makes no representation as to the accuracy of the status listed.)
Granted
Application number
JP2008244787A
Other languages
English (en)
Other versions
JP5176819B2 (ja
Inventor
Takashi Ueno
野 嵩 上
Masayuki Nagashima
島 正 幸 長
Tsutomu Uchiumi
海 勉 内
Hiroyuki Shirogane
金 弘 之 白
Current Assignee (The listed assignees may be inaccurate. Google has not performed a legal analysis and makes no representation or warranty as to the accuracy of the list.)
Dai Nippon Printing Co Ltd
Original Assignee
Dai Nippon Printing Co Ltd
Priority date (The priority date is an assumption and is not a legal conclusion. Google has not performed a legal analysis and makes no representation as to the accuracy of the date listed.)
Filing date
Publication date
Application filed by Dai Nippon Printing Co Ltd filed Critical Dai Nippon Printing Co Ltd
Priority to JP2008244787A priority Critical patent/JP5176819B2/ja
Publication of JP2010080538A publication Critical patent/JP2010080538A/ja
Application granted granted Critical
Publication of JP5176819B2 publication Critical patent/JP5176819B2/ja
Expired - Fee Related legal-status Critical Current
Anticipated expiration legal-status Critical

Links

Images

Landscapes

  • Production Of Multi-Layered Print Wiring Board (AREA)
  • Printing Elements For Providing Electric Connections Between Printed Circuits (AREA)

Abstract

【課題】基板シートの表面に導電性ペーストを塗工する工程の回数を減少させること。
【解決手段】多層プリント配線板の製造方法は、第一基板シート61に第一平板凸部62aに対応する第一基板凸部61aを形成する第一基板凸部形成工程と、導電性ペースト70を第一基板凸部61a上に転移させる転移工程と、導電性ペースト70を硬化させて導電性バンプ71を生成する硬化工程と、第一基板シート61上に未硬化の絶縁材料部材を配置する絶縁材料部材配置工程と、を備えている。多層プリント配線板の製造方法は、さらに、第二基板シート66に第二平板凸部67aに対応する第二基板凸部66aを形成する第二基板凸部形成工程と、を備えている。多層プリント配線板の製造方法は、さらに、導電性バンプ71と第二基板凸部66aとを対向させて配置した後、導電性バンプ71と第二基板凸部66aとの間に押圧力を付与する押圧工程を備えている。
【選択図】図6

Description

本発明は、基板シート上に複数の導電性バンプを有する導電性バンプ付き基板シートを用いた多層プリント配線板の製造方法に関する。
従来から、銅箔などの基板シートの表面に複数の略円錐状の導電性バンプが形成された導電性バンプ付き基板シートと、プリプレグなどの絶縁材料部材とを交互に重ね合わせることにより形成される多層プリント配線板が知られている。このような多層プリント配線板において、基板シートの表面に形成された導電性バンプがプリプレグを貫通することによって、当該プリプレグの両側にある基板シート同士が導電性バンプによって電気的に接続されるようになっている(例えば、特許文献1乃至3など参照)。
そして、スクリーン版の表面に圧接されるスキージと、スキージをスクリーン版の表面に接離する方向に移動させる空気圧シリンダと、スキージがスクリーン版の表面に圧接された状態でスキージとスクリーン版とを相対移動させてスキージをスクリーン版に対して摺動させる駆動モータとを備え、スキージがスクリーン版の表面上を摺動することにより、半田ペーストなどの導電性ペーストがスクリーン版の貫通穴から押し出されてプリント基板などの基材の表面に印刷が行われる技術が知られている(特許文献4参照)。
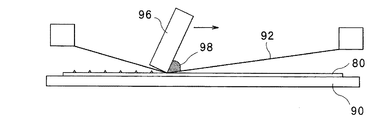
このような従来の技術を用いて、銀ペースト、半田ペーストなどの導電性ペーストを基板シートの表面に印刷する方法について、以下、図7および図8を用いて説明する。
まず、図7に示すような平板状の基板シート80を印刷定盤90上に載置し、この平板状の基板シート80の上方にわずかな距離を隔ててスクリーン版92を設置する。また、図8に示すようにスクリーン版92には、基板シート80に導電性バンプ82が形成されるべき位置に対応して複数の貫通穴92aが形成されている。そして、図7および図8に示すように、スキージ96により導電性ペースト98の塗工を行い、この際に図8に示すようにスキージ96がスクリーン版92を下方に押圧してこのスクリーン版92と基板シート80とを当接させることにより、導電性ペースト98がスクリーン版92の貫通穴92aを通過して平板状の基板シート80上に付着する。
その後、基板シート80の乾燥を行うことにより、図9(a)−(d)に示すように基板シート80上の導電性ペースト98が硬化して略円錐状の導電性バンプ82が形成されることとなる。
ここで、基板シート80に形成される導電性バンプ82は、当該基板シート80の厚さ方向(図9(a)−(d)の上下方向)においてプリプレグ(図示せず)を貫通させるのに十分な高さが必要とされる(バンプ径の直径が150μmのときには120±40μm程度の高さが必要となる)。また、多層プリント配線板のファインピッチ化を行う場合には、略円錐状の導電性バンプ82について、同じ高さであっても底面積が小さくなるような形状、すなわちいわゆるアスペクト比の高い略円錐状とする必要がある。
特許第3167840号 特開2004−6577号公報 特開2002−305376号公報 特開平11−48446号公報
しかしながら、従来の導電性バンプ付き基板シートの製造方法においては、平板状の基板シート80上に導電性バンプ82を形成するにあたり、スクリーン印刷工程1回あたりの基板シート80に付着する導電性ペースト98の量はスクリーン版92の貫通穴92aにより定められる。このため、導電性ペースト98の量が十分ではなく、1回のスクリーン印刷工程では導電性バンプ82の高さがプリプレグを貫通させるのに十分な高さに達しない場合が多い。
より具体的には、導電性バンプ82によりプリプレグを貫通させる際には、図9(d)に示すような高さを有する略円錐状の導電性バンプ82が求められる。ここで、図9(a)−(d)は、従来の方法により基板シート80に導電性バンプ82が形成される過程を示す図であって、図9(a)(b)(c)(d)はそれぞれ、1回目、2回目、3回目および4回目のスクリーン印刷工程および乾燥工程(硬化工程)後の導電性バンプ82の形状を示している。このため、この例では、図7に示すようなスクリーン印刷工程を4回繰り返して行うことが必要とされる。
しかしながら、スクリーン印刷工程を1回行うたびに基板シート80の乾燥工程およびCCDカメラなどによるスクリーン版92の位置合わせ工程が必要となり、十分な高さの導電性バンプ82が形成されるまでこれらの工程も何度も繰り返す必要があり製造時間が非常にかかってしまう。また、スクリーン印刷工程を繰り返し行うと、スクリーン印刷工程実行回数をa、1回のスクリーン印刷工程において不良が発生する割合をbとしたときに、歩留まり率は(1−b)≒1−a×bとなり、スクリーン印刷工程の実行回数が増えれば増えるほど導電性バンプ付き基板シートの製造における歩留まり率が低下してしまう。
ところで、上述した従来の方法によれば、導電性ペースト98を複数回転移させることによって、転移される量を多くすることができ、上方の(導電性バンプ付き)基板シートと下方の導電性バンプ付き基板シートとの間の抵抗値を低減することができる。しかしながら、やはり、導電性ペースト98を複数回転移させる必要があることから、上述のように製造時間が非常にかかってしまい、また、歩留まり率も低下してしまう。
本発明は、このような点を考慮してなされたものであり、基板シートの表面に導電性ペーストを塗工する工程の回数を減少させることができ、ひいては、導電性バンプ付基板の製造時間を短縮することができるとともに、歩留まり率を高くすることができる導電性バンプ付き基板シート製造方法を提供することを目的とする。
本発明による多層プリント配線板の製造方法は、
第一平板状部材の複数の第一平板凸部と第一基板シートとを当接させる第一当接工程と、
前記第一基板シートまたは前記第一平板状部材に圧力を加えて、該第一基板シートに前記第一平板状部材の前記第一平板凸部に対応する第一基板凸部を形成する第一基板凸部形成工程と、
スキージをスクリーン版上で走査させることによって、該スクリーン版に載置された導電性ペーストを該スクリーン版に設けられた貫通穴を通過させて、前記第一基板シートの前記第一基板凸部上に転移させる転移工程と、
前記第一基板凸部上に転移された導電性ペーストを硬化させて導電性バンプを生成する硬化工程と、
前記第一基板シート上であって前記第一基板凸部が配置されている箇所以外の箇所に、未硬化の絶縁材料部材を配置する絶縁材料部材配置工程と、
第二平板状部材の複数の第二平板凸部と第二基板シートとを当接させる第二当接工程と、
前記第二基板シートまたは前記第二平板状部材に圧力を加えて、該第二基板シートに前記第二平板状部材の前記第二平板凸部に対応する第二基板凸部を形成する第二基板凸部形成工程と、
前記導電性バンプと前記第二基板凸部とを対向させて配置した後、前記導電性バンプと前記第二基板凸部との間に押圧力を付与する押圧工程と、
を備えている。
本発明による多層プリント配線板の製造方法において、
前記第一平板状部材の前記第一平板凸部は、所定のパターンで配置され、
前記第二平板状部材の前記第二平板凸部は、前記第一平板凸部が配置されているパターンと鏡面対象のパターンで配置されていることが好ましい。
本発明による多層プリント配線板の製造方法において、
前記押圧工程の後で、前記第一基板シートから第一平板状部材を剥離させる第一剥離工程をさらに備えたことが好ましい。
本発明による多層プリント配線板の製造方法において、
前記押圧工程の後で、前記第二基板シートから第二平板状部材を剥離させる第二剥離工程をさらに備えたことが好ましい。
本発明によれば、導電性ペーストが第一基板凸部上に転移されるので、基板シートの表面に導電性ペーストを塗工する工程の回数を減少させることができる。このため、導電性バンプ付基板の製造時間を短縮することができるとともに、導電性ペーストの使用量を減少させることができ、しかも導電性バンプ付基板シートの製造における歩留まり率を高くすることができる。
また、本発明によれば、導電性バンプと第二基板凸部とを対向させて配置させるので、第一基板シートと第二基板シート(の第二基板凸部)との間の距離を短くすることができる。また、導電性バンプと第二基板凸部とを対向させて配置させた状態で、導電性バンプと第二基板凸部との間に押圧力を付与して、導電性バンプを第二基板凸部内に貫入させるので、第二基板シートと導電性バンプとの接触面積を大きくすることができる。そして、これらのことから、第一基板シートと第二基板シートとの間の抵抗値を低下させることができる。
さらに、本発明によれば、第一基板凸部上に形成されて嵩上げされた導電性バンプが、第二基板凸部内に貫入されることとなるので、第一基板シートと第二基板シートとを、より確実に連結することができる。
発明を実施するための形態
実施の形態
以下、本発明に係る多層プリント配線板の製造方法の実施の形態について、図面を参照して説明する。ここで、図1乃至図6(a)−(e)は本発明の実施の形態を示す図である。
図1に示すように、基板凸部生成装置は、複数の平板凸部62a,67aを有する平板状部材62,67を吸着して保持する保持部9と、平板状部材62,67の平板凸部62a,67a上に載置された基板シート61,66(例えば、金属箔)に圧力を加えて、この基板シート61,66に平板状部材62,67の平板凸部62a,67aに対応する基板凸部61a,66aを形成する加圧ローラ(加圧部)10と、を備えている。ここで、平板状部材62,67には開口(図示せず)が設けられており、この開口を通じて吸着力が働いて基板シート61,66が保持される。
なお、平板状部材62,67としては、銅、SUS、アルミなどの金属シートや、PET、PP、PEなどのフィルムおよび樹脂シートなどを用いることができる。また、加圧ローラ10としては、ゴムロール、金属ロール、樹脂ロールなどを用いることができる。
ところで、本実施の形態では、基板シート61,66に基板凸部61a,66aを形成する加圧部として加圧ローラ10を用いて説明するが、これに限られることなく、例えば、平プレスなどを用いてもよい。
また、図2に示すように、印刷装置は、基材60を保持する印刷定盤30と、所定のパターンからなる複数の貫通穴27aが設けられたメタルマスクなどのスクリーン版27と、このスクリーン版27を保持する保持部26と、スクリーン版27上で走査し、スクリーン版27に載置された銀ペーストや半田ペーストなどの導電性ペースト70(図3(c)参照)を貫通穴27aを介して基材60の基板シート61上に転移させるスキージ22と、を備えている。なお、上述したスキージ22と、このスキージ22を案内するガイド部材21とからスキージ機構20が構成されている。また、基材60は、第一平板状部材62と、当該第一平板状部材62上に載置された第一基板シート61とからなっている。
また、図2に示すように、スキージ機構20の上流側には、印刷定盤30に保持された基材60の画像を取得するCCDカメラ(画像取得装置)11が配置されている。また、このCCDカメラ11には、CCDカメラ11によって取得された画像を表示する表示画面(画像表示装置)12が接続されている。
また、図2に示すように、印刷定盤30は、この印刷定盤30に対する基材60の位置を調整する位置調整装置35を有している。そして、この位置調整装置35には、操作者によって入力された指示を送る位置指示部16が接続されている。なお、基材60にはアライメントマーク(図示せず)が施されており、このアライメントマークをCCDカメラ11で撮影することによって、基材60の印刷定盤30に対する位置が位置決めされる。
なお、本実施の形態においては、上述したCCDカメラ11、表示画面12、位置調整装置35および位置指示部16から位置づける位置決め機構が構成されている。また、印刷定盤30の下方には、この印刷定盤30を案内するガイド部材31が水平方向に延在している。
次に、このような構成からなる本実施の形態の作用について述べる。
(第一基板凸部61aを有する第一基板シート61の形成)
まず、第一基板凸部61aを有する第一基板シート61を形成する工程について説明する。
まず、保持部9によって複数の第一平板凸部62aを有する第一平板状部材62が吸着して保持される(図1参照)。次に、第一平板状部材62上に第一基板シート61が載置され、第一平板状部材62の複数の第一平板凸部62aと第一基板シート61とが当接される(第一当接工程)(図1および図3(a)参照)。
次に、当該第一基板シート61を第一平板状部材62に押圧した状態で加圧ローラ10が水平方向に移動される(図3(a)参照)。このとき、加圧ローラ10によって、第一基板シート61に圧力が加えられて、第一基板シート61に第一平板状部材62の複数の第一平板凸部62aに対応する第一基板凸部61aが形成される(第一基板凸部形成工程)(図3(b)参照)。その後、第一平板状部材62が第一基板シート61から剥離される(第一剥離工程)(図3(b)参照)。
(第二基板凸部66aを有する第二基板シート66の形成)
次に、第二基板凸部66aを有する第二基板シート66を形成する工程について説明する。なお、当該工程は、上述した第一基板凸部61aを有する第一基板シート61を形成する工程と略同一である。
まず、保持部9によって複数の第二平板凸部67aを有する第二平板状部材67が吸着して保持される(図1参照)。次に、第二平板状部材67上に第二基板シート66が載置され、第二平板状部材67の複数の第二平板凸部67aと第二基板シート66とが当接される(第二当接工程)(図1および図4(a)参照)。
次に、当該第二基板シート66を第二平板状部材67に押圧した状態で加圧ローラ10が水平方向に移動される(図4(a)参照)。このとき、加圧ローラ10によって、第二基板シート66に圧力が加えられて、第二基板シート66に第二平板状部材67の複数の第二平板凸部67aに対応する第二基板凸部66aが形成される(第二基板凸部形成工程)(図4(b)参照)。
なお、第一平板状部材62の第一平板凸部62aは所定のパターンで配置されているが、第二平板状部材67の第二平板凸部67aは、第一平板凸部62aが配置されているパターンと鏡面対象のパターンで配置されている。
(導電性バンプ付き基板シートの生成)
次に、導電性バンプ付き基板シートを生成する工程について説明する。
まず、印刷定盤30によって、複数の第一平板凸部62aを有する第一平板状部材62と、第一平板状部材62上に載置され、第一基板凸部61aを有する第一基板シート61とを含む基材60が保持される(保持工程)(図2参照)。なお、基材60は、第一平板状部材62が下方に位置し、第一基板シート61が上方に位置するようにして、印刷定盤30上に載置される。
次に、スキージ機構20によって転移される導電性ペースト70が、第一基板シート61の第一基板凸部61a上に載置されるように、基材60が印刷定盤30に対して位置づけられる(位置決め工程)(図2参照)。
具体的には、まず、CCDカメラ11によって、印刷定盤30に保持された基材60の画像が撮影される(画像取得工程)。次に、このようにCCDカメラ11によって撮影された基材60の画像が、表示画面12によって表示される(画像表示工程)。
次に、操作者が、表示画面12に表示された画像に基づいて、印刷定盤30を所定の位置に移動させるよう、位置指示部16に指示を入力する。そして、この指示に従って、位置調整装置35が駆動され、印刷定盤30に対する基材60の位置が調整される。例えば、基材60に施されたアライメントマークがCCDカメラ11の中心位置で撮影されるよう、操作者が位置指示部16に指示を入力する。そして、この指示に従って、位置調整装置35が駆動され、アライメントマークがCCDカメラ11の中心位置にくるよう、基材60の印刷定盤30に対する位置が調整される(位置調整工程)。
次に、印刷定盤30が、駆動部(図示せず)から付与される駆動力によって、ガイド部材31に沿って水平方向(図2の右側)に向かって移動される。
次に、スキージ22がガイド部材21に沿ってスクリーン版27上で走査され、スクリーン版27に載置された導電性ペースト70が、貫通穴27aを介して基材60の第一基板シート61上に転移される(転移工程)(図2および図3(c)参照)。
ここで本実施の形態よれば、上述のように、転移工程の前に、表示画面12に表示された画像に基づいて、印刷定盤30を所定の位置に移動させることができる。このため、この転移工程において、スキージ機構20のスキージ22によって転移される導電性ペースト70を、第一基板シート61の第一基板凸部61a上に、確実に転移させることができる。
このように、スキージ機構20によって転移される導電性ペースト70が、第一基板シート61の第一基板凸部61a上に確実に載置されることとなるので、スキージ機構20のスキージ22によって導電性ペースト70を第一基板シート61上に一回転移させるだけで、後述する導電性バンプ71(図3(d)参照)の高さを十分なものにすることができる。
このため、従来技術と比較して、第一基板シート61の表面に導電性ペースト70を塗工する回数を減少させることができる。このため、導電性バンプ付基板の製造時間を短縮することができる。また、導電性ペースト70の使用量を減少させることもできる。さらに、導電性バンプ付き基板シートの製造における歩留まり率を高くすることもできる。
上述のように、導電性ペースト70が第一基板シート61の第一基板凸部61a上に載置されると、印刷定盤30は水平方向(図2の左側)に移動し、初期位置に戻ることとなる。このとき、スキージ機構20も初期位置に戻る。
次に、第一基板シート61の各第一基板凸部61aに付着した導電性ペースト70が、例えば160℃程度で乾燥されて硬化される(硬化工程)。この結果、第一基板シート61上に略円錐状の導電性バンプ71が形成されて(図3(d)参照)、導電性バンプ付き基板シートが生成される。なお、導電性ペースト70が紫外線硬化性の材料からなる場合には、導電性ペースト70を乾燥させる代わりに、導電性ペースト70に紫外線を照射することによって硬化させてもよい。
(多層プリント配線基板の生成)
次に、多層プリント配線基板を生成する工程について説明する。
上述のようにして導電性バンプ付き基板シートが生成されると、この導電性バンプ付き基板シート上に未硬化のプリプレグ(絶縁材料部材)75が配置され、当該プリプレグ75が緩衝材(図示せず)を介して押圧される(図3(e)参照)。このことによって、導電性バンプ71がプリプレグ75を貫通して、導電性バンプ付き基板シート上にプリプレグ75が位置づけられることとなる。この結果、第一基板シート61上であって第一基板凸部61aが配置されている箇所以外の箇所に、未硬化のプリプレグ75が配置されることとなる(絶縁材料部材配置工程)。このとき、プリプレグ75は、加熱部(図示せず)によって、硬化しない温度で加熱されている。
次に、導電性バンプ71と第二基板凸部66aとが対向して配置された後(図5(a)参照)、プリプレグ75が加熱されつつ、導電性バンプ71と第二基板凸部66aとの間に押圧力が付与される(押圧工程)(図5(b)参照)。
より具体的には、まず、上方に向かって延びた導電性バンプ71と対向する位置に、下方に向かって延びた第二基板凸部66aが位置づけられることとなる(図5(a)参照)。このとき、第一基板凸部61aと第二基板凸部66aに対応する部分以外に位置するプリプレグ75が熱硬化温度以上に加熱されて、第一基板シート61と第二基板シート66とが仮止めされる。
その後、第二平板状部材67が下方に押圧されて、導電性バンプ71と第二基板凸部66aとの間に押圧力が付与され、第一基板シート61上に設けられた導電性バンプ71が、第二基板シート66の第二基板凸部66aに貫入される(図5(b)参照)。このとき、プリプレグ75が熱硬化温度以上に加熱された後で冷却されることによって、第一基板シート61と第二基板シート66とが接着されることとなる。
このように、本実施の形態によれば、第一基板凸部61a上に形成されて嵩上げされた導電性バンプ71が、下方に向かって延びる第二基板凸部66a内に貫入されることとなるので、第一基板シート61と第二基板シート66とを、より確実に連結することができる。さらに、このような構成をとることによって、第一基板シート61と第二基板シート66(の第二基板凸部66a)との間の距離を短くすることができるとともに、導電性バンプ71と第二基板凸部66aとの接触面積を大きくすることができる。このため、第一基板シート61と第二基板シート66との間の抵抗値を低下させることができる。
ところで、本実施の形態では、第一平板状部材62の第一平板凸部62aが所定のパターンで配置され、第二平板状部材67の第二平板凸部67aが、第一平板凸部62aが配置されているパターンと鏡面対象のパターンで配置されている。このため、第一基板シート61を第一基板凸部61aが上方を向くように配置し、第二基板シート66を第二基板凸部66aが下方を向くように配置して、第一基板シート61と第二基板シート66の位置を、CCDカメラやX線カメラなどを用いて合わせを行うだけで、第一基板凸部61a上に形成された導電性バンプ71の各々と、第二基板凸部66aの各々とが、対向して配置されることとなる。
上述のようにして、第一基板シート61と第二基板シート66とがプリプレグ75によって接着されると、第二基板シート66から第二平板状部材67が剥離される(第二剥離工程)(図5(c)参照)。
次に、第一基板シート61および第二基板シート66のうち、ランド領域と回路パターン(所定の領域)がマスクされる。その後、エッチングなどによって、第一基板シート61および第二基板シート66のうちランド領域と回路パターン以外が除去されて、回路が形成される(回路形成工程)。
ところで、上記では、第一基板シート61に第一基板凸部61aが形成された直後(基板凸部形成工程の直後)に、第一平板状部材62が第一基板シート61から剥離される態様を用いて説明した(図3(b)参照)。
しかしながら、これに限られることなく、図6(d)(e)に示すように、押圧工程の後で、第一基板シート61から第一平板状部材62を剥離させてもよい(押圧工程の後に第一剥離工程を持ってきてもよい)。より具体的には、転移工程(図6(a)参照)、硬化工程(図6(b)参照)、絶縁材料部材配置工程(図6(b)参照)、押圧工程(図6(c)(d)参照)を順次経た後に、第一剥離工程および第二剥離工程(図6(e)参照)を行ってもよい。
このように、押圧工程の後で、第一基板シート61から第一平板状部材62を剥離させる場合には、絶縁材料部材配置工程および押圧工程において、第一基板凸部61aの下方に第一平板凸部62aが位置することとなる。このため、第一基板凸部61aがプリプレグ75を貫通する際に付与される押圧や(図6(b)参照)、押圧工程で第二基板凸部66aと導電性ペースト70との間に付与される押圧力(図6(d)参照)によって、第一基板凸部61aが凹んで元に戻ることを防止することができる。このため、より確実に、第一基板シート61と第二基板シート66との間の距離を短くすることができるとともに、第二基板凸部66aと導電性バンプ71との接触面積を大きくすることができる。この結果、第一基板シート61と第二基板シート66との間の抵抗値をより確実に下げることができる。
本発明の多層プリント配線板の製造方法の実施の形態に用いられる基板凸部生成装置の構成を示す概略側方図。 本発明の多層プリント配線板の製造方法の実施の形態に用いられる印刷装置を側方から見た概略側方図。 本発明の多層プリント配線板の製造方法の実施の形態における第一当接工程から絶縁材料部材配置工程までの態様を示した概略側方図。 本発明の多層プリント配線板の製造方法の実施の形態における第二当接工程と第二基板凸部形成工程を示した概略側方図。 本発明の多層プリント配線板の製造方法の実施の形態における押圧工程から第二剥離工程までの態様を示した概略側方図。 本発明の多層プリント配線板の製造方法の実施の形態の変形例を示した概略側方図。 基板シートに導電性バンプを形成する従来の方法を示す側面図。 図7の部分拡大側面図。 従来の方法により基板シートに導電性バンプが形成される過程を示す図。
符号の説明
11 CCDカメラ(画像取得装置)
12 画像表示装置
22 スキージ
27 スクリーン版
27a 貫通穴
61 第一基板シート
61a 第一基板凸部
62 第一平板状部材
62a 第一平板凸部
66 第二基板シート
66a 第二基板凸部
67 第二平板状部材
67a 第二平板凸部
70 導電性ペースト
71 導電性バンプ

Claims (4)

  1. 第一平板状部材の複数の第一平板凸部と第一基板シートとを当接させる第一当接工程と、
    前記第一基板シートまたは前記第一平板状部材に圧力を加えて、該第一基板シートに前記第一平板状部材の前記第一平板凸部に対応する第一基板凸部を形成する第一基板凸部形成工程と、
    スキージをスクリーン版上で走査させることによって、該スクリーン版に載置された導電性ペーストを該スクリーン版に設けられた貫通穴を通過させて、前記第一基板シートの前記第一基板凸部上に転移させる転移工程と、
    前記第一基板凸部上に転移された導電性ペーストを硬化させて導電性バンプを生成する硬化工程と、
    前記第一基板シート上であって前記第一基板凸部が配置されている箇所以外の箇所に、未硬化の絶縁材料部材を配置する絶縁材料部材配置工程と、
    第二平板状部材の複数の第二平板凸部と第二基板シートとを当接させる第二当接工程と、
    前記第二基板シートまたは前記第二平板状部材に圧力を加えて、該第二基板シートに前記第二平板状部材の前記第二平板凸部に対応する第二基板凸部を形成する第二基板凸部形成工程と、
    前記導電性バンプと前記第二基板凸部とを対向させて配置した後、前記導電性バンプと前記第二基板凸部との間に押圧力を付与する押圧工程と、
    を備えたことを特徴とする多層プリント配線板の製造方法。
  2. 前記第一平板状部材の前記第一平板凸部は、所定のパターンで配置され、
    前記第二平板状部材の前記第二平板凸部は、前記第一平板凸部が配置されているパターンと鏡面対象のパターンで配置されていることを特徴とする請求項1に記載の多層プリント配線板の製造方法。
  3. 前記押圧工程の後で、前記第一基板シートから第一平板状部材を剥離させる第一剥離工程をさらに備えたことを特徴とする請求項1に記載の多層プリント配線板の製造方法。
  4. 前記押圧工程の後で、前記第二基板シートから第二平板状部材を剥離させる第二剥離工程をさらに備えたことを特徴とする請求項1に記載の多層プリント配線板の製造方法。
JP2008244787A 2008-09-24 2008-09-24 多層プリント配線板の製造方法 Expired - Fee Related JP5176819B2 (ja)

Priority Applications (1)

Application Number Priority Date Filing Date Title
JP2008244787A JP5176819B2 (ja) 2008-09-24 2008-09-24 多層プリント配線板の製造方法

Applications Claiming Priority (1)

Application Number Priority Date Filing Date Title
JP2008244787A JP5176819B2 (ja) 2008-09-24 2008-09-24 多層プリント配線板の製造方法

Publications (2)

Publication Number Publication Date
JP2010080538A true JP2010080538A (ja) 2010-04-08
JP5176819B2 JP5176819B2 (ja) 2013-04-03

Family

ID=42210677

Family Applications (1)

Application Number Title Priority Date Filing Date
JP2008244787A Expired - Fee Related JP5176819B2 (ja) 2008-09-24 2008-09-24 多層プリント配線板の製造方法

Country Status (1)

Country Link
JP (1) JP5176819B2 (ja)

Citations (4)

* Cited by examiner, † Cited by third party
Publication number Priority date Publication date Assignee Title
JPH10163595A (ja) * 1996-12-03 1998-06-19 Toshiba Corp プリント配線板、これを備えた電子機器、およびプリント配線板の製造方法
JP2000164618A (ja) * 1998-11-26 2000-06-16 Shinko Electric Ind Co Ltd バンプ付き金属箔及び回路基板及びこれを用いた半導体装置
JP2001111211A (ja) * 1999-10-14 2001-04-20 Mitsubishi Electric Corp プリント基板の製造方法およびプリント基板
JP2003204162A (ja) * 2001-10-30 2003-07-18 Dainippon Printing Co Ltd プリント配線基板、プリント配線基板用レリーフパターン付金属板、及び、プリント配線基板の製造方法

Patent Citations (4)

* Cited by examiner, † Cited by third party
Publication number Priority date Publication date Assignee Title
JPH10163595A (ja) * 1996-12-03 1998-06-19 Toshiba Corp プリント配線板、これを備えた電子機器、およびプリント配線板の製造方法
JP2000164618A (ja) * 1998-11-26 2000-06-16 Shinko Electric Ind Co Ltd バンプ付き金属箔及び回路基板及びこれを用いた半導体装置
JP2001111211A (ja) * 1999-10-14 2001-04-20 Mitsubishi Electric Corp プリント基板の製造方法およびプリント基板
JP2003204162A (ja) * 2001-10-30 2003-07-18 Dainippon Printing Co Ltd プリント配線基板、プリント配線基板用レリーフパターン付金属板、及び、プリント配線基板の製造方法

Also Published As

Publication number Publication date
JP5176819B2 (ja) 2013-04-03

Similar Documents

Publication Publication Date Title
JP5067666B2 (ja) 印刷装置
JP5067667B2 (ja) 印刷方法
JP5088630B2 (ja) 導電性バンプ付き基板シート製造方法
JP5176819B2 (ja) 多層プリント配線板の製造方法
KR100748208B1 (ko) 연성회로기판의 라미네이팅 장치 및 그 방법
JP5077766B2 (ja) 印刷装置および印刷方法
JP5332476B2 (ja) 導電性バンプ付き基板シート製造方法および多層プリント配線板製造方法
JP5067671B2 (ja) 導電性バンプ付き基板シート製造方法
JP6078910B2 (ja) プリント配線基板製造方法、基板組合せ体およびプリント配線基板
JP5083132B2 (ja) 多層プリント配線板製造方法
JP5152663B2 (ja) 多層導電性バンプ付基板シート積層体製造方法および導電性バンプ付基板シート製造方法
JP5109900B2 (ja) 導電性バンプ付き基板シート製造方法
JP5125915B2 (ja) 導電性バンプ付き基板シート製造方法
JP2010080544A (ja) 導電性バンプ付き基板シートの製造方法および多層プリント配線板の製造方法
JP2010080545A (ja) 導電性バンプ付き基板シート、導電性基板シートおよび多層プリント配線板
JP2013021111A (ja) 導電性バンプ付き基板シートの製造装置および製造方法
JP5257782B2 (ja) 導電性バンプ付基板シートの製造方法および多層プリント配線板の製造方法
JP5262509B2 (ja) 印刷装置
JP5152658B2 (ja) 多層導電性バンプ付基板シート積層体製造方法、導電性バンプ付基板シート製造方法、導電性バンプ付基板シート、および基板シート
JP5056697B2 (ja) 印刷装置
JP5035668B2 (ja) 導電性バンプ付基板シート製造方法および多層プリント配線板製造方法
JP5120713B2 (ja) 多層プリント配線板製造方法
JP5034625B2 (ja) 多層プリント配線板製造方法
JP5152659B2 (ja) 多層導電性バンプ付基板シート積層体製造方法および導電性バンプ付基板シート製造方法
JP5120717B2 (ja) 多層プリント配線板製造方法

Legal Events

Date Code Title Description
A621 Written request for application examination

Free format text: JAPANESE INTERMEDIATE CODE: A621

Effective date: 20110623

A977 Report on retrieval

Free format text: JAPANESE INTERMEDIATE CODE: A971007

Effective date: 20120920

A131 Notification of reasons for refusal

Free format text: JAPANESE INTERMEDIATE CODE: A131

Effective date: 20120928

A521 Written amendment

Free format text: JAPANESE INTERMEDIATE CODE: A523

Effective date: 20121120

A01 Written decision to grant a patent or to grant a registration (utility model)

Free format text: JAPANESE INTERMEDIATE CODE: A01

Effective date: 20121211

A61 First payment of annual fees (during grant procedure)

Free format text: JAPANESE INTERMEDIATE CODE: A61

Effective date: 20121224

LAPS Cancellation because of no payment of annual fees