JP2010076049A - ドレッシング方法、ドレッシング条件の決定方法、ドレッシング条件決定プログラム、および研磨装置 - Google Patents
ドレッシング方法、ドレッシング条件の決定方法、ドレッシング条件決定プログラム、および研磨装置 Download PDFInfo
- Publication number
- JP2010076049A JP2010076049A JP2008247450A JP2008247450A JP2010076049A JP 2010076049 A JP2010076049 A JP 2010076049A JP 2008247450 A JP2008247450 A JP 2008247450A JP 2008247450 A JP2008247450 A JP 2008247450A JP 2010076049 A JP2010076049 A JP 2010076049A
- Authority
- JP
- Japan
- Prior art keywords
- dressing
- dresser
- sliding distance
- polishing
- diamond
- Prior art date
- Legal status (The legal status is an assumption and is not a legal conclusion. Google has not performed a legal analysis and makes no representation as to the accuracy of the status listed.)
- Granted
Links
Images
Classifications
-
- B—PERFORMING OPERATIONS; TRANSPORTING
- B24—GRINDING; POLISHING
- B24B—MACHINES, DEVICES, OR PROCESSES FOR GRINDING OR POLISHING; DRESSING OR CONDITIONING OF ABRADING SURFACES; FEEDING OF GRINDING, POLISHING, OR LAPPING AGENTS
- B24B53/00—Devices or means for dressing or conditioning abrasive surfaces
- B24B53/017—Devices or means for dressing, cleaning or otherwise conditioning lapping tools
Landscapes
- Engineering & Computer Science (AREA)
- Mechanical Engineering (AREA)
- Finish Polishing, Edge Sharpening, And Grinding By Specific Grinding Devices (AREA)
- Grinding-Machine Dressing And Accessory Apparatuses (AREA)
- Mechanical Treatment Of Semiconductor (AREA)
Abstract
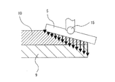
【解決手段】本発明のドレッシング方法は、研磨部材10の表面でのダイヤモンドドレッサ5の摺動距離分布をシミュレーションすることにより決定されるドレッシング条件で研磨部材10をドレッシングする。前記シミュレーションは、ダイヤモンドドレッサ5の表面に配置されたダイヤモンド粒子の研磨部材10への食い込みを考慮するシミュレーションである。
【選択図】図6
Description
ΔD0=Vrel×ΔT ・・・(1)
ここで、摺動距離算出点とドレッサとの接触判定でドレッサと接触しないと判定された摺動距離算出点においては、摺動距離の増分は0となる。
ΔD1=ΔD0×S ・・・(2)
もちろん、ドレッシング圧力が一定でドレッシングする場合は、摺動距離を補正する必要が無いので、ΔD1=ΔD0である。
ΔD2=ΔD1×K1 ・・・(4)
このように、本発明では、ダイヤモンド粒子の食い込み深さに応じて摺動距離を補正することにより、換言すればダイヤモンド粒子の食い込み深さを摺動距離に置き換えて、研磨部材の削れ量と摺動距離との比例関係の正確さ(双方の比例関係の一致性)の向上を実現している。
なお、補正された摺動距離の増分ΔD2が負の値をとらないように、補正係数K1の最小値は0とする。
K2=fΔ(C0)×x+fy0(C0) ・・・(5)
そして、摺動距離増分ΔD2を次のように補正する。
ΔD3=ΔD2×K2 ・・・(6)
このように本発明では、ドレッサの傾きに応じて摺動距離をさらに補正することにより、換言すればドレッサの傾きを摺動距離に置き換えることにより、研磨パッドの削れ量と摺動距離との比例関係の正確さ(双方の比例関係の一致性)の向上を実現している。
ΔD3=ΔD0×S×K1×K2 ・・・(7)
となり、補正の順番に依存しない。
5,6 ドレッサ(小径ドレッサ)
8,11,56,57 研磨テーブル
10 研磨パッド(研磨部材)
12 ドレッシングユニット
15 自在継ぎ手
16 ドレッサ回転軸
17,18 ドレッサアーム
52,53 トップリング
54,55 エアバッグ
58 リテーナリング
60,61 砥液ノズル
70 ウェーハステーション
93,94 センサ
95,96 リンスノズル
98 回転式ウェーハステーション
108 圧力調整機構
130 演算装置
Claims (17)
- 研磨部材表面でのダイヤモンドドレッサの摺動距離分布をシミュレーションすることにより決定されるドレッシング条件で前記研磨部材をドレッシングするドレッシング方法であって、
前記シミュレーションが、前記ダイヤモンド粒子の前記研磨部材への食い込み深さに応じて補正された摺動距離を計算する工程を含むシミュレーションであることを特徴とするドレッシング方法。 - 前記シミュレーションが、前記ダイヤモンドドレッサが前記研磨部材からはみ出したときの前記ダイヤモンドドレッサの傾きに応じて更に補正された摺動距離を計算する工程を含むシミュレーションであることを特徴とする請求項1に記載のドレッシング方法。
- 前記シミュレーションが、前記ダイヤモンドドレッサの移動の加速度に応じて摺動距離を計算する工程を含むシミュレーションであることを特徴とする請求項1または請求項2に記載のドレッシング方法。
- ダイヤモンドドレッサを用いた研磨部材のドレッシング方法であって、
仮のドレッシング条件を用いて前記研磨部材表面での前記ダイヤモンドドレッサの摺動距離を計算するステップと、
前記計算された摺動距離を、前記ダイヤモンドドレッサ表面に配置されたダイヤモンド粒子の前記研磨部材への食い込み深さに応じて補正するステップと、
所望の摺動距離分布となるドレッシング条件を、前記仮のドレッシング条件を変えることで探索するステップと、
前記探索されたドレッシング条件で前記ダイヤモンドドレッサにより前記研磨部材をドレッシングするステップと
を含むことを特徴とするドレッシング方法。 - 前記補正された摺動距離を、前記ダイヤモンドドレッサが前記研磨部材からはみ出したときの前記ダイヤモンドドレッサの傾きに応じて補正するステップを更に含むことを特徴とする請求項4に記載のドレッシング方法。
- 前記摺動距離を計算するステップが、前記ダイヤモンドドレッサの移動の加速度に応じて摺動距離を計算するステップであることを特徴とする請求項4または請求項5に記載のドレッシング方法。
- ダイヤモンドドレッサを用いた研磨部材のドレッシングにおけるドレッシング条件の決定方法であって、
仮のドレッシング条件を用いて前記研磨部材表面での前記ダイヤモンドドレッサの摺動距離を計算するステップと、
前記計算された摺動距離を、前記ダイヤモンドドレッサ表面に配置されたダイヤモンド粒子の前記研磨部材への食い込み深さに応じて補正するステップと、
所望の摺動距離分布となるドレッシング条件を、前記仮のドレッシング条件を変えることで探索するステップと、
を含むことを特徴とするドレッシング条件決定方法。 - 前記補正された摺動距離を、前記ダイヤモンドドレッサが前記研磨部材からはみ出したときの前記ダイヤモンドドレッサの傾きに応じて補正するステップを更に含むことを特徴とする請求項7に記載のドレッシング条件決定方法。
- 前記摺動距離を計算するステップが、前記ダイヤモンドドレッサの移動の加速度に応じて摺動距離を計算するステップであることを特徴とする請求項7または請求項8に記載のドレッシング条件決定方法。
- ダイヤモンドドレッサを用いた研磨部材のドレッシングにおけるドレッシング条件の決定プログラムであって、
仮のドレッシング条件を用いて前記研磨部材表面での前記ダイヤモンドドレッサの摺動距離を計算するステップと、
前記計算された摺動距離を、前記ダイヤモンドドレッサ表面に配置されたダイヤモンド粒子の前記研磨部材への食い込み深さに応じて補正するステップと、
所望の摺動距離分布となるドレッシング条件を仮のドレッシング条件を変えることで探索するステップと、
をコンピュータに実行させることを特徴とするドレッシング条件決定プログラム。 - 前記補正された摺動距離を、前記ダイヤモンドドレッサが前記研磨部材からはみ出したときの前記ダイヤモンドドレッサの傾きに応じて補正するステップを更にコンピュータに実行させることを特徴とする請求項10に記載のドレッシング条件決定プログラム。
- 前記摺動距離を計算するステップが、前記ダイヤモンドドレッサの移動の加速度に応じて摺動距離を計算するステップであることを特徴とする請求項10または請求項11に記載のドレッシング条件決定プログラム。
- 記録媒体であって、請求項10乃至12のいずれか一項に記載のプログラムを記録した、コンピュータ読み取り可能な記録媒体。
- 研磨対象物と研磨部材とを摺接させる相対運動機構と、
前記研磨部材のドレッシングを行うダイヤモンドドレッサを有するドレッシングユニットと、
前記ダイヤモンドドレッサの摺動距離分布を用いて所望の研磨部材削れ量分布となるドレッシング条件を決定する演算装置とを備え、
前記ドレッシングユニットは、前記演算装置で決定したドレッシング条件で前記研磨部材をドレッシングすることを特徴とする研磨装置。 - 前記演算装置は、前記ダイヤモンドドレッサ表面に配置されたダイヤモンド粒子の前記研磨部材への食い込み深さに応じて補正された摺動距離を計算することを特徴とする請求項14に記載の研磨装置。
- 前記演算装置は、前記研磨部材から前記ダイヤモンドドレッサがはみ出したときの前記ダイヤモンドドレッサの傾きに応じてさらに補正された摺動距離を計算することを特徴とする請求項15に記載の研磨装置。
- 前記演算装置は、前記ダイヤモンドドレッサの移動の加速度に応じて摺動距離を計算することを特徴とする請求項15または16に記載の研磨装置。
Priority Applications (3)
| Application Number | Priority Date | Filing Date | Title |
|---|---|---|---|
| JP2008247450A JP5415735B2 (ja) | 2008-09-26 | 2008-09-26 | ドレッシング方法、ドレッシング条件の決定方法、ドレッシング条件決定プログラム、および研磨装置 |
| US12/566,224 US8655478B2 (en) | 2008-09-26 | 2009-09-24 | Dressing method, method of determining dressing conditions, program for determining dressing conditions, and polishing apparatus |
| US14/150,068 US8965555B2 (en) | 2008-09-26 | 2014-01-08 | Dressing method, method of determining dressing conditions, program for determining dressing conditions, and polishing apparatus |
Applications Claiming Priority (1)
| Application Number | Priority Date | Filing Date | Title |
|---|---|---|---|
| JP2008247450A JP5415735B2 (ja) | 2008-09-26 | 2008-09-26 | ドレッシング方法、ドレッシング条件の決定方法、ドレッシング条件決定プログラム、および研磨装置 |
Publications (3)
| Publication Number | Publication Date |
|---|---|
| JP2010076049A true JP2010076049A (ja) | 2010-04-08 |
| JP2010076049A5 JP2010076049A5 (ja) | 2011-11-04 |
| JP5415735B2 JP5415735B2 (ja) | 2014-02-12 |
Family
ID=42057968
Family Applications (1)
| Application Number | Title | Priority Date | Filing Date |
|---|---|---|---|
| JP2008247450A Active JP5415735B2 (ja) | 2008-09-26 | 2008-09-26 | ドレッシング方法、ドレッシング条件の決定方法、ドレッシング条件決定プログラム、および研磨装置 |
Country Status (2)
| Country | Link |
|---|---|
| US (2) | US8655478B2 (ja) |
| JP (1) | JP5415735B2 (ja) |
Cited By (14)
| Publication number | Priority date | Publication date | Assignee | Title |
|---|---|---|---|---|
| JP2012254490A (ja) * | 2011-06-08 | 2012-12-27 | Ebara Corp | 研磨パッドのコンディショニング方法及び装置 |
| KR20140105386A (ko) | 2013-02-22 | 2014-09-01 | 가부시키가이샤 에바라 세이사꾸쇼 | 드레서의 연마 부재 상의 미끄럼 이동 거리 분포의 취득 방법, 드레서의 연마 부재 상의 미끄럼 이동 벡터 분포의 취득 방법 및 연마 장치 |
| KR20140106405A (ko) | 2013-02-25 | 2014-09-03 | 가부시키가이샤 에바라 세이사꾸쇼 | 연마 장치에 사용되는 연마 부재의 프로파일 조정 방법 및 연마 장치 |
| KR20160079690A (ko) | 2014-12-26 | 2016-07-06 | 가부시키가이샤 에바라 세이사꾸쇼 | 연마 장치 및 그 제어 방법 |
| JP2016129931A (ja) * | 2012-08-28 | 2016-07-21 | 株式会社荏原製作所 | ドレッシングプロセスの監視方法および研磨装置 |
| WO2016117485A1 (ja) * | 2015-01-19 | 2016-07-28 | 株式会社荏原製作所 | バフ研磨処理における研磨量のシミュレーション方法およびバフ研磨装置 |
| KR20160112992A (ko) | 2015-03-19 | 2016-09-28 | 가부시키가이샤 에바라 세이사꾸쇼 | 연마 장치 및 그 제어 방법 및 드레싱 조건 출력 방법 |
| WO2017056392A1 (ja) * | 2015-10-01 | 2017-04-06 | 信越半導体株式会社 | 研磨パッドのコンディショニング方法及び研磨装置 |
| CN108972317A (zh) * | 2017-05-30 | 2018-12-11 | 株式会社荏原制作所 | 校准方法和记录有校准程序的非暂时性的计算机可读取的记录介质 |
| JP2019013999A (ja) * | 2017-07-05 | 2019-01-31 | 株式会社荏原製作所 | 基板研磨装置及び方法 |
| KR20200078375A (ko) * | 2018-12-21 | 2020-07-01 | 가부시키가이샤 에바라 세이사꾸쇼 | 연마 장치 및 연마 부재의 드레싱 방법 |
| JP2020099966A (ja) * | 2018-12-21 | 2020-07-02 | 株式会社荏原製作所 | 研磨装置及び研磨部材のドレッシング方法 |
| JP2020104196A (ja) * | 2018-12-26 | 2020-07-09 | 株式会社荏原製作所 | 研磨装置及び研磨部材のドレッシング方法 |
| WO2025070643A1 (ja) * | 2023-09-29 | 2025-04-03 | 株式会社荏原製作所 | ドレッシング条件決定装置およびドレッシング条件決定方法 |
Families Citing this family (15)
| Publication number | Priority date | Publication date | Assignee | Title |
|---|---|---|---|---|
| JP5504901B2 (ja) * | 2010-01-13 | 2014-05-28 | 株式会社Sumco | 研磨パッドの形状修正方法 |
| JP2015500151A (ja) * | 2011-12-16 | 2015-01-05 | エルジー シルトロン インコーポレイテッド | ウェハーの研磨装置及びウェハーの研磨方法 |
| US10977254B2 (en) * | 2014-04-01 | 2021-04-13 | Healthgrades Operating Company, Inc. | Healthcare provider search based on experience |
| US10600634B2 (en) * | 2015-12-21 | 2020-03-24 | Globalwafers Co., Ltd. | Semiconductor substrate polishing methods with dynamic control |
| JP6842859B2 (ja) * | 2016-08-12 | 2021-03-17 | 株式会社荏原製作所 | ドレッシング装置、研磨装置、ホルダー、ハウジング及びドレッシング方法 |
| CN106863136B (zh) * | 2017-01-15 | 2019-06-21 | 复旦大学 | Ccos抛光工艺全频段收敛路径规划方法 |
| JP7141204B2 (ja) * | 2017-10-19 | 2022-09-22 | 株式会社荏原製作所 | 研磨装置、及び研磨方法 |
| US11081359B2 (en) | 2018-09-10 | 2021-08-03 | Globalwafers Co., Ltd. | Methods for polishing semiconductor substrates that adjust for pad-to-pad variance |
| CN109459980A (zh) * | 2018-10-25 | 2019-03-12 | 山东中衡光电科技有限公司 | 一种光学镜面加工共融机器人控制系统及方法 |
| US12208487B2 (en) | 2018-10-29 | 2025-01-28 | Taiwan Semiconductor Manufacturing Co., Ltd. | Chemical mechanical polishing apparatus and method |
| US11279001B2 (en) * | 2019-02-22 | 2022-03-22 | Taiwan Semiconductor Manufacturing Co., Ltd. | Method and apparatus for monitoring chemical mechanical polishing process |
| CN110990964A (zh) * | 2019-10-24 | 2020-04-10 | 武汉理工大学 | 一种抑制机器人砂带磨抛工程陶瓷表面微裂纹的加工工艺 |
| CN111805427B (zh) * | 2020-07-21 | 2022-05-24 | 中国科学院长春光学精密机械与物理研究所 | 一种磁流变抛光设备的精度标定装置及方法 |
| JP7529530B2 (ja) * | 2020-10-21 | 2024-08-06 | 株式会社ディスコ | リニアゲージ |
| CN117718876B (zh) | 2024-02-07 | 2024-06-18 | 华海清科股份有限公司 | 用于化学机械抛光的监测方法和化学机械抛光设备 |
Citations (3)
| Publication number | Priority date | Publication date | Assignee | Title |
|---|---|---|---|---|
| JPH10550A (ja) * | 1996-06-11 | 1998-01-06 | Toshiba Mach Co Ltd | 研磨布ドレッシング方法およびその装置 |
| JP2005521565A (ja) * | 2002-04-03 | 2005-07-21 | スリーエム イノベイティブ プロパティズ カンパニー | 研磨物品ならびに研磨物品の製造および使用の方法 |
| JP2006186088A (ja) * | 2004-12-27 | 2006-07-13 | Ebara Corp | 研磨装置および研磨方法 |
Family Cites Families (15)
| Publication number | Priority date | Publication date | Assignee | Title |
|---|---|---|---|---|
| US5599423A (en) * | 1995-06-30 | 1997-02-04 | Applied Materials, Inc. | Apparatus and method for simulating and optimizing a chemical mechanical polishing system |
| TW355153B (en) * | 1996-05-21 | 1999-04-01 | Toshiba Machine Co Ltd | A method for leveling abrasive cloth and device for the same |
| KR100524510B1 (ko) * | 1996-06-25 | 2006-01-12 | 가부시키가이샤 에바라 세이사꾸쇼 | 연마포를드레싱하는방법과장치 |
| JP3615931B2 (ja) * | 1998-03-26 | 2005-02-02 | 株式会社荏原製作所 | ポリッシング装置および該ポリッシング装置におけるコンディショニング方法 |
| US6629874B1 (en) * | 1999-10-27 | 2003-10-07 | Strasbaugh | Feature height measurement during CMP |
| US6857942B1 (en) * | 2000-01-11 | 2005-02-22 | Taiwan Semiconductor Manufacturing Co., Ltd | Apparatus and method for pre-conditioning a conditioning disc |
| US7101799B2 (en) | 2001-06-19 | 2006-09-05 | Applied Materials, Inc. | Feedforward and feedback control for conditioning of chemical mechanical polishing pad |
| US6910947B2 (en) | 2001-06-19 | 2005-06-28 | Applied Materials, Inc. | Control of chemical mechanical polishing pad conditioner directional velocity to improve pad life |
| JP2004047876A (ja) | 2002-07-15 | 2004-02-12 | Tokyo Seimitsu Co Ltd | 研磨装置及び研磨方法 |
| JP3874356B2 (ja) * | 2004-05-06 | 2007-01-31 | 株式会社ナビタイムジャパン | 携帯型案内装置 |
| US20070205112A1 (en) * | 2004-08-27 | 2007-09-06 | Masako Kodera | Polishing apparatus and polishing method |
| EP2418677B1 (en) * | 2004-11-01 | 2016-12-07 | Ebara Corporation | Polishing apparatus |
| DE102006049904B4 (de) * | 2005-10-24 | 2009-10-29 | DENSO CORPORATION, Kariya-shi | Neigungssensor für ein Fahrzeug, sowie Antidiebstahlsystem hiemit |
| US7749050B2 (en) * | 2006-02-06 | 2010-07-06 | Chien-Min Sung | Pad conditioner dresser |
| US7846006B2 (en) * | 2006-06-30 | 2010-12-07 | Memc Electronic Materials, Inc. | Dressing a wafer polishing pad |
-
2008
- 2008-09-26 JP JP2008247450A patent/JP5415735B2/ja active Active
-
2009
- 2009-09-24 US US12/566,224 patent/US8655478B2/en active Active
-
2014
- 2014-01-08 US US14/150,068 patent/US8965555B2/en active Active
Patent Citations (3)
| Publication number | Priority date | Publication date | Assignee | Title |
|---|---|---|---|---|
| JPH10550A (ja) * | 1996-06-11 | 1998-01-06 | Toshiba Mach Co Ltd | 研磨布ドレッシング方法およびその装置 |
| JP2005521565A (ja) * | 2002-04-03 | 2005-07-21 | スリーエム イノベイティブ プロパティズ カンパニー | 研磨物品ならびに研磨物品の製造および使用の方法 |
| JP2006186088A (ja) * | 2004-12-27 | 2006-07-13 | Ebara Corp | 研磨装置および研磨方法 |
Cited By (38)
| Publication number | Priority date | Publication date | Assignee | Title |
|---|---|---|---|---|
| JP2012254490A (ja) * | 2011-06-08 | 2012-12-27 | Ebara Corp | 研磨パッドのコンディショニング方法及び装置 |
| US9533395B2 (en) | 2011-06-08 | 2017-01-03 | Ebara Corporation | Method and apparatus for conditioning a polishing pad |
| KR101796325B1 (ko) | 2011-06-08 | 2017-11-09 | 가부시키가이샤 에바라 세이사꾸쇼 | 연마 패드 컨디셔닝 방법 및 장치 |
| JP2016047593A (ja) * | 2011-06-08 | 2016-04-07 | 株式会社荏原製作所 | 研磨パッドのコンディショニング方法及び装置 |
| US9469013B2 (en) | 2011-06-08 | 2016-10-18 | Ebara Corporation | Method and apparatus for conditioning a polishing pad |
| JP2016129931A (ja) * | 2012-08-28 | 2016-07-21 | 株式会社荏原製作所 | ドレッシングプロセスの監視方法および研磨装置 |
| US9108292B2 (en) | 2013-02-22 | 2015-08-18 | Ebara Corporation | Method of obtaining a sliding distance distribution of a dresser on a polishing member, method of obtaining a sliding vector distribution of a dresser on a polishing member, and polishing apparatus |
| KR20140105386A (ko) | 2013-02-22 | 2014-09-01 | 가부시키가이샤 에바라 세이사꾸쇼 | 드레서의 연마 부재 상의 미끄럼 이동 거리 분포의 취득 방법, 드레서의 연마 부재 상의 미끄럼 이동 벡터 분포의 취득 방법 및 연마 장치 |
| JP2014161938A (ja) * | 2013-02-22 | 2014-09-08 | Ebara Corp | ドレッサの研磨部材上の摺動距離分布の取得方法、ドレッサの研磨部材上の摺動ベクトル分布の取得方法、および研磨装置 |
| KR101959583B1 (ko) * | 2013-02-22 | 2019-03-18 | 가부시키가이샤 에바라 세이사꾸쇼 | 드레서의 연마 부재 상의 미끄럼 이동 거리 분포의 취득 방법, 드레서의 연마 부재 상의 미끄럼 이동 벡터 분포의 취득 방법 및 연마 장치 |
| US9156130B2 (en) | 2013-02-25 | 2015-10-13 | Ebara Corporation | Method of adjusting profile of a polishing member used in a polishing apparatus, and polishing apparatus |
| KR20140106405A (ko) | 2013-02-25 | 2014-09-03 | 가부시키가이샤 에바라 세이사꾸쇼 | 연마 장치에 사용되는 연마 부재의 프로파일 조정 방법 및 연마 장치 |
| US10016871B2 (en) | 2014-12-26 | 2018-07-10 | Ebara Corporation | Polishing apparatus and controlling the same |
| KR20160079690A (ko) | 2014-12-26 | 2016-07-06 | 가부시키가이샤 에바라 세이사꾸쇼 | 연마 장치 및 그 제어 방법 |
| WO2016117485A1 (ja) * | 2015-01-19 | 2016-07-28 | 株式会社荏原製作所 | バフ研磨処理における研磨量のシミュレーション方法およびバフ研磨装置 |
| US10792782B2 (en) | 2015-01-19 | 2020-10-06 | Ebara Corporation | Polishing-amount simulation method for buffing, and buffing apparatus |
| JPWO2016117485A1 (ja) * | 2015-01-19 | 2017-10-26 | 株式会社荏原製作所 | バフ研磨処理における研磨量のシミュレーション方法およびバフ研磨装置 |
| US9962804B2 (en) | 2015-03-19 | 2018-05-08 | Ebara Corporation | Polishing apparatus, method for controlling the same, and method for outputting a dressing condition |
| JP2016175146A (ja) * | 2015-03-19 | 2016-10-06 | 株式会社荏原製作所 | 研磨装置およびその制御方法ならびにドレッシング条件出力方法 |
| KR20160112992A (ko) | 2015-03-19 | 2016-09-28 | 가부시키가이샤 에바라 세이사꾸쇼 | 연마 장치 및 그 제어 방법 및 드레싱 조건 출력 방법 |
| JP2019059017A (ja) * | 2015-03-19 | 2019-04-18 | 株式会社荏原製作所 | 研磨装置およびその制御方法ならびにドレッシング条件出力方法 |
| KR102455815B1 (ko) | 2015-03-19 | 2022-10-18 | 가부시키가이샤 에바라 세이사꾸쇼 | 연마 장치 및 그 제어 방법 및 드레싱 조건 출력 방법 |
| KR20210105857A (ko) | 2015-03-19 | 2021-08-27 | 가부시키가이샤 에바라 세이사꾸쇼 | 연마 장치 및 그 제어 방법 및 드레싱 조건 출력 방법 |
| WO2017056392A1 (ja) * | 2015-10-01 | 2017-04-06 | 信越半導体株式会社 | 研磨パッドのコンディショニング方法及び研磨装置 |
| US10730161B2 (en) | 2015-10-01 | 2020-08-04 | Shin-Etsu Handotai Co., Ltd. | Method for conditioning polishing pad and polishing apparatus |
| CN108972317A (zh) * | 2017-05-30 | 2018-12-11 | 株式会社荏原制作所 | 校准方法和记录有校准程序的非暂时性的计算机可读取的记录介质 |
| JP2019013999A (ja) * | 2017-07-05 | 2019-01-31 | 株式会社荏原製作所 | 基板研磨装置及び方法 |
| JP7113737B2 (ja) | 2018-12-21 | 2022-08-05 | 株式会社荏原製作所 | 研磨装置及び研磨部材のドレッシング方法 |
| CN111496668A (zh) * | 2018-12-21 | 2020-08-07 | 株式会社荏原制作所 | 研磨装置及研磨部件的修整方法 |
| JP2020099966A (ja) * | 2018-12-21 | 2020-07-02 | 株式会社荏原製作所 | 研磨装置及び研磨部材のドレッシング方法 |
| US11458589B2 (en) | 2018-12-21 | 2022-10-04 | Ebara Corporation | Polishing apparatus and polishing member dressing method |
| KR20200078375A (ko) * | 2018-12-21 | 2020-07-01 | 가부시키가이샤 에바라 세이사꾸쇼 | 연마 장치 및 연마 부재의 드레싱 방법 |
| KR102524816B1 (ko) | 2018-12-21 | 2023-04-24 | 가부시키가이샤 에바라 세이사꾸쇼 | 연마 장치 및 연마 부재의 드레싱 방법 |
| TWI819138B (zh) * | 2018-12-21 | 2023-10-21 | 日商荏原製作所股份有限公司 | 研磨裝置及研磨構件的修整方法 |
| US11945075B2 (en) | 2018-12-21 | 2024-04-02 | Ebara Corporation | Polishing apparatus and polishing member dressing method |
| JP2020104196A (ja) * | 2018-12-26 | 2020-07-09 | 株式会社荏原製作所 | 研磨装置及び研磨部材のドレッシング方法 |
| JP7113742B2 (ja) | 2018-12-26 | 2022-08-05 | 株式会社荏原製作所 | 研磨装置及び研磨部材のドレッシング方法 |
| WO2025070643A1 (ja) * | 2023-09-29 | 2025-04-03 | 株式会社荏原製作所 | ドレッシング条件決定装置およびドレッシング条件決定方法 |
Also Published As
| Publication number | Publication date |
|---|---|
| US20140120808A1 (en) | 2014-05-01 |
| US8965555B2 (en) | 2015-02-24 |
| US8655478B2 (en) | 2014-02-18 |
| US20100081361A1 (en) | 2010-04-01 |
| JP5415735B2 (ja) | 2014-02-12 |
Similar Documents
| Publication | Publication Date | Title |
|---|---|---|
| JP5415735B2 (ja) | ドレッシング方法、ドレッシング条件の決定方法、ドレッシング条件決定プログラム、および研磨装置 | |
| JP5964262B2 (ja) | 研磨装置に使用される研磨部材のプロファイル調整方法、および研磨装置 | |
| US9108292B2 (en) | Method of obtaining a sliding distance distribution of a dresser on a polishing member, method of obtaining a sliding vector distribution of a dresser on a polishing member, and polishing apparatus | |
| KR102516815B1 (ko) | 기판의 연마 장치 | |
| KR101005043B1 (ko) | 프로파일측정방법 | |
| TWI748097B (zh) | 基板研磨裝置及方法 | |
| KR20180097136A (ko) | 기판의 연마 장치 및 연마 방법 | |
| JP2022032201A (ja) | 基板処理装置及び研磨部材のドレッシング制御方法 | |
| JP2021130150A (ja) | 加工システム | |
| WO2001032360A1 (en) | Closed-loop ultrasonic conditioning control for polishing pads | |
| JP2018158399A (ja) | 基板の研磨装置および研磨方法 | |
| TW202426177A (zh) | 基板研磨裝置、基板處理裝置、方法及記憶媒體 | |
| JPH10296621A (ja) | 研磨装置、研磨方法、研磨パッドおよび研磨パッドの形成方法 | |
| TW202434398A (zh) | 基板研磨裝置、基板處理裝置、方法及記憶媒體 | |
| JP2002246350A (ja) | 平面研磨方法 |
Legal Events
| Date | Code | Title | Description |
|---|---|---|---|
| A521 | Request for written amendment filed |
Free format text: JAPANESE INTERMEDIATE CODE: A523 Effective date: 20110920 |
|
| A621 | Written request for application examination |
Free format text: JAPANESE INTERMEDIATE CODE: A621 Effective date: 20110920 |
|
| A131 | Notification of reasons for refusal |
Free format text: JAPANESE INTERMEDIATE CODE: A131 Effective date: 20130730 |
|
| A521 | Request for written amendment filed |
Free format text: JAPANESE INTERMEDIATE CODE: A523 Effective date: 20130930 |
|
| TRDD | Decision of grant or rejection written | ||
| A01 | Written decision to grant a patent or to grant a registration (utility model) |
Free format text: JAPANESE INTERMEDIATE CODE: A01 Effective date: 20131022 |
|
| A61 | First payment of annual fees (during grant procedure) |
Free format text: JAPANESE INTERMEDIATE CODE: A61 Effective date: 20131114 |
|
| R150 | Certificate of patent or registration of utility model |
Ref document number: 5415735 Country of ref document: JP Free format text: JAPANESE INTERMEDIATE CODE: R150 |
|
| R250 | Receipt of annual fees |
Free format text: JAPANESE INTERMEDIATE CODE: R250 |
|
| R250 | Receipt of annual fees |
Free format text: JAPANESE INTERMEDIATE CODE: R250 |
|
| R250 | Receipt of annual fees |
Free format text: JAPANESE INTERMEDIATE CODE: R250 |
|
| R250 | Receipt of annual fees |
Free format text: JAPANESE INTERMEDIATE CODE: R250 |
|
| R250 | Receipt of annual fees |
Free format text: JAPANESE INTERMEDIATE CODE: R250 |
|
| R250 | Receipt of annual fees |
Free format text: JAPANESE INTERMEDIATE CODE: R250 |
|
| R250 | Receipt of annual fees |
Free format text: JAPANESE INTERMEDIATE CODE: R250 |
|
| R250 | Receipt of annual fees |
Free format text: JAPANESE INTERMEDIATE CODE: R250 |
|
| R250 | Receipt of annual fees |
Free format text: JAPANESE INTERMEDIATE CODE: R250 |
|
| R250 | Receipt of annual fees |
Free format text: JAPANESE INTERMEDIATE CODE: R250 |
