JP2010073376A - コネクタ - Google Patents

コネクタ Download PDF

Info

Publication number
JP2010073376A
JP2010073376A JP2008237204A JP2008237204A JP2010073376A JP 2010073376 A JP2010073376 A JP 2010073376A JP 2008237204 A JP2008237204 A JP 2008237204A JP 2008237204 A JP2008237204 A JP 2008237204A JP 2010073376 A JP2010073376 A JP 2010073376A
Authority
JP
Japan
Prior art keywords
housings
housing
lock
movable lock
lock member
Prior art date
Legal status (The legal status is an assumption and is not a legal conclusion. Google has not performed a legal analysis and makes no representation as to the accuracy of the status listed.)
Granted
Application number
JP2008237204A
Other languages
English (en)
Other versions
JP5211967B2 (ja
Inventor
Toshisuke Tanimura
俊輔 谷村
Current Assignee (The listed assignees may be inaccurate. Google has not performed a legal analysis and makes no representation or warranty as to the accuracy of the list.)
Sumitomo Wiring Systems Ltd
Original Assignee
Sumitomo Wiring Systems Ltd
Priority date (The priority date is an assumption and is not a legal conclusion. Google has not performed a legal analysis and makes no representation as to the accuracy of the date listed.)
Filing date
Publication date
Application filed by Sumitomo Wiring Systems Ltd filed Critical Sumitomo Wiring Systems Ltd
Priority to JP2008237204A priority Critical patent/JP5211967B2/ja
Publication of JP2010073376A publication Critical patent/JP2010073376A/ja
Application granted granted Critical
Publication of JP5211967B2 publication Critical patent/JP5211967B2/ja
Expired - Fee Related legal-status Critical Current
Anticipated expiration legal-status Critical

Links

Images

Landscapes

  • Details Of Connecting Devices For Male And Female Coupling (AREA)

Abstract

【課題】ロックアームを大きく弾性撓みさせずに、両ハウジングを嵌合状態にロックする。
【解決手段】第2ハウジング20に設けた可動ロック部材30は、ロックアーム11と係止可能なロック位置とロックアーム11との係止を解除する解除位置との間で変位し、付勢部材40によってロック位置側へ付勢されている。両ハウジング10,20の嵌合過程では、ロックアーム11が可動ロック部材30を解除位置へ変位させ、両ハウジング10,20が正規嵌合すると、可動ロック部材30がロック位置へ進出してロックアーム11と係止し、両ハウジング10,20が嵌合状態にロックされる。両ハウジング10,20が嵌合する過程では、可動ロック部材30を変位させるので、ロックアーム11を大きく弾性変形させる必要がない。
【選択図】図5

Description

本発明は、コネクタに関するものである。
特許文献1には、弾性的に傾動可能なロックアームを有する第1ハウジングと、ロック用係止部を有する第2ハウジングとを嵌合させるコネクタが開示されている。このコネクタでは、両ハウジングの嵌合過程で、ロックアームが弾性撓みすることによりロック用係止部を乗り越え、両ハウジングが正規嵌合状態に至ると、ロックアームが弾性復帰してロック用係止部に係止することにより、両ハウジングが離脱規制状態にロックされるようになっている。
特開2007−141508公報
エンジンルーム内やマフラー近傍等の高温の環境下で使用されるコネクタの材料として、耐熱性の高い合成樹脂が用いられることが考えられているが、縦熱性の高い合成樹脂の中には撓み剛性の高い材料のものもある。撓み剛性の高い材料を選択した場合、両ハウジングを嵌合状態にロックする手段として、ロックアームを大きく弾性撓みさせる構造を採用することは難しくなる。
本発明は上記のような事情に基づいて完成されたものであって、ロックアームを大きく弾性撓みさせなくても、両ハウジングを嵌合状態にロックできるようにすることを目的とする。
上記の目的を達成するための手段として、請求項1の発明は、ロックアームが一体に形成された第1ハウジングと、前記第1ハウジングと嵌合可能な第2ハウジングと、前記第2ハウジングとは別体であって、前記第2ハウジングに対し、嵌合時における前記ロックアームの移動経路上に進出して前記ロックアームと係止可能となるロック位置と、嵌合時における前記ロックアームの移動経路外へ退避して前記ロックアームとの係止を解除する解除位置との間での相対変位を可能に設けられた可動ロック部材と、前記可動ロック部材を前記ロック位置側へ付勢する付勢部材とを備えているところに特徴を有する。
請求項2の発明は、請求項1に記載のものにおいて、前記第2ハウジングには、前記可動ロック部材が前記解除位置を超えて前記ロック位置とは反対側へ変位するのを規制するストッパが設けられているところに特徴を有する。
請求項3の発明は、請求項1または請求項2に記載のものにおいて、前記可動ロック部材の変位方向が、前記両ハウジングの嵌合方向に対して斜め方向とされ、前記可動ロック部材と前記付勢部材とが、前記両ハウジングの嵌合方向と略平行な方向に並ぶように配置されているところに特徴を有する。
請求項4の発明は、請求項3に記載のものにおいて、前記付勢部材は、付勢力の変動に伴って前記両ハウジングの嵌合方向と平行に変位可能であり、前記可動ロック部材に対し前記ロック位置側へ押圧するように当接する押圧部材を備えており、前記押圧部材と前記可動ロック部材との互いに当接する部分のうち少なくとも一方は、前記両ハウジングの嵌合方向に対して傾斜し、且つその傾斜角度が前記両ハウジングの嵌合方向と前記可動ロック部材の移動方向とがなす角度よりも大きい角度とされた当接面となっているところに特徴を有する。
請求項5の発明は、請求項1ないし請求項4のいずれかに記載のものにおいて、前記可動ロック部材が、前記第2ハウジングの内部に収容された形態とされており、前記第2ハウジングには、その外部から前記可動ロック部材に対して治具を係止させることを可能にする作業孔が形成されているところに特徴を有する。
<請求項1の発明>
両ハウジングを嵌合する過程では、ロックアームが、可動ロック部材を付勢部材の付勢に抗して解除位置へ変位させる。両ハウジングが正規嵌合状態に至ると、可動ロック部材が、付勢部材の付勢に従ってロック位置へ進出してロックアームと係止し、この係止作用により、両ハウジングが嵌合状態にロックされる。両ハウジングが嵌合する過程では、可動ロック部材を変位させるようにしたので、ロックアームを大きく弾性変形させる必要がない。
<請求項2の発明>
両ハウジングの嵌合過程では、可動ロック部材が確実に解除位置に位置決めされるので、付勢部材の付勢力やロックアームが弾性変形したときにおける弾性復元力に起因する嵌合抵抗の大きさが、一定となる。
<請求項3の発明>
可動ロック部材と付勢部材を、両ハウジングの嵌合方向と略平行な方向に並ぶように配置したので、両ハウジングの嵌合方向と直角な方向において第2ハウジングを低背化することができる。
<請求項4の発明>
当接面が両ハウジングの嵌合方向と直角である場合には、両ハウジングの嵌合方向における押圧部材の移動量が可動ロック部材の移動量と同じ寸法となり、押圧部材の移動量が比較的大きくなる。押圧部材の移動量が大きいということは、付勢部材の付勢力の変動が大きいということを意味する。これに対し、本発明では、当接面が両ハウジングの嵌合方向に対して斜め方向となっているので、その分、押圧部材の移動量を小さく抑えられており、付勢部材の付勢力変動が小さく抑えられている。
<請求項5の発明>
嵌合状態にロックされている両ハウジングを離脱させる際には、作業孔を通して治具を可動ロック部材に係止させ、その治具を操作して可動ロック部材を解除位置へ変位させることにより、可動ロック部材とロックアームとの係止を解除する。この後、この係止解除状態を保ったままで、両ハウジングを引き離せばよい。
<実施形態1>
以下、本発明を具体化した実施形態1を図1乃至図7を参照して説明する。本実施形態のコネクタは、互いに嵌合・離脱が可能な第1ハウジング10と第2ハウジング20とを備えて構成されている。第1ハウジング10と第2ハウジング20は、いずれも、耐熱性に優れているが、撓み剛性の高い合成樹脂材料からなる。この合成樹脂としては、ガラス入りPBT(ポリブチレンテレフタレート)などがある。
第1ハウジング10は、内部に雌端子金具16が挿入されるようなっており、第1ハウジング10には、ロックアーム11が一体に形成されている。ロックアーム11は、第1ハウジング10の外面(図における上面)に沿って前後方向(つまり、両ハウジング10,20の嵌合・離脱方向とほぼ平行な方向)に延びた形態であり、その長さ方向における中央位置において脚部12を介して第1ハウジング10の上面に連なっている。ロックアーム11の前端部(図における左側の端部)には、下方へ突出するロック突起13が形成されている。ロック突起13の前面は両ハウジング10,20の嵌合方向に対して傾斜した押圧面14となっており、ロック突起13の後面は、両ハウジング10,20の嵌合方向と略直角な係止面15となっている。
ロックアーム11は、この脚部12を支点として僅かにシーソー状に弾性変形し得るようになっている。つまり、ロックアーム11は、常には、両ハウジング10,20の嵌合方向と平行なロック姿勢(図1,2,3を参照)に保持されているが、前端部を第1ハウジング10の外面から離間させる解除姿勢(図5を参照)をとり得るようになっている。このロック姿勢と解除姿勢との間の傾き角度は、2〜3°である。
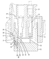
第2ハウジング20は、第1ハウジング10と対向するように前方(図における右方)へ突出するフード部21を有している。フード部21は、雄端子金具の前端のタブ22を包囲しており、このフード部21内に第1ハウジング10が嵌合されるようになっている。第2ハウジング20の外面(図における上面)よりも上方の空間は、両ハウジング10,20が嵌合する過程において上記ロックアーム11のロック突起13が移動するための移動経路となっている。換言すると、両ハウジング10,20が嵌合する過程では、ロックアーム11のロック突起13が第2ハウジング20の外面上を摺接しながら、又はこの外面に対し僅かな隙間を空けて対向する状態で移動するようになっている。
第2ハウジング20の上端部には、前後方向(両ハウジング10,20の嵌合方向と平行な方向)に長い収容空間23が形成されており、この収容空間23の上面壁は、第2ハウジング20の外面(上面)を構成している。また、収容空間23の前端部は、第2ハウジング20の外面において露出口24として開口されている。収容空間23の前端部には、両ハウジング10,20の嵌合方向に対して傾斜したガイド面25が形成されている。また、露出口24の開口縁における前端部は、両ハウジング10,20の嵌合方向と直角な前止まり部26となっており、露出口24の開口縁における後端部は、両ハウジング10,20の嵌合方向と直角なストッパ27となっている。さらに、第2ハウジング20の外面には、露出口24よりも後方の位置において収容空間23内に連通する作業孔28が、上下に貫通して形成されている。
第2ハウジング20には、ロックアーム11と協動して両ハウジング10,20を嵌合状態にロックする機能を発揮する可動ロック部材30と付勢部材40とが設けられている。可動ロック部材30と付勢部材40は、いずれも、第2ハウジング20とは別体の部材として製造された後、第2ハウジング20に組み付けられたものである。
可動ロック部材30は、剛性の高い合成樹脂材料からなり、全体として前後方向に長い板状をなす。可動ロック部材30の前端面は、両ハウジング10,20の嵌合方向と直角な突当面31となっている。可動ロック部材30の後端面は、両ハウジング10,20の嵌合方向に対して傾斜した当接面32となっている。可動ロック部材30の下面における前端部は、両ハウジング10,20の嵌合方向に対しガイド面25と同じ角度で傾斜した被ガイド面33となっている。この被ガイド面33と両ハウジング10,20の嵌合方向とのなす角度は、両ハウジング10,20の嵌合方向と当接面32とのなす傾斜角度よりも小さい角度に設定されている。可動ロック部材30の外面(上面)における後端に近い位置には、係止凹部34が形成されている。
可動ロック部材30の前端部には、上方(被ガイド面33とは反対側)に突出する係止突起35が形成されている。係止突起35の外面(図における上側の面)のうち略前半領域は、両ハウジング10,20の嵌合方向に対して後方に向かって登り勾配となるように傾斜した被押圧面36となっている。一方、係止突起35の上面における略後半領域は、両ハウジング10,20の嵌合方向に対し被押圧面36とは逆向きに傾斜した摺接面37となっている。係止突起35の後面は、両ハウジング10,20の嵌合方向と直角な係止面38となっている。上記した係止凹部34は、係止突起35よりも後方に位置する。
かかる可動ロック部材30は、第2ハウジング20の側方(図における手前側)に開口させた組付口(図示せず)から収容空間23内に組み付けられ、収容空間23内においてロック位置(図1〜3参照)と解除位置(図5を参照)との間で第2ハウジング20に対して相対変位し得るようになっている。このロック位置と解除位置との間の移動経路は、ガイド面25及び被ガイド面33と平行な直線経路であり、収容空間23の内側面に形成したガイド部(図示せず)に案内されることにより、可動ロック部材30が、被ガイド面33をガイド面25に摺接させながら、両位置の間で平行移動するようになっている。
可動ロック部材30がロック位置にある状態では、突当面31が前止まり部26に当接することにより、可動ロック部材30がそれ以上解除位置とは反対側へ変位しないように位置決めされる。このとき、係止突起35の上半分領域(つまり、被押圧面36と摺接面37)は、第2ハウジング20の外面(上面)よりも更に外方(上方)に突出し、ロックアーム11の移動経路上に進出する。また、係止凹部34は、前後方向において作業孔28と対応するように位置し、作業孔28を通して第2ハウジング20の外面に露出する。
可動ロック部材30が解除位置にある状態では、係止突起35の係止面38がストッパ27に当接し、可動ロック部材30がそれ以上ロック位置とは反対側へ変位しないように位置決めされる。このとき、係止突起35の上端部(つまり、被押圧面36の最も高い部分と、摺接面37の最も高い部分)のみが、第2ハウジング20の外面よりも上方(ロックアーム11の移動経路)に突出し、それ以外の部分は収容空間23内に収容される。また、係止凹部34は、前後方向において作業孔28の開口領域と対応するように位置する。
付勢部材40は、弾性部材41と押圧部材42とから構成されている。弾性部材41は、軸線を両ハウジング10,20の嵌合方向と略平行に向けた圧縮コイルバネからなり、可動ロック部材30の後方に位置するように収容空間23内に収容されている。押圧部材42は、収容空間23内に収容され、圧縮コイルバネの前端部に一体に変位するように組み付けられている。つまり、押圧部材42は弾性部材41と可動ロック部材30との間で前後に挟み付けられるように位置している。また、押圧部材42の前端面は、両ハウジング10,20の嵌合方向に対し可動ロック部材30の当接面32と同じ角度で傾斜した当接面43となっている。かかる付勢部材40は、弾性部材41の後端を収容空間23の後面に当接させた状態を保ちながら、押圧部材42を後方へ変位させつつ付勢力を蓄勢し、押圧部材42を前方へ変位させながら付勢力を解放する。この付勢部材40により、可動ロック部材30は、ロック位置と解除位置との間の移動経路中のいずれに位置していても、付勢部材40によりロック位置側(第2ハウジング20における前方)へ付勢されている。
次に、本実施形態の作用を説明する。
両ハウジング10,20を嵌合する過程では、図1及び図2に示すように、可動ロック部材30がロック位置にある状態で、フード部21内に第1ハウジング10を嵌入させる。嵌入が進むと、図3に示すように、ロックアーム11の押圧面14が可動ロック部材30の被押圧面36に当接し、その後は、押圧面14の押圧作用により、図4に示すように、可動ロック部材30が付勢部材40の付勢に抗して解除位置側へ変位する。このとき、ロックアーム11は弾性変形せず、両ハウジング10,20の嵌合が進むのに伴い、ロックアーム11の移動経路上への係止突起35の進出量(突出量)が次第に小さくなる。また、可動ロック部材30が解除位置側へ変位する間、可動ロック部材30は、その当接面32を押圧部材42の当接面43上で摺接させながら、押圧部材42を後方へ押し動かす。これにより、付勢部材40に付勢力が蓄勢されていく。
そして、図5に示すように、可動ロック部材30が解除位置に到達すると、ストッパ27によりそれ以上の可動ロック部材30の変位が規制される。この後は、ロックアーム11が、僅かにロック突起13を上方(可動ロック部材30とは反対側)へ変位させるように弾性変形することにより、係止突起35を乗り越える。この間、ロック突起13の下端が、被押圧面36上を摺動する状態から摺接面37上を摺動する状態へ移行する。
そして、図6に示すように両ハウジング10,20が正規の嵌合状態に到達すると、ロック突起13が係止突起35を通過し終わるので、図7に示すように、可動ロック部材30が付勢部材40の付勢に従ってロック位置へ復動し、係止突起35がロックアーム11の移動経路上へ大きく進出し、係止突起35の係止面38が、ロックアーム11の係止面15に対し、両ハウジング10,20の嵌合方向と平行な方向に僅かに間隔を空けて係止可能な状態で対向する。これにより、両ハウジング10,20は嵌合状態にロックされる。
嵌合状態にロックされている両ハウジング10,20を離脱する際には、図7に示すように、作業孔28から治具Jを収容空間23内に差し込んで係止凹部34に係止させ、そのまま治具Jの先端を斜め下下方へ押すようにする。すると、可動ロック部材30が解除位置へ押し動かされて、係止突起35とロック突起13との係止が解除され、両ハウジング10,20のロックも解除される。この後は、ロック解除状態を維持したままで、両ハウジング10,20を引き離せばよい。
上述のように本実施形態においては、第2ハウジング20に、両ハウジング10,20の嵌合過程においてロックアーム11と係止可能なロック位置とロックアーム11との係止を解除する解除位置との間で変位可能な可動ロック部材30を設けたので、両ハウジング10,20の嵌合過程では、ロックアーム11を大きく弾性変形させる必要がない。つまり、ロックアーム11を大きく弾性撓みさせなくても、両ハウジング10,20を嵌合状態にロックできるようにすることができる。
また、第2ハウジング20には、可動ロック部材30が解除位置を超えてロック位置とは反対側へ変位するのを規制するストッパ27を設けた。これにより、両ハウジング10,20の嵌合過程では、可動ロック部材30が確実に解除位置に位置決めされるので、付勢部材40の付勢力やロックアーム11が弾性変形したときにおける弾性復元力に起因する嵌合抵抗の大きさが、一定となる。
また、可動ロック部材30の変位方向を、両ハウジング10,20の嵌合方向に対して斜め方向とし、可動ロック部材30と付勢部材40とを、両ハウジング10,20の嵌合方向と略平行な前後方向に並ぶように配置した。これにより、両ハウジング10,20の嵌合方向と直角な上下方向において、第2ハウジング20を低背化することが実現されている。
また、付勢部材40に押圧部材42を設け、この押圧部材42が、付勢力の変動に伴って両ハウジング10,20の嵌合方向と平行に変位し、可動ロック部材30に対しロック位置側へ押圧するように当接するようにしているのであるが、本実施形態とは異なり可動ロック部材と押圧部材との当接面が両ハウジングの嵌合方向と直角である場合には、両ハウジングの嵌合方向における押圧部材の移動量が可動ロック部材の移動量と同じ寸法となり、押圧部材の移動量が比較的大きくなる。押圧部材の移動量が大きいということは、付勢部材の付勢力の変動が大きいということを意味する。
これに対し、本実施形態では、押圧部材42と可動ロック部材30に形成した当接面32,43を、両ハウジング10,20の嵌合方向に対して面接触状態で摺接するように傾斜させ、この当接面32,43の傾斜角度を、両ハウジング10,20の嵌合方向と可動ロック部材30の移動方向とがなす角度よりも大きい角度とした。これにより、押圧部材42の移動量が小さく抑えられ、付勢部材40の付勢力変動が小さく抑えられている。
<他の実施形態>
本発明は上記記述及び図面によって説明した実施形態に限定されるものではなく、例えば次のような実施態様も本発明の技術的範囲に含まれる。
(1)上記実施形態では両ハウジングの嵌合過程においてロックアームが僅かに弾性変形するようにしたが、本発明によれば、両ハウジングの嵌合過程で、ロックアームが全く弾性撓みしないようにしてもよい。
(2)上記実施形態では第2ハウジングに、可動ロック部材が解除位置を超えてロック位置とは反対側へ変位するのを規制するストッパを設けたが、このようなストッパを設けない形態としても良い。
(3)上記実施形態では可動ロック部材と付勢部材とが、両ハウジングの嵌合方向と略平行な方向に並ぶようにしたが、可動ロック部材と付勢部材は、両ハウジングの嵌合方向と直角な方向に並ぶように配置してもよい。
(4)上記実施形態では当接面が両ハウジングの嵌合方向に対して斜め方向としたが、当接面は両ハウジングの嵌合方向と直角であってもよい。
(5)上記実施形態では当接面を可動ロック部材と押圧部材の両方に形成したが、当接面は、可動ロック部材と押圧部材のうちいずれか一方のみに形成されていてもよい。
実施形態1において両ハウジングが嵌合を開始した状態をあらわす断面図 図1の部分拡大断面図 両ハウジングの嵌合過程においてロックアームが可動ロック部材に当接した状態をあらわす部分拡大断面図 両ハウジングの嵌合過程においてロックアームが可動ロック部材を解除位置側へ押し動かしている状態をあらわす部分拡大断面図 両ハウジングの嵌合過程において可動ロック部材が解除位置まで押し動かされた状態をあらわす部分拡大断面図 両ハウジングが正規嵌合されてロック位置に復帰した可動ロック部材がロックアームに係止している状態をあらわす断面図 図6の部分拡大断面図
符号の説明
10…第1ハウジング
11…ロックアーム
20…第2ハウジング
27…ストッパ
28…作業孔
30…可動ロック部材
32…当接面
40…付勢部材
42…押圧部材
43…当接面

Claims (5)

  1. ロックアームが一体に形成された第1ハウジングと、
    前記第1ハウジングと嵌合可能な第2ハウジングと、
    前記第2ハウジングとは別体であって、前記第2ハウジングに対し、嵌合時における前記ロックアームの移動経路上に進出して前記ロックアームと係止可能となるロック位置と、嵌合時における前記ロックアームの移動経路外へ退避して前記ロックアームとの係止を解除する解除位置との間での相対変位を可能に設けられた可動ロック部材と、
    前記可動ロック部材を前記ロック位置側へ付勢する付勢部材とを備えていることを特徴とするコネクタ。
  2. 前記第2ハウジングには、前記可動ロック部材が前記解除位置を超えて前記ロック位置とは反対側へ変位するのを規制するストッパが設けられていることを特徴とする請求項1記載のコネクタ。
  3. 前記可動ロック部材の変位方向が、前記両ハウジングの嵌合方向に対して斜め方向とされ、
    前記可動ロック部材と前記付勢部材とが、前記両ハウジングの嵌合方向と略平行な方向に並ぶように配置されていることを特徴とする請求項1又は請求項2記載のコネクタ。
  4. 前記付勢部材は、付勢力の変動に伴って前記両ハウジングの嵌合方向と平行に変位可能であり、前記可動ロック部材に対し前記ロック位置側へ押圧するように当接する押圧部材を備えており、
    前記押圧部材と前記可動ロック部材との互いに当接する部分のうち少なくとも一方は、前記両ハウジングの嵌合方向に対して傾斜し、且つその傾斜角度が前記両ハウジングの嵌合方向と前記可動ロック部材の移動方向とがなす角度よりも大きい角度とされた当接面となっていることを特徴とする請求項3記載のコネクタ。
  5. 前記可動ロック部材が、前記第2ハウジングの内部に収容された形態とされており、
    前記第2ハウジングには、その外部から前記可動ロック部材に対して治具を係止させることを可能にする作業孔が形成されていることを特徴とする請求項1ないし請求項4のいずれか1項に記載のコネクタ。
JP2008237204A 2008-09-16 2008-09-16 コネクタ Expired - Fee Related JP5211967B2 (ja)

Priority Applications (1)

Application Number Priority Date Filing Date Title
JP2008237204A JP5211967B2 (ja) 2008-09-16 2008-09-16 コネクタ

Applications Claiming Priority (1)

Application Number Priority Date Filing Date Title
JP2008237204A JP5211967B2 (ja) 2008-09-16 2008-09-16 コネクタ

Publications (2)

Publication Number Publication Date
JP2010073376A true JP2010073376A (ja) 2010-04-02
JP5211967B2 JP5211967B2 (ja) 2013-06-12

Family

ID=42204983

Family Applications (1)

Application Number Title Priority Date Filing Date
JP2008237204A Expired - Fee Related JP5211967B2 (ja) 2008-09-16 2008-09-16 コネクタ

Country Status (1)

Country Link
JP (1) JP5211967B2 (ja)

Cited By (6)

* Cited by examiner, † Cited by third party
Publication number Priority date Publication date Assignee Title
CN103066419A (zh) * 2012-12-26 2013-04-24 中航光电科技股份有限公司 一种连接器及其接触件组件
KR101308708B1 (ko) 2011-12-13 2013-09-13 한국단자공업 주식회사 충전커넥터 잠금장치
KR20140024391A (ko) * 2011-04-22 2014-02-28 델파이 커넥션 시스템즈 홀딩 프랑스 에어백 커넥터 시스템
JP2014155361A (ja) * 2013-02-12 2014-08-25 Yazaki Corp ロック構造
US9680254B1 (en) 2015-11-24 2017-06-13 Japan Aviation Electronics Industry, Limited Connector and connector assembly
US11362493B2 (en) * 2018-05-08 2022-06-14 Yazaki Corporation Locking structure, electrical connection box, and wire harness

Citations (4)

* Cited by examiner, † Cited by third party
Publication number Priority date Publication date Assignee Title
JPH09180820A (ja) * 1995-12-28 1997-07-11 Yazaki Corp 半嵌合防止コネクタ
JPH10144400A (ja) * 1996-11-08 1998-05-29 Sumitomo Wiring Syst Ltd コネクタ
JP2006164674A (ja) * 2004-12-06 2006-06-22 Renesas Technology Corp 不正接続防止キャップ
JP2007141508A (ja) * 2005-11-15 2007-06-07 Sumitomo Wiring Syst Ltd コネクタ

Patent Citations (4)

* Cited by examiner, † Cited by third party
Publication number Priority date Publication date Assignee Title
JPH09180820A (ja) * 1995-12-28 1997-07-11 Yazaki Corp 半嵌合防止コネクタ
JPH10144400A (ja) * 1996-11-08 1998-05-29 Sumitomo Wiring Syst Ltd コネクタ
JP2006164674A (ja) * 2004-12-06 2006-06-22 Renesas Technology Corp 不正接続防止キャップ
JP2007141508A (ja) * 2005-11-15 2007-06-07 Sumitomo Wiring Syst Ltd コネクタ

Cited By (9)

* Cited by examiner, † Cited by third party
Publication number Priority date Publication date Assignee Title
KR20140024391A (ko) * 2011-04-22 2014-02-28 델파이 커넥션 시스템즈 홀딩 프랑스 에어백 커넥터 시스템
JP2014512659A (ja) * 2011-04-22 2014-05-22 デルフィ・コネクション・システムズ・ホールディング・フランス エアバッグコネクターシステム
KR101879473B1 (ko) * 2011-04-22 2018-07-17 델피 인터내셔널 오퍼레이션즈 룩셈부르크 에스.에이 알.엘. 에어백 커넥터 시스템
EP2700130B1 (en) * 2011-04-22 2019-12-04 Aptiv Technologies Limited Airbag connector system
KR101308708B1 (ko) 2011-12-13 2013-09-13 한국단자공업 주식회사 충전커넥터 잠금장치
CN103066419A (zh) * 2012-12-26 2013-04-24 中航光电科技股份有限公司 一种连接器及其接触件组件
JP2014155361A (ja) * 2013-02-12 2014-08-25 Yazaki Corp ロック構造
US9680254B1 (en) 2015-11-24 2017-06-13 Japan Aviation Electronics Industry, Limited Connector and connector assembly
US11362493B2 (en) * 2018-05-08 2022-06-14 Yazaki Corporation Locking structure, electrical connection box, and wire harness

Also Published As

Publication number Publication date
JP5211967B2 (ja) 2013-06-12

Similar Documents

Publication Publication Date Title
JP5119909B2 (ja) コネクタ
JP5181573B2 (ja) コネクタ
JP5211967B2 (ja) コネクタ
JP2009004318A (ja) コネクタ
CN111384643B (zh) 连接器
WO2018211560A1 (ja) コネクタ
JP2007052985A (ja) コネクタ
JP5569267B2 (ja) コネクタ
JP4613747B2 (ja) コネクタ
JP5598346B2 (ja) コネクタ
JP2009026590A (ja) コネクタ
JP2008218116A (ja) コネクタ
JP2012190707A (ja) コネクタ
JP6281543B2 (ja) コネクタ
JP4826516B2 (ja) コネクタ
JP6610958B2 (ja) コネクタ
JP6828835B2 (ja) コネクタ
JP3783850B2 (ja) コネクタ
JP6265383B2 (ja) コネクタ構造
JP3783852B2 (ja) コネクタ
JP4821683B2 (ja) コネクタ
JP6642109B2 (ja) コネクタ
JP2011040180A (ja) コネクタ
JP5482924B2 (ja) コネクタ
JP5212256B2 (ja) コネクタ

Legal Events

Date Code Title Description
A621 Written request for application examination

Free format text: JAPANESE INTERMEDIATE CODE: A621

Effective date: 20110330

A131 Notification of reasons for refusal

Free format text: JAPANESE INTERMEDIATE CODE: A131

Effective date: 20120731

A977 Report on retrieval

Free format text: JAPANESE INTERMEDIATE CODE: A971007

Effective date: 20120731

A521 Written amendment

Free format text: JAPANESE INTERMEDIATE CODE: A523

Effective date: 20120926

TRDD Decision of grant or rejection written
A01 Written decision to grant a patent or to grant a registration (utility model)

Free format text: JAPANESE INTERMEDIATE CODE: A01

Effective date: 20130129

A61 First payment of annual fees (during grant procedure)

Free format text: JAPANESE INTERMEDIATE CODE: A61

Effective date: 20130211

R150 Certificate of patent or registration of utility model

Free format text: JAPANESE INTERMEDIATE CODE: R150

FPAY Renewal fee payment (event date is renewal date of database)

Free format text: PAYMENT UNTIL: 20160308

Year of fee payment: 3

LAPS Cancellation because of no payment of annual fees