JP2010072329A - 画像形成装置及び定着装置 - Google Patents

画像形成装置及び定着装置 Download PDF

Info

Publication number
JP2010072329A
JP2010072329A JP2008239540A JP2008239540A JP2010072329A JP 2010072329 A JP2010072329 A JP 2010072329A JP 2008239540 A JP2008239540 A JP 2008239540A JP 2008239540 A JP2008239540 A JP 2008239540A JP 2010072329 A JP2010072329 A JP 2010072329A
Authority
JP
Japan
Prior art keywords
temperature
temperature control
time
predetermined time
predetermined
Prior art date
Legal status (The legal status is an assumption and is not a legal conclusion. Google has not performed a legal analysis and makes no representation as to the accuracy of the status listed.)
Granted
Application number
JP2008239540A
Other languages
English (en)
Other versions
JP4462375B2 (ja
Inventor
Yoshikazu Kuribayashi
良和 栗林
Current Assignee (The listed assignees may be inaccurate. Google has not performed a legal analysis and makes no representation or warranty as to the accuracy of the list.)
Konica Minolta Business Technologies Inc
Original Assignee
Konica Minolta Business Technologies Inc
Priority date (The priority date is an assumption and is not a legal conclusion. Google has not performed a legal analysis and makes no representation as to the accuracy of the date listed.)
Filing date
Publication date
Application filed by Konica Minolta Business Technologies Inc filed Critical Konica Minolta Business Technologies Inc
Priority to JP2008239540A priority Critical patent/JP4462375B2/ja
Priority to CN2009801363739A priority patent/CN102160002B/zh
Priority to EP09814529.5A priority patent/EP2328039B1/en
Priority to US13/119,282 priority patent/US8521050B2/en
Priority to PCT/JP2009/065894 priority patent/WO2010032684A1/ja
Publication of JP2010072329A publication Critical patent/JP2010072329A/ja
Application granted granted Critical
Publication of JP4462375B2 publication Critical patent/JP4462375B2/ja
Active legal-status Critical Current
Anticipated expiration legal-status Critical

Links

Images

Classifications

    • GPHYSICS
    • G03PHOTOGRAPHY; CINEMATOGRAPHY; ANALOGOUS TECHNIQUES USING WAVES OTHER THAN OPTICAL WAVES; ELECTROGRAPHY; HOLOGRAPHY
    • G03GELECTROGRAPHY; ELECTROPHOTOGRAPHY; MAGNETOGRAPHY
    • G03G15/00Apparatus for electrographic processes using a charge pattern
    • G03G15/20Apparatus for electrographic processes using a charge pattern for fixing, e.g. by using heat
    • G03G15/2003Apparatus for electrographic processes using a charge pattern for fixing, e.g. by using heat using heat
    • G03G15/2014Apparatus for electrographic processes using a charge pattern for fixing, e.g. by using heat using heat using contact heat
    • G03G15/2039Apparatus for electrographic processes using a charge pattern for fixing, e.g. by using heat using heat using contact heat with means for controlling the fixing temperature

Landscapes

  • Physics & Mathematics (AREA)
  • General Physics & Mathematics (AREA)
  • Fixing For Electrophotography (AREA)

Abstract

【課題】受光体(レンズ)に入射する赤外線の量によって温度を検出する画像形成装置において、一時的な誤検出を引き起こす結露の発生と、恒久的な誤検出を引き起こす汚れの発生と、を区別して認識可能とする。
【解決手段】第1温度T1が赤外線温度センサ30のレンズ38に入射された赤外線の量に基づいて得られ、第2温度T2がサーミスタ40の温度に基づいて得られるものであり、システムコントローラ90が、第1温度T1と第2温度T2との検出温度差ΔTが所定温度差PT未満である場合に(S12でY)、第1温度制御を行い(S10〜S12)、検出温度差ΔTが所定温度差PT以上である場合に(S12でN)、第2温度制御を行い(S22〜S25、S42〜S45)、第2温度制御が連続して実行された経過時間C2が第1所定時間P1と第2所定時間P2とを合わせた時間以上となった場合に(S24&S44)、警報器29を作動させる(S60)。
【選択図】図13

Description

本発明は、用紙にトナーを熱によって定着させるための被加熱体を備えた定着装置、及び、該定着装置を備えた、複写機、ファクシミリ、各種プリンター等、の画像形成装置に関する。
図22は、電子写真方式を用いた従来の画像形成装置1の主要部の一例を示している。電子写真方式の画像形成装置は、像担持体としての感光体を備えている。感光体の一例が、ドラム状に形成された感光ドラム10である。画像形成動作が開始されると、感光ドラム10が、矢印方向に回転する。そして、感光ドラム10の表面が、一次帯電手段11、露光手段15、現像器12、転写ローラ(転写手段)13及びクリーニング装置14に、順に対向する。具体的には、まず、一次帯電手段11が、感光ドラム10の表面を一様に帯電させる。露光手段15は、レーザー光である露光Lを発光する。露光Lにより、感光ドラム10の表面は画像情報に応じて、除電される。この結果、感光ドラム10表面に静電潜像が形成される。この静電潜像は、現像器12が有する現像剤(トナーを含む)によって可視化され、感光ドラム10上にトナー像が形成される。
一方、給紙カセット17に収容された記録紙Pが、感光ドラム10上のトナー像の形成に同期するように、搬送される。記録紙Pが、感光ドラム10と転写ローラ13との間を通過するときに、感光ドラム10上のトナー像が記録紙P上に転写される。その後、転写により未定着のトナー像を担持した記録紙Pは、ガイド板23によって案内されて、定着装置20内に搬送される。
定着装置20は、加熱手段を内部に有する加熱回転体と、加熱回転体に当接回転するように設けられる加圧回転体と、を有している。加熱回転体は、例えば、ローラ状のヒータを内蔵する加熱ローラ21である。加圧回転体は、例えば、ゴム等の弾性体で被覆された加圧ローラ22である。ローラ21、22は、対向して圧接状態にある。ローラ21、22の圧接部位が、定着ニップ部Nである。記録紙Pが定着ニップ部Nを通過するときに、記録紙Pは、加熱及び加圧される。この結果、未定着トナー像は記録紙P上に定着し、永久画像となる。
画像形成がなされた記録紙Pは、その後、画像形成装置外に排出される。また、転写が終了した後に感光ドラム10上に残留する転写残トナーなどは、クリーニング装置14が除去する。このようにして、画像形成装置は繰り返し画像形成を行うことができる。
定着ニップ部Nの温度検出には、接触式と非接触式の様式がある。従来、接触式の温度検出では、加熱ローラ21の表面温度を検出するために、接触型の温度検出手段を加熱ローラ21に接触させる。そして、接触型の温度検出手段によって検出された温度に基づいて、加熱手段による加熱ローラ21の温度制御が行われていた。接触型の温度検出手段としては、ここでは図示しないが、サーミスタが用いられていた。サーミスタは、加熱ローラ21の表面に接触している。このため、断線あるいはショートなどの異常、及び加熱ローラ21の表面への損傷により、定着画像異常がしばしば発生していた。加熱ローラ21の表面が傷ついた場合、ローラ21、22又は定着装置の全体(ユニット)を、交換する必要がある。この結果、交換コストの上昇を招くことになる。更に、サーミスタは、通常、定着ユニットに取り付けられている。このため、定着ユニットを交換する際には、サーミスタも同時に廃棄される。したがって、交換は、コスト的な面でも資源節約の面でも好ましくない。
また、昨今では、加熱手段を誘導加熱型とし、温度制御動作を高速にできる装置も、実用化されている。しかし、従来のサーミスタを用いて加熱ローラ21の表面温度を検出するシステムでは、温度検出応答が遅く、装置として成り立たないという不都合が、存在していた。特に、加熱手段の省エネを考慮した誘導加熱型の定着装置では、装置待機時は消費電力が低電力であり、使用時のみに高速で定着温度が立ち上がることが、求められている。つまり、応答性の良い検出手段が求められている。
そこで、サーモパイル等の赤外線温度センサを用いて、非接触式の温度検出を行うことが、提案されている。非接触式の温度検出を採用した技術として、例えば、特許文献1、2及び3の技術がある。
特開平11−153923号公報 特開2002−23550号公報 特開昭60−14775号公報
図23に模式的に示すように、特許文献1に記載の定着装置は、非接触型の温度検出手段50を備えている。定着装置は、温度検出手段50の検出信号に基づいて、加熱ローラ21の表面温度を計測できる。温度検出手段50は、サーモパイル51と、サーミスタ52と、レンズ53と、ケーシング54と、を備えている。サーモパイル51は、ホットジャンクションと、コールドジャンクションと、を有している。加熱ローラ21からの赤外線は、レンズ53を経由して、ホットジャンクションに到達する。そして、ホットジャンクションとコールドジャンクションとの温度差に基づいて、加熱ローラ21の表面温度が特定される。温度差の基準としてのコールドジャンクションには、赤外線は到達しない。ここで、サーミスタ52は、コールドジャンクションの温度を検出するために、用いられている。
しかしながら、定着装置の室内のように低温から高温まで温度が変化する環境下で温度検出手段50が使われる場合、レンズ53に結露が生じる。結露が発生すると、レンズ53を通過する赤外線の絶対量が減少する。このため、加熱ローラ21の実態温度に対して検出出力が低下する。そして、定着装置の温度制御部がローラ温度を低いものと誤認すると、温度制御に異常を来たしてしまう。例えば、次のような場合に、結露が発生する。冬場のような寒い時期の朝早い時間帯では、室内の温度が冷えている。このような状況で加熱ローラ21が加熱されると、急激に室内温度が上昇する。この結果、レンズ53上に結露が生じる。また、急激な温度上昇がなくても、記録紙Pに含まれる水分が加熱ローラ21の熱によって水蒸気に変化した場合も、レンズ53上に結露が発生する。
結露の問題を解決する手段として、特許文献2に記載の定着装置が、提案されている。この定着装置は、非接触型のサーモパイルの他に、更に接触型のサーミスタを備えている。サーミスタは、加熱ローラ21に定期的に接触するように、駆動される。そして、定着装置は、非接触型のサーモパイルと接触型のサーミスタとの検出温度差を比較し、サーモパイルの検出温度に、検出温度差に応じた補正を追加する。ここで、接触型のサーミスタの場合、加熱ローラ21の温度変化に対する応答性が比較的良好である。このため、レンズ53に汚れ等が発生することでサーモパイルの出力が低下しても、サーモパイルの出力が適正に補正される。しかしながら、特許文献2に記載の定着装置は、サーミスタを加熱ローラ21に対して脱離させるための駆動機構を必要とする。したがって、装置構成が複雑である。又、サーミスタが移動するので、サーミスタの停止位置の変動により、サーミスタの浮き(加熱ローラ21からの離間)が発生しうる。サーミスタの浮きは、誤検出を引き起こす要因であり、改善が求められている。
また、特許文献3の定着装置は、非接触型のサーミスタの下方位置に、赤外線温度センサの前面に向けて空気を吹き付ける空気噴出部材を、備えている。空気噴出部材が吹き出すエアーにより、レンズ53の表面に生じる結露や、該表面を汚染するトナー粉等が、除去される。しかしながら、空気噴出部材が発生させた気流によっては、空気噴出部材のエアーが含水量の多い空気をレンズ53に送って、レンズ53に結露を発生させるおそれがある。
レンズ53に発生した結露及び汚れは、共に、赤外線温度センサの誤検出を発生させる。しかし、レンズ53の結露は、加熱ローラ21の加熱が継続すれば、解消される。一方、レンズ53の汚れは、恒久的に、赤外線温度センサの誤検出を発生させる。したがって、適切な温度制御を実行する上では、結露と汚れとが、定着装置の側で、区別して認識されることが望ましい。
そこで、本発明は、受光体(レンズ)に入射する赤外線の量によって温度を検出する構成において、一時的な誤検出を引き起こす結露の発生と、恒久的な誤検出を引き起こす汚れの発生と、を区別して認識できる、画像形成装置及び定着装置を、提供する。
第1発明は、画像情報を含むプリントジョブに基づいて用紙上にトナー像を形成する画像形成装置において、前記用紙にトナーを熱によって定着させるための被加熱体と、前記被加熱体を加熱する、加熱手段と、前記被加熱体に対して非接触に配置された、受光体と、前記被加熱体から前記受光体に入射された赤外線の量に基づいて、前記被加熱体の表面温度に相当する第1温度を検出する、第1温度検出手段と、前記被加熱体に対して非接触に配置された、受熱体と、前記被加熱体によって加熱された前記受熱体の温度に基づいて、前記被加熱体の表面温度に相当する第2温度を検出する、第2温度検出手段と、前記第1温度が所定の目標温度に追従するように前記加熱手段の出力を制御する第1温度制御、又は、前記第2温度が前記目標温度に追従するように前記加熱手段の出力を制御する第2温度制御を、択一的に実行する、温度制御手段と、前記第2温度制御が連続して実行された経過時間を計測する、タイマーと、前記第1温度検出手段の異常を知らせる警告手段と、を備えており、前記温度制御手段が、前記第1温度と前記第2温度との検出温度差が所定温度差未満である場合に前記第1温度制御を行い、前記検出温度差が前記温度所定値以上である場合に前記第2温度制御を行い、前記経過時間が所定時間以上となった場合に前記警告手段を作動させる。
第1発明は、次の構成(a)〜(c)を採用することが好ましい。
(a)前記第1温度制御によって前記所定の目標温度に到達したことがない状態で前記第2温度制御が開始されたとき、及び/又は、プリントジョブの発生後に前記第2温度制御が開始されたとき、前記所定時間は、第1所定時間と、第2所定時間と、を合わせた時間であり、前記第1温度制御によって前記所定の目標温度に到達した後で且つプリントジョブの発生もない状態で、前記第2温度制御が開始されたとき、前記所定時間は、前記第2所定時間のみの時間である。
(a1)構成(a)において、前記第1所定時間は、第1長所定時間又は第1短所定時間であり、前記第1温度制御によって前記所定の目標温度に到達したことがない状態で前記第2温度制御が開始されたとき、前記第1所定時間として、前記第1長所定時間が用いられるものであり、プリントジョブの発生後に前記第2温度制御が開始されたとき、前記第1所定時間として、前記第1短所定時間が用いられる。
(b)前記温度制御手段が、前記経過時間が所定時間以上となった場合に、前記加熱手段の作動を停止させる。
(b1)特に構成(b)において、前記温度制御手段が、プリントジョブの発生中には、前記加熱手段の作動を停止させない。
(c)前記受光体と前記受熱体とが、前記記録紙の最小通過幅領域内に配置される。
第2発明は、用紙にトナーを熱によって定着させるための被加熱体を備えた定着装置において、前記被加熱体を加熱する、加熱手段と、前記被加熱体に対して非接触に配置された、受光体と、前記被加熱体から前記受光体に入射された赤外線の量に基づいて、前記被加熱体の表面温度に相当する第1温度を検出する、第1温度検出手段と、前記被加熱体に対して非接触に配置された、受熱体と、前記被加熱体によって加熱された前記受熱体の温度に基づいて、前記被加熱体の表面温度に相当する第2温度を検出する、第2温度検出手段と、前記第1温度が所定の目標温度に追従するように前記加熱手段の出力を制御する第1温度制御、又は、前記第2温度が前記目標温度に追従するように前記加熱手段の出力を制御する第2温度制御を、択一的に実行する、温度制御手段と、前記第2温度制御が連続して実行された経過時間を計測する、タイマーと、前記第1温度検出手段の異常を知らせる警告手段と、を備えており、前記温度制御手段が、前記第1温度と前記第2温度との検出温度差が所定温度差未満である場合に前記第1温度制御を行い、前記検出温度差が前記温度所定値以上である場合に前記第2温度制御を行い、前記経過時間が所定時間以上となった場合に前記警告手段を作動させる。
本発明の画像形成装置によれば、温度制御手段は、経過時間及び所定時間の大きさを比較することによって、ユーザーへの警告が必要か否かを判定できる。つまり、温度制御手段は、一時的な誤検出を引き起こす結露の発生と、恒久的な誤検出を引き起こす汚れの発生と、を区別して認識できる。
構成(a)によれば、温度制御手段が、結露が発生したと疑われる状況では、汚れが発生したと疑われる状況よりも、所定時間を長く設定するので、温度制御手段は、加熱の継続によって解消する結露と、加熱の継続によって解消しない汚れとを、正確に区別できる。
構成(a1)によれば、温度制御手段が、起動時における結露の発生の場合、プリントジョブにおける結露の発生の場合よりも、第1所定時間を長く設定するので、温度制御手段は、結露の解消のために時間を浪費しない。
構成(b)によれば、汚れが発生した場合に、加熱手段の作動が停止されるので、温度制御異常の発生が確実に防止できる。
構成(b1)によれば、プリントジョブの発生中は、加熱手段の作動が停止されないので、印字効率の低下が防止される。
構成(c)によれば、常に、第1温度検出手段及び第2温度検出手段が、同一温度の部位を検出対象とできる。したがって、第1温度検出手段及び第2温度検出手段の正確な検出温度差が得られる。また、加熱手段の長手方向で異なる位置に、受光体と受熱体とを配置するので、レイアウトの自由度が確保される。
本発明の定着装置によれば、温度制御手段は、経過時間及び所定時間の大きさを比較することによって、ユーザーへの警告が必要か否かを判定できる。つまり、温度制御手段は、一時的な誤検出を引き起こす結露の発生と、恒久的な誤検出を引き起こす汚れの発生と、を区別して認識できる。
図1に、本発明の画像形成装置の一実施形態を示す。本画像形成装置は、図1に示す定着装置20の温度制御システムを除いて、上記図22と同様の構成を有する。但し、本画像形成装置は、装置各部の動作を制御すると共に、画像情報を含むプリントジョブを取得する、制御装置18を有している。ここで、プリントジョブは、制御装置18が不図示の通信回線を介して取得するか、あるいは、不図示のスキャナにより読み取った画像データに基づいて生成することにより発生する。
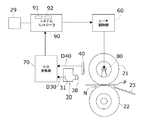
図2、図3を用いて、本実施形態の定着装置の構成を説明する。図2は、定着装置20の温度制御システムを示す概略図である。図3は、加熱ローラ、サーモパイル及びサーミスタの位置関係を示す平面図である。
図2において、定着装置20は、加熱ローラ21、加圧ローラ22、ガイド板23、温度制御システム及び警報器29を、備えている。温度制御システムは、赤外線温度センサ30、サーミスタ40、及びA/D変換部70、システムコントローラ90及びヒータ制御部60を、備えている。赤外線温度センサ30及びサーミスタ40は、共に、非接触型のセンサである。
加熱ローラ21は、未定着トナー像を記録紙P上に加熱溶融定着する機能を有している。加熱ローラ21は、円筒体と、該円筒体の内部に配置されたヒータ80と、で構成されている。円筒体は、例えばアルミニウムによって形成される。ヒータ80は、加熱ローラ21の外表面を加熱するための熱源である。ヒータ80としては、例えばハロゲンランプやコルツランプが用いられる。加熱ローラ21は、図示しないモータ等の回転駆動手段によって回転される。
加圧ローラ22は、加熱ローラ21に圧接して従動回転する。加圧ローラ22の軸の両端部には、図示しない軸受部材を介して加圧バネ(図示せず)が設けられている。この加圧バネにより、加圧ローラ16は、加熱ローラ21に圧接する向きに付勢されている。図中の定着ニップ部Nは、加熱ローラ21と加圧ローラ22との圧接部位である。記録紙Pは、加熱ローラ21と加圧ローラ22とにより搬送されて、定着ニップ部Nを通過する。加圧ローラ22は、芯金軸と、芯金軸の外周上に配置された耐熱弾性部材層と、から構成される。耐熱弾性部材層は、例えばシリコーンゴム等からなる。
ガイド板23は、記録紙Pの搬送方向で定着ニップ部Nの上流側に、設けられている。ガイド板23は、定着ニップ部Nへの記録紙Pの搬送を案内する。
赤外線温度センサ30及びサーミスタ40は、加熱ローラ21の表面温度に応じた電気信号を出力する。赤外線温度センサ30からの出力信号D30と、サーミスタ40からの出力信号40とが、A/D変換部70を経由して、システムコントローラ90に送信される。出力信号D30、D40は、A/D変換部70で、A/D変換を受ける。システムコントローラ90は、A/D変換後の出力信号D30、D40に基づいて、加熱ローラ21の表面温度を検出する。なお、システムコントローラ90は、出力信号D30又は出力信号D40の一方のみに基づいて、加熱ローラ21の表面温度を検出する。
システムコントローラ90は、ヒータ制御部60からヒータ80に供給される電力を変化させて、ヒータ80の出力を制御する。また、システムコントローラ90は、第1タイマー91及び第2タイマー92を、備えている。
警報器29は、システムコントローラ90からの指令を受けて、警告音を発生させる。なお、警告手段は、警告音を発生させる警報器29に限定されない。警告手段は、画像形成装置1の本体に設けられた表示装置に警告内容を表示する手段であっても良い。
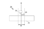
図3を用いて、赤外線温度センサ30及びサーミスタ40の配置を説明する。記録紙Pが定着装置20を通過すると、記録紙Pが接触した部分で、加熱ローラ21から熱が奪われる。この結果、加熱ローラ21の長手方向における温度分布が不均一になる。よって、複数の異なるサイズの記録紙Pが定着装置20を通過しても、加熱ローラ21の温度が均一となる位置にセンサを配置する。
本実施例では、使用される記録紙Pの最小通過幅Wの領域内に、赤外線温度センサ30及びサーミスタ40が、配置されている。使用される記録紙Pは、本実施例の画像形成装置で用いられる、サイズの異なる記録紙Pの全体を、指している。記録紙Pの通過幅領域は、定着装置20に搬送される記録紙Pが通過する領域を指しており、記録紙Pの搬送方向に沿う帯状領域である。特に、最小通過幅領域は、搬送される記録紙Pの幅が最小となるときの通過幅Wの領域を指している。なお、記録紙Pのサイズに関わりなく、記録紙Pの中央が定着装置20の中心線M上に位置するように、記録紙Pは揃えられている。
赤外線温度センサ30及びサーミスタ40は、加熱ローラ21に対して非接触で配設されている。
[赤外線温度センサの構造]
図4、図5、図6を用いて、本実施例の赤外線温度センサ30の構造を説明する。
赤外線温度センサ30は、サーモパイル31と、サーミスタ32と、キャンケース36と、レンズ38と、を備えている。サーモパイル31及びサーミスタ32は、キャンケース36内に収納されている。キャンケース36には開口窓35が形成されており、開口窓35を塞ぐようにレンズ38が設けられている。
キャンケース36は、ケーシング座面36aと、カバー36bと、を備えている。ケーシング座面36aの表面に、サーモパイル31及びサーミスタ32が固定されている。ケーシング座面36aの裏面からは、サーモパイル31端子31a、サーミスタ32出力端子32a及びGND出力端子37aが、延出している。
赤外線温度センサ30は、レンズ38に入射する赤外線の線量に基づいて、加熱ローラ21の表面温度に関わる情報を得る。以下で、詳しく説明する。
レンズ38は、加熱ローラ21から放射された赤外線の一部を、受光する。加熱ローラ21の表面の所定領域のみから放射された赤外線が、レンズ38に入射するように、レンズ38の大きさ及び配置位置が設定されている。レンズ38に入射される赤外線の量は、加熱ローラ21の表面温度が高くなるにつれて、増大する。レンズ38に入射された赤外線の全体は、サーモパイル31に送られる。
レンズ38からサーモパイル31への光通路上には、赤外通過フィルタが設けられている。赤外通過フィルタは、少なくとも赤外線を透過できる材料、例えばシリコンウエハ等で構成されている。赤外通過フィルタによって、レンズ38からサーモパイル31には、赤外線に相当する波長領域の光のみが到達する。
サーモパイル31は、複数の熱電対によって構成されている。各熱電対は、赤外線の照射を受けて加熱されるホットジャンクションと、基準点としてのコールドジャンクションと、を有している。ここで、レンズ38に入射される赤外線の量が多くなるほど、ホットジャンクションの温度が高くなる。そして、ホットジャンクションとコールドジャンクションとの温度差に応じた電圧が、出力端子31aから出力される。コールドジャンクションは、温度変動をさけるため、赤外線温度センサ30自身(ケーシング座面36a)に接続されている。しかし、コールドジャンクションの温度変動も避けられない。そこで、コールドジャンクションの温度を検出するために、サーミスタ32が設けられている。サーミスタ32の温度に応じた電圧が、出力端子32aから出力される。
[赤外線の量と加熱ローラの表面温度との関係]
ここで、サーモパイル31の出力電圧に対する、被測定体温度(加熱ローラ21表面温度)及び赤外線温度センサ30自身の温度の関係は次式にて表わされる。
E=A(Tx−Ty)・・・(1)
E:サーモパイル出力電圧
Tx:被測定体の温度(K)
Ty:非接触型の温度検出手段(赤外線温度センサ)自身の温度(K)
A:定数
上式を用い、E及びTyを測定することによって、Tx(被測定体である加熱ローラ21の温度)を算出することができる。
更に、赤外線温度センサ30は、図6に示すアンプ回路33も有している。即ち、サーモパイル31からの出力電圧は極めて低いので(8mV/200℃)、これをA/D変換レベルまで増幅する必要がある。サーモパイル31の1次出力Piに対して、回路31bによって約1000倍のゲインをかけた2次出力Poが得られる。2次出力Poは出力端子31aより出力される。サーモパイル31のGND出力は、回路37bでアースに接続されて、出力端子37aより出力される。
又、赤外線温度センサ30自体の温度を測定するサーミスタ32では、温度に従って、その抵抗値が変化するのみである。この抵抗値変化は、電圧変化に変換される。サーミスタ40の1次出力Miは、回路32bにおいて直流5V電源に接続された抵抗によって、電圧としての2次出力Moが得られる。2次出力Moは、出力端子31aより出力される。
これらサーモパイル31、サーミスタ32からの出力電圧Po及びMoは、加熱ローラ21の表面温度に応じた表面温度信号である。出力電圧Po及びMoは、図1に示すA/D変換器90によってA/D変換される。A/D変換後の出力電圧Po及びMoは、システムコントローラ90に入力される。システムコントローラ90は、A/D変換後の出力電圧Po及びMoを用いて、上述の式(1)に基づく演算を行い、加熱ローラ32の表面温度を算出する。
[受熱体(サーミスタ)の構造]
サーミスタ40は、温度変化に対して電気抵抗の変化の大きい抵抗体である。サーミスタ40bの温度に応じて、サーミスタ40の抵抗値が変化する。サーミスタ40の抵抗値変化に基づいて、加熱ローラ21の表面温度に関わる情報が得られる。
[受熱体(サーミスタ)の温度と加熱ローラの表面温度との関係]
サーミスタ40は、加熱ローラ21からの輻射熱及び加熱ローラ21によって加熱された空気の対流伝熱によって、加熱される。これらの作用によって、サーミスタ40の温度が、加熱ローラ21の表面温度に近づけられる。つまり、加熱ローラ21の表面温度と、サーミスタ40の温度とが、等しいと仮定できる。このため、サーミスタ40の出力電圧と、被測定体温度(加熱ローラ21表面温度)との間にも、特定の比例関係がある。
したがって、サーミスタ40からの出力電圧も、加熱ローラ21の表面温度に応じた表面温度信号である。サーミスタ40の出力電圧は、図1に示すA/D変換器90によってA/D変換される。A/D変換後の出力電圧は、システムコントローラ90に入力される。システムコントローラ90は、A/D変換後の出力電圧を用いて、前記比例関係に基づく演算を行い、加熱ローラ32の表面温度を算出する。
[第1温度検出手段及び第2温度検出手段]
以上で説明したように、システムコントローラ90は、赤外線温度センサ30又はサーミスタ40を利用することによって、二通りの方法で、加熱ローラ21の表面温度を検出することができる。
1つの方法では、受光体と、第1温度検出手段と、が用いられている。受光体は、レンズ38である。第1温度検出手段は、サーモパイル31、サーミスタ32、A/D変換部70及びシステムコントローラ90である。なお、A/D変換部70は、第1温度検出手段の必須要素ではない。システムコントローラ90は、加熱ローラ21からレンズ38に入射された赤外線の量に基づいて、加熱ローラ21の表面温度を検出する。以下において、第1温度検出手段で得られた加熱ローラ21の表面温度は、第1温度T1である。
もう1つの方法では、受熱体と、第2温度検出手段と、が用いられている。受熱体は、サーミスタ40である。ここで、1次被加熱体は、加熱ローラ21を意味する。第2温度検出手段は、A/D変換部70及びシステムコントローラ90である。なお、A/D変換部70は、第2温度検出手段の必須要素ではない。システムコントローラ90は、加熱ローラ21によって加熱されたサーミスタ40の温度に基づいて、加熱ローラ21の表面温度を検出する。以下において、第2温度検出手段で得られた加熱ローラ21の表面温度は、第2温度T2である。
[第1温度及び第2温度の検出精度]
赤外線温度センサ30による第1温度T1と、サーミスタ40による第2温度T2とについて、代表的な温度検出精度とその条件について説明する。
第1温度T1の温度検出精度は、おおよそ以下の2つの条件で決まり、その代表値は以下の通りである。
(1)サーモパイル31、サーミスタ32及びアンプ回路33の精度による寄与:製造時の調整により±0.5℃
(2)A/D変換部70の精度による寄与:±0.5℃
第1温度T1の温度検出精度は、全体として±1.0℃のばらつきを持つ。
赤外線温度センサ30は、加熱ローラ21の表面から放出される赤外線をレンズ38により集光している。このため、通常の取り付け公差内における、加熱ローラ21及びセンサ30間の距離のばらつきは、検出温度のズレを発生させない。しかし、レンズ38上に結露が生じたり、付着物が付くと、レンズ38を透過する赤外線量が減り、検出温度が低い側にズレる。結露は、画像形成装置における使用環境変動によって発生する。付着物は、稼動に伴う耐久後(経年変化後)に発生しうる。検出温度のズレ量の大きさは、結露の程度や付着物の量に依存する。したがって、使用条件における環境変動が大きい場合や、適切なメンテナンスが行われなかった最悪状態では、非常に大きな検出温度のズレも、発生しうる。
一方、第2温度T2の温度検出精度は、以下の3つの条件で決まり、その代表値は以下の通りである。
(1)サーミスタ40の精度による寄与:±2.0℃
(2)A/D変換部70の精度による寄与:±0.5℃
(3)加熱ローラ21とサーミスタ40との間の距離:±1℃(距離のばらつき2.0mm±0.2mmに対して)
第2温度T2の温度検出精度は、全体として±3.5℃のばらつきを持つ。ここで、加熱ローラ21とサーミスタ40との間の距離が、例えば2mm以内になるように、加熱ローラ21とサーミスタ40とが非接触に配置されている。
[第1温度検出手段及び第2温度検出手段の長所及び短所]
赤外線温度センサ30は、加熱ローラ21から輻射される赤外線の量に基づいて、温度に係る情報を得る。このため、加熱ローラ21の温度変化に対する赤外線温度センサ30の応答性は、比較的高い。一方、サーミスタ40は、温度に係る情報を得るために、サーミスタ40の温度が加熱ローラ21の温度に等しくなるまで加熱される時間を必要とする。このため、加熱ローラ21の温度変化に対するサーミスタ40の応答性は、比較的低い。また、上述したように、温度検出の精度の点で、赤外線温度センサ30は、サーミスタ40よりも優れている。ところが、赤外線温度センサ30は、次の点では、サーミスタ40よりも劣っている。赤外線温度センサ30のレンズ38上に付着物(結露や汚れ)が発生すると、加熱ローラ21からの赤外線が、レンズ38の付着物に吸収される。このとき、赤外線温度センサ30によって、実際の温度よりも低めの温度が検出される。一方、サーミスタ40の出力は、結露や付着物の影響をあまり受けない。
したがって、付着物が存在しない限り、赤外線温度センサ30を利用した第1温度検出手段が、加熱ローラ21の表面温度の検出に適している。一方、レンズ38に付着物が発生した場合、サーミスタ40を利用した第2温度検出手段が、加熱ローラ21の表面温度の検出に適している。
[温度制御手段]
システムコントローラ90は、第1温度T1又は第2温度T2を用いて、加熱ローラ21の温度制御を実行する。第1温度T1を用いて行われる温度制御は第1温度制御であり、第2温度T2を用いて行われる温度制御は第2温度制御である。
システムコントローラ90は、検出温度差ΔTと所定温度差PTとの比較に基づいて、第1温度制御又は第2温度制御を、択一的に実行する。ここで、検出温度差ΔTは、第1温度T1と第2温度T2との差(T1−T2)を指している。
本実施形態では、所定温度差PT=−30℃である。
温度制御において、システムコントローラ90は、第1温度T1又は第2温度T2が、所定の目標温度に追従するように、加熱ローラ21の出力を制御する。第1温度制御では、第1温度T1を用いて、加熱ローラ21の出力が制御される。より詳しくは、まず、システムコントローラ90が、ヒータ制御部60に対する制御指令を作成する。次いで、ヒータ制御部60が、前記制御指令に基づいて、ハロゲンヒータ80への給電をON/OFFする。ここで、ハロゲンヒータ80がAC駆動であるので、ヒータ制御部60は内部にSSR(半導体リレー)を内蔵している。
本実施例では、制御装置18(図1)が画像形成装置1の各部の動作を統轄的に制御する制御手段であり、システムコントローラ90が、加熱ローラ21の表面温度を制御する温度制御手段である。ヒータ80も、画像形成装置1の一部を構成している。したがって、制御装置18は、システムコントローラ90を介して、ヒータ80を制御する。しかし、本発明は、このような構成に限定されるものではない。
[温度制御]
図7を用いて、システムコントローラ90により行われる加熱ローラ21の温度制御について説明する。
加熱ローラ21の表面温度における前記所定の目標温度には、スタンバイ温度TS、定着レディ温度TR及びプリント温度TPがある。ここで、プリント温度TPは、プリントジョブの実行に適した温度である。本実施例ではプリント温度TPは185℃に設定されている。スタンバイ温度TSは、プリント温度TPより低い温度である。プリントジョブのないときに、加熱ローラ21の表面温度が即座にプリント温度TPに到達するように、加熱ローラ21の表面温度がスタンバイ温度TSに保たれている。本実施例ではスタンバイ温度TSは160℃に設定されている。定着レディ温度TRは、スタンバイ温度TSとプリント温度TPとの間の温度である。本実施例では定着レディ温度TRは175℃に設定されている。また、画像形成装置が電源OFFの状態にあるとき、加熱ローラ21の表面温度は室温TIに一致している。画像形成装置が電源ONされると、加熱ローラ21の温度制御が開始される。
加熱ローラ21の温度制御は、目標温度の相違によって、大きく3つに分類されている。立ち上げ温度制御(領域RF)と、スタンバイ温度制御(領域RS)と、プリント温度制御(領域RP)と、がある。
また、温度制御は、前述したように、センサの相違によって、第1温度制御及び第2温度制御の2つに分類されている。そこで以下では、温度制御について目標温度の相違とセンサの相違とを区別する必要があるときは、第1立ち上げ温度制御等の表現が用いられている。第1立ち上げ温度制御は、赤外線温度センサ30を利用した立ち上げ温度制御を意味している。
立ち上げ温度制御は、立ち上げ温度制御は、加熱ローラ21の表面温度を、室温TI又はスタンバイ温度TSから、定着レディ温度TRまで上昇させる制御である。立ち上げ温度制御は、電源ONによる起動後、又は、スタンバイ温度制御の終了後に、実行される。なお、プリントジョブが発生したときに、スタンバイ温度制御は終了する。
スタンバイ温度制御は、加熱ローラ21の表面温度を、定着レディ温度TR又はプリント温度TPから、スタンバイ温度TSに下降させた後、スタンバイ温度TSに保つ制御である。スタンバイ温度制御は、プリントジョブがないときの立ち上げ温度制御の終了後、又は、プリント温度制御の終了後に、実行される。なお、プリントジョブが終了したときに、プリント温度制御は終了する。
プリント温度制御は、加熱ローラ21の表面温度を、定着レディ温度TRからプリント温度TPまで上昇させた後、プリント温度TPに保つ制御である。プリント温度制御は、プリントジョブが発生したときに、立ち上げ温度制御の終了後に、実行される。
[赤外線温度センサの状態に応じた制御内容]
システムコントローラ90は、検出温度差ΔT≧所定温度差PTの継続時間に基づいて、赤外線温度センサ30の状態を、判断する。赤外線温度センサ30の状態には、「正常状態」、「疑結露状態」、「疑汚れ状態」及び「汚れ確定状態」がある。
継続時間のカウントは、第1タイマー91及び第2タイマー92によって実行される。
第1タイマー91及び第2タイマー92は、共に、検出温度差ΔT≧所定温度差PTの継続時間をカウントする。しかし、第1タイマー91及び第2タイマー92の作動条件は異なっている。
第1タイマー91は、レンズ38に結露が発生しうる状況下で、検出温度差ΔT≧所定温度差PTとなった時点より、カウントを開始する。結露の発生が疑われる状況には、次の状況がある。
(第1状況):第2温度制御が継続しているが、第1温度T1が、未だ、いずれかの目標温度(TR、TP、TS)に到達したことがない。これは、画像形成装置の起動後に結露が発生し、その結露が加熱ローラ21の熱によって未だ解消していない状況を指している。
(第2状況):プリントジョブの発生後に第2温度制御が開始された。これは、プリント処理によって、記録紙から発生した水蒸気によって結露が発生した状況を指している。
結露は、急激な環境変動が発生した場合、特に冬場の室内環境で室内暖房等により急激に室温が上昇した場合に、起こりやすい。赤外線温度センサ30のレンズ38に結露が発生すると、加熱ローラ21が発する赤外線がレンズ38に対して遮断されてしまう。この結果、結露の影響を受ける赤外線温度センサ30による第1温度T1が、サーミスタ40による第2温度よりも、低くなってしまう。この結果、第1温度T1が、どの目標温度(TR、TP、TS)にも到達しない状況(第1状況)が発生する。
第1タイマー91がカウントした時間は、第1経過時間C1である。第1経過時間C1が、状況毎に設定されたカウント継続時間に到達すると、第1タイマー91は、カウントを停止し、第1経過時間C1が0に変更される。第1タイマー91のカウント継続時間は、第1所定時間である。第1所定時間として、状況に応じて、第1長所定時間P1L又は第1短所定時間P1Sが用いられる。
(第1状況):第1長所定時間P1L
(第2状況):第1短所定時間P1S
本実施形態では、第1長所定時間P1Lは、300秒に設定されている。なお、第1長所定時間P1Lの300秒は、画像形成装置をLL(室温10℃/湿度15%)環境からHH(室温30℃/湿度85%)の環境に変動させた場合に、結露が解除される時間に基づいて、設定されている。また、第1短所定時間P1Sは、30秒に設定されている。プリント直後の結露は赤外線温度センサ30自身の温度も高いため、結露の解除に要する時間は短い。このため、第1短所定時間P1Sは、第1長所定時間P1Lよりも短く設定されている。
第2タイマー92は、レンズ38に汚れの発生が疑われる状況下で、検出温度差ΔT≧所定温度差PTとなった時点より、カウントを開始する。汚れの発生が疑われる状況には、次の状況がある。
(第3状況):第1温度がいずれかの目標温度(TR、TP、TS)に到達した後で且つプリントジョブの発生もない状態で、第2温度制御が開始された。
(第4状況):(第1状況)で第1経過時間C1が第1長所定時間P1Lに到達した。
(第5状況):(第2状況)で第1経過時間C1が第1短所定時間P1Sに到達した。
ここで、汚れは、次のような状況で発生すると考えられている。例えば、長期使用によって、紙粉等の付着物がレンズ38上に蓄積するとき、レンズ38に汚れが発生する。このため、第3〜第5状況は、結露が発生した状況と区別できるように、結露が解消する程度に加熱ローラ21の加熱が十分行われた状態を、示している。
第2タイマー92がカウントした時間は、第2経過時間C2である。第2経過時間C2が、第3状況に設定されたカウント継続時間に到達すると、第2タイマー92はカウントを停止し、第2経過時間C2が0に変更される。カウント継続時間が、次に示されている。
(第3状況):第2所定時間P2
本実施形態では、第2所定時間P2は、120秒に設定されている。
(正常状態)
「正常状態」は、レンズ38に結露及び汚れのどちらも発生していない状態を指している。次の条件が満たされるとき、赤外線温度センサ30の状態が「正常状態」である、と判断される。
(条件1):ΔT<PT
(条件2):C1=C2=0
(疑結露状態)
「疑結露状態」は、レンズ38に結露が発生していると疑われる状態を指している。次の条件が満たされるとき、赤外線温度センサ30の状態が「疑結露状態」である、と判断される。
(条件1):ΔT≧PT
(条件2):C1≠0 & C2=0
(疑汚れ状態)
「疑汚れ状態」は、レンズ38に汚れが発生していると疑われる状態を指している。次の条件が満たされるとき、赤外線温度センサ30の状態が「疑汚れ状態」である、と判断される。
(条件1):ΔT≧PT
(条件2):C1=0 & C2≠0
(汚れ確定状態)
「汚れ確定状態」は、レンズ38に汚れが発生したとシステムコントローラ90が判定した状態を指している。次の条件が満たされるとき、赤外線温度センサ30の状態が「汚れ確定状態」である、と判断される。
(条件1):ΔT≧PT
(条件2):C1=0 & C2=P2
「疑汚れ状態」において、第2経過時間C2が第2所定時間P2に到達すると、「疑汚れ状態」が「汚れ確定状態」に移行する。「汚れ確定状態」では、システムコントローラ90は、警報器29を作動させる。警報器29を用いて、不具合の発生をユーザーに知らせるのは、次の理由による。レンズ38に結露ではなく汚れが付着している場合、汚れをレンズ38の清掃以外によって除去することは、困難である。また、応答性の低いサーミスタ40を用いて温度制御を継続することは、望ましくない。更に、システムコントローラ90が、警報器29の作動に加えて、ヒータ制御部60にヒータ80に対する電力の供給を遮断してもよい。
[立ち上げ温度制御]
図8〜図12と図13とを用いて、立ち上げ温度制御を説明する。
図8〜図12は、電源ONによる起動後からスタンバイ温度調整制御の開始時に至るまでの立ち上げ温度制御を示している。なお、図8〜図12に示す例は、画像形成装置の起動と共に立ち上げ温度制御が実行された場合を、示している。なお、立ち上げ温度制御は、スタンバイ温度制御の後にも、プリント温度制御に先立って実行される。
(赤外線温度センサに異常がない場合)
図8を用いて、赤外線温度センサ30に異常がない場合における立ち上げ温度制御を説明する。図8では、赤外線温度センサ30の状態は、常に「正常状態」である。このため、赤外線温度センサ30を利用した第1立ち上げ温度制御が実行される。第1立ち上げ温度制御によって、時刻t1に、第1温度T1が定着レディ温度TRに到達し、第1立ち上げ温度制御が終了する。時刻t1以後に、第1スタンバイ温度制御が実行される。
(赤外線温度センサに異常が発生した場合)
図9、図10を用いて、赤外線温度センサに異常が発生した場合における立ち上げ温度制御を説明する。
図9に示される場合は、立ち上げ温度制御において赤外線温度センサ30に発生した異常が解消しなかった場合を示している。赤外線温度センサ30の状態は、時刻0から時刻t1まで「正常状態」であり、時刻t1以降は「疑結露状態」である。時刻t1まで、赤外線温度センサ30を利用した第1立ち上げ温度制御が実行される。時刻t1以後に、サーミスタ40を利用した第2立ち上げ温度制御が実行される。時刻t1より後の時刻t2に、第2温度が定着レディ温度TRに到達する。時刻t2以後に、第2スタンバイ温度制御が実行される。
図10に示される場合は、立ち上げ温度制御において赤外線温度センサ30に発生した異常が途中で解消した場合を示している。赤外線温度センサ30の状態は、時刻0から時刻t1まで「正常状態」であり、時刻t1から時刻t2まで「疑結露状態」であり、時刻t3以降は「正常状態」である。時刻t1まで、赤外線温度センサ30を利用した第1立ち上げ温度制御が実行される。時刻t1から時刻t2まで、サーミスタ40を利用した第2立ち上げ温度制御が実行される。時刻t2以後に、再び、第1立ち上げ温度制御が実行される。時刻t2より後の時刻t3に、第2温度が定着レディ温度TRに到達する。時刻t3以後に、第1スタンバイ温度制御が実行される。
(低温環境下において赤外線温度センサに異常が発生した場合)
図11、図12を用いて、低温環境下において赤外線温度センサに異常が発生した場合における立ち上げ温度制御を説明する。図11、図12は、図8〜図9の場合と比べて、画像形成装置が低温環境下に置かれている場合を示している。このため、第1及び第2温度T1、T2の温度上昇速度が、図8〜図9の場合と比べて、遅れている。
上述したように、結露は、第1長所定時間P1Lが経過すると、解除されると予測されている。結露によって検出温度差ΔTが所定温度差PTを越えている場合、結露が解除されると、検出温度差ΔTは所定温度差PT未満になる。しかし、レンズ38に発生した汚れは、結露とは異なり、加熱ローラ21の加熱の継続によって解消することはない。
図11に示される場合は、低温環境下において赤外線温度センサ30に発生した異常が解消しなかった場合を示している。赤外線温度センサ30の状態は、時刻0から時刻t1まで「正常状態」であり、時刻t1から時刻t2まで「疑結露状態」であり、時刻t2から時刻t3まで「疑汚れ状態」であり、時刻t3以後は「汚れ確定状態」である。時刻t1まで、赤外線温度センサ30を利用した第1立ち上げ温度制御が実行される。時刻t1以後に、サーミスタ40を利用した第2立ち上げ温度制御が実行される。ここで、時刻t1から時刻t2までの時間幅が、第1タイマー91の第1長所定時間P1Lであり、時刻t2から時刻t3までの時間幅が、第2タイマー92の第2所定時間P2である。時刻t3に、警報器29の作動が開始される。また、時刻t3から、ヒータ80への電力供給が停止される。図11に示される場合では、第1及び第2温度T1、T2が定着レディ温度TRに到達することなく、立ち上げ温度制御が終了される。
図12に示される場合は、低温環境下において赤外線温度センサ30に発生した異常が途中で解消した場合を示している。赤外線温度センサ30の状態は、時刻0から時刻t1まで「正常状態」であり、時刻t1から時刻t2まで「疑結露状態」であり、時刻t2から時刻t3まで「疑汚れ状態」であり、時刻t3以後「正常状態」である。時刻t1まで、赤外線温度センサ30を利用した第1立ち上げ温度制御が実行される。時刻t1から時刻t3まで、サーミスタ40を利用した第2立ち上げ温度制御が実行される。ここで、時刻t1から時刻t2までの時間幅が第1長所定時間P1Lである。時刻t2から時刻t3までの時間幅は、第2所定時間P2よりも小さい。時刻t3以後に、再び、赤外線温度センサ30を利用した第1立ち上げ温度制御が実行される。時刻t3より後の時刻t4に、第1温度T1が定着レディ温度TRに到達し、第1立ち上げ温度制御が終了する。時刻t4以後に、第1スタンバイ温度制御が実行される。
図13を用いて、立ち上げ温度制御における処理の流れを説明する。
電源ONと同時に、システムコントローラ90は、立ち上げ温度制御を開始する(ステップS1)。次いで、システムコントローラ90は、第2経過時間C2が0であるか否かを確認する(ステップS2)と共に、第1経過時間C1=0であるか否かを確認する(ステップS3)。
「正常状態」(C1=C2=0)の場合、処理が、ステップS10からステップS12のループに移行する。ステップS10からステップS12のループは、第1温度制御に対応している。「疑結露状態」(C1≠0 & C2=0)の場合、処理が、ステップS5を経て、ステップS22からステップS25のループに移行する。ステップS22からステップS25のループは、第2温度制御に対応している。ステップS5では、システムコントローラ90は、第1タイマー91のカウントを継続させる。「疑汚れ状態」(C1=0 & C2≠0)の場合、処理が、ステップS4を経て、ステップS42からステップS45のループに移行する。ステップS42からステップS45のループは、第2温度制御に対応している。ステップS4では、システムコントローラ90は、第2タイマー92のカウントを継続させる。
図8〜図12に示す例は、画像形成装置の起動と共に立ち上げ温度制御が実行された場合を、示している。この立ち上げ温度制御は、起動後始めての温度制御であるので、第1タイマー91及び第2タイマー92が共にカウントしていない。このため、第1経過時間C1及び第2経過時間C2は、共に0である。なお、2回目以降の立ち上げ温度制御では、第1経過時間C1及び第2経過時間C2は、必ずしも0ではない。
処理が、ステップS10からステップS12のループに進んだ場合を説明する。ステップS10からステップS12のループでは、第1温度制御が実行される。ステップS10では、第1温度T1が定着レディ温度TRになるように、ヒータ制御部60によって、ヒータ80に電力が供給される。また、ステップS10の実行中に、一定時間毎に、ステップS11及びステップS12のYes・No判定が実行される。ステップS11でYes又はステップS12でNoの場合、ステップS10からステップS12のループが終了する。ステップS11でNoかつステップS12でYesの場合、ステップS10が再度実行される。そして、ステップS10からステップS12のループが継続される。
ステップS11では、第1温度T1が定着レディ温度TR以上であるか否かの判定が、実行される。ステップS11でYesの場合、処理が、ステップS11からステップS130に移行する。ステップS130では、プリントジョブが発生しているか否かの判定が実行される。S130でYesの場合、立ち上げ温度制御が終了され、スタンバイ温度制御(図17)が新たに開始される(ステップS70)。S130でNoの場合、立ち上げ温度制御が終了され、プリント温度制御(図21)が新たに開始される(ステップS200)。
ステップS12では、検出温度差ΔTが所定温度差PT内にあるか否かが、判定される。つまり、ステップS12では、赤外線温度センサ30における異常の有無が判定される。ステップS12でNoの場合、処理が、ステップS12からステップS20に移行する。
処理がステップS20に進んだ場合、システムコントローラ90は、一旦、レンズ38に付着物として結露が発生したと判断する。
ステップS20の次のステップS21では、第1タイマー91が起動される。また、第1タイマー91のカウント継続時間が、第1長所定時間P1L(300sec)に設定される。第1タイマー91が起動されると、処理が、ステップS22からステップS25のループに移行する。
処理が、ステップS22からステップS25のループに進んだ場合を説明する。ステップS22からステップS25のループでは、サーミスタ40を利用した第2温度制御が実行される。ステップS22では、第2温度T2が定着レディ温度TRになるように、ヒータ制御部60よりヒータ80に電力が供給される。また、ステップS22の実行中に、一定時間毎に、ステップS23、ステップS24及びステップS25のYes・No判定が実行される。ステップS23でYes、ステップS24でNo又はステップS25でYesの場合、第2温度制御のループが終了する。ステップS23でNoかつステップS24でYesかつステップS25でNoの場合、ステップS22が再度実行される。
ステップS23では、ステップS11と同様に、第2温度T2が定着レディ温度TR以上であるか否かの判定が、実行される。ステップS23でYesの場合、処理が、ステップS23からステップS130に移行する。
ステップS24では、第1経過時間C1が第1長所定時間P1L内にあるか否かが判定される。ステップS23でNoの場合、処理が、ステップS23からステップS40に移行する。
レンズ38の結露は、赤外線温度センサ30自体が加熱ローラ21の放射熱により温まってくると消える。そこで、ステップS25では、検出温度差ΔTが所定温度差PT未満であるか否かが、判定される。ステップS25でYesの場合、処理が、ステップS25からステップS30に移行する。ステップS30では、第1経過時間C1がリセットされて0になる。次いで、処理が、ステップS30からステップS10に移行する。このようにして、検出温度差ΔTが所定温度差PT内に復帰すると、第2温度制御が第1温度制御に切替えられる。
処理がステップS40に進んだ場合、システムコントローラ90は、レンズ38に付着物として汚れが発生したと判断する。
ステップS40の次のステップS41では、第1タイマー91が停止し、リセットされる。また、第2タイマー92が起動される。第2タイマー92のカウント継続時間が、第2所定時間P2(120sec)に設定される。そして、処理が、ステップS42からステップS45のループに移行する。
処理が、ステップS42からステップS45のループに進んだ場合を説明する。ステップS42からステップS45のループでは、サーミスタ40を利用した第2温度制御が継続して実行される。ステップS42からステップS45のループは、基本的に、ステップS22からステップS25のループと同様である。ステップS42では、第2温度T2が定着レディ温度TRになるように、ヒータ制御部60よりヒータ80に電力が供給される。また、ステップS42の実行中に、一定時間毎に、ステップS43、ステップS44及びステップS45のYes・No判定が実行される。ステップS43でYes、ステップS44でNo又はステップS45でYesの場合、第2温度制御のループが終了する。ステップS43でNoかつステップS44でYesかつステップS45でNoの場合、ステップS42が再度実行される。
ステップS43では、ステップS11、S24と同様に、第2温度T2が定着レディ温度TR以上であるか否かの判定が、実行される。ステップS23でYesの場合、処理が、ステップS43からステップS130に移行する。
ステップS44では、第2経過時間C2が第2所定時間P2内にあるか否かが判定される。ステップS43でNoの場合、処理が、ステップS43からステップS60に移行する。
処理がステップS60に移行すると、システムコントローラ90は、警報器29を作動させる。
処理が、ステップS42からステップS45のループに移行した場合でも、レンズ38の結露が解消する場合がある。そこで、ステップS45では、検出温度差ΔTが所定温度差PT未満であるか否かが、判定される。ステップS45でYesの場合、処理が、ステップS45からステップS50に移行する。ステップS50では、第2経過時間C2がリセットされて0になる。次いで、処理が、ステップS50からステップS10に移行する。
[スタンバイ温度制御]
次に、図14〜図16と図17とを用いて、スタンバイ温度制御を説明する。
(赤外線温度センサに異常がない場合)
図14を用いて、赤外線温度センサ30に異常がない場合におけるスタンバイ温度制御を説明する。図14では、赤外線温度センサ30の状態は、常に「正常状態」である。このため、赤外線温度センサ30を利用した第1スタンバイ温度制御が実行される。
(スタンバイ温度制御開始後に赤外線温度センサに異常が発生した場合)
図15を用いて、スタンバイ温度制御開始後に赤外線温度センサ30に異常が発生した場合を説明する。
図15には、赤外線温度センサ30によって得られる第1温度T1について、2通りの温度変化の様子が示されている。第1温度T1のグラフは、時刻t2で、第1温度T1(a)のグラフと第1温度T1(b)のグラフとに分岐している。第1温度T1(a)のグラフは、赤外線温度センサ30の異常が解消しなかった場合を示している。第1温度T1(b)のグラフは、赤外線温度センサ30の異常が途中で解消した場合を示している。例えば、レンズ38上の汚れ(紙粉)が、エアーフローや画像装置の振動等によって取り除かれた場合、赤外線温度センサ30の異常が途中で解消される。また、第2温度T2も、第1温度T1の分岐に対応して、T2(a)のグラフとT2(b)のグラフとに分岐している。なお、T2がT1に対応して変化するのは、検出温度差ΔTの大きさによって、温度制御に利用される検出温度がT1とT2との間で切替えられることが、原因である。
T1及びT2がT1(a)及びT2(a)に変化する場合を説明する。赤外線温度センサ30の状態は、時刻0から時刻t1まで「正常状態」であり、時刻t1から時刻t4は「疑汚れ状態」であり、時刻t4以後は「汚れ確定状態」である。時刻t1まで、赤外線温度センサ30を利用した第1スタンバイ温度制御が実行される。時刻t1から時刻t4まで、サーミスタ40を利用した第2スタンバイ温度制御が実行される。ここで、時刻t2から時刻t3までの時間幅が第2タイマー92の第2所定時間P2である。時刻t4に、警報器29の作動と、ヒータ80への電力供給の停止とが、実行される。
図15では、赤外線温度センサ30の状態は、「正常状態」から、「疑結露状態」を経由することなく、直接「疑汚れ状態」に移行する。これは、次の理由による。スタンバイ温度制御の開始時に「正常状態」である場合、立ち上がり温度制御が「正常状態」で終了したことを意味する。したがって、仮に立ち上がり温度制御で結露が発生していたとしても、スタンバイ温度制御の開始時には解消している。このため、スタンバイ温度制御開始後に、結露が発生することは考えられない。
T1及びT2がT1(b)及びT2(b)に変化する場合を説明する。時刻0から時刻t1まで「正常状態」であり、時刻t1から時刻t3まで「疑汚れ状態」であり、時刻t3以後は「正常状態」である。時刻t1まで、赤外線温度センサ30を利用した第1スタンバイ温度制御が実行される。時刻t1から時刻t3まで、サーミスタ40を利用した第2スタンバイ温度制御が実行される。時刻t3以後は、再び、赤外線温度センサ30を利用した第1スタンバイ温度制御が実行される。
(スタンバイ温度制御開始時から赤外線温度センサに異常が発生している場合)
図16を用いて、スタンバイ温度制御開始時から赤外線温度センサに異常が発生している場合を説明する。
図16には、赤外線温度センサ30によって得られる第1温度T1について、2通りの温度変化の様子が示されている。第1温度T1のグラフは、時刻t2で、第1温度T1(a)のグラフと第1温度T1(b)のグラフとに分岐している。第1温度T1(a)のグラフは、赤外線温度センサ30の異常が途中で解消した場合を示している。第1温度T1(b)のグラフは、赤外線温度センサ30の異常が解消しなかった場合を示している。また、第2温度T2も、第1温度T1の分岐に対応して、T2(a)のグラフとT2(b)のグラフとに分岐している。
T1及びT2がT1(a)及びT2(a)に変化する場合を説明する。赤外線温度センサ30の状態は、時刻0から時刻t2まで「疑結露状態」であり、時刻t2以後は「正常状態」である。時刻t2まで、サーミスタ40を利用した第2スタンバイ温度制御が実行される。時刻t1以後に、赤外線温度センサ30を利用した第1スタンバイ温度制御が実行される。
T1及びT2がT1(b)及びT2(b)に変化する場合を説明する。赤外線温度センサ30の状態は、時刻0から時刻t3まで「疑結露状態」であり、時刻t3以後は「疑汚れ状態」である。サーミスタ40を利用した第2スタンバイ温度制御が実行される。なお、検出温度差ΔTが開いた状態が、時刻t3以後、第2所定時間P2を越えて継続すれば、「疑汚れ状態」が「汚れ確定状態」に移行する。
図17を用いて、スタンバイ温度制御における処理の流れを説明する。
システムコントローラ90は、スタンバイ温度制御が開始されると(ステップS70)、赤外線温度センサ30の状態に係る情報を取得する。すなわち、システムコントローラ90は、第2経過時間C2が0であるか否かを確認する(ステップS80)と共に、第1経過時間C1=0であるか否かを確認する(ステップS110)。
「正常状態」(C1=C2=0)の場合、処理が、ステップS100からステップS102のループに移行する。ステップS100からステップS102のループは、第1温度制御に対応している。「疑結露状態」(C1≠0 & C2=0)の場合、処理が、ステップS111を経て、ステップS112からステップS115のループに移行する。ステップS112からステップS115のループは、第2温度制御に対応している。ステップS111では、システムコントローラ90は、第1タイマー91のカウントを継続させる。「疑汚れ状態」(C1=0 & C2≠0)の場合、処理が、ステップS81を経て、ステップS82からステップS85のループに移行する。ステップS82からステップS85のループは、第2温度制御に対応している。ステップS81では、システムコントローラ90は、第2タイマー92のカウントを継続させる。
処理が、ステップS100からステップS102のループに進んだ場合を説明する。ステップS100からステップS102のループでは、赤外線温度センサ30を利用した第1温度制御が実行される。ステップS100では、第1温度T1がスタンバイ温度TSに保たれるように、ヒータ制御部60によって、ヒータ80に電力が供給される。また、ステップS100の実行中に、一定時間毎に、ステップS101及びステップS102のYes・No判定が実行される。ステップS101でYes又はステップS12でNoの場合、ステップS100からステップS102のループが終了する。ステップS101でNoかつステップS102でYesの場合、ステップS100が再度実行される。そして、ステップS100からステップS102のループが継続される。
ステップS101では、プリントジョブが発生しているか否かの判定が実行される。S101でYesの場合、スタンバイ温度制御が終了され、立ち上げ温度制御(図13)が新たに開始される(ステップS1)。なお、プリント温度制御に先立って、立ち上げ温度制御が必ず実行される。
ステップS102では、検出温度差ΔTが所定温度差PT内にあるか否かが、判定される。ステップS102でNoの場合、処理が、ステップS103に移行する。
処理がステップ103に進んだ場合、システムコントローラ90は、レンズ38に付着物として汚れが発生した、と判断する。前述したように、C1=C2=0かつスタンバイ温度制御が実行されている状態では、レンズ38に結露が発生することはない。したがって、直ちに、汚れが発生した、と判断される。
ステップS103の次のステップS120では、第1タイマー91が停止し、リセットされる。また、第2タイマー92が起動される。そして、処理が、ステップS82からステップS85のループに移行する。
処理が、ステップS82からステップS85のループに進んだ場合を説明する。ステップS82からステップS85のループでは、サーミスタ40を利用した第2温度制御が実行される。ステップS82では、第2温度T2がスタンバイ温度TSになるように、ヒータ制御部60によって、ヒータ80に電力が供給される。また、ステップS82の実行中に、一定時間毎に、ステップS83、ステップS84及びステップS85のYes・No判定が実行される。ステップS83でYes、ステップS84でNo又はステップS85でYesの場合、ステップS82からステップS85のループが終了する。ステップS83でNoかつステップS84でYesかつステップS85でNoの場合、ステップS82が再度実行される。そして、ステップS82からステップS85のループが継続される。
ステップS83では、プリントジョブが発生したか否かの判定が、実行される。ステップS83でYesの場合、スタンバイ温度制御が終了され、立ち上げ温度制御(図13)が新たに開始される(ステップS1)。
ステップS84では、第2経過時間C2が第2所定時間P2内にあるか否かが判定される。ステップS84でNoの場合、処理が、ステップS84からステップS140に移行する。処理がステップS140に移行すると、ステップS60と同様に、システムコントローラ90は、警報器29を作動させる。また、ヒータ80への電源供給も停止される。
ステップS85では、検出温度差ΔTが所定温度差PT内にあるか否かが、判定される。ステップS85でYesの場合、処理が、ステップS90に移行する。ステップS90では、第2経過時間C2がリセットされて0になる。次いで、処理が、ステップS90からステップS100に移行する。このようにして、検出温度差ΔTが所定温度差PT内に復帰すると、第2温度制御が第1温度制御に切替えられる。
処理が、ステップS112からステップS115のループに進んだ場合を説明する。ステップS112からステップS115のループでは、サーミスタ40を利用した第2温度制御が実行される。ステップS112では、第2温度T2がスタンバイ温度TSになるように、ヒータ制御部60によって、ヒータ80に電力が供給される。また、ステップS112の実行中に、一定時間毎に、ステップS113、ステップS114及びステップS115のYes・No判定が実行される。ステップS113でYes、ステップS114でNo又はステップS115でYesの場合、ステップS112からステップS115のループが終了する。ステップS113でNoかつステップS114でYesかつステップS115でNoの場合、ステップS112が再度実行される。そして、ステップS112からステップS115のループが継続される。
ステップS113では、プリントジョブが発生したか否かの判定が、実行される。ステップS113でYesの場合、スタンバイ温度制御が終了され、立ち上げ温度制御(図13)が新たに開始される(ステップS1)。
ステップS114では、第1経過時間C1が第1長所定時間P1L内にあるか否かが判定される。ステップS114でNoの場合、処理が、ステップS114からステップS116に移行する。処理がステップS116に移行すると、ステップS40と同様に、システムコントローラ90は、レンズ38に付着物として汚れが発生したと判断する。そして、処理が、ステップS120に進む。
ステップS115では、検出温度差ΔTが所定温度差PT内にあるか否かが、判定される。ステップS115でYesの場合、処理が、ステップS130に移行する。ステップS130では、第1経過時間C1がリセットされて0になる。次いで、処理が、ステップS100に移行する。このようにして、検出温度差ΔTが所定温度差PT内に復帰すると、第2温度制御が第1温度制御に切替えられる。
[プリント温度制御]
次に、図18〜図20と図21とを用いて、プリント温度制御を説明する。
プリント温度制御では、プリントジョブが発生しているとき(図21:ステップS403、S501でNo)、赤外線温度センサ30の状態の判定は行われない。プリントジョブの処理が優先して実行される。
(赤外線温度センサに異常がない場合)
図18を用いて、赤外線温度センサ30に異常がない場合におけるプリント温度制御を説明する。図18では、常に検出温度差ΔT<所定温度差PTである状態が、保たれている。このため、赤外線温度センサ30を利用した第1プリント温度制御が実行される。なお、時刻t1までは立ち上げ温度制御が実行されており、時刻t1以後にプリント温度制御が実行されている。
(プリント温度制御開始後に赤外線温度センサに異常が発生した場合)
図19を用いて、プリント温度制御開始後に赤外線温度センサ30に異常が発生した場合を説明する。時刻t1までは第1立ち上げ温度制御が実行されており、時刻t1以後にプリント温度制御が実行されている。
図19には、赤外線温度センサ30によって得られる第1温度T1について、2通りの温度変化の様子が示されている。第1温度T1のグラフは、時刻t4で、第1温度T1(a)のグラフと第1温度T1(b)のグラフとに分岐している。第1温度T1(a)のグラフは、赤外線温度センサ30の異常が途中で解消した場合を示している。第1温度T1(b)のグラフは、赤外線温度センサ30の異常が解消しなかった場合を示している。また、第2温度T2も、第1温度T1の分岐に対応して、T2(a)のグラフとT2(b)のグラフとに分岐している。
図19は、例えば、次のような状況を示している。時刻t2に、レンズ38に汚れ(紙粉の付着)が発生し、時刻t2以後にΔTが広がっている。この結果、時刻t3に、ΔTがPTを越えている。
T1及びT2がT1(a)及びT2(a)に変化する場合を説明する。この場合は、例えば、レンズ38に紙粉ではなく紙片が張り付いたり、記録紙Pに含まれる水分によって結露が発生した場合である。結露は、加熱時間が増加すると、解消する。また、レンズ38に張り付いた紙片は、エアーフローによって、除去されることがある。つまり、赤外線温度センサ30の異常が途中で改善される。時刻t1から時刻t3までΔT<PTであり、時刻t3から時刻t5までΔT≧PTである。ここまでは、T1及びT2の場合と同じである。しかし、T1(a)及びT2(a)の場合、時刻t5以後はΔT<PTである。このため、時刻t5以後に、第2プリント温度制御に代えて、第1プリント温度制御が実行される。
T1(a)及びT2(a)の場合は、例えば、次のような状況を示している。時刻t4に、レンズ38に汚れ(紙粉の付着)が解除され、時刻t4以後にΔTが狭まっている。この結果、時刻t5に、ΔTがPT未満になっている。
T1及びT2がT1(b)及びT2(b)に変化する場合を説明する。この場合は、例えば、レンズ38に紙粉等が堆積して、汚れが発生した場合である。時刻t1から時刻t3までΔT<PTであり、時刻t3以後はΔT≧PTである。時刻t1から時刻t3まで、赤外線温度センサ30を利用した第1プリント温度制御が実行される。時刻t3以後に、サーミスタ40を利用した第2プリント温度制御が実行される。
(プリント温度制御開始時から赤外線温度センサに異常が発生している場合)
図20を用いて、プリント温度制御開始時から赤外線温度センサ30に異常が発生している場合を説明する。時刻t1までは第2立ち上げ温度制御が実行されており、時刻t1以後にプリント温度制御が実行されている。
図20には、赤外線温度センサ30によって得られる第1温度T1について、2通りの温度変化の様子が示されている。第1温度T1のグラフは、時刻t2で、第1温度T1(a)のグラフと第1温度T1(b)のグラフとに分岐している。第1温度T1(a)のグラフは、赤外線温度センサ30の異常が途中で解消した場合を示している。第1温度T1(b)のグラフは、赤外線温度センサ30の異常が解消しなかった場合を示している。また、第2温度T2も、第1温度T1の分岐に対応して、T2(a)のグラフとT2(b)のグラフとに分岐している。
T1及びT2がT1(a)及びT2(a)に変化する場合を説明する。時刻t1から時刻t3までΔT≧PTであり、時刻t3以後はΔT<PTである。時刻t1から時刻t3まで第2プリント温度制御が実行される。時刻t3以後は第1プリント温度制御が実行される。
T1及びT2がT1(a)及びT2(a)に変化する場合は、例えば、次のような状況を示している。時刻t2に、レンズ38の汚れ(紙粉の付着)が解除され、時刻t2以後にΔTが狭まっている。この結果、時刻t3に、ΔTがPT未満になっている。
T1及びT2がT1(b)及びT2(b)に変化する場合を説明する。時刻t2以後も、ΔT≧PTである。このため、時刻t2以後も、サーミスタ40を利用した第2プリント温度制御が実行される。
図21を用いて、プリント温度制御における処理の流れを説明する。
システムコントローラ90は、プリント温度制御が開始されると(ステップS200)、赤外線温度センサ30の状態に係る情報を取得する。すなわち、システムコントローラ90は、第2経過時間C2が0であるか否かを確認する(ステップS300)と共に、第1経過時間C1=0であるか否かを確認する(ステップS400)。
ステップS300、S400での判定結果は、先の温度制御(立ち上げ温度制御)の終了時における赤外線温度センサ30の状態を示している。「正常状態」(C1=C2=0)の場合、処理が、ステップS500からステップS502のループに移行する。ステップS500からステップS502のループは、第1温度制御に対応している。「疑結露状態」(C1≠0 & C2=0)の場合、処理が、ステップS401を経て、ステップS402からステップS404のループに移行する。ステップS402からステップS404のループは、第2温度制御に対応している。ステップS401では、システムコントローラ90は、第1タイマー91のカウントをリセットする。「疑汚れ状態」(C1=0 & C2≠0)の場合、処理が、ステップS301、S302を経て、ステップS401からステップS402のループに移行する。システムコントローラ90は、ステップS301で第2タイマー92のカウントを停止し、ステップS302で第2経過時間を保持する。
処理が、ステップS500からステップS502のループに進んだ場合を説明する。ステップS500からステップS502のループでは、赤外線温度センサ30を利用した第1温度制御が実行される。ステップS500では、第1温度T1がプリント温度TPに保たれるように、ヒータ制御部60によって、ヒータ80に電力が供給される。また、ステップS500の実行中に、一定時間毎に、ステップS501及びステップS502のYes・No判定が実行される。ステップS501でYes又はステップS502でNoの場合、ステップS500からステップS502のループが終了する。ステップS501でNoかつステップS502でYesの場合、ステップS500が再度実行される。そして、ステップS500からステップS502のループが継続される。
ステップS501では、プリントジョブが発生しているか否かの判定が実行される。S501でYesの場合、プリント温度制御が終了され、スタンバイ温度制御(図17)が新たに開始される(ステップS70)。
ステップS502では、検出温度差ΔTが所定温度差PT内にあるか否かが、判定される。ステップS502でNoの場合、処理が、ステップS600に移行する。
処理がステップ600に進んだ場合、システムコントローラ90は、レンズ38に付着物として結露が発生した、と判断する。前述したように、記録紙に含まれている水分が蒸発することで、レンズ38に結露が発生する場合がある。次いで、処理が、ステップS402からステップS404のループに移行する。
処理が、ステップS402からステップS404のループに進んだ場合を説明する。ステップS402からステップS404のループでは、サーミスタ40を利用した第2温度制御が実行される。ステップS402では、第2温度T2がプリント温度TPになるように、ヒータ制御部60によって、ヒータ80に電力が供給される。また、ステップS402の実行中に、一定時間毎に、ステップS403及びステップS404のYes・No判定が実行される。ステップS403でYes又はステップS404でYesの場合、ステップS402からステップS404のループが終了する。ステップS403でNoかつステップS404でNoの場合、ステップS402が再度実行される。そして、ステップS402からステップS404のループが継続される。
ステップS403では、プリントジョブが発生したか否かの判定が、実行される。ステップS403でYesの場合、処理がステップS700に移行する。
ステップS404では、検出温度差ΔTが所定温度差PT内にあるか否かが、判定される。ステップS404でYesの場合、処理が、ステップS500からステップS502のループに移行する。このようにして、検出温度差ΔTが所定温度差PT内に復帰すると、第2温度制御が第1温度制御に切替えられる。
ステップS700では、第2経過時間C2が0か否かが判定する。ここで、C2≠0である場合、処理が、ステップS300、S400から、ステップS301に進んだ場合を意味する。C2=0である場合、処理が、ステップS300、S400から、ステップS401に進んだ場合を意味する。つまり、ステップS700でYesの場合、先の温度制御の終了時における赤外線温度センサ30の状態は「疑結露状態」である。ステップS700でNoの場合、先の温度制御の終了時における赤外線温度センサ30の状態は「疑汚れ状態」である。
ステップS700でYesの場合、処理がステップS800に移行する。ステップS800では、第1タイマー91のカウント継続時間が、第1短所定時間P1S(30sec)に設定される。ステップS800の次のステップS801では、第1タイマー91のカウントが開始される。そして、プリント温度制御が終了され、スタンバイ温度制御(図17)が新たに開始される(ステップS70)。
ステップS700でのNoの場合、処理がステップS900に移行する。ステップS900では、ステップS302で保持されていた第2経過時間C2に、所定の追加時間CAが加算される。
本実施形態では、追加時間CAは、30secである。
ステップS900の次のステップS901では、第2タイマー92のカウントが再び開始される。そして、プリント温度制御が終了され、スタンバイ温度制御(図17)が新たに開始される(ステップS70)。
[本実施形態の効果]
本実施形態の画像形成装置1は、次のような効果を発揮する。
画像形成装置1では、検出温度差ΔTが所定温度差PT未満のときは第1温度検出手段を利用して加熱手段(ヒータ80)の温度制御が実行される。このため、適正な印字画質が得られる。また、検出温度差ΔTが所定温度差PT以上のときは第2温度検出手段による第2温度制御が実行される。このため、第1温度検出手段の誤検出による温度制御異常の発生が防止される。また、検出温度差ΔTが所定温度差PT以上となった経過時間が所定時間を越えると警告手段(警報器29)が作動する。
このため、温度制御手段(システムコントローラ90)は、経過時間及び所定時間の大きさを比較することによって、ユーザーへの警告が必要か否かを判定できる。つまり、温度制御手段は、一時的な誤検出を引き起こす結露の発生と、恒久的な誤検出を引き起こす汚れの発生と、を区別して認識できる。
画像形成装置1では、結露が発生したと疑われる状況では、所定時間が、第1所定時間(第1長所定時間P1L、第2短所定時間P1S)と第2所定時間P2とを合わせた時間であり、汚れが発生したと疑われる状況では、所定時間が、第2所定時間P2のみの時間である。
このため、温度制御手段が、結露が発生したと疑われる状況では、汚れが発生したと疑われる状況よりも、所定時間を長く設定するので、温度制御手段は、加熱の継続によって解消する結露と、加熱の継続によって解消しない汚れとを、正確に区別できる。
画像形成装置1では、結露が発生したと疑われる状況について、起動時における結露の発生と、プリントジョブにおける結露の発生と、が区別される。
このため、温度制御手段が、起動時における結露の発生の場合、プリントジョブにおける結露の発生の場合よりも、第1所定時間を長く設定するので、温度制御手段は、結露の解消のために時間を浪費しない。
画像形成装置1では、汚れが発生した場合に、加熱手段の作動が停止されるので、温度制御異常の発生が確実に防止できる。
画像形成装置1では、プリントジョブの発生中は、加熱手段の作動が停止されないので、印字効率の低下が防止される。
画像形成装置1では、第1温度検出手段及び第2温度検出手段が、共に、被加熱体(加熱ローラ21)において最小通過幅W領域内にある部分の温度を計測する。ここで、記録紙Pによって加熱手段から熱が奪われるので、記録紙Pの幅の変動によって加熱手段の長手方向における温度分布に偏りが生じる。しかし、最小通過幅W領域内の加熱手段の温度は一定である。
このため、常に、第1温度検出手段及び第2温度検出手段が、同一温度の部位を検出対象とできる。したがって、第1温度検出手段及び第2温度検出手段の正確な検出温度差が得られる。また、加熱手段の長手方向で異なる位置に、受光体と受熱体とを配置するので、レイアウトの自由度が確保される。
電子写真方式を用いた画像形成装置の主要部の一例である。 定着装置を示す概略図である。 加熱ローラ、サーモパイル及びサーミスタの位置関係を示す平面図である。 赤外線温度センサの外観図である。 赤外線温度センサの内部構造図である。 赤外線温度センサのアンプ回路図である。 一例の温度制御における加熱ローラの表面温度の推移図である。 赤外線温度センサに異常がない場合における立ち上げ温度制御の検出温度の変化を示す図である。 立ち上げ温度制御において赤外線温度センサに発生した異常が解消しなかった場合における検出温度の変化を示す図である。 立ち上げ温度制御において赤外線温度センサに発生した異常が途中で解消した場合における検出温度の変化を示す図である。 低温環境下の立ち上げ温度制御において赤外線温度センサに発生した異常が解消しなかった場合における検出温度の変化を示す図である。 低温環境下の立ち上げ温度制御において赤外線温度センサに発生した異常が途中で解消した場合における検出温度の変化を示す図である。 立ち上げ温度制御のフローチャートである。 赤外線温度センサに異常がない場合におけるスタンバイ温度制御の検出温度の変化を示す図である。 スタンバイ温度制御開始後に赤外線温度センサに異常が発生した場合における検出温度の変化を示す図である。 スタンバイ温度制御開始時から赤外線温度センサに異常が発生している場合における検出温度の変化を示す図である。 スタンバイ温度制御のフローチャートである。 赤外線温度センサに異常がない場合におけるプリント温度制御における検出温度の変化を示す図である。 プリント温度制御開始後に赤外線温度センサに異常が発生した場合における検出温度の変化を示す図である。 プリント温度制御開始時から赤外線温度センサに異常が発生している場合における検出温度の変化を示す図である。 プリント温度制御のフローチャートである。 電子写真方式を用いた従来の画像形成装置の主要部の一例である。 従来の温度検出手段の構成を示す図である。
符号の説明
1 画像形成装置
20 定着装置
21 加熱ローラ(被加熱体)
29 警報器(警告手段)
30 赤外線温度センサ
38 レンズ(受光体)
40 サーミスタ(受熱体)
60 ヒータ制御部
70 A/D変換部(第1、第2温度検出手段の一部)
80 ヒータ(加熱手段)
90 温度制御手段(第1、第2温度検出手段の一部)
91 第1タイマー
92 第2タイマー
P1L 第1長所定時間
P1S 第1短所定時間
P2 第2所定時間
W 最小通過幅

Claims (7)

  1. 画像情報を含むプリントジョブに基づいて用紙上にトナー像を形成する画像形成装置において、
    前記用紙にトナーを熱によって定着させるための被加熱体と、
    前記被加熱体を加熱する、加熱手段と、
    前記被加熱体に対して非接触に配置された、受光体と、
    前記被加熱体から前記受光体に入射された赤外線の量に基づいて、前記被加熱体の表面温度に相当する第1温度を検出する、第1温度検出手段と、
    前記被加熱体に対して非接触に配置された、受熱体と、
    前記被加熱体によって加熱された前記受熱体の温度に基づいて、前記被加熱体の表面温度に相当する第2温度を検出する、第2温度検出手段と、
    前記第1温度が所定の目標温度に追従するように前記加熱手段の出力を制御する第1温度制御、又は、前記第2温度が前記目標温度に追従するように前記加熱手段の出力を制御する第2温度制御を、択一的に実行する、温度制御手段と、
    前記第2温度制御が連続して実行された経過時間を計測する、タイマーと、
    前記第1温度検出手段の異常を知らせる警告手段と、
    を備えており、
    前記温度制御手段が、前記第1温度と前記第2温度との検出温度差が所定温度差未満である場合に前記第1温度制御を行い、前記検出温度差が前記所定温度差以上である場合に前記第2温度制御を行い、前記経過時間が所定時間以上となった場合に前記警告手段を作動させる、
    ことを特徴とする画像形成装置。
  2. 前記第1温度制御によって前記所定の目標温度に到達したことがない状態で前記第2温度制御が開始されたとき、及び/又は、プリントジョブの発生後に前記第2温度制御が開始されたとき、前記所定時間は、第1所定時間と、第2所定時間と、を合わせた時間であり、
    前記第1温度制御によって前記所定の目標温度に到達した後で且つプリントジョブの発生もない状態で、前記第2温度制御が開始されたとき、前記所定時間は、前記第2所定時間のみの時間である、
    請求項1記載の画像形成装置。
  3. 前記第1所定時間は、第1長所定時間、又は、前記第1長所定時間よりも短時間である第1短所定時間であり、
    前記第1温度制御によって前記所定の目標温度に到達したことがない状態で前記第2温度制御が開始されたとき、前記第1所定時間として、前記第1長所定時間が用いられるものであり、
    プリントジョブの発生後に前記第2温度制御が開始されたとき、前記第1所定時間として、前記第1短所定時間が用いられる、
    請求項2記載の画像形成装置。
  4. 前記温度制御手段が、前記経過時間が前記所定時間以上となった場合に、前記加熱手段の作動を停止させる、
    請求項1〜3のいずれか1つに記載の画像形成装置。
  5. 前記温度制御手段が、プリントジョブの発生中には、前記加熱手段の作動を停止させない、 請求項4記載の画像形成装置。
  6. 前記受光体と前記受熱体とが、前記記録紙の最小通過幅領域内に配置される、
    請求項1〜5のいずれか1つに記載の画像形成装置。
  7. 用紙にトナーを熱によって定着させるための被加熱体を備えた定着装置において、
    前記被加熱体を加熱する、加熱手段と、
    前記被加熱体に対して非接触に配置された、受光体と、
    前記被加熱体から前記受光体に入射された赤外線の量に基づいて、前記被加熱体の表面温度に相当する第1温度を検出する、第1温度検出手段と、
    前記被加熱体に対して非接触に配置された、受熱体と、
    前記被加熱体によって加熱された前記受熱体の温度に基づいて、前記被加熱体の表面温度に相当する第2温度を検出する、第2温度検出手段と、
    前記第1温度が所定の目標温度に追従するように前記加熱手段の出力を制御する第1温度制御、又は、前記第2温度が前記目標温度に追従するように前記加熱手段の出力を制御する第2温度制御を、択一的に実行する、温度制御手段と、
    前記第2温度制御が連続して実行された経過時間を計測する、タイマーと、
    前記第1温度検出手段の異常を知らせる警告手段と、
    を備えており、
    前記制御手段が、前記第1温度と前記第2温度との検出温度差が所定温度差未満である場合に前記第1温度制御を行い、前記検出温度差が前記所定温度差以上である場合に前記第2温度制御を行い、前記経過時間が所定時間以上となった場合に前記警告手段を作動させる、
    ことを特徴とする定着装置。
JP2008239540A 2008-09-18 2008-09-18 画像形成装置及び定着装置 Active JP4462375B2 (ja)

Priority Applications (5)

Application Number Priority Date Filing Date Title
JP2008239540A JP4462375B2 (ja) 2008-09-18 2008-09-18 画像形成装置及び定着装置
CN2009801363739A CN102160002B (zh) 2008-09-18 2009-09-11 图像形成装置以及定影装置
EP09814529.5A EP2328039B1 (en) 2008-09-18 2009-09-11 Image forming apparatus and fixing unit
US13/119,282 US8521050B2 (en) 2008-09-18 2009-09-11 Image forming device and fuser
PCT/JP2009/065894 WO2010032684A1 (ja) 2008-09-18 2009-09-11 画像形成装置及び定着装置

Applications Claiming Priority (1)

Application Number Priority Date Filing Date Title
JP2008239540A JP4462375B2 (ja) 2008-09-18 2008-09-18 画像形成装置及び定着装置

Publications (2)

Publication Number Publication Date
JP2010072329A true JP2010072329A (ja) 2010-04-02
JP4462375B2 JP4462375B2 (ja) 2010-05-12

Family

ID=42039508

Family Applications (1)

Application Number Title Priority Date Filing Date
JP2008239540A Active JP4462375B2 (ja) 2008-09-18 2008-09-18 画像形成装置及び定着装置

Country Status (5)

Country Link
US (1) US8521050B2 (ja)
EP (1) EP2328039B1 (ja)
JP (1) JP4462375B2 (ja)
CN (1) CN102160002B (ja)
WO (1) WO2010032684A1 (ja)

Cited By (1)

* Cited by examiner, † Cited by third party
Publication number Priority date Publication date Assignee Title
JP2019219504A (ja) * 2018-06-19 2019-12-26 株式会社リコー 画像形成装置および制御方法

Families Citing this family (6)

* Cited by examiner, † Cited by third party
Publication number Priority date Publication date Assignee Title
JP5126282B2 (ja) * 2010-04-27 2013-01-23 ブラザー工業株式会社 画像形成装置
CN103698052B (zh) * 2012-09-27 2016-12-21 株式会社理光 温度传感器异常判定方法及使用其的图像形成装置
US10831136B1 (en) 2019-09-12 2020-11-10 Toshiba Tec Kabushiki Kaisha Fixing device and image forming apparatus
US11803142B1 (en) 2022-09-26 2023-10-31 Toshiba Tec Kabushiki Kaisha Image forming apparatus and control method thereof
CN117348366A (zh) * 2023-09-21 2024-01-05 珠海奔图电子有限公司 图像形成设备的功耗控制方法和功耗控制装置
CN117490857B (zh) * 2023-12-29 2024-03-15 深圳市英博伟业科技有限公司 一种基于红外技术的温度提示方法及终端设备

Citations (6)

* Cited by examiner, † Cited by third party
Publication number Priority date Publication date Assignee Title
JPH05100591A (ja) * 1991-10-11 1993-04-23 Minolta Camera Co Ltd 温度測定装置及び熱定着装置
JPH05118926A (ja) * 1991-10-26 1993-05-14 Minolta Camera Co Ltd 温度測定装置
JPH05149790A (ja) * 1991-11-26 1993-06-15 Minolta Camera Co Ltd 温度測定装置
JP2001034109A (ja) * 1999-07-15 2001-02-09 Canon Inc 画像形成装置
JP2005227558A (ja) * 2004-02-13 2005-08-25 Fuji Xerox Co Ltd 定着装置及び画像形成装置
JP2006145968A (ja) * 2004-11-22 2006-06-08 Fuji Xerox Co Ltd 画像形成装置

Family Cites Families (10)

* Cited by examiner, † Cited by third party
Publication number Priority date Publication date Assignee Title
JPS6014775A (ja) 1983-07-06 1985-01-25 日本電気株式会社 同軸ケ−ブルの高密度配線構造
JPS60144775A (ja) 1984-01-07 1985-07-31 Fuji Xerox Co Ltd 定着装置
JPH11153923A (ja) 1997-11-19 1999-06-08 Ricoh Co Ltd 定着装置
JP2002023550A (ja) 2000-07-07 2002-01-23 Hitachi Koki Co Ltd 定着装置の温度測定装置
US6684037B2 (en) * 2001-06-07 2004-01-27 Canon Kabushiki Kaisha Fixing apparatus and image forming apparatus provided with fixing apparatus
JP4078235B2 (ja) * 2003-03-26 2008-04-23 キヤノン株式会社 加熱装置
JP2006301012A (ja) * 2005-04-15 2006-11-02 Canon Inc 温度検出装置、温度制御装置、画像形成装置、制御方法、及びプログラム
JP2007279636A (ja) * 2006-04-12 2007-10-25 Toshiba Corp 画像形成装置
JP4617345B2 (ja) * 2007-11-27 2011-01-26 株式会社沖データ 画像形成装置
JP4605408B2 (ja) * 2008-06-11 2011-01-05 コニカミノルタビジネステクノロジーズ株式会社 画像形成装置、画像形成方法および画像形成プログラム、

Patent Citations (6)

* Cited by examiner, † Cited by third party
Publication number Priority date Publication date Assignee Title
JPH05100591A (ja) * 1991-10-11 1993-04-23 Minolta Camera Co Ltd 温度測定装置及び熱定着装置
JPH05118926A (ja) * 1991-10-26 1993-05-14 Minolta Camera Co Ltd 温度測定装置
JPH05149790A (ja) * 1991-11-26 1993-06-15 Minolta Camera Co Ltd 温度測定装置
JP2001034109A (ja) * 1999-07-15 2001-02-09 Canon Inc 画像形成装置
JP2005227558A (ja) * 2004-02-13 2005-08-25 Fuji Xerox Co Ltd 定着装置及び画像形成装置
JP2006145968A (ja) * 2004-11-22 2006-06-08 Fuji Xerox Co Ltd 画像形成装置

Cited By (2)

* Cited by examiner, † Cited by third party
Publication number Priority date Publication date Assignee Title
JP2019219504A (ja) * 2018-06-19 2019-12-26 株式会社リコー 画像形成装置および制御方法
JP7087710B2 (ja) 2018-06-19 2022-06-21 株式会社リコー 画像形成装置および制御方法

Also Published As

Publication number Publication date
CN102160002A (zh) 2011-08-17
US20110164893A1 (en) 2011-07-07
WO2010032684A1 (ja) 2010-03-25
CN102160002B (zh) 2013-08-14
JP4462375B2 (ja) 2010-05-12
EP2328039A1 (en) 2011-06-01
EP2328039B1 (en) 2020-06-24
US8521050B2 (en) 2013-08-27
EP2328039A4 (en) 2011-10-26

Similar Documents

Publication Publication Date Title
JP4462375B2 (ja) 画像形成装置及び定着装置
JP5924857B2 (ja) 画像形成装置
JP6296005B2 (ja) 画像形成装置
JP4187375B2 (ja) 画像形成装置及びその温度制御方法
JP2016035558A (ja) 定着装置および画像形成装置
JP6380316B2 (ja) 定着装置及び画像形成装置
US20070075065A1 (en) Fixing device and image forming apparatus
JP2009098361A (ja) 定着装置、画像形成装置、および定着装置の制御方法
JP5310691B2 (ja) 定着装置および画像形成装置
JP4826656B2 (ja) 温度検出装置及び温度検出装置を備えた画像形成装置
JP6988257B2 (ja) 定着装置及び画像形成装置
JP4821215B2 (ja) 画像記録装置
JP2007248080A (ja) 赤外線温度センサ、定着装置及び画像形成装置
JP2006145968A (ja) 画像形成装置
JP2016014860A (ja) 定着装置と画像形成装置
JP5239288B2 (ja) 画像形成装置および定着装置の制御方法
JP2008175703A (ja) 温度検出装置、定着装置および画像形成装置
JP2019039952A (ja) 定着装置及び画像形成装置
JP6337575B2 (ja) 定着装置および画像形成装置
JP5176945B2 (ja) 画像形成装置、画像形成方法、及び画像形成プログラム
US20070075066A1 (en) Fixing device and image forming apparatus using the same
JP2016033599A (ja) 画像形成装置
JP2010026411A (ja) 定着装置、画像形成装置、定着装置の制御方法、および定着装置の制御プログラム
JP2009229873A (ja) 画像形成装置
JP5169260B2 (ja) 定着装置、画像形成装置、定着装置の制御方法、および定着装置の制御プログラム

Legal Events

Date Code Title Description
RD04 Notification of resignation of power of attorney

Free format text: JAPANESE INTERMEDIATE CODE: A7424

Effective date: 20091228

A521 Written amendment

Free format text: JAPANESE INTERMEDIATE CODE: A523

Effective date: 20100104

TRDD Decision of grant or rejection written
A01 Written decision to grant a patent or to grant a registration (utility model)

Free format text: JAPANESE INTERMEDIATE CODE: A01

Effective date: 20100126

A01 Written decision to grant a patent or to grant a registration (utility model)

Free format text: JAPANESE INTERMEDIATE CODE: A01

A61 First payment of annual fees (during grant procedure)

Free format text: JAPANESE INTERMEDIATE CODE: A61

Effective date: 20100208

FPAY Renewal fee payment (event date is renewal date of database)

Free format text: PAYMENT UNTIL: 20130226

Year of fee payment: 3

R150 Certificate of patent or registration of utility model

Ref document number: 4462375

Country of ref document: JP

Free format text: JAPANESE INTERMEDIATE CODE: R150

Free format text: JAPANESE INTERMEDIATE CODE: R150

FPAY Renewal fee payment (event date is renewal date of database)

Free format text: PAYMENT UNTIL: 20140226

Year of fee payment: 4

S111 Request for change of ownership or part of ownership

Free format text: JAPANESE INTERMEDIATE CODE: R313111

R350 Written notification of registration of transfer

Free format text: JAPANESE INTERMEDIATE CODE: R350