JP2010071090A - エンジンの動弁装置 - Google Patents

エンジンの動弁装置 Download PDF

Info

Publication number
JP2010071090A
JP2010071090A JP2008236129A JP2008236129A JP2010071090A JP 2010071090 A JP2010071090 A JP 2010071090A JP 2008236129 A JP2008236129 A JP 2008236129A JP 2008236129 A JP2008236129 A JP 2008236129A JP 2010071090 A JP2010071090 A JP 2010071090A
Authority
JP
Japan
Prior art keywords
valve
bridge
pair
inner peripheral
diameter
Prior art date
Legal status (The legal status is an assumption and is not a legal conclusion. Google has not performed a legal analysis and makes no representation as to the accuracy of the status listed.)
Granted
Application number
JP2008236129A
Other languages
English (en)
Other versions
JP5033742B2 (ja
Inventor
Manabu Miyazaki
学 宮▲崎▼
Satoshi Sugimoto
智 杉本
Koichi Funaki
耕一 舩木
Shogo Muroya
昇吾 室弥
Masayuki Tochimoto
将行 栩本
Current Assignee (The listed assignees may be inaccurate. Google has not performed a legal analysis and makes no representation or warranty as to the accuracy of the list.)
Kubota Corp
Original Assignee
Kubota Corp
Priority date (The priority date is an assumption and is not a legal conclusion. Google has not performed a legal analysis and makes no representation as to the accuracy of the date listed.)
Filing date
Publication date
Application filed by Kubota Corp filed Critical Kubota Corp
Priority to JP2008236129A priority Critical patent/JP5033742B2/ja
Publication of JP2010071090A publication Critical patent/JP2010071090A/ja
Application granted granted Critical
Publication of JP5033742B2 publication Critical patent/JP5033742B2/ja
Expired - Fee Related legal-status Critical Current
Anticipated expiration legal-status Critical

Links

Images

Landscapes

  • Valve-Gear Or Valve Arrangements (AREA)

Abstract

【課題】バルブ異仕様エンジン間でバルブブリッジを兼用することができるエンジンの動弁装置を提供する。
【解決手段】バルブブリッジ4は昇降ガイド部による案内なしで昇降されるようになっている、エンジンの動弁装置において、両ブリッジ出力部5・5の下部にバルブ入力部嵌合凹部13・13が設けられ、各バルブ入力部嵌合凹部13の内周面が相互に連続する径大円弧状内周面14と径小円弧状内周面15で構成され、両径小円弧状内周面15は連続する径大円弧状内周面14よりもバルブブリッジ4の長手方向中央寄りに配置され、一対のバルブ入力部3・3はその両方が、一対の径大円弧状内周面1414に沿って内嵌され、または、一対のバルブ入力部33はその両方が、一対の径小円弧状内周面15・15に沿って内嵌されている。
【選択図】図1

Description

本発明は、エンジンの動弁装置に関し、詳しくは、バルブ異仕様エンジン間でバルブブリッジを兼用することができるエンジンの動弁装置に関するものである。
従来のエンジンの動弁装置として、本発明と同様、一対のバルブがバルブスプリングで閉弁方向に付勢され、両バルブの上端のバルブ入力端部にバルブブリッジの長手方向両端のブリッジ出力部が載って、バルブブリッジが一対の弁軸入力端部上に架設され、このバルブブリッジの長手方向中央部にバルブブリッジのブリッジ入力部が形成され、このブリッジ入力部の上面にロッカアームの先端のロッカアーム出力部が接当され、ロッカアーム出力部の下向き揺動により、バルブブリッジが下向きに押され、一対のバルブがバルブスプリングの付勢力に抗して開弁され、ロッカアーム出力部の上向揺動で、一対のバルブとバルブブリッジとがバルブスプリングの付勢力で上昇して、一対のバルブが閉弁され、バルブブリッジは昇降ガイド部による案内なしで昇降されるようになっているものがある(例えば、特許文献1参照)。
この種の動弁装置では、バルブブリッジと昇降ガイド部との摺動抵抗が無い分、馬力ロスが低減される利点がある。
しかし、従来のエンジンの動弁装置では、両ブリッジ出力部の下部に円形または溝形のバルブ入力部嵌合部が設けられているため、問題がある。
特開2001−152816号公報(図2、図4参照)
上記従来技術では、次の問題がある。
《問題》 バルブ異仕様エンジン間でバルブブリッジを兼用することができない。
両ブリッジ出力部の下部に円形または溝形のバルブ入力部嵌合部が設けられているため、バルブブリッジをバルブ入力部の径や離間距離が異なるバルブ異仕様エンジンに転用しようとすると、バルブ入力部がバルブ入力部嵌合凹部に嵌合できないか、嵌合できても、バルブ入力部とバルブ入力部嵌合部の内周面との間に隙間があき、バルブブリッジが長手方向や幅方向にずれ、位置決めができない。このため、バルブ異仕様エンジン間でバルブブリッジを兼用することができない。
本発明は、上記問題点を解決することができるエンジンの動弁装置、すなわち、バルブ異仕様エンジン間でバルブブリッジを兼用することができるエンジンの動弁装置を提供することを課題とする。
(請求項1に係る発明)
請求項1に係る発明の発明特定事項は、次の通りである。
図2(A)に例示するように、一対のバルブ(1)(1)がバルブスプリング(2)(2)で閉弁方向に付勢され、両バルブ(1)(1)の上端のバルブ入力部(3)(3)にバルブブリッジ(4)の長手方向両端のブリッジ出力部(5)(5)が載って、バルブブリッジ(4)が一対のバルブ入力部(3)(3)上に架設され、このバルブブリッジ(4)の長手方向中央部にバルブブリッジ(4)のブリッジ入力部(6)が形成され、このブリッジ入力部(6)の上面(7)にロッカアーム(8)の先端のロッカアーム出力部(9)が接当され、ロッカアーム出力部(9)の下向き揺動により、バルブブリッジ(4)が下向きに押され、一対のバルブ(1)(1)がバルブスプリング(2)(2)の付勢力に抗して開弁され、ロッカアーム出力部(9)の上向き揺動により、一対のバルブ(1)(1)とバルブブリッジ(4)とがバルブスプリング(2)(2)の付勢力で上昇して、一対のバルブ(1)(1)が閉弁され、バルブブリッジ(4)は昇降ガイド部による案内なしで昇降されるようになっている、エンジンの動弁装置において、
図1(C)、図4(C)に例示するように、両ブリッジ出力部(5)(5)の下部にバルブ入力部嵌合凹部(13)(13)が設けられ、各バルブ入力部嵌合凹部(13)の内周面が相互に連続する径大円弧状内周面(14)と径小円弧状内周面(15)で構成され、
両径小円弧状内周面(15)は連続する径大円弧状内周面(14)よりもバルブブリッジ(4)の長手方向中央寄りに配置され、または、両径小円弧状内周面(15)は連続する径大円弧状内周面(14)よりもバルブブリッジ(4)の長手方向端部寄りに配置され、
一対のバルブ入力部(3)(3)はその両方が、一対の径大円弧状内周面(14)(14)に沿って内嵌され、または、一対のバルブ入力部(3)(3)はその両方が、一対の径小円弧状内周面(15)(15)に沿って内嵌されている、ことを特徴とするエンジンの動弁装置。
(請求項1に係る発明)
《効果》 バルブ異仕様エンジン間で、バルブブリッジを兼用することができる。
図1(C)、図4(C)に例示するように、両ブリッジ出力部(5)(5)の下部にバルブ入力部嵌合凹部(13)(13)が設けられ、各バルブ入力部嵌合凹部(13)の内周面が相互に連続する径大円弧状内周面(14)と径小円弧状内周面(15)で構成され、両径小円弧状内周面(15)は連続する径大円弧状内周面(14)よりもバルブブリッジ(4)の長手方向中央寄りに配置され、または、両径小円弧状内周面(15)は連続する径大円弧状内周面(14)よりもバルブブリッジ(4)の長手方向端部寄りに配置され、一対のバルブ入力部(3)(3)はその両方が、一対の径大円弧状内周面(14)(14)に沿って内嵌され、または、一対のバルブ入力部(3)(3)はその両方が、一対の径小円弧状内周面(15)(15)に沿って内嵌されるので、バルブ入力部(3)の径とバルブ離間距離(19)(20)が相違するバルブ異仕様エンジン間で、バルブブリッジ(4)を兼用することができる。
《効果》 バルブブリッジが長手方向にも幅方向にもずれることなく位置決めされる。
図1(C)、図4(C)に例示するように、一対のバルブ入力部(3)(3)はその両方が、一対の径大円弧状内周面(14)(14)に沿って内嵌され、または、一対のバルブ入力部(3)(3)はその両方が、一対の径小円弧状内周面(15)(15)に沿って内嵌されるので、一対のバルブ入力部(3)(3)と一対の径大円弧状内周面(14)(14)との接当、または、一対のバルブ入力部(3)(3)と一対の径小円弧状内周面(15)(15)との接当により、バルブブリッジ(4)が長手方向にも幅方向にもずれることなく位置決めされる。
(請求項2に係る発明)
請求項1に係る発明の効果に加え、次の効果を奏する。
《効果》 ブリッジ出力部とバルブ入力部との磨耗抑制機能が高い。
図2(A)に例示するように、バルブスプリング(2)(2)のスプリングリテーナ(16)上に溜まったエンジンオイル(17)が、バルブ入力部(3)が内嵌されていないバルブ入力部嵌合凹部(13)の空き空間(18)を介して、ブリッジ出力部(5)とバルブ入力部(3)との接当箇所に進入するように、スプリングリテーナ(16)を配置したので、ブリッジ出力部(5)とバルブ入力部(3)との磨耗抑制機能が高い。
本発明の実施の形態を図面に基づいて説明する。図1から図3は本発明の第1実施形態に係るエンジンの動弁装置を説明する図、図4は本発明の第2実施形態に係るエンジンの動弁装置を説明する図である。各実施形態では、立形の多気筒ディーゼルエンジンの動弁装置について説明する。
本発明の第1実施形態の概要は、次の通りである。
図3(A)に示すように、シリンダブロック(図外)の上部にシリンダヘッド(21)が取り付けられ、シリンダヘッド(21)の上部にヘッドカバー(22)が取り付けられている。シリンダヘッド(21)内には吸気ポート(23)と排気ポート(図外)とプッシュロッド挿通孔(24)とが設けられている。吸気ポート(23)には一対の吸気弁口(25)(25)が設けられ、この一対の吸気弁口(25)(25)を開閉する一対の吸気バルブ(1)(1)が配置されている。
シリンダヘッド(21)の上部にはロッカアームブラケット(26)が取り付けられ、このロッカアームブラケット(26)に枢軸(27)を介してロッカアーム(8)が揺動自在に取り付けられている。プッシュロッド挿通孔(24)にはプッシュロッド(28)が挿通されている。ロッカアームブラケット(26)とロッカアーム(8)は、ヘッドカバー(22)内に収容されている。
図3(A)に示すように、一対の吸気バルブ(1)(1)は、動弁カム(図外)からタペット(図外)とプッシュロッド(28)とロッカアーム(8)とバルブブリッジ(4)とを順に介して連動される。排気ポート(図外)の排気弁口(図外)は1つで、図3(B)に示すように、排気バルブ(29)は動弁カム(図外)からタペット(図外)とプッシュロッド(図外)とロッカアーム(30)とを介して連動される。図3(A)に示すように、吸気バルブ(1)(1)のロッカアーム(8)の上部にあるオイル流出孔(34)には、オイルパン(31)のエンジンオイル(17)が、オイルポンプ(32)の圧送力で、オイルギャラリ(33)と枢軸(27)とを介して供給されている。排気バルブ(29)のロッカアーム(33)の上部にあるオイル流出孔(35)にも同様にオイルパン(31)のエンジンオイル(17)が供給されている。
吸気バルブの動弁装置の概要は、次の通りである。
図2(A)に示すように、一対のバルブ(1)(1)がバルブスプリング(2)(2)で閉弁方向に付勢され、両バルブ(1)(1)の上端のバルブ入力部(3)(3)にバルブブリッジ(4)の長手方向両端のブリッジ出力部(5)(5)が載って、バルブブリッジ(4)が一対のバルブ入力部(3)(3)上に架設されている。
このバルブブリッジ(4)の長手方向中央部にバルブブリッジ(4)のブリッジ入力部(6)が形成され、このブリッジ入力部(6)の上面(7)にロッカアーム(8)の先端のロッカアーム出力部(9)が接当され、ロッカアーム出力部(9)の下向き揺動により、バルブブリッジ(4)が下向きに押され、一対のバルブ(1)(1)がバルブスプリング(2)(2)の付勢力に抗して開弁され、ロッカアーム出力部(9)の上向き揺動により、一対のバルブ(1)(1)とバルブブリッジ(4)とがバルブスプリング(2)(2)の付勢力で上昇して、一対のバルブ(1)(1)が閉弁される。
バルブブリッジ(4)は昇降ガイド部による案内なしで昇降されるようになっている。
吸気バルブの動弁装置の工夫は、次の通りである。
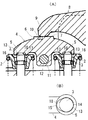
図1(A)(B)、図2(A)に示すように、ブリッジ入力部(6)の上面(7)にオイル溜め溝(10)が凹設されている。このため、オイル溜め溝(10)が除肉されている分だけ、バルブブリッジ(4)の重心が下がり、バルブブリッジ(4)の姿勢を安定化させることができる。また、オイル溜め溝(10)に溜まったエンジンオイルが、ロッカアーム出力部(9)とブリッジ入力部(6)との摺動面に供給される。
図1(A)(B)に示すように、ブリッジ入力部(6)は円柱形に形成され、オイル溜め溝(10)は、ブリッジ入力部(6)が円形になっている上面(7)の周縁部に沿って三日月形に形成され、バルブブリッジ(4)の一方の端部寄りに配置されている。
図1(B)に示すように、バルブブリッジ(4)のブリッジ入力部(6)の下方に錘部(11)が垂設されている。また、錘部(11)はブリッジ出力部(5)(5)よりも低い位置まで垂設されている、このため、バルブブリッジ(4)の重心を効率的に下げることができ、バルブブリッジ(4)の姿勢安定化機能が高い。錘部(11)は、バルブブリッジ(4)のブリッジ入力部(6)の真下に配置されている。
図2(A)に示すように、バルブブリッジ(4)の素材には焼結合金が用いられ、錘部(11)には焼結合金よりも比重の大きい鋼球(12)が埋設されている。このため、バルブブリッジ(4)を安価に製造することができる。
図1(B)(C)に示すように、両ブリッジ出力部(5)(5)の下部にバルブ入力部嵌合凹部(13)(13)が設けられ、各バルブ入力部嵌合凹部(13)の内周面が相互に連続する径大円弧状内周面(14)と径小円弧状内周面(15)で構成され、両径小円弧状内周面(15)は連続する径大円弧状内周面(14)よりもバルブブリッジ(4)の長手方向中央寄りに配置され、図2(B)に示すように、一対のバルブ入力部(3)(3)はその両方が、一対の径大円弧状内周面(14)(14)に沿って内嵌されている。
そして、バルブスプリング(2)(2)のスプリングリテーナ(16)上に溜まったエンジンオイル(17)が、バルブ入力部(3)が内嵌されていないバルブ入力部嵌合凹部(13)の空き空間(18)を介して、ブリッジ出力部(5)とバルブ入力部(3)との接当箇所に進入するように、スプリングリテーナ(16)を配置してある。
この第1実施形態は、バルブ入力部(3)の径が大きく、長いバルブ離間距離(20)の大径長離間バルブ仕様エンジンに関するものであるが、バルブ入力部(3)の径が小さく、短いバルブ離間距離(19)の小径短離間仕様バルブエンジンでは、一対のバルブ入力部(3)(3)はその両方が、一対の径小円弧状内周面(15)(15)に沿って内嵌される。このため、大径長離間バルブ仕様エンジンと小径短離間仕様バルブエンジンとでバルブブリッジ(4)を兼用することができる。
この第1実施形態では、図1(C)に示すように、両径小円弧状内周面(15)は連続する径大円弧状内周面(14)よりもバルブブリッジ(4)の長手方向中央寄りに配置されているが、両径小円弧状内周面(15)は連続する径大円弧状内周面(14)よりもバルブブリッジ(4)の長手方向端部寄りに配置されるものであってもよい。この場合、バルブ入力部(3)の径が小さく、長いバルブ離間距離の小径長離間バルブ仕様エンジンと、バルブ入力部(3)の径が大きく、短いバルブ離間距離の大径短離間バルブ仕様エンジンとで、バルブブリッジ(4)を兼用することができる。
図4に示す本発明の第2実施形態は、オイル溜め溝(10)が、バルブブリッジ(4)の長手方向に沿う直線状に形成され、バルブブリッジ(4)のブリッジ入力部(4)が円柱の幅方向両側を除肉して、除肉面(36)(36)が平坦面とされている点を除き、第1実施形態と同じ構成と機能を備えている。図4中、第1実施形態と同一の要素には図1と同一の符号を付しておく。この第2実施形態では、バルブブリッジ(4)は、バルブブリッジ(4)の長手方向の中央を幅方向に横断する直立平面に対して面対称の構造となる。第1実施形態のバルブブリッジ(4)は、オイル溜め溝(10)の部分を除き、同様の面対称の構造となる。
本発明は、上記各実施形態に限定されるものではなく、一対の排気バルブのバルブブリッジに用いてもよい。
本発明の第1実施形態に係るエンジンの動弁装置で用いるバルブブリッジを説明する図で、図1(A)は平面図、図1(B)は側面図、図1(C)は底面図である。 本発明の第1実施形態に係るエンジンの動弁装置の要部拡大縦断面図である。 本発明の第1実施形態に係るエンジンの動弁装置を説明する図で、図3(A)は縦断側面図、図3(B)は平面図である。 本発明の第2実施形態に係るエンジンの動弁装置で用いるバルブブリッジを説明する図で、図4(A)は平面図、図4(B)は側面図、図4(C)は底面図である。
符号の説明
(1) バルブ
(2) バルブスプリング
(3) バルブ入力部
(4) バルブブリッジ
(5) ブリッジ出力部
(6) ブリッジ入力部
(7) 上面
(8) ロッカアーム
(9) ロッカアーム出力部
(13) バルブ入力部嵌合凹部
(14) 径大円弧状内周面
(15) 径小円弧状内周面
(16) スプリングリテーナ
(17) エンジンオイル
(18) 空き空間
(19) 短いバルブ離間距離
(20) 長いバルブ離間距離

Claims (2)

  1. 一対のバルブ(1)(1)がバルブスプリング(2)(2)で閉弁方向に付勢され、両バルブ(1)(1)の上端のバルブ入力部(3)(3)にバルブブリッジ(4)の長手方向両端のブリッジ出力部(5)(5)が載って、バルブブリッジ(4)が一対のバルブ入力部(3)(3)上に架設され、このバルブブリッジ(4)の長手方向中央部にバルブブリッジ(4)のブリッジ入力部(6)が形成され、このブリッジ入力部(6)の上面(7)にロッカアーム(8)の先端のロッカアーム出力部(9)が接当され、ロッカアーム出力部(9)の下向き揺動により、バルブブリッジ(4)が下向きに押され、一対のバルブ(1)(1)がバルブスプリング(2)(2)の付勢力に抗して開弁され、ロッカアーム出力部(9)の上向き揺動により、一対のバルブ(1)(1)とバルブブリッジ(4)とがバルブスプリング(2)(2)の付勢力で上昇して、一対のバルブ(1)(1)が閉弁され、バルブブリッジ(4)は昇降ガイド部による案内なしで昇降されるようになっている、エンジンの動弁装置において、
    両ブリッジ出力部(5)(5)の下部にバルブ入力部嵌合凹部(13)(13)が設けられ、各バルブ入力部嵌合凹部(13)の内周面が相互に連続する径大円弧状内周面(14)と径小円弧状内周面(15)で構成され、
    両径小円弧状内周面(15)は連続する径大円弧状内周面(14)よりもバルブブリッジ(4)の長手方向中央寄りに配置され、または、両径小円弧状内周面(15)は連続する径大円弧状内周面(14)よりもバルブブリッジ(4)の長手方向端部寄りに配置され、
    一対のバルブ入力部(3)(3)はその両方が、一対の径大円弧状内周面(14)(14)に沿って内嵌され、または、一対のバルブ入力部(3)(3)はその両方が、一対の径小円弧状内周面(15)(15)に沿って内嵌されている、ことを特徴とするエンジンの動弁装置。
  2. 請求項1に記載されたエンジンの動弁装置において、
    バルブスプリング(2)(2)のスプリングリテーナ(16)上に溜まったエンジンオイル(17)が、バルブ入力部(3)が内嵌されていないバルブ入力部嵌合凹部(13)の空き空間(18)を介して、ブリッジ出力部(5)とバルブ入力部(3)との接当箇所に進入するように、スプリングリテーナ(16)を配置した、ことを特徴とするエンジンの動弁装置。
JP2008236129A 2008-09-16 2008-09-16 エンジンの動弁装置 Expired - Fee Related JP5033742B2 (ja)

Priority Applications (1)

Application Number Priority Date Filing Date Title
JP2008236129A JP5033742B2 (ja) 2008-09-16 2008-09-16 エンジンの動弁装置

Applications Claiming Priority (1)

Application Number Priority Date Filing Date Title
JP2008236129A JP5033742B2 (ja) 2008-09-16 2008-09-16 エンジンの動弁装置

Publications (2)

Publication Number Publication Date
JP2010071090A true JP2010071090A (ja) 2010-04-02
JP5033742B2 JP5033742B2 (ja) 2012-09-26

Family

ID=42203122

Family Applications (1)

Application Number Title Priority Date Filing Date
JP2008236129A Expired - Fee Related JP5033742B2 (ja) 2008-09-16 2008-09-16 エンジンの動弁装置

Country Status (1)

Country Link
JP (1) JP5033742B2 (ja)

Cited By (3)

* Cited by examiner, † Cited by third party
Publication number Priority date Publication date Assignee Title
JP2010096173A (ja) * 2008-09-16 2010-04-30 Kubota Corp エンジンの動弁装置
CN104712385A (zh) * 2015-03-27 2015-06-17 安徽江淮汽车股份有限公司 一种发动机气门桥结构
CN104727881A (zh) * 2015-03-31 2015-06-24 浙江龙虎锻造有限公司 气门压板

Citations (8)

* Cited by examiner, † Cited by third party
Publication number Priority date Publication date Assignee Title
JPS63182203A (ja) * 1987-01-23 1988-07-27 Toichi Kitamura 酸素発生固形剤
JPS6436602A (en) * 1987-07-18 1989-02-07 Wella Ag Novel o-benzyl-n-hydroxyalkyl derivative of manucure and chitosan based on o-benzyl-n-hydroxyalkylchitosan
JPH11280417A (ja) * 1998-03-27 1999-10-12 Nissan Diesel Motor Co Ltd エンジンの動弁機構
JP2001152816A (ja) * 1999-11-22 2001-06-05 Yanmar Diesel Engine Co Ltd エンジンの弁駆動機構
JP2004270482A (ja) * 2003-03-06 2004-09-30 Koyo Seiko Co Ltd ロッカアーム
JP2004293529A (ja) * 2003-03-28 2004-10-21 Hino Motors Ltd マルチバルブエンジンの動弁装置
JP2006152911A (ja) * 2004-11-29 2006-06-15 Yanmar Co Ltd エンジンの動弁機構
JP2007056822A (ja) * 2005-08-26 2007-03-08 Kubota Corp 多弁エンジン

Patent Citations (8)

* Cited by examiner, † Cited by third party
Publication number Priority date Publication date Assignee Title
JPS63182203A (ja) * 1987-01-23 1988-07-27 Toichi Kitamura 酸素発生固形剤
JPS6436602A (en) * 1987-07-18 1989-02-07 Wella Ag Novel o-benzyl-n-hydroxyalkyl derivative of manucure and chitosan based on o-benzyl-n-hydroxyalkylchitosan
JPH11280417A (ja) * 1998-03-27 1999-10-12 Nissan Diesel Motor Co Ltd エンジンの動弁機構
JP2001152816A (ja) * 1999-11-22 2001-06-05 Yanmar Diesel Engine Co Ltd エンジンの弁駆動機構
JP2004270482A (ja) * 2003-03-06 2004-09-30 Koyo Seiko Co Ltd ロッカアーム
JP2004293529A (ja) * 2003-03-28 2004-10-21 Hino Motors Ltd マルチバルブエンジンの動弁装置
JP2006152911A (ja) * 2004-11-29 2006-06-15 Yanmar Co Ltd エンジンの動弁機構
JP2007056822A (ja) * 2005-08-26 2007-03-08 Kubota Corp 多弁エンジン

Cited By (4)

* Cited by examiner, † Cited by third party
Publication number Priority date Publication date Assignee Title
JP2010096173A (ja) * 2008-09-16 2010-04-30 Kubota Corp エンジンの動弁装置
CN104712385A (zh) * 2015-03-27 2015-06-17 安徽江淮汽车股份有限公司 一种发动机气门桥结构
CN104712385B (zh) * 2015-03-27 2017-04-12 安徽江淮汽车集团股份有限公司 一种发动机气门桥结构
CN104727881A (zh) * 2015-03-31 2015-06-24 浙江龙虎锻造有限公司 气门压板

Also Published As

Publication number Publication date
JP5033742B2 (ja) 2012-09-26

Similar Documents

Publication Publication Date Title
JP5033742B2 (ja) エンジンの動弁装置
JP4923098B2 (ja) エンジンのロッカアーム切換装置
EP2615267B1 (en) Valve train mechanism of internal combustion engine
EP2767685A1 (en) Lash adjuster
JP5069140B2 (ja) 可変動弁機構
EP2767681B1 (en) Lash adjuster
JP5444432B2 (ja) エンジンの動弁装置
JP6326349B2 (ja) 内燃機関の可変動弁機構
JP2007056822A (ja) 多弁エンジン
JP2007085293A (ja) エンジンの動弁装置
JP2005194911A (ja) 動弁装置の潤滑油供給構造
JP5185906B2 (ja) 多弁エンジン
JP5189520B2 (ja) 内燃機関における高圧ポンプ取付け構造
JP2011163302A (ja) 動弁装置及び支持部材
EP1628007A1 (en) Valve moving device for engine
JP6691409B2 (ja) ピボット装置
JP6217337B2 (ja) エンジンのバルブ構造
JP4144440B2 (ja) 内燃機関の動弁装置
JP2016156273A (ja) 動弁装置
JP4957565B2 (ja) 内燃機関の動弁機構
JP5693757B2 (ja) 動弁装置及び支持部材
JP4278607B2 (ja) 揺動カム装置
JP5767790B2 (ja) 動弁装置
JP2006322331A (ja) ロッカーアームの潤滑構造
JP2000179308A (ja) エンジンの動弁装置

Legal Events

Date Code Title Description
A621 Written request for application examination

Free format text: JAPANESE INTERMEDIATE CODE: A621

Effective date: 20100927

A977 Report on retrieval

Free format text: JAPANESE INTERMEDIATE CODE: A971007

Effective date: 20111011

A131 Notification of reasons for refusal

Free format text: JAPANESE INTERMEDIATE CODE: A131

Effective date: 20111018

A521 Written amendment

Free format text: JAPANESE INTERMEDIATE CODE: A523

Effective date: 20111202

TRDD Decision of grant or rejection written
A01 Written decision to grant a patent or to grant a registration (utility model)

Free format text: JAPANESE INTERMEDIATE CODE: A01

Effective date: 20120626

A01 Written decision to grant a patent or to grant a registration (utility model)

Free format text: JAPANESE INTERMEDIATE CODE: A01

A61 First payment of annual fees (during grant procedure)

Free format text: JAPANESE INTERMEDIATE CODE: A61

Effective date: 20120702

R150 Certificate of patent or registration of utility model

Free format text: JAPANESE INTERMEDIATE CODE: R150

FPAY Renewal fee payment (event date is renewal date of database)

Free format text: PAYMENT UNTIL: 20150706

Year of fee payment: 3

LAPS Cancellation because of no payment of annual fees