JP2010070932A - パラペット作業用安全ネット装置 - Google Patents

パラペット作業用安全ネット装置 Download PDF

Info

Publication number
JP2010070932A
JP2010070932A JP2008237370A JP2008237370A JP2010070932A JP 2010070932 A JP2010070932 A JP 2010070932A JP 2008237370 A JP2008237370 A JP 2008237370A JP 2008237370 A JP2008237370 A JP 2008237370A JP 2010070932 A JP2010070932 A JP 2010070932A
Authority
JP
Japan
Prior art keywords
frame
parapet
net
frame member
brackets
Prior art date
Legal status (The legal status is an assumption and is not a legal conclusion. Google has not performed a legal analysis and makes no representation as to the accuracy of the status listed.)
Granted
Application number
JP2008237370A
Other languages
English (en)
Other versions
JP5129069B2 (ja
Inventor
Hideo Matsuzaki
秀雄 松崎
Current Assignee (The listed assignees may be inaccurate. Google has not performed a legal analysis and makes no representation or warranty as to the accuracy of the list.)
Individual
Original Assignee
Individual
Priority date (The priority date is an assumption and is not a legal conclusion. Google has not performed a legal analysis and makes no representation as to the accuracy of the date listed.)
Filing date
Publication date
Application filed by Individual filed Critical Individual
Priority to JP2008237370A priority Critical patent/JP5129069B2/ja
Publication of JP2010070932A publication Critical patent/JP2010070932A/ja
Application granted granted Critical
Publication of JP5129069B2 publication Critical patent/JP5129069B2/ja
Expired - Fee Related legal-status Critical Current
Anticipated expiration legal-status Critical

Links

Images

Landscapes

  • Emergency Lowering Means (AREA)

Abstract

【課題】小型で設置が容易なパラペット作業用安全ネット装置を提供する。
【解決手段】水平枠5の一端部に立枠6を連結し、立枠6の下端側に当て金2を設け、当て金2と共にクランプ7を構成する締付ネジ8及び押え金9を水平枠5の他端側下部に設けてなる左右一対のブラケット1,1と、当て枠3と、当て枠3の前面側下端部に下端縁部が取り付けられるネット4とからなり、両ブラケット1,1を所定間隔でパラペットP上に跨嵌し、両ブラケット1,1の当て金2,2間に係架された当て枠3をパラペットPの屋外側壁Paに当接させ且つその屋内側壁Pbに押え金9を当接させた状態で両ブラケット1,1をクランプ7でパラペットPに固定し、下端縁部が当て枠3に取り付けられたネット4の上端縁側を持ち上げて両ブラケット1,1の両立枠6,6間にネット4を張架し、ネット4の左右両端部側をブラケット1の立枠6と水平枠5との間に張架する。
【選択図】図1

Description

本発明は、建物の屋上などの外周に建物外壁に沿って立ち上げられたパラペットの補修作業を行う際に使用されるパラペット作業用安全ネット装置に関する。
建物の屋上などに設けられたパラペットは、コンクリートでできているため、ある程度年数が経つと、上面にクラック(ひび割れ)が入ることがあり、これを放置しておくと、そのクラック部分から雨水が浸入して建物内の水漏れの原因となる。しかして、このクラックを補修するには、パラペット上面のクラック発生部分からその周辺部分をドリルなどで所要深さ削り取るハツリ作業を行う必要がある。このハツリ作業を行う際には、ドリルなどによりコンクリートの表面部が砕かれて削り取られるから、そのコンクリートの破片などがパラペット上からそのまま屋外へ飛散・落下し、危険な事態を招くことになる。
従って、上記のようにパラペットのハツリ作業を行う時はパラペットの屋外側に、建築工事で仮設足場に取り付けて使用される安全ネットを張ることが望ましいが、パラペットの一部箇所でのハツリ作業のためにそのような安全ネットを張ることになると、枠組足場を仮設費用が非常に高くついて、割に合わず、そのため一部箇所でのパラペット作業は、一時的な応急処置をした上で、通常は、数年おきに実施される建物全体の大規模修繕工事の時まで待って、その工事時に一緒に行わせることが多い。しかしながら、パラペットに発生したクラック等を何年も放置することによって、建物内の水漏れが進んで取り返しの付かない事態になり兼ねないという問題がある。
本発明は、上記のような問題点に鑑みて、パラペットの一部箇所でのハツリ作業時にコンクリート破片などの飛散・落下を有効に防止し得る、小型且つコンパクトで簡単容易に設置可能なパラペット作業用安全ネット装置を提供することを目的とする。
上記課題を解決するための手段を、後述する実施形態の参照符号を付して説明すると、請求項1に係る発明は、水平枠5の一端部に立枠6を連結し、立枠6の下端側に当て金2を設け、当て金2と共にクランプ7を構成する締付ネジ8及び押え金9を水平枠5の他端側に設けてなる左右一対のブラケット1,1と、所定間隔をおいた両ブラケット1,1の当て金2,2間に係架され、背面側がパラペットPの屋外側壁Paに当接される横長状の当て枠3と、当て枠3の前面側下端部に沿って下端縁部が取り付けられるネット4とからなり、両ブラケット1,1を所定間隔でパラペットP上に跨嵌し、両ブラケット1,1の当て金2,2間に係架された当て枠3をパラペットPの屋外側壁Paに当接させ且つその屋内側壁Pbに押え金9を当接させた状態で両ブラケット1,1を夫々クランプ7によってパラペットPに固定し、下端縁部が当て枠3に取り付けられたネット4の上端縁側を持ち上げて両ブラケット1,1の両立枠6,6間にネット4を張架すると共に、ネット4の左右両端部側を各ブラケット1の立枠6と水平枠5との間に張架するようにしたことを特徴とする。
請求項2は、請求項1に記載のパラペット作業用安全ネット装置において、各ブラケット1の水平枠5は、固定枠材10と、固定部材10にスライド自在に嵌合されて所要位置で固定可能なスライド枠材11とからなり、スライド枠材11に垂下連結した取付枠材12に前記締付ネジ8を螺装し、この締付ネジ8の先端部に押え金9を取り付けてなることを特徴とする。
請求項3は、請求項1又は2に記載のパラペット作業用安全ネット装置において、各ブラケット1の立枠6は、下部枠材17と、下部枠材17の上端部に取り外し可能に連結固定される上部枠材18とからなり、下部枠材17の下端部からパラペットPと対向する方向に突設された取付枠材17aの先端部に前記当て金2を取り付けてなることを特徴とする。
請求項4は、請求項1〜3の何れかに記載のパラペット作業用安全ネット装置において、前記ネット4は、網状ネット本体27とこれの下部側に縫い合わせられた布地28とからなることを特徴とする。
上記解決手段による発明の効果を、後述する実施形態の参照符号を付して説明すると、請求項1に係る発明のパラペット作業用安全ネット装置は、小型でコンパクトであって、パラペットPの上面でハツリ等の作業を行う場合にその作業箇所を中心としてその屋外側と左右両側を囲むような狭い範囲で簡単、容易に設置できるから、大掛かりな枠組足場を仮設することなくハツリ等のパラペット作業を安い費用で簡便に実施することができる。また、この安全ネット装置は、この安全ネット装置の使用時には、パラペットPの上面でドリルDによりハツリ等の作業を行う時に、パラペットP上から屋外へ飛散するコンクリートの破片等はネット4で受け止められるから、屋外への落下を防止し、危険な事態を回避することができる。
請求項2に係る発明の安全ネット装置によれば、各ブラケット1の水平枠5は、固定枠材10と、これにスライド自在に嵌合されて所要位置で固定可能なスライド枠材11と、からなるもので、スライド枠材11に垂下連結した取付枠材12に締付ネジ8を螺装し、この締付ネジ8の先端部に押え金9を取り付けているから、クランプ7を構成する当て金2と締付ネジ8の先端部の押え金9との間隔を調整する時に、スライド枠材11によって大まかな調整を行った後、微調整を行う締付ネジ8を回転させることにより、クランプ操作が容易に行えると共に、屋内外方向の厚みが異なるパラペットPに対して容易に対応可能となる。
請求項3に係る発明の安全ネット装置によれば、各ブラケット1の立枠6は、下部枠材17と、これの上端部に取り外し可能に連結固定される上部枠材18とからなるもので、下部枠材17の下端部からパラペットPと対向する方向に突設した取付枠材17aの先端部に当て金2を取り付けてなるものであるから、非使用時には上部枠材18を取り外すことにより、立枠6を分解できて、嵩張らず、搬送・保管に便利となる。
請求項4に係る発明によれば、ネット4は、網状ネット本体27と、この網状ネット本体27の下部側に縫い合わせられた布地28とからなるため、ハツリ作業時に発生して屋外へ飛散するコンクリートの細かな破片や粉粒体等は、ネット4の下部側に形成されている布地28で受けられ、それらの屋外への落下を防止でき、そしてこの布地28を除いてネット4の上部側が網状であるため、ネット4にかかる風圧を軽減できて、ネット4が風圧でブラケット1から外れて吹き飛んだりするようなことを防止できる。
以下に本発明の好適な一実施形態を図面に基づいて説明すると、図1は本発明に係るパラペット作業用安全ネット装置をパラペットの屋内側から見た外観斜視図、図2は同装置の縦断側面図、図3は同装置をパラペットの屋外から見た正面図である。この安全ネット装置は、左右一対のブラケット1,1と、所定間隔をおいて配置した両ブラケット1,1の当て金2,2間に係架され、背面側がパラペットPの屋外側壁Paに当接される横長状の当て枠3と、この横長状当て枠3の前面側下端部に沿って下端縁部が取り付けられるネット4とから構成され、各ブラケット1は、水平枠5の一端部に立枠6を一体に連結し、この立枠6の下端側に当て金2を設け、この当て金2と共にクランプ7を構成する締付ネジ8及び押え金9を水平枠5の他端側下部に設けてなるものである。
安全ネット装置の構造について更に詳しく説明すれば、各ブラケット1の水平枠5は、角筒状の固定枠材10と、この固定部材10にスライド自在に外嵌合されて、所要位置で固定可能な角筒状のスライド枠材11とからなるもので、スライド枠材11の屋内側端部に垂下連結した角筒状の取付枠材12に締付ネジ8を螺装し、この締付ネジ8の先端部に押え金9を取り付け、また締付ネジ8の基端部には回転操作杆13を取り付けている。
図2に示すように、水平枠5の固定枠材10には多数のネジ孔14が所定ピッチで設けられ、固定枠材10に外嵌されたスライド枠材11には3つのボルト挿通孔15が設けてあって、前記クランプ7で両ブラケット1,1をパラペットPに固定する際に、スライド枠材11を固定枠材10に対しスライド調整し、スライド枠材11の3つのボルト挿通孔15のうちの2つ孔から夫々蝶ボルト16を固定枠材10側の対応する2つのネジ孔14にねじ込むことにより取付枠材12の位置を予め設定するようになっている。
また図2に示すように、各ブラケット1の立枠6は、角筒状の下部枠材17と、この下部枠材17の上端部に取り外し可能に連結固定される角筒状の上部枠材18とからなり、下部枠材17の下端部には取付枠材17aが突設され、この取付枠材17aの先端部に、前記押え金9に対向する方形板状の当て金2(図3及び図8参照)が取り付け固定されている。下部枠材17の上端部には径小角筒状の連結端部17bが一体に突設されていて、この連結端部17bに上部枠材18が外嵌合され、蝶ボルト19により固定されるようになっている。このようにブラケット1の立枠6を下部枠材17と上部枠材18とに分割構成することによって、非使用時には分解して折り畳めるため、ブラケット1が嵩張らず、搬送・保管に便利となる。
前記クランプ7は、水平枠5の固定枠材10から垂下されている取付枠材12に螺装された締付ネジ8と、この締付ネジ8の先端部に取り付けられた押え金9と、立枠6の下部枠材17に突設されている取付枠材17aの先端部に取り付けられた当て金2とによって構成されるもので、回転操作杆13で締付ネジ8を回転させて、当て金2と押え金9とを対向方向に接近させることにより、当て枠3を介してブラケット1をパラペットPの屋外側壁Paと屋内側壁Pbとに圧接固定するようにしたものである。尚、水平枠5には固定枠材10の屋内側端部にリング20が、また立枠6には上部枠材18の上端部にリング21が夫々取り付けられている。
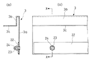
横長状当て枠3は、図4及び図5に示すように、背面側がパラペットPの屋外側壁Paに当接される立板部3aと、この立板部3aの上端部に形成された断面下向きコ字状の係嵌部3bと、この係嵌部3bの下端から前方へ水平に突設された水平板部3cとからなるもので、立板部3aの前面側下端部には補強板22が溶接によって固着されている。そして、この補強板22が取り付けられた立板部3aの屋外側壁下端部には、螺軸23が当て枠長さ方向に沿って一定ピッチで多数突設され、各螺軸23にはナット24が螺合されている。
図4、図6及び図8において、25は帯状の押え板で、この押え板25には、前記当て枠3の立板部3a下端部に突設された多数の螺軸23に嵌挿する孔26が螺軸23と同じピッチで穿設されている。
前記ネット4は、網状のネット本体27と、この網状ネット本体27の下部側に縫い合わせられた非網状の布地28とによって図4に示すような矩形シート状に形成され、これの周縁部には縁布29が縫い付けられ、そしてこの縁布29が縫い付けられたネット4の周縁部には前記螺軸23や孔26のピッチと同じピッチで鳩目孔30が取り付けられている。なお、ネット周縁部に縫い付けられた縁布29は、ネット4の下端側縁布を29a、上端側縁布を29b、左右端側縁布を29cとする。
また図4に示すように、ネット4の四隅の鳩目孔30、及びこのネット4の上端縁部における端から例えば2番目の鳩目孔30には、ネット取付用の縛り紐31が取り付けられている。
上記のように構成されるパラペット作業用安全ネット装置の使用にあたっては、先ず、図4に示すように当て枠3の立板部3aに多数突設された螺軸23からナット24を取り外し、それらの螺軸23にネット4の下端側縁布29の鳩目孔30を挿嵌し、更に押え板25の孔26を挿嵌した後、それらの螺軸23にナット24を螺合し締め付けることにより、ネット4の下端側縁布29aを押え板25と当て枠3の立板部3aの間で挟着して、当て枠3とネット4と押え板25とを一体的に組み付ける。この当て枠3とネット4と押え板25とは、常時、このように一体的に組み付けた状態にしておく。
しかして、図1に示すように、パラペットPの上面に発生したクラック部分をドリルDによって所要深さ削り取るハツリ作業を行う時に、ハツリ作業箇所Hの両側所要箇所に左右一対のブラケット1,1を所要間隔に配置し、両ブラケット1,1の当て金2,2間に、ネット4の下端側縁布29aを取り付けた当て枠3の係嵌部3bを係架して、図2、図3及び図8の(a) に示す状態とした後、各ブラケット1のクランプ7の回転操作杆13を回転操作して、押え金9をパラペットPの屋内側壁Pbに押接すると共に、当て金2を介して当て枠3をパラペットPの屋外側壁Paに当て付け、これによって両ブラケット1,1及び当て枠3をパラペットP上に固定する。
こうして両ブラケット1,1と当て枠3をパラペットP上に固定した後、下端側縁布29aが当て枠3に取り付けられたネット4の上端側縁布29b側を持ち上げて、両ブラケット1,1の両立枠6,6間にネット4を張架すると共に、ネット4の左右両端部側を各ブラケット1の立枠6と水平枠5との間に張架して、図1〜図3に示すような状態とする。
ネット4を両ブラケット1,1間に張架するには、図4に示すようにネット4の上端側縁布29bの両端から内方寄りの位置に取り付けてある縛り紐31を、各ブラケット1の立枠6の上端に設けてあるリング21に引っ掛けて縛り付けた後、ネット4の左右両端部側を両ブラケット1,1の立枠6,6に係止した状態から屋内側へ引っ張って、図1に示すように三角形状に折り込んだ状態で、ネット4の上端側縁布29bの両端に取り付けてある縛り紐31及び下端側縁布29aに取り付けてある縛り紐31を、各ブラケット1の水平枠5の所要箇所に引っ掛けて縛り付けることにより、図1〜図3に概略示すような状態とし、それによってパラペットP上面はハツリ作業箇所Hの屋外側及びその左右両側がネット4で包囲され、そしてパラペットPの屋外側ではネット4の下部側が図2及び図8に示すように袋状となってコンクリートの削り屑等を受け入れるようになっている。
上記のようなパラペット作業用安全ネット装置は、パラペットPの上面でのハツリ等の作業を行う場合にその作業箇所を中心としてその屋外側と左右両側を囲むような狭い範囲で簡単容易に設置でき、枠組足場を仮設することなくハツリ等のパラペット作業を非常にに安い費用で行うことができる。
このパラペット作業用安全ネット装置の使用において、パラペットPの上面でドリルDによってハツリ作業を行う時に、パラペットP上から屋外へ飛散するコンクリートの削り屑等はネット4で受け止められるから、屋外への落下を防止し、危険な事態を回避することができる。
また、ネット4は、網状ネット本体27と、この網状ネット本体27の下部側に縫い合わせられた布地28とからなるため、ハツリ作業時に発生して屋外へ飛散するコンクリートの細かな削り屑、特に粉粒体等は、ネット4の下部側に形成されている布地28で受け止められるから、それらの屋外への排出・落下を防止でき、そしてこの布地28を除いてネット4の上部側が網状であるため、ネット4にかかる風圧を軽減することができる。
また、各ブラケット1の水平枠5は、固定枠材10と、この固定部材10にスライド自在に嵌合されて所要位置で固定可能なスライド枠材11とからなるもので、スライド枠材11に垂下連結した取付枠材12に締付ネジ8を螺装し、この締付ネジ8の先端部に押え金9を取り付けているから、クランプ7を構成する当て金2と締付ネジ8の先端部の押え金9との間隔を調整する時に、スライド枠材11によって大まかな調整を行った後、微調整を行う締付ネジ8を回転させることにより、クランプ操作が容易となる。
各ブラケット1の立枠6は、下部枠材17と、これの上端部に取り外し可能に連結固定される上部枠材18とからなるもので、下部枠材17の下端部からパラペットPと対向する方向に突設した取付枠材17aの先端部に当て金2を取り付けてなるものであるから、非使用時には上部枠材18を取り外すことにより、立枠6を分解できて、嵩張らず、搬送・保管に便利となる。
尚、図1に示すように、両ブラケット1,1の水平枠5を構成する固定枠材10の屋内側端部に夫々取り付けてあるリング20,20には、安全ロープ32が取り付けられる。この安全ロープ32は、基端部側が屋上にある支柱等の固定構造物に取り付けてあって、安全ネット装置をパラペットP上に取り付ける時又はそれから取り外す時に安全ネット装置がパラペットP上から屋外に落下するのを防止するものである。
また、図8に示すように、当て枠3の立板部3aの背面側にゴム製のクッションシート33を取り付けてもよく、こうするとによって当て枠3をパラペットPの屋外側壁Paに密着状態で安定良く当て付けることができると共に、ブラケット1が多少振動しても当て枠3がガタつくようなことがない。
本発明に係るパラペット作業用安全ネット装置をパラペットの屋内側から見た外観斜視図である。 同装置の縦断側面図である。 同装置をパラペットの屋外から見た正面図である。 当て枠とネットと押え板とをバラバラの状態で示す斜視図である。 (a) は当て枠の一部拡大正面図、(b) は(a) のX−X線断面図である。 (a) は押え板の一部拡大正面図、(b) は端面図である。 (a) は図4のY−Y線拡大断面図、(b) は図4のZ−Z線拡大断面図である。 (a) は両ブラケットの当て金間に当て枠を係架した状態の一部拡大正面図、(b) は(a) のV−V線断面図である。
符号の説明
1 ブラケット
2 当て金
3 当て枠
4 ネット
5 水平枠
6 立枠
7 クランプ
8 締付ネジ
9 押え金
10 固定部材
11 スライド枠材
12 取付枠材
17 下部枠材
18 上部枠材

Claims (4)

  1. 水平枠の一端部に立枠を連結し、立枠の下端側に当て金を設け、当て金と共にクランプを構成する締付ネジ及び押え金を水平枠の他端側に設けてなる左右一対のブラケットと、所定間隔をおいた両ブラケットの当て金間に係架され、背面側がパラペットの屋外側壁に当接される横長状の当て枠と、当て枠の前面側下端部に沿って下端縁部が取り付けられるネットとからなり、両ブラケットを所定間隔でパラペット上に跨嵌し、両ブラケットの当て金間に係架された当て枠をパラペットの屋外側壁に当接させ且つその屋内側壁に押え金を当接させた状態で両ブラケットを夫々クランプによってパラペットに固定し、下端縁部が当て枠に取り付けられたネットの上端縁側を持ち上げて両ブラケットの両立枠間にネットを張架すると共に、ネットの左右両端部側を各ブラケットの立枠と水平枠との間に張架するようにしたパラペット作業用安全ネット装置。
  2. 各ブラケットの水平枠は、固定枠材と、固定部材にスライド自在に嵌合されて所要位置で固定可能なスライド枠材とからなり、スライド枠材に垂下連結した取付枠材に前記締付ネジを螺装し、この締付ネジの先端部に押え金を取り付けてなる請求項1に記載のパラペット作業用安全ネット装置。
  3. 各ブラケットの立枠は、下部枠材と、下部枠材の上端部に取り外し可能に連結固定される上部枠材とからなり、下部枠材の下端部からパラペットと対向する方向に突設された取付枠材の先端部に前記当て金を取り付けてなる請求項1又は2に記載のパラペット作業用安全ネット装置。
  4. 前記ネットは、網状ネット本体とこれの下部側に縫い合わせられた布地とからなる請求項1〜3の何れかに記載のパラペット作業用安全ネット装置。
JP2008237370A 2008-09-17 2008-09-17 パラペット作業用安全ネット装置 Expired - Fee Related JP5129069B2 (ja)

Priority Applications (1)

Application Number Priority Date Filing Date Title
JP2008237370A JP5129069B2 (ja) 2008-09-17 2008-09-17 パラペット作業用安全ネット装置

Applications Claiming Priority (1)

Application Number Priority Date Filing Date Title
JP2008237370A JP5129069B2 (ja) 2008-09-17 2008-09-17 パラペット作業用安全ネット装置

Publications (2)

Publication Number Publication Date
JP2010070932A true JP2010070932A (ja) 2010-04-02
JP5129069B2 JP5129069B2 (ja) 2013-01-23

Family

ID=42202975

Family Applications (1)

Application Number Title Priority Date Filing Date
JP2008237370A Expired - Fee Related JP5129069B2 (ja) 2008-09-17 2008-09-17 パラペット作業用安全ネット装置

Country Status (1)

Country Link
JP (1) JP5129069B2 (ja)

Cited By (2)

* Cited by examiner, † Cited by third party
Publication number Priority date Publication date Assignee Title
CN113216664A (zh) * 2021-04-23 2021-08-06 北京中天北方建设有限公司 一种屋面施工临边防护装置及方法
WO2025003878A1 (en) * 2023-06-26 2025-01-02 Dumobil Construct Nv Support bracket and method for applying a roof covering

Citations (3)

* Cited by examiner, † Cited by third party
Publication number Priority date Publication date Assignee Title
JPH01304256A (ja) * 1988-05-31 1989-12-07 Nippon Steel Corp 屋根用軒先安全ネツト
JP3083493U (ja) * 2001-07-18 2002-01-31 株式会社保安資材 パラペット用手摺
JP3093037U (ja) * 2002-09-26 2003-04-18 良玄 三好 パラペット用手摺の手摺取付金具

Patent Citations (3)

* Cited by examiner, † Cited by third party
Publication number Priority date Publication date Assignee Title
JPH01304256A (ja) * 1988-05-31 1989-12-07 Nippon Steel Corp 屋根用軒先安全ネツト
JP3083493U (ja) * 2001-07-18 2002-01-31 株式会社保安資材 パラペット用手摺
JP3093037U (ja) * 2002-09-26 2003-04-18 良玄 三好 パラペット用手摺の手摺取付金具

Cited By (3)

* Cited by examiner, † Cited by third party
Publication number Priority date Publication date Assignee Title
CN113216664A (zh) * 2021-04-23 2021-08-06 北京中天北方建设有限公司 一种屋面施工临边防护装置及方法
WO2025003878A1 (en) * 2023-06-26 2025-01-02 Dumobil Construct Nv Support bracket and method for applying a roof covering
BE1031751B1 (nl) * 2023-06-26 2025-02-03 Dumobil Construct Steunbeugel en werkwijze voor het aanbrengen van een dakbedekking

Also Published As

Publication number Publication date
JP5129069B2 (ja) 2013-01-23

Similar Documents

Publication Publication Date Title
CA2959929C (en) Scaffold accessories
JP3160565U (ja) ソーラーパネル架台の設置構造
JP2004068270A (ja) 屋根作業用転落防止装置
JP2019052477A (ja) 仮設足場用安全装置
US6957515B1 (en) Device for holding a workpiece adjacent a ceiling support
JP2016056639A (ja) 壁つなぎ取付構造
JP5129069B2 (ja) パラペット作業用安全ネット装置
JP3150645U (ja) 足場用安全帯支持ポール
CN206971693U (zh) 可调节型焊接吊篮
JP4716948B2 (ja) 安全ロープ張設用支持金具
JP3200577U (ja) 室外機仮置き台
KR101501249B1 (ko) 각도 조절이 가능한 철제 안전 시설판
JP5773469B1 (ja) 吊足場
JP2008255689A (ja) 仮設手摺の支柱取付け具及び仮設手摺の形成方法
CN210067510U (zh) 一种安全带/安全绳挂钩装置
KR20090002041U (ko) 낙하방지망 설치 브래킷
CN205777614U (zh) 水平防护装置
KR200389353Y1 (ko) 철탑용 낙하물 방지장치
KR100791775B1 (ko) 절첩식 안전망 설치대
KR101822833B1 (ko) 가림장치
JP4955327B2 (ja) 傾斜面工事用墜落防護装置
JP2002213055A (ja) 屋根改修工事用仮設柵及び屋根改修工事用仮設柵を用いた屋根改修工事方法
CN209837657U (zh) 一种建筑施工安全防护装置
JP3709173B2 (ja) 屋根上工事用日よけ装置
KR200375320Y1 (ko) 건축물 시공용 추락 및 낙하 방지장치

Legal Events

Date Code Title Description
A621 Written request for application examination

Free format text: JAPANESE INTERMEDIATE CODE: A621

Effective date: 20110908

TRDD Decision of grant or rejection written
A01 Written decision to grant a patent or to grant a registration (utility model)

Free format text: JAPANESE INTERMEDIATE CODE: A01

Effective date: 20121012

A01 Written decision to grant a patent or to grant a registration (utility model)

Free format text: JAPANESE INTERMEDIATE CODE: A01

A61 First payment of annual fees (during grant procedure)

Free format text: JAPANESE INTERMEDIATE CODE: A61

Effective date: 20121101

R150 Certificate of patent (=grant) or registration of utility model

Free format text: JAPANESE INTERMEDIATE CODE: R150

FPAY Renewal fee payment (prs date is renewal date of database)

Free format text: PAYMENT UNTIL: 20151109

Year of fee payment: 3

LAPS Cancellation because of no payment of annual fees