JP2010069543A - 打込機 - Google Patents

打込機 Download PDF

Info

Publication number
JP2010069543A
JP2010069543A JP2008236446A JP2008236446A JP2010069543A JP 2010069543 A JP2010069543 A JP 2010069543A JP 2008236446 A JP2008236446 A JP 2008236446A JP 2008236446 A JP2008236446 A JP 2008236446A JP 2010069543 A JP2010069543 A JP 2010069543A
Authority
JP
Japan
Prior art keywords
trigger
arm
shaft portion
trigger arm
contact
Prior art date
Legal status (The legal status is an assumption and is not a legal conclusion. Google has not performed a legal analysis and makes no representation as to the accuracy of the status listed.)
Granted
Application number
JP2008236446A
Other languages
English (en)
Other versions
JP5142084B2 (ja
JP2010069543A5 (ja
Inventor
Masashi Nishida
昌史 西田
Hiroki Kitagawa
宏樹 北川
Current Assignee (The listed assignees may be inaccurate. Google has not performed a legal analysis and makes no representation or warranty as to the accuracy of the list.)
Koki Holdings Co Ltd
Original Assignee
Hitachi Koki Co Ltd
Priority date (The priority date is an assumption and is not a legal conclusion. Google has not performed a legal analysis and makes no representation as to the accuracy of the date listed.)
Filing date
Publication date
Application filed by Hitachi Koki Co Ltd filed Critical Hitachi Koki Co Ltd
Priority to JP2008236446A priority Critical patent/JP5142084B2/ja
Publication of JP2010069543A publication Critical patent/JP2010069543A/ja
Publication of JP2010069543A5 publication Critical patent/JP2010069543A5/ja
Application granted granted Critical
Publication of JP5142084B2 publication Critical patent/JP5142084B2/ja
Active legal-status Critical Current
Anticipated expiration legal-status Critical

Links

Images

Landscapes

  • Portable Nailing Machines And Staplers (AREA)

Abstract

【課題】連続打ちが出来る状態への切換を可能とした打込機の提供。
【解決手段】回動軸部12Aでハウジング2に枢支されたトリガ12の回動動作に応じて起動部14を起動させるトリガアーム13と、トリガアーム13と係合するコンタクトアーム32と、回動軸部12A及び回動軸部12A近傍に設けられ、トリガアーム13を回動軸部12A側に付勢するバネ13Bと協働してトリガアーム13を回動軸部12Aに近接・離間した第一進退領域と第二進退領域とに移動させる切換機構と、を備え、トリガアーム13が第一進退領域に位置する状態でトリガ12の回動動作後もトリガアーム13とコンタクトアーム32とが係合し、トリガアーム13が第二進退領域に位置する状態でトリガ12の回動動作後にトリガアーム13とコンタクトアーム32との係合が解かれる打込機を提供する。
【選択図】図2

Description

本発明は打込機に関し、特に打ち込み動作の切換機構に関する。
建築内装の仕上建材を施工するには、仕上建材を接着剤により接着した後に仕上用の釘を仕上建材に設けられた比較的幅の狭い溝内に打ち込んで取り付けるのが一般的である。仕上用の釘は、仕上建材の外観色に合わせて釘の頭部を同色に着色すると共に仕上建材の溝に打込むため小頭径のものが使用され、仕上建材に傷や打痕が残らないように配慮してきれいな仕上りが要求される。
マガジンに装填された連結釘をビットガイドの先端から一本ずつ打ち出す釘打機においては、釘の誤発射を防止するためにコンタクトアームを設け、コンタクトアームの先端を仕上建材に押し付けコンタクトアームを上方へ後退させることにより始めてトリガ操作を有効とさせ、次にトリガレバーを引き込み操作すれば釘が発射されて仕上建材に打ち込まれるよう構成されている。
これに対し、出願人は、特許文献1に示されるようにコンタクトアームを常時上死点側に押圧する押圧手段を設けた釘打機を提案している。この釘打機では、コンタクトアーム先端部を仕上建材に強く押し付けなくても良いので仕上り及び作業性が向上している。
また出願人は、特許文献2に示されるように、コンタクトアームの下降途中でトリガアームの自由端部とコンタクトアーム先端部との係合を外し、コンタクトアームを押圧手段により上死点に復帰させ、さらにトリガアームをスライド式にすると共にトリガ内でトリガアームを常時前方に押圧する押圧手段を設け、トリガを開放した時、トリガアームの自由端部とコンタクトアーム上端部が再び係合する釘打機を提案している。この釘打ち機では、コンタクトアームが部材に接触した時の誤発射や部材の傷付けを防止し、また、釘を打込んだ後、釘打機本体を移動させる時、大きく釘打機本体を持ち上げたりする必要がなく、釘打機本体を滑らせるように移動させることを可能とし、打込み効率及び換作性が向上する。
特開2002−283253号公報 特開2005−7547号公報
しかし特許文献1及び特許文献2のコンタクトアームを押圧手段により上死点に復帰させるタイプの釘打機では、トリガレバーの引き動作を保持したまま、コンタクトアームを被打込み部材に押し当て、上死点に動かすことによって、連続的に釘を打込む、いわゆる連続打ちができないといった欠点があった。打込み作業においては、正確さや仕上りよりも、迅速で効率的な作業が求められる場合があり、その際、連続打ちで作業を行うことが一般的である。しかし、従来の構造では、引き操作を行ったトリガレバーを初期位置に戻してから、再び一からの釘打込み操作を始めなければならない、いわゆる単発打ち作業しか行えなかった。
よって本発明は、上記した従来技術の欠点をなくし、いわゆる連続打ちが出来る状態への切換を可能とした釘打機を提供することを目的とする。
上記課題を解決するために本発明は、ハウジングと、該ハウジングの端部に設けられて止具を射出するノーズ部と、該ハウジング若しくは該ノーズ部に設けられ該止具の射出方向と直交する方向に延びる回動軸部に枢支され、該回動軸部回りに回動するトリガレバーと、起動されて該止具の射出動作を許容する起動部と、該トリガレバーに該回動軸部と平行な軸で枢支され該回動軸部の軸方向と直交する方向に進退すると共に、該トリガレバーの回動動作に応じて該起動部と当接し該起動部を起動させるトリガアームと、該射出方向と平行移動可能に該ノーズ部から該トリガレバー近傍位置まで跨って配置され、該トリガアームに対して係合・非係合の状態を採ると共に、該トリガアームと係合した状態で該起動部を起動可能な位置に該トリガアームを移動させるコンタクトアームと、該コンタクトアームを反射出方向へ付勢する付勢手段と、該トリガアームを該回転軸部側に付勢する付勢部と、該回動軸部及び該回動軸部近傍に設けられ、該付勢部と協働して該トリガアームを該回動軸部に近接した第一進退領域と該回動軸部から離間した第二進退領域とに選択的に進退移動させる切換機構と、を備え、該トリガアームと該コンタクトアームとは、該トリガアームが該第一進退領域に位置する状態において該トリガレバーの回動動作後も該トリガアームと該コンタクトアームとが係合し、該トリガアームが該第二進退領域に位置する状態において該トリガレバーの回動動作後に該トリガアームと該コンタクトアームとの係合が解かれる位置に配置されている打込機を提供する。
この様な構成によると、打込機の使用者が切換機構でトリガアーム位置を第一進退領域と第二進退領域とに切り換えることにより、止具の打ち込み後にトリガアームとコンタクトアームとが係合・非係合の二つの状態を選択することができる。トリガアームとコンタクトアームとが係合している状態ではいわゆる連続打ちが可能であり、トリガアームとコンタクトアームとが非係合の状態ではいわゆる単発打ちのみが可能となるため、切換機構を切り換えることにより、単発打ちと連続打ちとを選択することができる。また切換機構があることにより、切換機構の動作状態を視認することにより、打込機が単発打ちと連続打ちとのいずれの状態にあるかを容易に判断することができる。
上記構成の打込機において、該起動部は該トリガレバーの回動操作に応じて該トリガアームに押し込まれるプランジャを有し、該プランジャと該トリガアームとには、該トリガアームが該第二進退領域に位置した状態で互いに係合する係合部と被係合部とがそれぞれ設けられていることが好ましい。
この様な構成によると、第二進退領域に位置したトリガアームがプランジャと当接した後は、トリガアームとプランジャとの係合により、トリガアームを第二進退領域に留まらせることができる。
また該切換機構は、回転部と切換アームと押圧部とを備えて構成され、該回転部は該回動軸部と平行な回転軸回りに回転操作されると共に該回転部の周面の一部が切り欠かれた凹部が形成され、該切換アームは該回動軸部を軸として揺動可能に構成され、該凹部内に挿入されると共に該回転部の回転に応じて該凹部内から排出されて該回転部の回転運動を揺動運動に変換する揺動変換部と、概揺動変換部の揺動に応じて該トリガアームに当接し該トリガアームを該第一進退領域から該第二進退領域に向けて移動させる当接部と、を有し、該押圧部は該トリガアームが該押圧部の付勢力に抗って移動するように該切換アームを付勢することが好ましい。
この様な構成によると、切換機構を回転部と切換アームと押圧部との簡単な構成とすることができ、構成部品の増加を抑制することができる。
また該トリガレバーと該回転部とは、該トリガレバーの回動軌跡が該回転部の一部と干渉する位置に配置され、該回転部には、該回動軌跡と干渉する位置に該トリガレバーが通過可能な切欠が形成されていることが好ましい。
この様な構成によると、トリガレバーの回動軌跡と回転部とが干渉するため、回転部をトリガレバーの誤動作防止のロックとすることができる。
また上記課題を解決するために、ハウジングと、該ハウジングの端部に設けられて止具を射出するノーズ部と、該ハウジング若しくは該ノーズ部に設けられ該止具の射出方向と直交する方向に延びる回動軸部に枢支され、該回動軸部回りに回動するトリガレバーと、第一領域と第二領域との間で移動可能なプランジャを有すると共に該プランジャが押し込まれて該第二領域から該第一領域まで移動して該止具の射出を許容する起動部と、該トリガレバーに該回動軸部と平行な軸部で枢支されて該軸部回りに回動可能に構成され、該トリガレバーの回動動作に応じて該プランジャを押し込むトリガアームと、該射出方向と平行移動可能に該ノーズ部から該トリガレバー近傍位置まで跨って配置され、該トリガアームと係合して該プランジャを押し込める位置に該トリガアームを移動させるコンタクトアームと、該コンタクトアームを反射出方向へ付勢する付勢手段と、を有し、該トリガアームは、自由端が該回動軸部の周面に掛止されると共に該自由端と該軸部との間で該プランジャに当接し、該回転軸部は略円柱状に構成され軸回りに回転可能であると共に該トリガアームが掛止する該周面の一部が切り欠かれた凹部が形成され、該プランジャは、該トリガレバーが回動動作すると共に該自由端が該周面に掛止した状態において該トリガアームにより押し込まれて常に第一領域に位置し、該トリガレバーが回動動作すると共に該自由端が該凹部内に掛止した状態において該トリガアームにより第二領域に位置する打込機を提供する。
この様な構成によると、回動軸部の回転により、トリガレバーが引き動作されて回動動作した状態でのプランジャの位置を第一領域と第二領域とに配置することができる。常に第一領域にあるプランジャは、第二領域から第一領域への移動ができないため、止具の射出が許容されることはない。よってこの状態では、プランジャを第二領域に移動させるためにトリガレバーの引き動作をやめる必要があり、故にいわゆる連続打ちをすることができない。これに対して第二領域にあるプランジャは、第二領域から第一領域へ移動できるため、コンタクトアームを動作させることにより、トリガレバーを引き動作した状態で、続けて止具を射出する連続打ちが可能になる。
本発明の打込機によれば、いわゆる連続打ちが出来る状態への切換が可能になる。
以下、本発明の第一の実施の形態に係る打込機について、図1乃至図16に基づき説明する。図1に示される打込機である釘打機1は、止具である釘11(図2)を打ち込む工具であり、その動力として圧縮空気を用いている。
釘打機1は、ハウジング2と、ノーズ部3と、から主に構成され、ハウジング2には、後述の射出方向と交差する方向に延びるハンドル2Aが一体に設けられている。図示しない圧縮機からの圧縮空気を蓄積するために、釘打機1のハンドル2A及びハウジング2内に蓄圧室2aが形成されている。蓄圧室2aは図示しないエアホースを介して図示しない圧縮機に接続される。
ハウジング2内には円筒状のシリンダ21が設けられている。シリンダ21内には上下に摺動可能にピストン4Aが設けられている。ピストン4Aにはドライバブレード4Bが一体に形成されている。このドライバブレード4Bが釘11を打撃するためにピストン4Aと共に移動する方向を射出方向と定義し、ハウジング2に対するノーズ部3側を下側(反対を上側)と定義する。
シリンダ21下端外周にはドライバブレード4Bを上死点に復帰させるための圧縮空気を貯める戻り室21aが設けられている。シリンダ21の軸方向中央部には逆止弁21Aが備えられ、逆止弁21Aにはシリンダ21内からシリンダ21外の戻り室21aへの一方向にのみ流通させる空気通路が形成され、またシリンダ21下方には、戻り室21aに常時開放されている図示せぬ空気通路が形成されている。またシリンダ21下端には釘11打ち込み後のピストン4Aの余剰エネルギーを吸収するためのピストンバンパ4Cが設けられている。
シリンダ21の上側外周には、メインバルブ41、メインバルブ41を収容するメインバルブ室42、メインバルブ41を下死点側に付勢するメインバルブスプリング43等から構成されている。またメインバルブ41には空気通路44が形成されており、ハウジング2上部に設けた図示せぬ排気穴を経てメインバルブ41がシリンダ21の端部と当接している状態でのみ大気と連通可能に構成されている。メインバルブ41は、シリンダ21の端部に当接してシリンダ21内空間と蓄圧室2aとを遮断しており、後述のトリガバルブ部14から空気通路14aを介してメインバルブ室42に圧縮空気が流入されたときのみ、上方に移動してシリンダ21内空間と蓄圧室2aとを連通させている。シリンダ21内空間と蓄圧室2aとが連通することにより、シリンダ21内におけるピストン4A上方空間の圧力がピストン4A下方空間の圧力より高くなり、この圧力差に基づいてピストン4Aが下方へ急激に移動し、これに応じてドライバブレード4Bが後述の射出通路3a内を下方へ移動する。
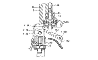
ハンドル2Aの基部には、図2に示されるように、トリガレバー12、トリガアーム13、トリガバルブ部14、及び切換機構が設けられている。
トリガレバー12は、ハウジング2に設けられて射出方向及びハンドル2Aの延出方向と直交する方向を軸方向とする回動軸部12Aに枢支されており、回動軸部12A回りを回動可能に構成されている。トリガレバー12の自由端部分には、トリガアーム13を枢支する軸部12B及び軸部12Bに枢支されたバネ支持部12Eが設けられている。トリガレバー12の回動軸部12A近傍位置には、トリガレバー12とハウジング2との間に介装されてトリガレバー12に図2の紙面上時計回り(トリガレバー12の自由端が下側に回動)する回転力を付加するバネ12Dが設けられている。またトリガレバー12の回動軸部12A近傍であって、回動軸部12Aに関してトリガレバー12自由端の反対側の位置に後述の切換アーム16と当接可能な当接部12Cが設けられている。
トリガアーム13は、基部13Aと、第一腕部13Cと、第二腕部13Dと、突起部13Eとから主に構成されている。基部13Aは長孔が形成され長孔内に軸部12Bが挿入されており、軸部12Bの軸回りに回動可能であるとともに軸部12Bの軸方向と直交する方向に移動可能に構成されている。第一腕部13Cは、基部13Aから回動軸部12Aに向かう方向に向けて延出されている。第二腕部13Dは、第一腕部13Cの途中から枝分かれすると共に第一腕部13Cの下方に位置し、第一腕部13Cと平行に回動軸部12Aに向かう方向へと延出されている。突起部13Eは、第一腕部13Cの第二腕部13Dが分岐する箇所近傍から上方へ向けて突出して設けられている。第一腕部13Cは、その先端が後述の切換アーム16と主に当接する箇所であり、第二腕部13Dは、その下面部分が後述のコンタクトアーム32の後端部32Bと係合・非係合の関係を採る箇所である。
基部13Aとバネ支持部12Eとの間には付勢部であるスプリング13Bが介在しており、スプリング13Bはトリガアーム13を回動軸部12Aに向かう方向に付勢している。トリガアーム13は、長孔に軸部12Bが挿入されて枢支されているため、スプリング13Bに付勢されて回動軸部12Aに近接した領域(第一進退領域)に位置し、かつスプリング13Bの付勢力に抗して回動軸部12Aから離間した領域(第二進退領域)に移動可能である。
トリガバルブ部14は、ハウジング2のトリガアーム13上方に位置する箇所に設けられており、空気通路14aを介してメインバルブ室42に送気される圧縮空気の制御をしている。またトリガバルブ部14にはプランジャ15が設けられており、プランジャ15が第二領域である下死点若しくは下死点近傍位置から第一領域である上死点若しくは上死点近傍位置まで移動することにより、メインバルブ室42に圧縮空気が送気される。
プランジャ15は、バネ14Aにより下方に付勢されると共に、下端部に突起部13Eと係合可能な係合部15Aが設けられ、突起部13Eがトリガアーム13と当接可能な位置に配置されている。
切換機構は、切換アーム16と回転部17と押圧部であるバネ18とから主に構成されている。切換アーム16は回動軸部12Aに揺動可能に枢支されており、当接部16Aと揺動変換部16Bとを主に備えている。当接部16Aは回動軸部12Aと直交する方向に延びて構成されており、その先端部分がトリガアーム13の自由端である第一腕部13C端部及び第二腕部13D端部と当接可能に構成されている。
揺動変換部16Bは、当接部16Aと一体であると共に回動軸部12Aと直交すると共に当接部16Aと交差する方向に延出された腕部より構成されており、回転部17と係合して回転部17の回転運動を回動軸部12A回りの切換アーム16の揺動運動に変換している。揺動変換部16Bと当接部16Aとは一体であるため、当接部16Aも回動軸部12A回りを揺動する。当接部16Aにはトリガアーム13の自由端が当接可能であるため、トリガアーム13の自由端が当接部16Aに当接した状態で当接部16Aがスプリング13Bの付勢方向に抗う方向に揺動することにより、トリガアーム13を第一進退領域から第二進退領域に移動させることができる。また揺動変換部16Bと当接部16Aとは、揺動変換部16Bと当接部16Aとの間であって狭角側となる位置に回転部17を挿入可能な角度で交差している。
切換アーム16において、回動軸部12Aの近傍位置には、当接部12Cと当接可能な被当接部16Cが設けられている。当接部12Cが被当接部16Cに当接することにより、切換アーム16の図2紙面上時計回り(当接部16Aがスプリング13Bの付勢方向に抗う方向)への揺動が規制される。また当接部12Cが被当接部16Cに当接した状態でトリガレバー12が引かれることにより、切換アーム16が図2紙面上反時計回り(当接部16Aがスプリング13Bの付勢方向に従う方向)に揺動する。
回転部17は円柱状に構成されて円柱の軸方向が回動軸部12Aと平行になるようにハウジング2の回動軸部12A近傍位置に回転可能に支持されており、その一部がトリガレバー12の回動軸部12A回りの回動軌跡と重なっている。また図4に示されるように回転部17は、ハウジング2外に位置して回転操作されるノブ17Aを備えると共に、周面の一部が切り欠かれた凹部17aと、凹部17aの両脇に形成された切欠17b、17bとが形成されている。
凹部17aは図2に示されるように、回転部17と直交する断面が略くの字状に成るように穿設されており、凹部17a内に揺動変換部16Bが挿入可能に形成されている。切欠17bは、トリガレバー12の回動軌跡と重なる位置に配置されており、切欠17b内を回動軌跡が通過可能に構成されている。よって回転部17を回転させ、切欠17bがトリガレバー12の回動軌跡上にある状態でのみトリガレバー12は回動可能であり、切欠17bがトリガレバー12の回動軌跡上に無い状態(回転部17の周面がトリガレバー12の回動軌跡上にある状態)ではトリガレバー12は回動不能になる。尚、凹部17aと切欠17bとの位置関係は、図14に示されるように、それぞれの開口部分が周面において反対になるように配置されている。
バネ18はねじりバネであり切換アーム16とハウジング2との間に介在しており、図2紙面上時計回り(当接部16Aがトリガアーム13を付勢する方向)に揺動するように切換アーム16を付勢している。バネ18の付勢力は当接部16Aがトリガアーム13に当接してトリガアーム13をスプリング13Bの付勢力に抗って第一進退領域から第二進退領域へと移動させる程度である。よって切換機構を回転部17と切換アーム16と押圧部であるバネ18との簡単な構成とすることができ、構成部品の増加を抑制することができる。
ノーズ部3はハウジング2の下端に位置してハウジング2に接続されるプレート31と、プレート31の下方に設けられるビットガイド33と、プレート31及びビットガイド33に射出方向と平行な方向に往復摺動可能に支持されているコンタクトアーム32とを含んで構成されている。
コンタクトアーム32は、ビットガイド33の下端から下方に延出されると共にトリガレバー12近傍位置まで跨って配置されており、その下端に被打ち込み部材Wと当接する先端部32Aが規定され、トリガレバー12近傍位置にトリガアーム13を担持しトリガアーム13との係合・非係合の関係を採る後端部32Bが規定されている。また図3に示されるようにコンタクトアーム32は付勢手段であるバネ33A,33Aによりプレート31及びビッドガイド33に対し上方向(反射出方向)に移動するように付勢されている。このバネ33A、33Aの付勢力はプランジャ15を付勢しているバネ14Aの付勢力より弱く構成されている。またノーズ部3には、ビットガイド33とプレート31とを貫通し、ドライバブレード4Bが挿通する射出通路3aが形成されている。
またノーズ部3においては、射出通路3a内に釘11を供給すると共に釘11が複数本束ねられて連結された束を内蔵しているマガジン装置10がプレート31に接続されている。
マガジン装置10は、図2に示されるように、マガジン10Aとフィーダ10Bとから主に構成されている。マガジン10Aは、ビットガイド33近傍に設けられて、ハンドル2Aの延出方向と略平行に配置されており、内部に釘11の束を内蔵している。フィーダ10Bはマガジン10A内に内蔵され、図示せぬバネを有しており、図示せぬバネの弾性力により釘11を射出通路3a内に向けて付勢している。
上記構成の釘打機1で釘11をいわゆる単発打ちと連続打ちする動作について説明する。
単発打ちをする際には、図2に示されるように、コンタクトアーム32の先端部32Aを被加工部材Wに押しつけるのと前後してノブ17A(図4)を回転させ、図5に示されるように凹部17a内に揺動変換部16Bが挿入される位置(単発位置)に回転部17を配置する。この時に切欠17bは図14に示されるように、トリガレバー12の回動軌跡と重なる位置に配置されるため、トリガレバー12と回転部17とが干渉することはない。
この状態において切換アーム17は、バネ18の付勢力により図5紙面上時計回りに回転して揺動変換部16Bが17a内に挿入され、当接部16Aがトリガアーム13の自由端位置に当接してトリガアーム13を付勢し、第二進退領域へと移動させる。またトリガアーム13は、第二腕部13Dの自由端近傍位置でコンタクトアーム32の後端部32Bの最端部に担持されてコンタクトアーム32と浅く結合しているが、未だプランジャ15とは係合していない。
次に使用者がトリガレバー12を引いて回動軸部12A回りにトリガレバー12を回動させる。この状態においては、トリガレバー12の回動に伴い当接部12Cと被当接部16Cとが当接して切換アーム16が図5紙面上反時計回りに傾動する。この時に当接部12Cがトリガアーム13の付勢されている方向に揺動するため、トリガアーム13は、第一進退領域に移動しようとする。しかしプランジャ15とトリガアーム13とが当接し、係合部15Aと突起部13Eとが係合するため、当接部12Cがトリガアーム13から離間しても依然としてトリガアーム13は、第二進退領域に位置している。
更にトリガレバー12を引き、図7に示されるようにプランジャ15が上死点近傍位置まで移動した状態でトリガバブル部14が作動し、空気通路14aを通してメインバルブ室42に圧縮空気を送気し、ピストン4A及びドライバブレード4Bを作動させ(図1)、釘11を被打ち込み部材Wに打ち込む(図2)。
トリガ13を引ききった状態で釘打機1を被打ち込み部材Wから離間させると、コンタクトアーム32を上方に付勢するバネ33Aに対して、プランジャ15を下方に付勢するバネ14Aの方が強いと共にトリガアーム13は軸部12B回りに回動可能であるため、図8に示されるように、コンタクトアーム32はプランジャ15によりトリガアーム13を介して下方に付勢されて下方に移動する。またトリガアーム13は、係合部15Aと突起部13Eとが係合した状態にあるため未だ第二進退領域に位置しており、第二進退領域ではトリガアーム13と後端部32Bとの係合が浅くなっている。よってプランジャ15の付勢力によりコンタクトアーム32がある程度まで下降した時点で、図9に示されるようにコンタクトアーム32とトリガアーム13との係合が解かれ、コンタクトアーム32はバネ33Aの付勢力により、再び上方へと移動する。
コンタクトアーム32とトリガアーム13との係合とが解かれることにより、プランジャ15が下死点近傍位置まで移動する。トリガ13が引かれた状態である共にコンタクトアーム32とトリガアーム13との係合とが解かれた状態では、プランジャ15を押し込んでプランジャ15を上死点近傍位置まで移動させることができないため、図10に示されるようにトリガレバー12を引くのをやめて打ち込み前の位置まで戻す。この状態において、トリガアーム13は、係合部15Aと突起部13Eとの係合が解かれてコンタクトアーム32の後端部32B側面位置にあるが、スプリング13Bの付勢力により、後端部32B側面上を滑り、図5に示される初期位置に戻り、再び後端部32Bの最端部で第二腕部13Dが担持される形態を採る。
上述の様に、回転部17を単発位置にすることにより、トリガ13を引いて釘11を打ち込んだ後は、一端トリガ13を元に戻さない限り再び釘11を打ち込むことはできず、いわゆる単発打ちのみ可能になる。
次に連続打ちについて説明する。連続打ちをする際には、図11に示されるように、ノブ17A(図4)を回転させ、凹部17a内から揺動変換部16Bが排出されて揺動変換部16Bと当接部16Aとの間の位置(連続位置)に回転部17を配置する。この時に切欠17bは図15に示されるように、トリガレバー12の回動軌跡と重なる位置に配置されるため、トリガレバー12と回転部17とが干渉することはない。
この状態において当接部16Aはトリガアーム13と当接しないため、スプリング13Bの付勢力によりトリガアーム13は第一進退領域に移動し、第二腕部13Dの第一腕部13Cから枝分かれした箇所近傍位置でコンタクトアーム32の後端部32Bの最端部に担持され、コンタクトアーム32と深く結合する。
この状態でトリガレバー12を引くと、図12に示されるようにトリガアーム13とプランジャ15が当接し、プランジャ15がトリガアーム13により押し込まれて上死点近傍位置に移動し、釘11が打ち込まれる。
釘11が打ち込まれた後に釘打機1を被打ち込み部材Wから離すと、図13に示されるようにバネ14Aの付勢力によりプランジャ15及びトリガアーム13を介してコンタクトアーム32が下方に移動するが、トリガアーム13とコンタクトアーム32とは深く係合しているため、単発打ちのようにトリガアーム13とコンタクトアーム32との係合状態が解かれることはない。よって図13の状態から釘打機1の先端部32Aを再び被打ち込み部材Wに押しつけることにより、図12に示されるように後端部32Bが上方に移動して、プランジャ15を上死点近傍位置に移動させ、再び釘11の打ち込みが可能になる。
上述の様に、回転部17を連続位置にすることにより、トリガ13を引いて釘11を打ち込んだ後、一端トリガ13を元に戻さずとも再び釘11を打ち込むことができる、いわゆる連続発打ちが可能になる。
また釘打ち動作を禁止する際には、回転部17を回転させ、図16に示されるように回転部17の周面がトリガレバー12の回動軌跡と重なるように配置(固定位置)する。これによりトリガレバー12は回動できないため、釘打ち動作は抑制される。よって回転部17を単発位置と連続位置と固定位置との所定の位置に回転させることにより、単発打ちと連続打ち、及び釘11の打ち込みができない状態とすることを容易に選択することができる。また予めハウジングに、回転部17の回転角度に応じた所定の位置を図示しておくことにより、釘打機1の動作状態を容易に視認することができる。
次に本発明の第二の実施の形態にかかる打込機について図17乃至図20に基づき説明する。第二の実施の形態にかかる打込機は、トリガ、トリガアーム、および回転軸部に係る構成以外は、第一の実施の形態と同様であるため、第一の実施の形態に対する変更箇所のみ説明する。
第二の実施の形態にかかる釘打機は、図17に示されるように、ハウジング2のトリガバルブ部14近傍位置に、上下方向及び図示せぬハンドルの延出方向と直交する方向を軸方向とする回転軸部112Aが設けられており、回転軸部112Aには、トリガ112が回転軸部112Aの軸回りに回動可能に設けられている。回転軸部112Aはハウジング2外に図示せぬレバーを備えており、この図示せぬレバーを操作することにより軸回りに回転可能に構成されている。また回転軸部112Aの周面の一部には、回転軸部112Aと直交する断面が略くの字状に穿設された凹部112aが形成されており、凹部112a内に後述のトリガアーム113の自由端が挿入可能に形成されている。
トリガ112の自由端近傍位置には、回転軸部112Aと平行な軸部112Bが設けられており、軸部112Bにはトリガアーム113が軸部112Bの軸回りに回動可能に設けられている。トリガアーム113は、軸部112Bと直交する断面において自由端部分が折り曲げられてクランク状に構成されており、このクランク状の自由端部分が回転軸部112Aの周面及び凹部112a内に係合可能に構成されている。またトリガアーム113において、自由端と基端との略中央部分においてプランジャ15の下端部と当接可能であり、自由端位置においてクランク状部分よりは基端側の位置でコンタクトアーム32の後端部32Bに担持されている。
上記構成の釘打機で釘の単発打ちをする際には、図17〜図19に示されるように、図示せぬレバーによって凹部112aの開口が下方に位置するように回転軸部112Aを回転させる。この状態で被打ち込み部材にコンタクトアーム32を当接させトリガ112を引くと、図17及び図18に示されるように、プランジャ15が第二領域である下死点若しくは下死点近傍位置から第一領域である上死点若しくは上死点近傍位置に移動するため、第一の実施の形態で説明したように、釘が打ち込まれる。
トリガ112を引いたまま釘打機を持ち上げると、図19に示されるようにプランジャ15を付勢しているバネ14Aの付勢力によりプランジャ15及びトリガアーム113が下方に移動し、トリガアーム113の下方への移動に応じトリガアーム113を担持しているコンタクトアーム32も下方に移動する。トリガアーム113は、自由端部分が回転軸部112Aの周面に掛止されるため、それ以上下方に移動することができず、この状態においてプランジャ15は未だ上死点近傍の第一領域に位置している。
プランジャ15が第二領域から第一領域へと移動することにより釘打ち動作は行われるが、図19に示される状態で釘打機を再び被打ち込み部材に押しつけてコンタクトアーム32を上方に移動させると共にトリガアーム113を上方に移動させたとしても、プランジャ15は第一領域において更に押し込まれるにすぎず、第二領域から第一領域へ移動するという動作を採ることはない。よって連続打ちをすることはできず、一端トリガ112を離して、再度トリガ112を引く単発打ちのみ可能になる。
次に連続打ちをする際には、図20に示されるように、凹部112aの開口が上方に位置するように図示せぬレバーによって回転軸部112Aを回転させる。この状態においてトリガアーム113は、自由端位置におけるクランク状部分の最先端部が凹部112a内に位置することが可能になるので、トリガアーム113は単発打ちの状態に比べて下方に位置することが可能になる。
よってトリガ112を引いて釘を打ち込んだ後にトリガ112を引いた状態を維持しつつ釘打機を被打ち込み部材から離間させた際に、バネ14Aの付勢力によりプランジャ15及びトリガアーム113は下方に移動するが、トリガアーム113は、自由端位置が凹部112a内に侵入するため、プランジャ15は、第二領域である下死点近傍位置まで移動することができる。この状態で釘打機を再び被打ち込み部材に押しつけてコンタクトアーム32を上方に移動させると共にトリガアーム113を上方に移動させると、プランジャ15は第二領域から第一領域へ移動するため、再び釘打ち動作をすることができ、いわゆる連続打ちが可能になる。
本発明は上述した実施の形態に限定されず、特許請求の範囲で記載された範囲で種々の改良や変形が可能である。例えば、第一、第二の実施の形態のいずれにおいても空気式の釘打機で説明を行ったが、これに限らず電動式や燃焼式の釘打機においてもプランジャをスイッチ等に置き換えるのみで同様に本発明を適用することができる。また釘打機に限らず、被打ち込み部材に当接するコンタクトアームと引き動作されるトリガ及びトリガアームとを備えた構成であるならば、釘打機に限定されず、広く打込機に適用可能であることはいうまでもない。
本発明の第一の実施の形態にかかる釘打機の側面断面図。 本発明の第一の実施の形態にかかる釘打機のノーズ部周辺に係る部分断面図。 本発明の第一の実施の形態にかかる釘打機のノーズ部周辺に係る部分正面図。 本発明の第一の実施の形態にかかる釘打機の回転部周辺に係る部分断面図。 本発明の第一の実施の形態にかかる釘打機を単発打ちする状態におけるトリガレバー周辺位置の部分断面図(トリガレバー引き動作前状態)。 本発明の第一の実施の形態にかかる釘打機を単発打ちする状態におけるトリガレバー周辺位置の部分断面図(トリガレバー引き始めた状態)。 本発明の第一の実施の形態にかかる釘打機を単発打ちする状態におけるトリガレバー周辺位置の部分断面図(釘が打ち込まれた状態)。 本発明の第一の実施の形態にかかる釘打機を単発打ちする状態におけるトリガレバー周辺位置の部分断面図(釘打ち機を被打ち込み部材から離間した状態)。 本発明の第一の実施の形態にかかる釘打機を単発打ちする状態におけるトリガレバー周辺位置の部分断面図(トリガアームとコンタクトアームとが非係合の状態)。 本発明の第一の実施の形態にかかる釘打機を単発打ちする状態におけるトリガレバー周辺位置の部分断面図(トリガレバー引き動作を終了した状態)。 本発明の第一の実施の形態にかかる釘打機を連続打ちする状態におけるトリガレバー周辺位置の部分断面図(トリガレバー引き動作前状態)。 本発明の第一の実施の形態にかかる釘打機を連続打ちする状態におけるトリガレバー周辺位置の部分断面図(釘が打ち込まれた状態)。 本発明の第一の実施の形態にかかる釘打機を連続打ちする状態におけるトリガレバー周辺位置の部分断面図(釘打ち機を被打ち込み部材から離間した状態)。 図4のA−A線に沿った断面図であって、回転部が単発位置の状態を示す図。 図4のA−A線に沿った断面図であって、回転部が連続位置の状態を示す図。 図4のA−A線に沿った断面図であって、回転部が固定位置の状態を示す図。 本発明の第二の実施の形態にかかる釘打機を単発打ちする状態におけるトリガレバー周辺位置の部分断面図(トリガレバー引き動作前状態)。 本発明の第二の実施の形態にかかる釘打機を単発打ちする状態におけるトリガレバー周辺位置の部分断面図(釘が打ち込まれた状態)。 本発明の第二の実施の形態にかかる釘打機を単発打ちする状態におけるトリガレバー周辺位置の部分断面図(釘打機を被打ち込み部材から離間した状態)。 本発明の第二の実施の形態にかかる釘打機を連続打ちする状態におけるトリガレバー周辺位置の部分断面図(釘打機を被打ち込み部材から離間した状態)。
符号の説明
1・・釘打機 2・・ハウジング 2A・・ハンドル 2a・・蓄圧室 3・・ノーズ部
3a・・射出通路 4A・・ピストン 4B・・ドライバブレード
4C・・ピストンバンパ 10・・マガジン装置 10A・・マガジン
10B・・フィーダ 11・・釘 12・・トリガレバー 12A・・回動軸部
12B・・軸部 12C・・当接部 12D・・バネ 12E・・バネ支持部
13・・トリガアーム 13A・・基部 13B・・スプリング 13C・・第一腕部
13D・・第二腕部 13E・・突起部 14・・トリガバルブ部 14A・・バネ
14a・・空気通路 15・・プランジャ 15A・・係合部 16・・切換アーム
16A・・当接部 16B・・揺動変換部 16C・・被当接部 17・・回転部
17A・・ノブ 17a・・凹部 17b・・切欠 18・・バネ 21・・シリンダ
21A・・逆止弁 21a・・戻り室 31・・プレート 32・・コンタクトアーム
32A・・先端部 32B・・後端部 33・・ビットガイド 33A・・バネ
41・・メインバルブ 42・・メインバルブ室 43・・メインバルブスプリング
44・・空気通路

Claims (5)

  1. ハウジングと、
    該ハウジングの端部に設けられて止具を射出するノーズ部と、
    該ハウジング若しくは該ノーズ部に設けられ該止具の射出方向と直交する方向に延びる回動軸部に枢支され、該回動軸部回りに回動するトリガレバーと、
    起動されて該止具の射出動作を許容する起動部と、
    該トリガレバーに該回動軸部と平行な軸で枢支され該回動軸部の軸方向と直交する方向に進退すると共に、該トリガレバーの回動動作に応じて該起動部と当接し該起動部を起動させるトリガアームと、
    該射出方向と平行移動可能に該ノーズ部から該トリガレバー近傍位置まで跨って配置され、該トリガアームに対して係合・非係合の状態を採ると共に、該トリガアームと係合した状態で該起動部を起動可能な位置に該トリガアームを移動させるコンタクトアームと、
    該コンタクトアームを反射出方向へ付勢する付勢手段と、
    該トリガアームを該回動軸部側に付勢する付勢部と、
    該回動軸部及び該回動軸部近傍に設けられ、該付勢部と協働して該トリガアームを該回動軸部に近接した第一進退領域と該回動軸部から離間した第二進退領域とに選択的に進退移動させる切換機構と、を備え、
    該トリガアームと該コンタクトアームとは、該トリガアームが該第一進退領域に位置する状態において該トリガレバーの回動動作後も該トリガアームと該コンタクトアームとが係合し、該トリガアームが該第二進退領域に位置する状態において該トリガレバーの回動動作後に該トリガアームと該コンタクトアームとの係合が解かれる位置に配置されていることを特徴とする打込機。
  2. 該起動部は該トリガレバーの回動操作に応じて該トリガアームに押し込まれるプランジャを有し、
    該プランジャと該トリガアームとには、該トリガアームが該第二進退領域に位置した状態で互いに係合する係合部と被係合部とがそれぞれ設けられていることを特徴とする請求項1に記載の打込機。
  3. 該切換機構は、回転部と切換アームと押圧部とを備えて構成され、
    該回転部は該回動軸部と平行な回転軸回りに回転操作されると共に該回転部の周面の一部が切り欠かれた凹部が形成され、
    該切換アームは該回動軸部を軸として揺動可能に構成され、該凹部内に挿入されると共に該回転部の回転に応じて該凹部内から排出されて該回転部の回転運動を揺動運動に変換する揺動変換部と、概揺動変換部の揺動に応じて該トリガアームに当接し該トリガアームを該第一進退領域から該第二進退領域に向けて移動させる当接部と、を有し、
    該押圧部は該トリガアームが該押圧部の付勢力に抗って移動するように該切換アームを付勢することを特徴とする請求項1または請求項2のいずれか一に記載の打込機。
  4. 該トリガレバーと該回転部とは、該トリガレバーの回動軌跡が該回転部の一部と干渉する位置に配置され、
    該回転部には、該回動軌跡と干渉する位置に該トリガレバーが通過可能な切欠が形成されていることを特徴とする請求項3に記載の打込機。
  5. ハウジングと、
    該ハウジングの端部に設けられて止具を射出するノーズ部と、
    該ハウジング若しくは該ノーズ部に設けられ該止具の射出方向と直交する方向に延びる回動軸部に枢支され、該回動軸部回りに回動するトリガレバーと、
    第一領域と第二領域との間で移動可能なプランジャを有すると共に該プランジャが押し込まれて該第二領域から該第一領域まで移動して該止具の射出を許容する起動部と、
    該トリガレバーに該回動軸部と平行な軸部で枢支されて該軸部回りに回動可能に構成され、該トリガレバーの回動動作に応じて該プランジャを押し込むトリガアームと、
    該射出方向と平行移動可能に該ノーズ部から該トリガレバー近傍位置まで跨って配置され、該トリガアームと係合して該プランジャを押し込める位置に該トリガアームを移動させるコンタクトアームと、
    該コンタクトアームを反射出方向へ付勢する付勢手段と、を有し、
    該トリガアームは、自由端が該回動軸部の周面に掛止されると共に該自由端と該軸部との間で該プランジャに当接し、
    該回転軸部は略円柱状に構成され軸回りに回転可能であると共に該トリガアームが掛止する該周面の一部が切り欠かれた凹部が形成され、
    該プランジャは、該トリガレバーが回動動作すると共に該自由端が該周面に掛止した状態において該トリガアームにより押し込まれて常に第一領域に位置し、該トリガレバーが回動動作すると共に該自由端が該凹部内に掛止した状態において該トリガアームにより第二領域に位置することを特徴とする打込機。
JP2008236446A 2008-09-16 2008-09-16 打込機 Active JP5142084B2 (ja)

Priority Applications (1)

Application Number Priority Date Filing Date Title
JP2008236446A JP5142084B2 (ja) 2008-09-16 2008-09-16 打込機

Applications Claiming Priority (1)

Application Number Priority Date Filing Date Title
JP2008236446A JP5142084B2 (ja) 2008-09-16 2008-09-16 打込機

Publications (3)

Publication Number Publication Date
JP2010069543A true JP2010069543A (ja) 2010-04-02
JP2010069543A5 JP2010069543A5 (ja) 2011-04-14
JP5142084B2 JP5142084B2 (ja) 2013-02-13

Family

ID=42201803

Family Applications (1)

Application Number Title Priority Date Filing Date
JP2008236446A Active JP5142084B2 (ja) 2008-09-16 2008-09-16 打込機

Country Status (1)

Country Link
JP (1) JP5142084B2 (ja)

Also Published As

Publication number Publication date
JP5142084B2 (ja) 2013-02-13

Similar Documents

Publication Publication Date Title
US7677426B2 (en) Fastener driving device
TWI680845B (zh) 釘打機
JP2001328078A5 (ja)
JP2019063924A (ja) 打込み工具
JP2018144122A (ja) 打ち込み工具
JP5585417B2 (ja) 打込機
JP5589804B2 (ja) 打込機
JP5076946B2 (ja) 釘打機
JP5348456B2 (ja) 打込機
JP4075462B2 (ja) 釘打機の起動用トリガレバーのコンタクトレバー
WO2006126491A1 (ja) 打込み工具
JP2014046424A (ja) 打込機
JP5142084B2 (ja) 打込機
JP4752751B2 (ja) 打込機
JP5286939B2 (ja) 打込機
JP5055817B2 (ja) 打込み工具におけるコンタクト機構
JP5585418B2 (ja) 打込機
JP3268136B2 (ja) エア釘打機の動作切換え装置
JP4461638B2 (ja) タッカーにおける空打ち防止機構
JP4052254B2 (ja) 釘打機の起動装置
JPH0546854Y2 (ja)
JP5310121B2 (ja) 打込機
JP5645071B2 (ja) 打込機
JP5299755B2 (ja) 打込機
JP2011194543A (ja) 打込機

Legal Events

Date Code Title Description
A521 Written amendment

Free format text: JAPANESE INTERMEDIATE CODE: A523

Effective date: 20110225

A621 Written request for application examination

Free format text: JAPANESE INTERMEDIATE CODE: A621

Effective date: 20110225

TRDD Decision of grant or rejection written
A01 Written decision to grant a patent or to grant a registration (utility model)

Free format text: JAPANESE INTERMEDIATE CODE: A01

Effective date: 20121029

A01 Written decision to grant a patent or to grant a registration (utility model)

Free format text: JAPANESE INTERMEDIATE CODE: A01

FPAY Renewal fee payment (event date is renewal date of database)

Free format text: PAYMENT UNTIL: 20151130

Year of fee payment: 3

R150 Certificate of patent or registration of utility model

Ref document number: 5142084

Country of ref document: JP

Free format text: JAPANESE INTERMEDIATE CODE: R150

Free format text: JAPANESE INTERMEDIATE CODE: R150

A61 First payment of annual fees (during grant procedure)

Free format text: JAPANESE INTERMEDIATE CODE: A61

Effective date: 20121111

S533 Written request for registration of change of name

Free format text: JAPANESE INTERMEDIATE CODE: R313533

R350 Written notification of registration of transfer

Free format text: JAPANESE INTERMEDIATE CODE: R350