JP2010067701A - 多層プリント配線板製造方法 - Google Patents

多層プリント配線板製造方法 Download PDF

Info

Publication number
JP2010067701A
JP2010067701A JP2008231015A JP2008231015A JP2010067701A JP 2010067701 A JP2010067701 A JP 2010067701A JP 2008231015 A JP2008231015 A JP 2008231015A JP 2008231015 A JP2008231015 A JP 2008231015A JP 2010067701 A JP2010067701 A JP 2010067701A
Authority
JP
Japan
Prior art keywords
substrate
substrate sheet
base material
flat plate
conductive paste
Prior art date
Legal status (The legal status is an assumption and is not a legal conclusion. Google has not performed a legal analysis and makes no representation as to the accuracy of the status listed.)
Granted
Application number
JP2008231015A
Other languages
English (en)
Other versions
JP5083132B2 (ja
Inventor
Hiroyuki Shirogane
金 弘 之 白
Masayuki Nagashima
島 正 幸 長
Tsutomu Uchiumi
海 勉 内
Current Assignee (The listed assignees may be inaccurate. Google has not performed a legal analysis and makes no representation or warranty as to the accuracy of the list.)
Dai Nippon Printing Co Ltd
Original Assignee
Dai Nippon Printing Co Ltd
Priority date (The priority date is an assumption and is not a legal conclusion. Google has not performed a legal analysis and makes no representation as to the accuracy of the date listed.)
Filing date
Publication date
Application filed by Dai Nippon Printing Co Ltd filed Critical Dai Nippon Printing Co Ltd
Priority to JP2008231015A priority Critical patent/JP5083132B2/ja
Publication of JP2010067701A publication Critical patent/JP2010067701A/ja
Application granted granted Critical
Publication of JP5083132B2 publication Critical patent/JP5083132B2/ja
Expired - Fee Related legal-status Critical Current
Anticipated expiration legal-status Critical

Links

Images

Landscapes

  • Screen Printers (AREA)
  • Printing Methods (AREA)
  • Production Of Multi-Layered Print Wiring Board (AREA)
  • Printing Elements For Providing Electric Connections Between Printed Circuits (AREA)
  • Manufacturing Of Printed Wiring (AREA)

Abstract

【課題】長期間、スクリーン版を使用し続けることができ、かつ、スクリーン版と基材との間をわずかに離間させた状態で導電性ペーストを転写させることを容易に実現すること。
【解決手段】多層プリント配線板製造方法は、複数の平板凸部62aを有する平板状部材62と、基板凸部61aを有する下方基板シート61とを含む基材60を保持する基材工程と、基板凸部61aの間に、導電性ペースト70を転写させる工程と、導電性ペースト70を硬化させて導電性バンプ71を形成する工程と、を備えている。多層プリント配線板製造方法は、さらに、導電性バンプ71上に上方基板シート61’を載置して押圧し、その下面に導電性バンプ71を貫入させる工程と、基板シート61,61’のうち、所定の領域をマスクし、この所定の領域以外を除去して回路を形成する工程と、を備えている。下方基板シート61の基板凸部61aは、所定の領域以外の位置に設けられ、回路形成時に除去される。
【選択図】図3

Description

本発明は、導電性バンプ付き基板シートを用いた多層プリント配線板を製造する方法に関する。
従来から、被印刷体表面(基材の表面)上に、導電性ペースト保持用の孔(貫通穴)を所定位置に備えた可撓性のスクリーンマスク(スクリーン版)を張持し、スクリーンマスクを被印刷体表面に押圧するスキージ部材を被印刷体表面に沿って移動することによりスクリーンマスク上に載置した導電性ペーストを保持用の孔と被印刷体表面とで画定される空間に充填し、スクリーンマスクが被印刷体表面から離間するときの引張力で空間内に充填した導電性ペーストを略円錐形に成形するペーストバンプの形成方法であって、スクリーンマスクと被印刷体との間にスペーサを介在させることによって、孔下面と被印刷体とを僅かに離間させた状態でスキージ部材を移動させる方法が知られている(特許文献1および特許文献2、参照)。
このような方法によれば、少ない印刷回数で所望の高さの導電性バンプを形成することができ、導電性バンプ付基板の製造時間を短縮することができる。
また、スクリーン印刷工程実行回数をa、1回のスクリーン印刷工程において不良が発生する割合をbとした場合、歩留まり率は(1−b)≒1−a×bとなり、スクリーン印刷工程の実行回数が増えれば増えるほど導電性バンプ付き基板シートの製造における歩留まり率が低下してしまうのであるが、上述した方法によれば、スクリーン印刷工程の実行回数を減らすことができるので、歩留まり率を高くすることができる。
特開2004−6577号公報 特開2003−320640号公報
しかしながら、上述した従来の方法では、孔下面と被印刷体とを僅かに離間させた状態でスキージ部材を移動させるために、スクリーンマスクと被印刷体との間にスペーサを介在させている。このため、スクリーンマスクを洗浄するときにスペーサが剥がれたりしてしまうことがあり、長期間、スクリーンマスクを使用し続けることが難しい。また、そもそも、このようにスペーサ付きのスクリーンマスクを製造することは難しい。
本発明は、このような点を考慮してなされたものであり、基板シートの表面に導電性ペーストを塗工する工程の回数を減少させることができ、かつ、長期間、スクリーン版を使用し続けることができるとともに、スクリーン版と基材との間をわずかに離間させた状態で導電性ペーストを転写させることを容易に実現することができる導電性バンプ付き基板シートを用いた多層プリント配線板を製造する方法を提供することを目的とする。
本発明による多層プリント配線板製造方法は、
印刷定盤によって、複数の平板凸部を有する平板状部材と、該平板状部材上に載置され、該平板凸部に対応した基板凸部を有する下方基板シートとを含む基材を保持する基材保持工程と、
前記基材上に、複数の貫通穴を有するスクリーン版を位置づける第一位置づけ工程と、
前記スクリーン版の前記貫通穴から、前記下方基板シートの前記基板凸部の間に、導電性ペーストを転写させる基材転写工程と、
前記下方基板シート上に転写された導電性ペーストを硬化させて導電性バンプを形成する基材硬化工程と、
前記導電性バンプ上に上方基板シートを載置する載置工程と、
前記上方基板シートを押圧して、該上方基板シートの下面に前記導電性バンプを貫入させる押圧工程と、
前記下方基板シートおよび前記上方基板シートのうち、所定の領域をマスクし、該所定の領域以外を除去して回路を形成する回路形成工程と、を備え、
前記下方基板シートの前記基板凸部が、前記所定の領域以外の位置に設けられ、前記回路形成工程で除去される。
本発明による多層プリント配線板製造方法において、
前記基材を、前記基板凸部の間に導電性ペーストが載置されるように、前記印刷定盤に対して位置づける基材位置決め工程をさらに備えたことが好ましい。
本発明による多層プリント配線板製造方法において、
前記基材位置決め工程は、画像取得装置によって前記印刷定盤に保持された基材の画像を取得する基材画像取得工程と、画像表示装置によって前記画像取得装置で取得された画像を表示する基材画像表示工程と、該画像表示装置で表示された画像に基づいて前記印刷定盤に対する前記基材の位置を調整する基材位置調整工程と、を有することが好ましい。
本発明による多層プリント配線板製造方法において、
前記平板状部材の前記平板凸部を形成するときに、前記スクリーン版を用いることが好ましい。
このような多層プリント配線板製造方法において、
前記印刷定盤によって、平板状部材準備体を保持する準備体保持工程と、
前記平板状部材準備体上に、複数の貫通穴を有するスクリーン版を位置づける第二位置づけ工程と、
前記スクリーン版の前記貫通穴から、平板状部材準備体に、導電性ペーストを転写させる準備体転写工程と、を備え、
平板状部材準備体に転写される導電性ペーストの位置は、前記基材転写工程で転写される導電性ペーストの位置を取り囲む位置に対応することが好ましい。
本発明によれば、下方基板シートの基板凸部によって、スクリーン版と基材との間をわずかに離間させた状態を実現し、当該基板凸部の間に導電性ペーストを転写させる。このため、下方基板シートの表面に導電性ペーストを塗工する工程の回数を減少させることができ、かつ、長期間、スクリーン版を使用し続けることができるとともに、スクリーン版と基材との間をわずかに離間させた状態で導電性ペーストを転写させることを容易に実現することができる。
さらに、本発明によれば、下方基板シートの基板凸部が、回路形成工程でマスクされる所定の領域以外の位置に設けられており、回路形成時に除去される。このため、当該基板凸部が後工程で悪影響を及ぼすことを防止することができる。
発明を実施するための形態
実施の形態
以下、本発明に係る多層プリント配線板製造方法の実施の形態について、図面を参照して説明する。ここで、図1乃至図11は本発明の実施の形態を示す図である。
本実施の形態において、導電性バンプ付き基板シート製造システムは、基板に基板凸部61aを形成する基板凸部生成装置(図1(a)(b)参照)と、下方基板シート61の基板凸部61aの間に導電性ペースト70を転写させる印刷装置(図2参照)と、を備えている。
基板凸部生成装置は、図1(a)(b)に示すように、複数の平板凸部62aを有する平板状部材62を吸引孔1aからの吸引力によって吸着して保持する保持部1と、平板状部材62の平板凸部62a上に載置された下方基板シート61(例えば、厚み18μmからなる銅箔などの金属箔)に圧力を加えて、この下方基板シート61に平板状部材62の平板凸部62aに対応する基板凸部61aを形成する加圧ローラ(加圧部)10と、を備えている。なお、平板状部材62には開口(図示せず)が設けられており、この開口を通じて吸着力が働いて下方基板シート61が保持される。
ところで、平板状部材62としては、銅、SUS、アルミなどの金属シートや、PET、PP、PEなどのフィルムおよび樹脂シートなどを用いることができる。また、加圧ローラ10としては、ゴムロール、金属ロール、樹脂ロールなどを用いることができる。
また、本実施の形態では、下方基板シート61に平板状部材62の平板凸部62aに対応する基板凸部61aを形成する加圧部として加圧ローラ10を用いて説明するが(図1(a)(b)参照)、これに限られることなく、例えば、平プレスなどを用いてもよい。
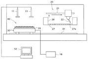
また、図2に示すように、印刷装置は、基材60を保持する印刷定盤30と、所定のパターンからなる複数の貫通穴27aが設けられたメタルマスクなどのスクリーン版27と、このスクリーン版27を保持する保持部26と、スクリーン版27上で走査し、スクリーン版27に載置された銀ペーストや半田ペーストなどの導電性ペースト70(図8参照)を貫通穴27aを介して基材60の下方基板シート61上に転写させるスキージ22と、を備えている。なお、上述したスキージ22と、このスキージ22を案内するガイド部材21とからスキージ機構20が構成されている。なお、ここで基材60は、複数の平板凸部62aを有する平板状部材62と、平板状部材62上に載置され、平板凸部62aに対応した基板凸部61aを有する下方基板シート61とからなっている。
また、図2に示すように、スキージ機構20の上流側には、印刷定盤30に保持された基材60の画像を取得するCCDカメラ(画像取得装置)11が配置されている。また、このCCDカメラ11には、CCDカメラ11によって取得された画像を表示する表示画面(画像表示装置)12が接続されている。
また、図2に示すように、印刷定盤30は、この印刷定盤30に対する基材60の位置を調整する位置調整装置35を有している。そして、この位置調整装置35には、操作者によって入力された指示を送る位置指示部16が接続されている。なお、基材60にはアライメントマーク(図示せず)が施されており、このアライメントマークをCCDカメラ11で撮影することによって、基材60の印刷定盤30に対する位置が位置決めされる。
なお、本実施の形態においては、上述したCCDカメラ11、表示画面12、位置調整装置35および位置指示部16から位置づける位置決め機構が構成されている。また、印刷定盤30の下方には、この印刷定盤30を案内するガイド部材31が水平方向に延在している。
また、図3(a)(b)に示すように、位置調整装置35には、吸引孔35aが設けられており、この吸引孔35aからの吸引力によって基材60が吸着されて保持されることとなる。なお、本実施の形態では、このように位置調整装置35の吸引孔35aによって基材60が吸着されて保持される態様を用いて説明するが、これに限られることなく、例えば、吸引孔を有する吸引板が位置調整装置35上に設けられ、当該吸引板からの吸引力によって基材60が吸着されて保持されるようにしてもよい。
次に、このような構成からなる本実施の形態の作用について述べる。
(基板凸部61aを有する下方基板シート61の生成)
最初に、基板凸部61aを有する下方基板シート61を生成する工程について説明する。
まず、保持部1の吸引孔1aからの吸引力によって、複数の平板凸部62aを有する平板状部材62が吸着して保持される(図1(a)参照)。次に、平板状部材62の複数の平板凸部62aと下方基板シート61とが当接される(当接工程)。より具体的には、平板状部材62上に、下方基板シート61が載置される(図1(a)参照)。
次に、当該下方基板シート61を平板状部材62に押圧した状態で加圧ローラ10が水平方向に移動される(図1(a)参照)。このとき、加圧ローラ10によって、下方基板シート61に圧力が加えられて、下方基板シート61に平板状部材62の複数の平板凸部62aに対応する基板凸部61aが形成される(基板凸部形成工程)(図1(b)参照)。
(導電性バンプ付き基板シートの生成)
次に、導電性バンプ付き基板シートを生成する工程について説明する。
まず、印刷定盤30の位置調整装置35によって、複数の平板凸部62aを有する平板状部材62と、平板凸部62aに対応した基板凸部61aを有する下方基板シート61とからなる基材60が、吸着して保持される(基材保持工程)(図2参照)。なお、基材60は、平板状部材62が下方に位置し、下方基板シート61が上方に位置するようにして、印刷定盤30上に載置される。
次に、スキージ機構20によって転写される導電性ペースト70が、下方基板シート61の基板凸部61aの間に載置されるように、基材60が印刷定盤30に対して位置づけられる(基材位置決め工程)(図2参照)。
具体的には、まず、CCDカメラ11によって、印刷定盤30に保持された基材60の画像が撮影される(基材画像取得工程)。次に、このようにCCDカメラ11によって撮影された基材60の画像が、表示画面12によって表示される(基材画像表示工程)。
次に、操作者が、表示画面12に表示された画像に基づいて、印刷定盤30を所定の位置に移動させるよう、位置指示部16に指示を入力する。そして、この指示に従って、位置調整装置35が駆動され、印刷定盤30に対する基材60の位置が調整される。例えば、基材60に施されたアライメントマークがCCDカメラ11の中心位置で撮影されるよう、操作者が位置指示部16に指示を入力する。そして、この指示に従って、位置調整装置35が駆動され、アライメントマークがCCDカメラ11の中心位置にくるよう、基材60の印刷定盤30に対する位置が調整される(基材位置調整工程)。
次に、印刷定盤30が、駆動部(図示せず)から付与される駆動力によって、ガイド部材31に沿って水平方向(図7の右側)に向かって移動される(図7参照)。この結果、基材60上に、複数の貫通穴27aを有するスクリーン版27が位置づけられる(第一位置づけ工程)(図3(a)参照)。
次に、スキージ22がガイド部材21に沿ってスクリーン版27上で走査され、スクリーン版27に載置された導電性ペースト70が、貫通穴27aを介して基材60の下方基板シート61上に転写される(基材転写工程)(図3(b)および図8参照)。
ここで本実施の形態よれば、上述のように、基材転写工程の前に、表示画面12に表示された画像に基づいて、印刷定盤30を所定の位置に移動させることができる。このため、この基材転写工程において、スキージ機構20のスキージ22によって、スクリーン版27の貫通穴27aを経て転写される導電性ペースト70を、下方基板シート61の基板凸部61aの間に、当該基板凸部61aによって基板シート61とスクリーン版27との間に間隙を設けた状態で確実に転写させることができる。また、転写された導電性ペースト70の相当部分がスクリーン版27に接触していないので、スクリーン版27を基板シート61から離版させる際にスクリーン版27側に奪われる導電性ペースト70の量を減らすことができる。
このため、スキージ機構20のスキージ22によって導電性ペースト70を下方基板シート61上に一回転写させるだけで、導電性バンプ71(図4(a)−(c)参照)の高さと量を十分なものにすることができる。この結果、下方基板シート61の表面に導電性ペースト70を塗工する工程の回数を減少させることができ、ひいては、導電性バンプ付基板の製造時間を短縮することができる。また、導電性バンプ付き基板シートの製造における歩留まり率を高くすることもできる。
上述のように、導電性ペースト70が下方基板シート61の基板凸部61aの間に載置されると、印刷定盤30は水平方向(図9の左側)に移動し、初期位置に戻ることとなる(図9参照)。このとき、スキージ機構20も初期位置に戻る(図9参照)。
次に、下方基板シート61は平板状部材62から剥離される。その後、下方基板シート61の各基板凸部61aの間に設けられた導電性ペースト70が乾燥されて硬化される(基材硬化工程)。この結果、下方基板シート61上に(例えば、下面の直径が0.2mm程度からなる)略円錐状の導電性バンプ71が形成されて、導電性バンプ付き基板シートが生成される(図4(a)参照)。なお、導電性ペースト70が紫外線硬化性の材料からなる場合には、導電性ペースト70を乾燥させる代わりに、導電性ペースト70に紫外線を照射することによって硬化させてもよい。
上述のようにして導電性バンプ付き基板シートが生成されると、この導電性バンプ付き基板シート上に未硬化の絶縁シート65が配置されて、押圧される。このことによって、導電性バンプ71が絶縁シート65を貫通して、下方基板シート61上に絶縁シート65が位置づけられることとなる(図4(b)参照)。
次に、上方基板シート61’が、下方基板シート61の導電性バンプ71と未硬化の絶縁シート65上に載置される(載置工程)(図4(b)参照)。その後、上方基板シート61’が押圧されて、この上方基板シート61’の下面に導電性バンプ71が貫入される(押圧工程)(図4(b)参照)。なお、本実施の形態によれば、一回に転写される導電性ペースト70の量が多いので、下方に位置する基板シート61と上方に位置する基板シート61との間の電気的な抵抗を小さくすることができる。
次に、絶縁シート65が硬化され、その後、下方基板シート61および上方基板シート61’のうち、ランド領域(所定の領域)がマスクされる。次に、エッチングなどによって、下方基板シート61および上方基板シート61’のうちランド領域以外が除去されて、回路が形成される(回路形成工程)(図4(c)参照)。
ここで、本実施の形態によれば、下方基板シート61の基板凸部61aがランド領域以外の位置(ランド径(例えば300μm)よりも外側)に設けられ(より具体的には、貫通穴27a間の距離A(図3(a)参照)<ランド領域の幅R(図4(c)参照)<基板凸部61a間の距離B(図3(a)参照)となり)、隣接するランド領域間に基板凸部61aが設けられている。このため、下方基板シート61の基板凸部61aは、回路形成工程で除去されることとなり、基板凸部61aが後工程(例えば、コア印刷)で悪影響を及ぼすことを防止することができる。
すなわち、図5(a)(b)および図6(a)−(c)に示すように、貫通穴27a間の距離A(図5(a)参照)<基板凸部61a間の距離B(図5(a)参照)<ランド領域の幅R(図6(c)参照)となっており、下方基板シート61の基板凸部61aがランド領域内に設けられている場合には、回路形成工程で、下方基板シート61および上方基板シート61’のうちランド領域以外の箇所が除去されても、下方基板シート61の基板凸部61aが残ってしまうこととなる。このため、基板凸部61aが後工程で悪影響を及ぼす可能性が否めない。これに対して、本実施の形態によれば、回路形成工程で完全に基板凸部61aが除去されるので、このような可能性を無くすことができる。
ところで、本実施の形態によれば、図3(a)(b)に示すように、基板凸部61aによって、スクリーン版27と基材60との間をわずかに離間させることができるので(間隙Gが設けられるので)、従来技術のようにスペーサを用いる必要がない。このため、スクリーン版27を洗浄するときにスペーサが剥がれたりしてしまうこともなく、長期間、スクリーン版27を使用し続けることができる。
また、本実施の形態によれば、導電性ペースト70が基板凸部61a間に転写されてから導電性ペースト70が乾燥されて導電性バンプ71が形成されるまでの間、各導電性バンプ71の間に基板凸部61aが配置されていることとなる。このため、導電性ペースト70の径が大きな場合であっても、隣接する導電性ペースト70同士が繋がってしまうことを防止することができ、ひいては、多層プリント配線板でショートが発生することを防止することができる。なお、後述するような方法で平板状部材62の平板凸部62aを形成すると、基材転写工程で転写される導電性ペースト70は、二つか三つ程度の基板凸部61aによって取り囲まれることとなる。
このような基板凸部61aを形成する方法としては、導電性ペースト70を下方基板シート61の基板凸部61a間に転写させるときに用いられるスクリーン版27を用いることが好ましい。
具体的には、まず、印刷定盤30によって、平板状部材準備体62bが保持される(準備体保持工程)(図10参照)。次に、平板状部材準備体62bが印刷定盤30に対して位置づけられる(準備体位置決め工程)(図2参照)。このとき、導電性ペースト70を基板凸部61a間に転写させるときの位置合わせ(基材位置決め工程)と比較して、平板状部材準備体62bが半ピッチずらされる。なお、このときの位置合わせには、上述した基材位置決め工程と同様、CCDカメラ11、表示画面12および位置指示部16が用いられる。
次に、印刷定盤30が、駆動部(図示せず)から付与される駆動力によって、ガイド部材31に沿って水平方向(図11の右側)に向かって移動される(図11参照)。この結果、平板状部材準備体62b上に、複数の貫通穴27aを有するスクリーン版27が位置づけられる(第二位置づけ工程)。
次に、スキージ22がガイド部材21に沿ってスクリーン版27上で走査され、スクリーン版27に載置された導電性ペースト70が、貫通穴27aを介し平板状部材準備体62b上に転写される(準備体転写工程)(図11参照)。
ここで上述のように、印刷定盤30に対して、導電性ペースト70を基板凸部61a間に転写させるときの位置合わせ(基材位置決め工程)と比較して、平板状部材準備体62bが半ピッチずらされて位置づけられているので、上述した基材転写工程で転写される導電性ペースト70を取り囲む位置に対応して、平板状部材準備体62bに導電性ペースト70を転写させることができる。
後は、このようにして転写された導電性ペースト70を硬化させることによって、平板凸部62aが形成される。そして、上述したように、平板凸部62aを有する平板状部材62上に下方基板シート61を載置し、当該下方基板シート61を加圧ローラ10で押圧することによって、基板凸部61aを有する下方基板シート61を得ることができる(図1参照)。
このように、本実施の形態によれば、基材転写工程で用いられるスクリーン版27と同じスクリーン版27を用いて平板凸部62aを有する平板状部材62を製造することができる。このため、スクリーン版27と基材60との間を離間させる基板凸部61aを、容易に製造することができる。この結果、従来のように製造の難しいスペーサ付きのスクリーンマスク(スクリーン版)を用いることなく、容易に、スクリーン版27と基材60との間をわずかに離間させた状態で導電性ペースト70を転写させること、を実現することができる。
なお、平板凸部62aを生成する材料としては、銀ペーストや半田ペーストだけでなく、熱硬化樹脂やUV硬化樹脂なども用いることができ、上述した(スクリーン版27とスキージ22を用いた)スクリーン印刷法だけでなく、光造型法なども用いることができる。また、平板凸部62aを金属から生成する場合には、エッチング処理や電鋳法などを用いることもできる。
ところで、基板凸部61aの大きさは、導電性バンプの径(貫通穴27aの径)と同程度もしくはそれ以下が望ましい。また、平板凸部62aの形状としては、円錐、円錐台、円柱からなっているものが考えられるが、基板シート61を突き破りにくい形状(例えば、円錐台、円柱)からなることが好ましい。なお、基板凸部61aは、スクリーン版27に加わるスキージ22からの圧力(0.25MPa程度)でも、破れない程度の硬度を有する必要がある。
本発明の実施の形態による基板凸部生成装置の構成を示す概略側方図。 本発明の実施の形態による印刷装置を側方から見た概略側方図。 本発明の実施の形態によるスキージ機構における第一位置づけ工程と基材転写工程を示した拡大側方図。 本発明の実施の形態による基材硬化工程と、載置工程と、押圧工程と、回路形成工程を示した概略側方図。 参考例によるスキージ機構における第一位置づけ工程と基材転写工程を示した拡大側方図。 参考例による基材硬化工程と、載置工程と、押圧工程と、回路形成工程を示した概略側方図。 本発明の実施の形態による印刷装置の一駆動状態を示した概略側方図。 図7に示した状態から進んだ状態にある印刷装置を示した概略側方図。 図8に示した状態から進んだ状態にある印刷装置を示した概略側方図。 本発明の実施の形態による印刷装置を用いて平板凸部を形成する際の印刷装置の一駆動状態を示した概略側方図。 図10に示した状態から進んだ状態にある印刷装置を示した概略側方図。
符号の説明
1 保持部
10 加圧ローラ(加圧部)
11 CCDカメラ(画像取得装置)
12 画像表示装置
22 スキージ
27 スクリーン版
27a 貫通穴
30 印刷定盤
35 位置調整装置
60 基材
61 下方基板シート
61a 基板凸部
61’ 上方基板シート
62 平板状部材
62a 平板凸部
62b 平板状部材準備体
65 絶縁シート
70 導電性ペースト
71 導電性バンプ

Claims (5)

  1. 印刷定盤によって、複数の平板凸部を有する平板状部材と、該平板状部材上に載置され、該平板凸部に対応した基板凸部を有する下方基板シートとを含む基材を保持する基材保持工程と、
    前記基材上に、複数の貫通穴を有するスクリーン版を位置づける第一位置づけ工程と、
    前記スクリーン版の前記貫通穴から、前記下方基板シートの前記基板凸部の間に、導電性ペーストを転写させる基材転写工程と、
    前記下方基板シート上に転写された導電性ペーストを硬化させて導電性バンプを形成する基材硬化工程と、
    前記導電性バンプ上に上方基板シートを載置する載置工程と、
    前記上方基板シートを押圧して、該上方基板シートの下面に前記導電性バンプを貫入させる押圧工程と、
    前記下方基板シートおよび前記上方基板シートのうち、所定の領域をマスクし、該所定の領域以外を除去して回路を形成する回路形成工程と、を備え、
    前記下方基板シートの前記基板凸部は、前記所定の領域以外の位置に設けられ、前記回路形成工程で除去されることを特徴とする多層プリント配線板製造方法。
  2. 前記基材を、前記基板凸部の間に導電性ペーストが載置されるように、前記印刷定盤に対して位置づける基材位置決め工程をさらに備えたことを特徴とする請求項1に記載の多層プリント配線板製造方法。
  3. 前記基材位置決め工程は、画像取得装置によって前記印刷定盤に保持された基材の画像を取得する基材画像取得工程と、画像表示装置によって前記画像取得装置で取得された画像を表示する基材画像表示工程と、該画像表示装置で表示された画像に基づいて前記印刷定盤に対する前記基材の位置を調整する基材位置調整工程と、を有することを特徴とする請求項1に記載の多層プリント配線板製造方法。
  4. 前記平板状部材の前記平板凸部を形成するときに、前記スクリーン版を用いることを特徴とする請求項1に記載の多層プリント配線板製造方法。
  5. 前記印刷定盤によって、平板状部材準備体を保持する準備体保持工程と、
    前記平板状部材準備体上に、複数の貫通穴を有するスクリーン版を位置づける第二位置づけ工程と、
    前記スクリーン版の前記貫通穴から、平板状部材準備体に、導電性ペーストを転写させる準備体転写工程と、を備え、
    平板状部材準備体に転写される導電性ペーストの位置は、前記基材転写工程で転写される導電性ペーストの位置を取り囲む位置に対応することを特徴とする請求項4に記載の多層プリント配線板製造方法。
JP2008231015A 2008-09-09 2008-09-09 多層プリント配線板製造方法 Expired - Fee Related JP5083132B2 (ja)

Priority Applications (1)

Application Number Priority Date Filing Date Title
JP2008231015A JP5083132B2 (ja) 2008-09-09 2008-09-09 多層プリント配線板製造方法

Applications Claiming Priority (1)

Application Number Priority Date Filing Date Title
JP2008231015A JP5083132B2 (ja) 2008-09-09 2008-09-09 多層プリント配線板製造方法

Publications (2)

Publication Number Publication Date
JP2010067701A true JP2010067701A (ja) 2010-03-25
JP5083132B2 JP5083132B2 (ja) 2012-11-28

Family

ID=42193055

Family Applications (1)

Application Number Title Priority Date Filing Date
JP2008231015A Expired - Fee Related JP5083132B2 (ja) 2008-09-09 2008-09-09 多層プリント配線板製造方法

Country Status (1)

Country Link
JP (1) JP5083132B2 (ja)

Citations (4)

* Cited by examiner, † Cited by third party
Publication number Priority date Publication date Assignee Title
JPH08335783A (ja) * 1995-06-07 1996-12-17 Toshiba Corp 印刷配線板の製造方法
JPH1079579A (ja) * 1996-09-05 1998-03-24 Toshiba Corp 印刷配線板、および印刷配線板の製造方法
JPH10146952A (ja) * 1996-11-18 1998-06-02 Matsushita Electric Ind Co Ltd クリーム半田のスクリーン印刷方法
JP2005340230A (ja) * 2004-05-24 2005-12-08 Sony Corp プリント配線板および部品実装体の製造方法

Patent Citations (4)

* Cited by examiner, † Cited by third party
Publication number Priority date Publication date Assignee Title
JPH08335783A (ja) * 1995-06-07 1996-12-17 Toshiba Corp 印刷配線板の製造方法
JPH1079579A (ja) * 1996-09-05 1998-03-24 Toshiba Corp 印刷配線板、および印刷配線板の製造方法
JPH10146952A (ja) * 1996-11-18 1998-06-02 Matsushita Electric Ind Co Ltd クリーム半田のスクリーン印刷方法
JP2005340230A (ja) * 2004-05-24 2005-12-08 Sony Corp プリント配線板および部品実装体の製造方法

Also Published As

Publication number Publication date
JP5083132B2 (ja) 2012-11-28

Similar Documents

Publication Publication Date Title
JP4893056B2 (ja) スクリーン印刷装置
JP5088630B2 (ja) 導電性バンプ付き基板シート製造方法
JP5067666B2 (ja) 印刷装置
JP5067667B2 (ja) 印刷方法
JP5067671B2 (ja) 導電性バンプ付き基板シート製造方法
JP5083132B2 (ja) 多層プリント配線板製造方法
JP5077766B2 (ja) 印刷装置および印刷方法
JP5109900B2 (ja) 導電性バンプ付き基板シート製造方法
JP5176819B2 (ja) 多層プリント配線板の製造方法
JP5332476B2 (ja) 導電性バンプ付き基板シート製造方法および多層プリント配線板製造方法
JP5125915B2 (ja) 導電性バンプ付き基板シート製造方法
JP2013021111A (ja) 導電性バンプ付き基板シートの製造装置および製造方法
JP5402784B2 (ja) 導電性バンプ付基板シートの製造方法および多層プリント配線板の製造方法
KR102044625B1 (ko) 전사 장치 및 전사 방법
JP6078910B2 (ja) プリント配線基板製造方法、基板組合せ体およびプリント配線基板
JP5152663B2 (ja) 多層導電性バンプ付基板シート積層体製造方法および導電性バンプ付基板シート製造方法
JP2010080545A (ja) 導電性バンプ付き基板シート、導電性基板シートおよび多層プリント配線板
JP5262509B2 (ja) 印刷装置
JP2010080544A (ja) 導電性バンプ付き基板シートの製造方法および多層プリント配線板の製造方法
JP5034625B2 (ja) 多層プリント配線板製造方法
JP5257782B2 (ja) 導電性バンプ付基板シートの製造方法および多層プリント配線板の製造方法
JP2004042451A (ja) スクリーン印刷方法、スクリーン印刷用スペーサ、スクリーンマスク
JP5152659B2 (ja) 多層導電性バンプ付基板シート積層体製造方法および導電性バンプ付基板シート製造方法
JP4024777B2 (ja) コネクタ及びその製造方法
JP5035668B2 (ja) 導電性バンプ付基板シート製造方法および多層プリント配線板製造方法

Legal Events

Date Code Title Description
A621 Written request for application examination

Free format text: JAPANESE INTERMEDIATE CODE: A621

Effective date: 20110614

A977 Report on retrieval

Free format text: JAPANESE INTERMEDIATE CODE: A971007

Effective date: 20120802

TRDD Decision of grant or rejection written
A01 Written decision to grant a patent or to grant a registration (utility model)

Free format text: JAPANESE INTERMEDIATE CODE: A01

Effective date: 20120807

A01 Written decision to grant a patent or to grant a registration (utility model)

Free format text: JAPANESE INTERMEDIATE CODE: A01

A61 First payment of annual fees (during grant procedure)

Free format text: JAPANESE INTERMEDIATE CODE: A61

Effective date: 20120820

R150 Certificate of patent or registration of utility model

Free format text: JAPANESE INTERMEDIATE CODE: R150

FPAY Renewal fee payment (event date is renewal date of database)

Free format text: PAYMENT UNTIL: 20150914

Year of fee payment: 3

LAPS Cancellation because of no payment of annual fees