JP2010065565A - 内燃機関の可変動弁装置 - Google Patents

内燃機関の可変動弁装置 Download PDF

Info

Publication number
JP2010065565A
JP2010065565A JP2008231265A JP2008231265A JP2010065565A JP 2010065565 A JP2010065565 A JP 2010065565A JP 2008231265 A JP2008231265 A JP 2008231265A JP 2008231265 A JP2008231265 A JP 2008231265A JP 2010065565 A JP2010065565 A JP 2010065565A
Authority
JP
Japan
Prior art keywords
cam
valve
exhaust
intake
internal combustion
Prior art date
Legal status (The legal status is an assumption and is not a legal conclusion. Google has not performed a legal analysis and makes no representation as to the accuracy of the status listed.)
Granted
Application number
JP2008231265A
Other languages
English (en)
Other versions
JP5142896B2 (ja
Inventor
Yoshikazu Yamada
義和 山田
Toshiaki Kiura
寿朗 木浦
Current Assignee (The listed assignees may be inaccurate. Google has not performed a legal analysis and makes no representation or warranty as to the accuracy of the list.)
Honda Motor Co Ltd
Original Assignee
Honda Motor Co Ltd
Priority date (The priority date is an assumption and is not a legal conclusion. Google has not performed a legal analysis and makes no representation as to the accuracy of the date listed.)
Filing date
Publication date
Application filed by Honda Motor Co Ltd filed Critical Honda Motor Co Ltd
Priority to JP2008231265A priority Critical patent/JP5142896B2/ja
Publication of JP2010065565A publication Critical patent/JP2010065565A/ja
Application granted granted Critical
Publication of JP5142896B2 publication Critical patent/JP5142896B2/ja
Expired - Fee Related legal-status Critical Current
Anticipated expiration legal-status Critical

Links

Images

Landscapes

  • Valve Device For Special Equipments (AREA)

Abstract

【課題】内燃機関の可変動弁装置において,その構造の簡素化を図る。
【解決手段】動弁カム軸16に,第1カム17i,17eと,この第1カム17i,17eよりリフトが低い第2カム18i,18eとを併設し,これら第1カム及び第2カムの一方の作動を交互に選択し,その選択したカムの作動により機関弁を開閉するようにした,内燃機関の可変動弁装置において,第1カム17i,17eを動弁カム軸16に相対回転可能に設ける一方,第2カム18i,18eを動弁カム軸16に固設し,第1カム17i,17eには,この第1カム17i,17eを動弁カム軸16に連結する作動モードと,その連結を解除する不作動モードとに交互に切り換え得るモード切換装置を連結した。
【選択図】図4

Description

本発明は,動弁カム軸に,第1カムと,この第1カムよりリフトが低い第2カムとを併設し,これら第1カム及び第2カムの一方の作動を交互に選択し,その選択したカムの作動により機関弁を開閉するようにした,内燃機関の可変動弁装置の改良の改良に関する。
かゝる内燃機関の可変動弁装置は,下記特許文献1に開示されるように,既に知られている。
特公平5−81725号公報
本発明は,かゝる内燃機関の可変動弁装置において,その構造の簡素化を図ることを目的とする。
上記目的を達成するために,本発明は,動弁カム軸に,第1カムと,この第1カムよりリフトが低い第2カムとを併設し,これら第1カム及び第2カムの一方の作動を交互に選択し,その選択したカムの作動により機関弁を開閉するようにした,内燃機関の可変動弁装置において,第1カムを動弁カム軸に相対回転可能に設ける一方,第2カムを動弁カム軸に固設し,第1カムには,この第1カムを動弁カム軸に連結する作動モードと,その連結を解除する不作動モードとに交互に切り換え得るモード切換装置を連結したことを第1の特徴とする。尚,前記機関弁は,後述する本発明の実施例中の吸気弁12i及び排気弁12eに対応し,また前記第1カムは第1吸気及び排気カム23i,23eに,第2カムは第2吸気及び排気カム24i,24eにそれぞれ対応する。前記連結部は連結突起30aに対応する。
また,本発明は,第1の特徴に加えて,前記モード切換装置を,アクチュエータと,動弁カム軸中心部のロッドガイド孔に摺動自在に嵌挿されていて,前記アクチュエータにより作動位置及び不作動位置間でシフトされる制御ロッドと,第1カムに設けられる連結部と,前記制御ロッドの外周面に突設され,該制御ロッドの作動位置では前記連結部に係合して動弁カム軸及び第1カム間を連結し,該制御ロッドの不作動位置では前記連結部から離脱して第1カムを動弁カム軸との連結から解放する連結ピンとで構成したことを第2の特徴とする。
さらに,本発明は,第1又は第2の特徴に加えて,前記機関弁を,電気点火可能な予混合圧縮自着火式内燃機関の吸気弁及び排気弁とし,前記第1カムを,これにより吸気弁及び排気弁を開閉するとき,それらの開弁期間が一定期間重なるオーバーラップが発生するように第1及び排気カムで構成し,また前記第2カムを,これにより吸気弁及び排気弁を開閉するとき,吸気弁の開き時期と排気弁の閉じ時期とが一定期間離れるネガティブオーバーラップが発生するように第2吸気及び排気カムで構成し,機関の始動及び暖機運転時には前記第1吸気及び第1排気カムを作動モードに,また暖機完了後には該第1吸気及び排気カムを不作動モードにするように前記モード切換装置を制御することを第3の特徴とする。
さらにまた,本発明は,第3の特徴に加えて,前記第1吸気カムを,これによる前記吸気弁の閉じ時期が圧縮行程後半にくるように形成して,圧縮行程で燃焼室から吸気ポートへの吸気吹き戻しが生じるようにしたことを第4の特徴とする。
さらにまた本発明は,第1又は第2の特徴に加えて,前記第1及び第2カムの作動の選択により,電気点火可能な予混合圧縮自着火式内燃機関の吸気弁を開閉するようにする一方,動弁カム軸に固設した排気カムの作動により同内燃機関の排気弁を開閉するようにし,この排気カムには,そのベース円部外方に突出して排気弁を,排気カムの通常リフトより小さいリフトで開放し得る突出位置と,そのベース円部内方に退去する退去位置との間を移動する排気還流カムを設け,この排気還流カムを前記モード切換装置に連結して,前記第1カムの作動モード時には該排気還流カムを退去位置に,前記第1カムの不作動モード時には該排気還流カムを突出位置にシフトするようにし,機関の始動及び暖機運転時には前記第1カムを作動モードに,また暖機完了後には前記第1カムを不作動モードにするように前記モード切換装置を制御することを第5の特徴とする。
本発明の第1の特徴によれば,モード切換装置により,第1カムを動弁カム軸に連結する作動モードと,その連結を解除する不作動モードとを交互に切り換えるという,簡単な構成により,機関弁に対する第1カム及び第2カムの一方の作動を交互に選択して,機関弁に機関の運転状況に応じた所望の開弁リフトや開閉タイミングを付与することができる。
本発明の第2の特徴によれば,モード切換装置では,動弁カム軸中心部のロッドガイド孔に制御ロッドを嵌挿し,この制御ロッドをアクチュエータにより往復作動することにより,連結ピンを,第1カムの連結部に係合,離脱させて,第1カムに,作動モード及び不作動モードを交互に与えることができる。しかも,制御ロッドを動弁カム軸内のロッドガイド孔に配設したことで,モード切換装置のコンパクト化を図ることができる。
本発明の第3の特徴によれば,機関の始動及び暖機運転時には,第1吸気及び排気カムを作動モードに保持することにより,吸気弁及び排気弁に,内燃機関の火花点火運転に適したオーバーラップ特性を付与することができ,また内燃機関の暖機運転終了後には,第1吸気及び排気カムを不作動モードに切り換えれば,第2吸気及び排気カムによって吸気弁及び排気弁に,内燃機関の予混合圧縮自着火運転に適したネガティブオーバーラップ特性を付与することができる。
本発明の第4の特徴によれば,始動,暖機運転時の有効圧縮比を,予混合圧縮自着火運転用に設定された高圧縮比より,始動,暖機運転に適する圧縮比に低減することができ,始動,暖機運転を的確に行うことができる。また,暖機運転時には,吸気吹き戻しにより,吸気ポートを加熱することから,次々吸気行程での吸気温度を高めて,機関Eの暖機を促進して,その暖機運転時間の短縮を図り,暖機運転から予混合圧縮自着火運転への移行を極力早めることができる。
本発明の第5の特徴によれば,暖機完了後の予混合圧縮自着火運転状態では,第1吸気カムのみを動弁カム軸に連結するだけで,吸気弁及び排気弁のオーバーラップの期間を極小もしくはゼロ,又はネガティブオーバーラップとすることができる上,排気カムに,制御ロッドの不作動位置への移動に連動して作動する排気還流カムを設けたので,単一の排気カムを使用しながら,排気還流効果を得ることができる。したがって,吸気弁及び排気弁のオーバーラップの期間を極短く,もしくは略ゼロとすることによる,燃焼室での排ガスの残留不足を補うことができる。
本発明の実施の形態を,添付図面に示す本発明の好適な実施例に基づいて説明する。
図1は本発明の第1実施例に係る可変動弁装置を備える予混合圧縮自着火式内燃機関の縦断側面図,図2は図1中の可変動弁装置の斜視図,図3は図2の要部拡大図,図4は図1の4−4線拡大断面図,図5は図4の5−5線断面図,図6は図5の6−6線断面図,図7は図4に対応する作用説明図,図8は上記可変動弁装置における各種カムのリフト特性線図,図9は本発明の第2実施例を示す,図8との対応図,図10は本発明の第3実施例を示す,図4との対応断面図,図11は図9の11−11線断面図,図12は図10に対応する作用説明図,図13は図12の13−13線断面図,図14は第3実施例における各種カムのリフト特性線図である。
以下,本発明を予混合圧縮自着火式内燃機関に適用した実施例について説明する。先ず,図1〜図9に示す本発明の第1実施例の説明より始める。
図1及び図2において,予混合圧縮自着火式内燃機関(以下,単に内燃機関という。)Eの機関本体1は,クランクケース2,このクランクケース2の上部に連設され,シリンダボア3aを有するシリンダブロック3と,このシリンダブロック3の上端に接合され,シリンダボア3aに連なる燃焼室4aを有するシリンダヘッド4とを備えており,クランクケース2に支持されるクランク軸5にコンロッド6を介して連接されるピストン7がシリンダボア3aに嵌装される。
シリンダヘッド4には,それぞれ燃焼室4aに開口する吸気ポート10i及び排気ポート10eが形成されると共に,これらを開閉する吸気弁12i及び排気弁12eが設けられる。またシリンダヘッド4には,電極を燃焼室4aに臨ませる点火プラグ14が螺着される。この内燃機関Eの圧縮比は,通常の電気点火式内燃機関より大きく設定される。
さらに,シリンダヘッド4には,吸気ポート10iに吸気道を連ねると共に燃料噴射弁を備えるスロットルボディ(図示せず)が連結され,空気及び燃料の混合気を内燃機関Eに供給するようになっている。
前記吸気弁12i及び排気弁12eには,これらを開閉駆動すると共に,これら弁の開弁リフト及び開弁タイミングを制御する可変動弁装置15が連結される。この可変動弁装置15について次に説明する。
図1〜図4に示すように,クランク軸5から調時伝動装置8を介して1/2の減速比で駆動される動弁カム軸16がクランクケース2にベアリング21,22(図4参照)を介して回転自在に支持される。上記調時伝動装置8は,クランク軸5及び動弁カム軸16にそれぞれ固着される駆動ギヤ8a及び従動ギヤ8bで構成される。
動弁カム軸16上には,吸気弁12iの開閉を制御する第1吸気カム17i及び第2吸気カム18iが互いに隣接して,また排気弁12eの開閉を制御する第1排気カム17e及び第2排気カム18eが互いに隣接して配置される。その際,第1吸気カム17i及び第1排気カム17eは,互いに隣接して一体に成形され,もしくは連結されて,動弁カム軸16に一方向クラッチ19を介して支持される。この一方向クラッチ19は,動弁カム軸16の回転方向(図5参照)において,動弁カム軸16が第1吸気カム17i及び第1排気カム17eに対して先行回転することを許容するが,第1吸気カム17i及び第1排気カム17eが動弁カム軸16に対して先行回転することを阻止するようになっている。
また第2吸気カム18iは,第1吸気カム17iの外端面に隣接して動弁カム軸16に圧入等に一体的に結合され,第2排気カム18eは,第1排気カム17eの外端面に隣接して動弁カム軸16に圧入等に一体的に結合される。動弁カム軸16の一端部には,前記調時伝動装置8の従動ギヤ8bがスプライン嵌合して固着される。
図8に,上記第1,第2吸気カム17i,18i,並びに第1,第2排気カム17e,18eのリフト特性線図,換言すれば吸気弁12i及び排気弁12eの開弁特性が示される。それから明らかなように,第2吸気カム18iのプロファイルは,第1吸気カム17iのプロファイルの範囲に収まっており,また第1吸気カム17iは,第2吸気カム18iよりノーズ部の高さが大きく,さらに第2吸気カム18iのノーズ部の頂点は,第1吸気カム17iのノーズ部の頂点よりクランク角上,一定角度θi進角している。
また,第2排気カム18eのプロファイルは,第1排気カム17eのプロファイルの範囲に収まっており,また第1排気カム17eは,第2排気カム18eよりノーズ部の高さが大きく,さらに第2排気カム18eのノーズ部の頂点は,第1排気カム17eのノーズ部の頂点よりクランク角上,一定角度θe遅角している。
さらに,第1吸気カム17i及び第1排気カム17eが吸気弁12i及び排気弁12eの開閉を支配するときは,吸気弁12iの開き時期と排気弁12eの閉じ時期とが前後して,両弁12i,12e開弁期間が一定期間α重なるオーバーラップが生じるようになっている。即ち,吸気弁12iは上死点前に開き始め,排気弁12eは上死点後に閉じ終わるようになっている。
また第2吸気カム18i及び第2排気カム18eが吸気弁12i及び排気弁12eの開閉を支配するときは,吸気弁12iの開き時期と排気弁12eの閉じ時期とが一定期間β離れるネガティブオーバーラップが生じるようになっている。即ち,吸気弁12iは上死点後に開き始め,排気弁12eは上死点前に閉じ終わるようになっている。
再び図2〜図4において,動弁カム軸16に平行して支持軸20が機関本体1に回転自在に支持され,この支持軸20には吸気リフタ25i及び排気リフタ25eが揺動自在に支持され,吸気リフタ25iは,そのスリッパ部25aを第1吸気カム17i及び第2吸気カム18iの両外周面に摺接可能に配置され,その排気リフタ25eは,そのスリッパ部25aを第1排気カム17e及び第2排気カム18eの両外周面に摺接可能に配置される。
一方,シリンダヘッド4には,吸気及び排気弁12i,12eの各上端に各一端部を当接させる吸気及び排気ロッカアーム27i,27eが揺動自在に軸支され,これら吸気及び排気ロッカアーム27i,27eの各他端部に,吸気及び排気プッシュロッド28i,28eを介して上記吸気及び排気リフタ25i,25eが連接され,吸気及び排気リフタ25i,25eの揺動と,吸気及び排気弁12i,12eにそれぞれ装着された弁ばね29i,29eとの協働により吸気及び排気弁12i,12eを開閉するようになっている。
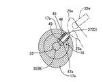
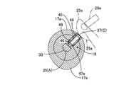
図4〜図7において,第1排気カム17eの,第2排気カム18eに対向する端面には,連結突起30aを残して優弧状の連結凹部30が,また第2排気カム18eの,第1排気カム17eに対向する端面には逃がし凹部31がそれぞれ形成される。
動弁カム軸16の中心部には,一端が閉じ栓32で閉鎖され,他端が開放される軸方向のロッドガイド孔33が,またその軸方向中間部には,ロッドガイド孔33を動弁カム軸16の外周面に連通する軸方向の長孔34がそれぞれ形成され,そのロッドガイド孔33には制御ロッド35が摺動自在に嵌挿され,この制御ロッド35の中間部には,その外周面から突出して前記長孔34を貫通し,そして前記連結凹部30及び逃がし凹部31に交互に進入し得る連結ピン36が固設される。閉じ栓32には,制御ロッド35の摺動時,ロッドガイド孔33内の空気の出入りを許す通気孔32aが設けられる。
制御ロッド35は,連結ピン36を連結凹部30に進入させる作動位置A(図4及び図5参照)と,連結ピン36を連結凹部30から離脱させて逃がし凹部31に進入させる不作動位置B(図7参照)との間でシフトされるもので,そのシフトのために,制御ロッド35にロッド戻しばね37と電磁アクチュエータ39とが連結される。そのロッド戻しばね37は,閉じ栓32と制御ロッド35の内端との間において,制御ロッド35を前記不作動位置B側に弾発付勢するように縮設され,電磁アクチュエータ39は機関本体1に取り付けられ,その出力プランジャ39aを,制御ロッド35の,ロッドガイド孔33から突出する外端に出力プランジャ39aを相対回転可能に当接させる。而して,電磁アクチュエータ39の作動時には,出力プランジャ39aがロッド戻しばね37の付勢力に抗し軸方向に前進して制御ロッド35を作動位置Aにシフトする。
図5及び図6に示すように,連結ピン36が連結凹部30側にシフトされ,第1排気カム17eに対し動弁カム軸16の回転方向に沿って回転して,連結凹部30に臨む連結突起30aに当接すると,動弁カム軸16の回転がこの連結ピン36を介して第1排気カム17e及び第1吸気カム17iに伝達されるようになり,この状態が第1吸気及び排気弁12i,12eの作動モードとなる。
第2排気カム18eの端面に形成される逃がし凹部31は環状をなしていて,連結凹部30から離脱した連結ピン36を収容するものであり,連結ピン36の連結凹部30からの離脱によれば,第1吸気及び排気カム17i,17eは,動弁カム軸16との連結を解かれて自由になり,この状態が第1吸気及び排気カム17i,17eの不作動モードとなる。
而して,上記電磁アクチュエータ39,ロッド戻しばね37,制御ロッド35,連結ピン36,連結凹部30及び逃がし凹部31は,第1吸気及び排気カム17i,17eの状態を作動モードと不作動モードとに交互に切換えるモード切換装置40を構成する。
電磁アクチュエータ39には,その作動を制御する電子制御ユニット42が接続される。この電子制御ユニット42は,機関温度,例えば機関本体1のウォータジャケットの水温を検出する温度センサ43の出力信号を受けて,機関温度が所定値未満の低温域にあると判別したときは,電磁アクチュエータ39及び点火プラグ14を共に作動状態に制御し,内燃機関Eの温度が所定値以上の高温域にあると判別したときは,電磁アクチュエータ39及び点火プラグ14を共に不作動状態に制御するようになっている。
この実施例の作用について説明する。
内燃機関Eの始動及び暖機運転時には,機関温度は所定の低温域にあるから,電子制御ユニット42は,電磁アクチュエータ39を作動状態にすると共に点火プラグ14をも作動状態にする。この電磁アクチュエータ39の作動により制御ロッド35は,図4に示すように,ロッド戻しばね37の付勢力に抗して作動位置Aにシフトされ,連結ピン36を第1排気カム17eの連結凹部30に係合させる。そして,この連結ピン36を連結凹部30の起立面30aに当接させたとき,第1排気カム17eは,この連結ピン36を介して動弁カム軸16と連結状態となる。この第1排気カム17eには,第1吸気カム17iが一体に連結されているから,これら第1吸気カム17i及び第1排気カム17eと,動弁カム軸16に固設されている第2吸気カム18i及び第2排気カム18eとは,動弁カム軸16と一体になって回転することになる。しかしながら,第1及び第2吸気カム17i,18iは,ベース円部では互いに面一になっているが,ノーズ部では,第1吸気カム17iの方が第2吸気カム18iより高くなっており,同じく第1及び第2排気カム17e,18eは,ベース円部では互いに面一になっているが,ノーズ部では,第1排気カム17eの方が第2排気カム18eより高くなっているため,第1吸気カム17i及び第1排気カム17eが優先的に吸気リフタ25i及び排気リフタ25eを揺動させて,吸気及び排気プッシュロッド28i,28eを上下動させ,吸気及び排気ロッカアーム27i,27eを介して吸気及び排気弁12i,12eを開閉することになる。
尚,連結ピン36が連結凹部30の起立面30aに当接したとき,当接衝撃により,第1吸気カム17i及び第1排気カム17eが動弁カム軸16に対して先行回転しようとしても,そのような先行回転は,第1吸気カム17i及び第1排気カム17eと動弁カム軸16との間に介装される一方向クラッチ19により阻止されるので,連結ピン36と連結凹部30の起立面30aとの当接状態を確実に保持することができる。
このように,内燃機関Eの始動及び暖機運転時には,第1吸気カム17i及び第1排気カム17eが吸気弁12i及び排気弁12eの開閉を支配するので,前述のように,吸気弁12iの開き時期と排気弁12eの閉じ時期とが前後して,両弁12i,12e開弁期間が一定期間α重なるオーバーラップが生じるようになり,吸気行程での掃気を確実に行わせ,点火プラグ14による火花点火によって,スムーズな始動及び暖機運転を可能にする。
内燃機関Eの暖機運転が終了すると,機関温度は所定の高温域に入るから,電子制御ユニット42は,電磁アクチュエータ39を不作動状態にすると共に点火プラグ14をも不作動状態にするので,機関Eを,電気点火運転から予混合圧縮自着火運転へと移すことになる。
而して,電磁アクチュエータ39が不作動状態になると,制御ロッド35は,図7に示すように,ロッド戻しばね37の付勢力をもって不作動位置Bにシフトされ,連結ピン36を前記連結凹部30から離脱させると同時に,第2排気カム18eの逃がし凹部31に収容させる。その結果,両者一体の第1吸気カム17i及び第1排気カム17eは,動弁カム軸16との連結を解かれ,最早,吸気リフタ25i及び排気リフタ25eを揺動し得なくなるため,今度は,動弁カム軸16と一体回転する第2吸気カム18i及び第2排気カム18eが,吸気リフタ25i及び排気リフタ25eを揺動させて,吸気及び排気プッシュロッド28i,28eを上下動させ,吸気及び排気ロッカアーム27i,27eを介して吸気及び排気弁12i,12eを開閉することになる。
このように予混合圧縮自着火運転状態では,第2吸気カム18i及び第2排気カム18eが吸気弁12i及び排気弁12eの開閉をそれぞれ支配するので,前述のように,吸気弁12iの開き時期と排気弁12eの閉じ時期とが一定期間β離れるネガティブオーバーラップが生じるようになり,内燃機関Eのポンピングロスを減少させて低燃費性を向上を向上させると共に,排気行程で燃焼室4a内に既燃ガスを残留させることができる。この残留既燃ガスは,次の吸気行程で新規の混合気に混合して,その混合気温度を効果的に高め,予混合圧縮自着火を確実にすると共に,その混合気の燃焼時にはNOxの発生を抑えることに寄与する。
ところで,可変動弁装置15では,モード切換装置40により,第1吸気及び排気カム17i,17eを動弁カム軸16に連結する作動モードと,それらの連結を解除する不作動モードとを交互に切り換えるという,簡単な構成により,吸気弁12i及び排気弁12eに対する第1吸気及び排気カム17i,17e及び第2吸気及び第2排気カム17i,17eの一方の作動を交互に選択して,吸気及び排気弁12i,12eに機関Eの運転状況に応じた所望の開弁リフトや開閉タイミングを付与することができる。しかも,制御ロッド35を動弁カム軸16内のロッドガイド孔33に配設したことで,モード切換装置40のコンパクト化を図ることができる。
次に,図9に示す本発明の第2実施例について説明する。
この第2実施例では,第1吸気カム17iは,これによる吸気弁12iの閉じ時期が,圧縮行程後半にくるように形成され,圧縮行程で燃焼室4aから吸気ポート10iへの吸気吹き戻しが生じるようになっている。これによれば,始動,暖機運転時の有効圧縮比を,予混合圧縮自着火運転用に設定された高圧縮比より,始動,暖機運転に適する圧縮比に低減することができ,始動,暖機運転を的確に行うことができる。また,暖機運転時には,吸気吹き戻しにより,吸気ポート10iを加熱することから,次々吸気行程での吸気温度を高めて,機関Eの暖機を促進して,その暖機運転時間の短縮を図ることができる。その結果,暖機運転から予混合圧縮自着火運転への移行を極力早めることができる。その他の構成は,前実施例と同様であるので,図9中,前実施例と対応する部分には同一の参照符号を付して,重複する説明を省略する。
次に,図10〜図14に示す本発明の第3実施例について説明する。
図10において,動弁カム軸16には,第1吸気カム17iが一方向クラッチ19を介して回転自在に設けられると共に,この第1吸気カム17iに隣接する第2吸気カム18iが圧入等により固設される。この第2吸気カム18iには,前実施例の第1排気カム17eと同一プロファイルの単一の排気カム17eが一体に形成されている。したがって,この排気カム17eも,第2吸気カム18iと共に動弁カム軸16に固設されることになる。第1及び第2吸気カム17i,18iの外周面には,前実施例と同様に幅広の吸気リフタ25iが摺接可能に配置されるが,排気カム17eの外周面には,幅狭の排気リフタ25eが摺接可能に配置される。これら吸気及び排気リフタ25i,25eから吸気及び排気弁12i,12e(図2参照)までの連動機構は,前実施例と同様である。
第1吸気カム17iの外端端面には,前実施例と同様な連結突起30aが形成される。また動弁カム軸16の中心部のロッドガイド孔33に摺動自在に嵌挿される制御ロッド35には,動弁カム軸16の長孔34を貫通して前記連結突起30aに当接し得る連結ピン36が固設される。
制御ロッド35は,連結ピン36を連結突起30aに当接させる作動位置A(図10参照)と,連結ピン36を連結突起30aから離脱させる不作動位置B(図12参照)との間でシフトされるもので,そのシフトのために,制御ロッド35には,ロッド戻しばね37と電磁アクチュエータ39とが連結される。ロッド戻しばね37は,閉じ栓32と制御ロッド35の内端との間において,制御ロッド35を前記作動位置A側に弾発付勢するように縮設され,電磁アクチュエータ39は機関本体1に取り付けられ,その出力プランジャ39aを,制御ロッド35の,ロッドロッドガイド孔33から突出する外端に相対回転可能に当接させる。而して,電磁アクチュエータ39の作動時には,その出力プランジャ39aがロッド戻しばね37の付勢力に抗し軸方向に前進して制御ロッド35を不作動位置Bにシフトする。
この第3実施例の場合,電磁アクチュエータ39に接続される電子制御ユニット42は,機関温度を検出する温度センサ43の出力信号を受けて,機関温度が所定値未満の低温域にあると判別したときは,電磁アクチュエータ39を不作動にする一方,点火プラグ14(図1参照)を作動状態に制御し,内燃機関Eの温度が所定値以上の高温域にあると判別したときは,電磁アクチュエータ39を作動状態に制御する一方,点火プラグ14を不作動状態に制御するようになっている。
動弁カム軸16及び排気カム17eには,動弁カム軸16のロッドガイド孔33から排気カム17eのベース円部17eaに達する横孔45が設けられ,また制御ロッド35の外周面には,上記横孔45との対応位置にカム溝46が設けられ,このカム溝46に内端を係合させる円柱状の排気還流カム47が横孔45に摺動自在に嵌合される。排気還流カム47は,その中間部にフランジ47aを有しており,このフランジ47aと,排気カム17eのベース円部17eaに圧入されるリテーナ48との間に,排気還流カム47を制御ロッド35側に付勢するピン戻しばね49が縮設される。
前記カム溝46は,制御ロッド35が前記作動位置A(連結ピン36を第1吸気カム17iの連結突起30aに当接させる位置)にシフトされたときには,その溝底46aに排気還流カム47を受け入れて,排気還流カム47を排気カム17eのベース円部17eaから退去させる退去位置C(図10及び図11参照)を排気還流カム47に与え,また制御ロッド35が前記不作動位置B(連結ピン36を第1吸気カム17iの連結突起30aから離脱させる位置)にシフトされたときには,該カム溝46の一端の斜面46bにより排気還流カム47を半径方向へ押し出して,排気還流カム47をベース円部17eaから一定量突出させる突出位置D(図12及び図13参照)を排気還流カム47に与えるようになっており,その突出位置Dでは,機関Eの吸気行程中に排気リフタ25eを押し上げて排気弁12eを開くようになっている。このときの排気還流カム47の突出長さは,排気カム17eのノーズ部の高さより小さく設定される。
図14に,上記第1,第2吸気カム17i,18i,排気カム17e及び排気還流カム47のリフト特性線図,換言すれば吸気弁12i及び排気弁12eの開弁特性が示される。それからも明らかなように,第1及び第2吸気カム17i,18iのプロファイルは,前実施例の第1及び第2吸気カム17i,18iのそれと同じであり,排気カム17eのプロファイルは,前実施例の第1排気カム17eのそれと同じである。また排気還流カム47は,吸気行程の中間時期に排気弁12eを僅かに開くようになっている。
その他の構成は,前記実施例と同様であるので,図10〜図14中,前実施例と対応する部分には同一の参照符号を付して,重複する説明を省略する。
この第3実施例の作用について説明する。
内燃機関Eの始動及び暖機運転時には,機関温度は所定の低温域にあるから,電子制御ユニット42は,電磁アクチュエータ39を不作動状態にする一方,点火プラグ14を作動状態にする。この電磁アクチュエータ39の不作動状態によれば,制御ロッド35は,図10に示すように,ロッド戻しばね37の付勢力により作動位置Aにシフトされ,連結ピン36を第1吸気カム17iの連結突起30aに当接させるので,連結ピン36を介して第1吸気カム17iは動弁カム軸16と連結される。
ところで,第1及び第2吸気カム17i,18iは,ベース円部では互いに面一になっているが,ノーズ部では,第1吸気カム17iの方が第2吸気カム18iより高くなっているため,第1吸気カム17iが優先的に吸気リフタ25iを揺動させて,吸気プッシュロッド28iを上下動させ,ロッカアーム27iを介して吸気弁12iを開閉することになる。
一方,動弁カム軸16と常時一体回転する排気カム17eは,前実施例の第1排気カム17eと同様のカムプロファイルを有するので,結局,内燃機関Eの始動及び暖機運転時には,上記第1吸気カム17i及び排気カム17が吸気弁12i及び排気弁12eの開閉を支配し,吸気弁12iの開き時期と排気弁12eの閉じ時期とが前後して,両弁12i,12e開弁期間が一定期間α重なるオーバーラップが生じるようになり,吸気行程での掃気を確実に行わせ,点火プラグ14による火花点火によって,スムーズな始動及び暖機運転を可能にする。
内燃機関Eの暖機運転が終了すると,機関温度は所定の高温域に入るから,電子制御ユニット42は,電磁アクチュエータ39を作動状態にすると共に点火プラグ14をも不作動状態にするので,機関Eを,電気点火運転から予混合圧縮自着火運転へと移すことになる。
而して,電磁アクチュエータ39の作動によれば,図12に示すように,制御ロッド35を不作動位置Bにシフトして,連結ピン36を前記連結突起30aから離脱させる。その結果,第1吸気カム17iは,動弁カム軸16との連結を解かれ,最早,吸気リフタ25iを揺動し得なくなるため,今度は,動弁カム軸16と一体回転する第2吸気カム18iとが,吸気リフタ25iを揺動させ,吸気プッシュロッド28iを上下動させ,吸気ロッカアーム27iを介して吸気弁12iを開閉することになる。一方,動弁カム軸16に固設される排気カム17eは,暖機運転時と変わらず,継続的に排気弁12eを開閉する。
また,制御ロッド35が,電磁アクチュエータ39の作動により不作動位置にシフトされると,この制御ロッド35のカム溝46の斜面46bにより,排気還流カム47を排気カム17eのベース円部17eaから突出する突出位置Dに作動するので,機関Eの吸気行程中,僅かな一定期間,この排気還流カム47が排気リフタ25eを揺動させて排気弁12eを微小開度開き,排気ポート10eに残留する排ガスを適量,燃焼室4aに導入することができる。
上記のように,予混合圧縮自着火運転状態では,第2吸気カム18i及び排気カム18が吸気弁12i及び排気弁12eの開閉をそれぞれ支配するので,吸気弁12i及び排気弁12eのオーバーラップ期間αが極短く,もしくは略ゼロとなり,内燃機関Eのポンピングロスを減少させて,低燃費性を向上させることができる。しかも,吸気行程では,排気ポート10eから適量導入した排ガスが新規の混合気に混合して,その混合気温度を効果的に高め,予混合圧縮自着火を確実にすると共に,その混合気の燃焼時にはNOxの発生を抑えることができる。
ところで,この第3実施例によれば,可変動弁装置15では,モード切換装置40により,第1吸気カム17iのみを動弁カム軸16に連結する作動モードと,その連結を解除する不作動モードとを交互に切り換えるという,更に簡単な構成により,機関Eの運転状況に応じて吸気及び排気弁12i,12e相互に所望の開弁リフトや開閉タイミングを付与することができる。
また,予混合圧縮自着火運転状態では,第1吸気カム17iのみを動弁カム軸16に連結するだけで,吸気弁12i及び排気弁12eのオーバーラップ期間αを極短く,もしくは略ゼロとすることができる上,排気カム17eに,制御ロッド35の不作動位置Bへの移動に連動する排気還流カム47を設けたので,単一の排気カム17eを使用しながら,排気還流効果を得ることができる。
本発明は,上記実施例に限定されるものではなく,その要旨を逸脱しない範囲で種々の設計変更が可能である。例えば,可変動弁装置は,吸気弁12i及び排気弁12eの何れか一方のみへの適用も可能である。また電動モータ36に代えて,電磁式や油圧式のアクチュエータを使用することもできる。また請求項1及び2記載の可変動弁装置は,上記実施例とは異なる形式の内燃機関にも適用可能である。また連結突起30aを,連結ピン36がガタ無く係合し得る溝に置き換えて,一方向クラッチ19を単純なベアリングとすることもできる。
本発明の第1実施例に係る可変動弁装置を備える予混合圧縮自着火式内燃機関の縦断側面図。 図1中の可変動弁装置の斜視図。 図2の要部拡大図。 図1の4−4線拡大断面図。 図4の5−5線断面図。 図5の6−6線断面図。 図4に対応する作用説明図。 上記可変動弁装置における各種カムのリフト特性線図。 本発明の第2実施例を示す,図8との対応図。 本発明の第3実施例を示す,図4との対応断面図。 図9の11−11線断面図。 図10に対応する作用説明図。 図12の13−13線断面図。 第3実施例における各種カムのリフト特性線図。
符号の説明
E・・・・・内燃機関(予混合圧縮自着火式内燃機関)
12i,12e・・・機関弁(吸気弁,排気弁)
15・・・・可変動弁装置
16・・・・動弁カム軸
17i,17e・・・第1カム(第1吸気カム,第1排気カム)
18i,18e・・・第2カム(第2吸気カム,第2排気カム)
30a・・・連結部(連結突起)
33・・・・ロッドガイド孔
35・・・・制御ロッド
36・・・・連結ピン
39・・・・アクチュエータ(電磁アクチュエータ)
40・・・・モード切換装置
47・・・・排気還流カム

Claims (5)

  1. 動弁カム軸(16)に,第1カム(17i,17e)と,この第1カム(17i,17e)よりリフトが低い第2カム(18i,18e)とを併設し,これら第1カム及び第2カムの一方の作動を交互に選択し,その選択したカムの作動により機関弁(12i,12e)を開閉するようにした,内燃機関の可変動弁装置において,
    第1カム(17i,17e)を動弁カム軸(16)に相対回転可能に設ける一方,第2カム(18i,18e)を動弁カム軸(16)に固設し,第1カム(17i,17e)には,この第1カム(17i,17e)を動弁カム軸(16)に連結する作動モードと,その連結を解除する不作動モードとに交互に切り換え得るモード切換装置(40)を連結したことを特徴とする,内燃機関の可変動弁装置。
  2. 請求項1記載の内燃機関の可変動弁装置において,
    前記モード切換装置(40)を,アクチュエータ(39)と,動弁カム軸(16)中心部のロッドガイド孔(33)に摺動自在に嵌挿されていて,前記アクチュエータ(39)により作動位置(A)及び不作動位置(B)間でシフトされる制御ロッド(35)と,第1カム(17i,17e)に設けられる連結部(30a)と,前記制御ロッド(35)の外周面に突設され,該制御ロッド(35)の作動位置(A)では前記連結部(30a)に係合して動弁カム軸(16)及び第1カム(17i,17e)間を連結し,該制御ロッド(35)の不作動位置(B)では前記連結部(30a)から離脱して第1カム(17i,17e)を動弁カム軸(16)との連結から解放する連結ピン(36)とで構成したことを特徴とする,内燃機関の可変動弁装置。
  3. 請求項1又は2記載の内燃機関の可変動弁装置において,
    前記機関弁を,電気点火可能な予混合圧縮自着火式内燃機関(E)の吸気弁(12i)及び排気弁(12e)とし,前記第1カムを,これにより吸気弁(12i)及び排気弁(12e)を開閉するとき,それらの開弁期間が一定期間(α)重なるオーバーラップ(α)が発生するように第1及び排気カム(17i,17e)で構成し,また前記第2カム(18i,18e)を,これにより吸気弁(12i)及び排気弁(12e)を開閉するとき,吸気弁(12i)の開き時期と排気弁(12e)の閉じ時期とが一定期間(β)離れるネガティブオーバーラップが発生するように第2吸気及び排気カム(18i,18e)で構成し,機関(E)の始動及び暖機運転時には前記第1吸気及び第1排気カム(17i,17e)を作動モードに,また暖機完了後には該第1吸気及び排気カム(17i,17e)を不作動モードにするように前記モード切換装置(40)を制御することを特徴とする,内燃機関の可変動弁装置。
  4. 請求項3記載の内燃機関の可変動弁装置において,前記第1吸気カム(17i)を,これによる前記吸気弁(12i)の閉じ時期が圧縮行程後半にくるように形成して,圧縮行程で燃焼室(4a)から吸気ポート(10i)への吸気吹き戻しが生じるようにしたことを特徴とする,内燃機関の可変動弁装置。
  5. 請求項1又は2記載の内燃機関の可変動弁装置において,
    前記第1及び第2カム(17i,17e;18i,18e)の作動の選択により,電気点火可能な予混合圧縮自着火式内燃機関(E)の吸気弁(12i)を開閉するようにする一方,動弁カム軸(16)に固設した排気カム(17e)の作動により同内燃機関(E)の排気弁(12e)を開閉するようにし,この排気カム(17e)には,そのベース円部(17ea)外方に突出して排気弁(12e)を,排気カム(17e)の通常リフトより小さいリフトで開放し得る突出位置(C)と,そのベース円部(17ea)内方に退去する退去位置(D)との間を移動する排気還流カム(47)を設け,この排気還流カム(47)を前記モード切換装置(40)に連結して,前記第1カム(17i,17e)の作動モード時には該排気還流カム(47)を退去位置(D)に,前記第1カム(17i,17e)の不作動モード時には該排気還流カム(47)を突出位置(C)にシフトするようにし,機関(E)の始動及び暖機運転時には前記第1カム(17i,17e)を作動モードに,また暖機完了後には前記第1カム(17i,17e)を不作動モードにするように前記モード切換装置(40)を制御することを特徴とする,内燃機関の可変動弁装置。
JP2008231265A 2008-09-09 2008-09-09 予混合圧縮自着火式内燃機関の可変動弁装置 Expired - Fee Related JP5142896B2 (ja)

Priority Applications (1)

Application Number Priority Date Filing Date Title
JP2008231265A JP5142896B2 (ja) 2008-09-09 2008-09-09 予混合圧縮自着火式内燃機関の可変動弁装置

Applications Claiming Priority (1)

Application Number Priority Date Filing Date Title
JP2008231265A JP5142896B2 (ja) 2008-09-09 2008-09-09 予混合圧縮自着火式内燃機関の可変動弁装置

Publications (2)

Publication Number Publication Date
JP2010065565A true JP2010065565A (ja) 2010-03-25
JP5142896B2 JP5142896B2 (ja) 2013-02-13

Family

ID=42191359

Family Applications (1)

Application Number Title Priority Date Filing Date
JP2008231265A Expired - Fee Related JP5142896B2 (ja) 2008-09-09 2008-09-09 予混合圧縮自着火式内燃機関の可変動弁装置

Country Status (1)

Country Link
JP (1) JP5142896B2 (ja)

Cited By (1)

* Cited by examiner, † Cited by third party
Publication number Priority date Publication date Assignee Title
US10473044B2 (en) 2017-02-14 2019-11-12 Toyota Jidosha Kabushiki Kaisha Control device for internal combustion engine

Citations (8)

* Cited by examiner, † Cited by third party
Publication number Priority date Publication date Assignee Title
JPS62131907A (ja) * 1985-12-04 1987-06-15 Mazda Motor Corp エンジンのバルブ駆動装置
JPH01138309A (ja) * 1987-11-24 1989-05-31 Mazda Motor Corp エンジンの動弁装置
JPH02135608U (ja) * 1989-04-12 1990-11-13
JP2002081303A (ja) * 2000-09-07 2002-03-22 Suzuki Motor Corp エンジンのバルブ駆動装置
JP2002371820A (ja) * 2001-06-15 2002-12-26 Kawasaki Heavy Ind Ltd 内燃機関のデコンプ装置
JP2004011539A (ja) * 2002-06-07 2004-01-15 Nissan Motor Co Ltd 圧縮自己着火式内燃機関の制御装置
JP2005240793A (ja) * 2004-01-26 2005-09-08 Honda Motor Co Ltd 内燃機関の動弁装置
JP2008106690A (ja) * 2006-10-26 2008-05-08 Toyota Motor Corp 筒内噴射式火花点火内燃機関

Patent Citations (8)

* Cited by examiner, † Cited by third party
Publication number Priority date Publication date Assignee Title
JPS62131907A (ja) * 1985-12-04 1987-06-15 Mazda Motor Corp エンジンのバルブ駆動装置
JPH01138309A (ja) * 1987-11-24 1989-05-31 Mazda Motor Corp エンジンの動弁装置
JPH02135608U (ja) * 1989-04-12 1990-11-13
JP2002081303A (ja) * 2000-09-07 2002-03-22 Suzuki Motor Corp エンジンのバルブ駆動装置
JP2002371820A (ja) * 2001-06-15 2002-12-26 Kawasaki Heavy Ind Ltd 内燃機関のデコンプ装置
JP2004011539A (ja) * 2002-06-07 2004-01-15 Nissan Motor Co Ltd 圧縮自己着火式内燃機関の制御装置
JP2005240793A (ja) * 2004-01-26 2005-09-08 Honda Motor Co Ltd 内燃機関の動弁装置
JP2008106690A (ja) * 2006-10-26 2008-05-08 Toyota Motor Corp 筒内噴射式火花点火内燃機関

Cited By (1)

* Cited by examiner, † Cited by third party
Publication number Priority date Publication date Assignee Title
US10473044B2 (en) 2017-02-14 2019-11-12 Toyota Jidosha Kabushiki Kaisha Control device for internal combustion engine

Also Published As

Publication number Publication date
JP5142896B2 (ja) 2013-02-13

Similar Documents

Publication Publication Date Title
CN102333937B (zh) 内燃机的可变动阀装置
JP5126426B2 (ja) 内燃機関の制御装置
JP4907416B2 (ja) 内燃機関の可変動弁装置
US7481199B2 (en) Start control apparatus of internal combustion engine
EP2479389B1 (en) Valve gear of internal combustion engine
CN102449275A (zh) 用于内燃机的可变阀致动设备
US20160076436A1 (en) Variable combustion system for an internal combustion engine
US20090159027A1 (en) Variable valve actuating apparatus for internal combustion engine, and controller for variable valve actuating apparatus
JP5654940B2 (ja) 可変動弁装置のコントローラ及び内燃機関の可変動弁装置
JP2009030584A (ja) 内燃機関の制御装置
JPWO2010052769A1 (ja) 内燃機関の動弁装置
JP2012036864A (ja) 内燃機関の可変動弁装置と、内燃機関の始動システム及び内燃機関の始動制御装置
CN101874155B (zh) 废气再循环器件、阀门切换器件和凸轮切换器件
JP5142896B2 (ja) 予混合圧縮自着火式内燃機関の可変動弁装置
JP2012007596A (ja) 内燃機関の可変動弁装置
KR101648620B1 (ko) 내연 기관의 가변 밸브 작동 장치
JP2005083238A (ja) 内燃機関
JP4327696B2 (ja) バルブ特性可変装置付き動弁機構
JP2005090348A (ja) エンジンの動弁装置
JP4616225B2 (ja) 内燃機関の動弁装置
JP2006097602A (ja) 可変動弁機構
JP3885519B2 (ja) 気筒制御式エンジンの弁休止装置
JP5020909B2 (ja) 内燃機関の可変動弁装置
JP2008069671A (ja) 内燃機関の排気還流装置
WO2010055588A1 (ja) 内燃機関の可変動弁装置

Legal Events

Date Code Title Description
A621 Written request for application examination

Free format text: JAPANESE INTERMEDIATE CODE: A621

Effective date: 20101126

A977 Report on retrieval

Free format text: JAPANESE INTERMEDIATE CODE: A971007

Effective date: 20120130

A131 Notification of reasons for refusal

Free format text: JAPANESE INTERMEDIATE CODE: A131

Effective date: 20120209

A521 Request for written amendment filed

Free format text: JAPANESE INTERMEDIATE CODE: A523

Effective date: 20120409

TRDD Decision of grant or rejection written
A01 Written decision to grant a patent or to grant a registration (utility model)

Free format text: JAPANESE INTERMEDIATE CODE: A01

Effective date: 20121107

A01 Written decision to grant a patent or to grant a registration (utility model)

Free format text: JAPANESE INTERMEDIATE CODE: A01

A61 First payment of annual fees (during grant procedure)

Free format text: JAPANESE INTERMEDIATE CODE: A61

Effective date: 20121120

FPAY Renewal fee payment (event date is renewal date of database)

Free format text: PAYMENT UNTIL: 20151130

Year of fee payment: 3

R150 Certificate of patent or registration of utility model

Ref document number: 5142896

Country of ref document: JP

Free format text: JAPANESE INTERMEDIATE CODE: R150

Free format text: JAPANESE INTERMEDIATE CODE: R150

R250 Receipt of annual fees

Free format text: JAPANESE INTERMEDIATE CODE: R250

LAPS Cancellation because of no payment of annual fees