JP2010064756A - 段ボール製梱包具 - Google Patents

段ボール製梱包具 Download PDF

Info

Publication number
JP2010064756A
JP2010064756A JP2008230424A JP2008230424A JP2010064756A JP 2010064756 A JP2010064756 A JP 2010064756A JP 2008230424 A JP2008230424 A JP 2008230424A JP 2008230424 A JP2008230424 A JP 2008230424A JP 2010064756 A JP2010064756 A JP 2010064756A
Authority
JP
Japan
Prior art keywords
side plate
cut
unpacking
height direction
packaging tool
Prior art date
Legal status (The legal status is an assumption and is not a legal conclusion. Google has not performed a legal analysis and makes no representation as to the accuracy of the status listed.)
Granted
Application number
JP2008230424A
Other languages
English (en)
Other versions
JP5399667B2 (ja
Inventor
Kenji Otani
健二 大谷
Current Assignee (The listed assignees may be inaccurate. Google has not performed a legal analysis and makes no representation or warranty as to the accuracy of the list.)
Pack Corp
Original Assignee
Pack Corp
Priority date (The priority date is an assumption and is not a legal conclusion. Google has not performed a legal analysis and makes no representation as to the accuracy of the date listed.)
Filing date
Publication date
Application filed by Pack Corp filed Critical Pack Corp
Priority to JP2008230424A priority Critical patent/JP5399667B2/ja
Publication of JP2010064756A publication Critical patent/JP2010064756A/ja
Application granted granted Critical
Publication of JP5399667B2 publication Critical patent/JP5399667B2/ja
Active legal-status Critical Current
Anticipated expiration legal-status Critical

Links

Images

Landscapes

  • Package Frames And Binding Bands (AREA)
  • Packaging Of Machine Parts And Wound Products (AREA)
  • Cartons (AREA)

Abstract

【課題】簡単に開梱できる段ボール製梱包具を提供する。
【解決手段】本発明は、いずれか1つの側板部が、開梱用側板部11に構成され、開梱用側板部11における中間部一方寄りの位置に、開梱時に開口されている切り開き開始部2が設けられ、開梱用側板部11に、上端縁から切り開き開始部2の上端にかけて上側破断誘導線3が設けられ、開梱用側板部11に、下端縁から切り開き開始部2にかけて下側破断誘導線4が設けられ、上下両側破断誘導線3,4および切り開き開始部2を境界線にして、開梱用側板部11が周方向に区分けされて、その他方側の領域が切り開き領域10として構成され、切り開き領域10が外側に開き操作されることにより、開梱用側板部11が上下両側破断誘導線3,4に沿って破断されて周方向に切り離されるように構成されている。
【選択図】図4

Description

この発明は、梱包製品をその周囲を覆うように梱包する段ボール製梱包具に関する。
家電製品等は、設置場所に到着するまでは、段ボール製の梱包具によって梱包されており、設置場所周辺において、段ボール製梱包具を開梱するのが通例である。
また下記特許文献1には、冷蔵庫、洗濯機等のような背の高い大型製品を梱包するための段ボール製梱包具が開示されているが、このような大型製品においても、上記と同様に、設置場所周辺で、梱包具を開梱するようにしている。
ところで、このような大型製品の梱包具を開梱する場合には例えば、大型製品に対し梱包具を上方へ抜き取って、梱包具を取り外したり、あるいはカッターナイフ等を用いて、梱包具を切り裂いて、梱包具を取り外すのが一般的である。
特開2007−246118号
しかしながら、梱包具を上方へ抜き取る場合には、製品の背丈が高いと、梱包具を製品の背丈よりも高い位置まで持ち上げる必要があるため、梱包具の持ち上げ量が非常に多くなり、開梱するのが困難になる、という問題があった。そればかりか、屋内の場合には、梱包具を製品上端から抜き取る際に、梱包具が天井に当たって、梱包具を簡単に抜き取ることができないこともある。
またカッターナイフによって梱包具を切り裂く場合には、カッターナイフで梱包製品を傷付けないように、梱包具を慎重にゆっくりと切り裂いていく必要があり、作業者にとって負担が大きく、簡単に開梱することができない、という問題が発生する。
この発明は、上記の課題に鑑みてなされたものであり、大型製品を梱包するように構成しても、簡単かつ確実に開梱することができる段ボール製梱包具を提供することを目的とする。
上記目的を達成するため、本発明は以下の構成を要旨とするものである。
[1] 3枚以上複数の側板部が、梱包製品の周囲を閉塞し得る態様に周方向に連設されるとともに、各側板部が、段目方向を梱包製品の高さ方向に対応させた段ボールによって構成される段ボール製梱包具であって、
前記複数の側板部のうちいずれか1つの側板部が、開梱用側板部として構成され、
前記開梱用側板部に、高さ方向中間部における周方向一方寄りの位置に、切り開き開始部が設けられ、
前記開梱用側板部に、その上端縁の周方向他方寄りの位置から、前記切り開き開始部の上端にかけて斜め方向に沿って上側破断誘導線が設けられるとともに、
前記開梱用側板部に、その下端縁の周方向他方寄りの位置から、前記切り開き開始部の下端にかけて斜め方向に沿って下側破断誘導線が設けられ、
前記上下両側破断誘導線および前記切り開き開始部を境界線にして、前記開梱用側板部が周方向に区分けされて、その他方側の領域が切り開き領域として構成され、
開口された状態の前記切り開き開始部に対応する部分を起点にして、前記切り開き領域が外側に開き操作されることにより、前記開梱用側板部が前記上下両側破断誘導線に沿って破断されて周方向に切り離されるように構成されたことを特徴とする段ボール製梱包具。
[2] 前記切り開き開始部は、その一部が予め開口された開口部として構成されるとともに、残りの部分が、切取操作によって開口可能な切取許容部として構成される前項1に記載の段ボール製梱包具。
[3] 前記上下両側破断誘導線の少なくとも一方の破断誘導線の一部に、高さ方向に対し平行な高さ方向直線部が設けられる前項1または2に記載の段ボール製梱包具。
[4] 前記上下両側破断誘導線の各一部に、高さ方向に対し平行な高さ方向直線部がそれぞれ設けられるとともに、各高さ方向直線部が、互いに周方向に位置をずらせて配置される前項1〜3のいずれか1項に記載の段ボール製梱包具。
[5] 前記上側破断誘導線の上端が、前記開梱用側板部の上端縁における他方側の端部に配置される前項1〜4のいずれか1項に記載の段ボール製梱包具。
[6] 前記上側破断誘導線の上端を含む上側部に、高さ方向に対し傾斜する斜め方向直線部が設けられる前項5に記載の段ボール製梱包具。
[7] 前記下側破断誘導線の下端が、前記開梱用側板部の下端縁における他方側の端部に配置される前項1〜6のいずれか1項に記載の段ボール製梱包具。
[8] 前記下側破断誘導線の下端を含む下側部に、高さ方向に対し傾斜する斜め方向直線部が設けられる前項7に記載の段ボール製梱包具。
[9] 前記切り開き開始部は、その少なくとも一部に、切取操作によって開口可能な切取許容部が設けられ、
前記切取許容部は、高さ方向に延びる縦長帯状に形成されるとともに、その切取許容部の両側縁に沿って中間破断誘導線が設けられ、
前記切取許容部は、その上下両端のいずれか一方を起点にして、外側に引張操作されることにより、切り取られるように構成され、
前記切取許容部に、周方向に延びる折れ曲げ線が、高さ方向に間隔をおいて複数設けられる前項1〜8のいずれか1項に記載の段ボール製梱包具。
[10] 隣り合う側板部の各間のうち、いずれかの側板部間が継ぎ合わされて連設されるとともに、継ぎ合わされた2つの側板部のいずれか一方が、前記開梱用側板部として構成される前項1〜9のいずれか1項に記載の段ボール製梱包具。
なお本発明においては、以下の好適な構成も採用することができる。
[11] 梱包製品の外面に、梱包製品に関連した情報が表示された情報表示部が設けられ、その情報表示部に対応して前記開口部が配置される前項2に記載の段ボール製梱包具。
[12] 複数の側板部のうち、前記開梱用側板部を除く側板部が、梱包具の荷積み配送時における接地面に構成される前項1〜11のいずれか1項に記載の段ボール製梱包具。
[13] 前記側板部が、3枚の平板紙の各間に波板紙がそれぞれ介在された2層構造の強化段ボールによって構成される前項1〜12のいずれか1項に記載の段ボール製梱包具。
発明[1]の段ボール製梱包具によれば、開梱時には、開梱用側板部の切り開き領域を周方向に沿って開き操作するだけで簡単に、開梱用側板部を周方向に切り離すことができて確実に開梱することができる。
発明[2]の段ボール製梱包具によれば、開梱時における切り開き開始部の開口寸法を十分大きく確保することができ、開梱作業をより一層簡単に行うことができる。
発明[3]の段ボール製梱包具によれば、背の高い大型製品を梱包できるように構成したとしても、上記と同様に簡単かつ確実に開梱することができる。
発明[4]の段ボール製梱包具によれば、高さ方向に平行な複数の破断誘導線が、直列に配置されることがなく、十分な強度を確保することができる。
発明[5]〜[8]の段ボール製梱包具によれば、強度が低下するのを防止することができる。
発明[9]の段ボール製梱包具によれば、切取許容部をスムーズに切り取ることができて、切り開き開始部を確実に開口することができる。
発明[10]の段ボール製梱包具によれば、強度が低下するのを、より確実に防止することができる。
好適構成[11]の段ボール製梱包具によれば、梱包状態において、開口部を介して製品情報表示部を視認することができ、開梱せずに梱包製品の情報を正確に把握することができる。
好適構成[12]の段ボール製梱包具によれば、破損や破裂等の不具合を防止しつつ、トラック荷台等に対する積み卸し作業を支障なく行うことができる。
好適構成[13]の段ボール製梱包具によれば、より一層高い強度を得ることができる。
図1〜4はこの発明の第1実施形態である段ボール製梱包具を示す図である。これらの図に示すように、この段ボール製梱包具(1)は、高さが2m以上もある電気式室外給湯機(自然冷媒ヒートポンプ給湯機)の貯湯ユニット(貯湯タンク)を梱包するものである。この梱包具(1)は、梱包製品における前後左右の周囲4面を閉塞するための4枚の縦長の側板部(11)〜(14)を備えている。各側板部(11)〜(14)は、隣り合う側板部間の折り曲げ線(15)に沿って90°折り曲げられることにより、周方向に連設される態様に並んで配置され、全体として縦長の角筒状に形成されている。
なお本第1実施形態において、上下左右等の各方向は、図1の方向を基準としている。すなわち同図の紙面に向かって、左右方向を「左右方向(周方向)」、右側を「右側(一方側)」とし、左側を「左側(他方側)」とし、上下方向は「上下方向(高さ方向)」として説明する。
さらに第1実施形態では、発明の理解を容易にするため、図1において、左端の側板部(11)を「前側板部」、左から2番目の側板部(12)を「右側板部」、左から3番目の側板部(13)を「後側板部」、右端の側板部(14)を「左側板部」として説明する。
各側板部(11)〜(14)は、3枚の平板紙(ライナー原紙)と、2枚の波板紙(中しん原紙)とが交互に積層された、いわゆる「表紙+中しん+中紙+中しん+裏紙」タイプの2層構造の強化段ボールによって構成されている。さらに各側板部(11)〜(14)は、段目方向を高さ方向に一致させ、流れ方向(波寄せ方向)を周方向(左右方向)に一致させるように構成されている。
側板部(11)〜(14)のうち、前側板部(11)と、左側板部(14)とは継ぎ合わされている。すなわち前側板部(1)の左側縁部には、継ぎ代(15)が設けられ、この継ぎ代(16)が左側板部(14)の右側縁部に重ね合わせた状態で貼り付けられている。
本実施形態において、前側板部(11)が開梱用側板部として構成されており、この前側板部(11)に、切り開き開始部(2)、上側破断誘導線(3)、下側破断誘導線(4)が設けられている。
切り開き開始部(2)は、前側板部(11)の高さ方向中間部における右側部に、高さ方向に沿って設けられており、縦長の形状を有している。この切り開き開始部(2)は、上下両端に設けられた横長矩形状の開口部(21)(22)と、両開口部(21)(22)間にその間を結ぶように設けられた縦長帯状の切取許容部(23)とを備えている。
開口部(21)(22)は、その領域に対応する段ボールが切り取られることによって形成されており、前側板部(11)を貫通する貫通孔によって構成されている。
切取許容部(23)は、両側縁部に沿ってジッパー状の切れ目線(24)(24)が設けられている。両切れ目線(24)(24)は、その上端が上側開口部(21)に達するとともに、下端が下側開口部(21)に達する位置まで形成されて、高さ方向(段目方向)に沿って配置されている。従って、作業者は例えば上側開口部(21)を介して、切取許容部(23)の上端部を摘んで、手前に引っ張れば(開き操作すれば)、前側板部(11)が、切れ目線(24)(24)に沿って、上端から下端に向けて切り裂かれていき、閉塞部(23)が切り取られて、切り開き開始部(2)の全域が開口されるようになっている。
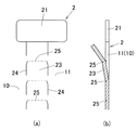
なお図6に示すように本実施形態において、切取許容部(23)には左右方向(周方向)に延びる複数のV溝状の折り曲げ線(25)を、高さ方向(上下方向)に沿って等間隔おきに形成しているため、切取許容部(23)をスムーズに切り取ることができる。
すなわち縦長帯状切取許容部(23)は、段目方向(高さ方向)に沿って形成されて、段目方向に沿って上方から下方に向けて切り取るよう構成されているため、仮に折り曲げ線(25)が形成されない場合には、切取許容部(23)を切り取っていく際に、折れ曲がり難く、切取許容部(23)をスムーズに切り取ることができなくなってしまう。
そこで本実施形態では、切取許容部(23)に、流れ方向(左右方向)に平行な複数の折り曲げ線(25)を、段目方向に等間隔おきに形成しているため、切取許容部(23)を上から下へ切り取っていく際に、切取許容部(23)が、折り曲げ線(25)の部分において無理なく外側に順次折れ曲がっていく。従って切取許容部(23)を段目方向に沿って簡単かつスムーズに切り取っていくことができる。
ここで本実施形態においては、切取許容部(23)の両側に設けられたジッパー状の切れ目線(24)(24)が、中間破断誘導線として構成されている。
また本実施形態においては、上側および下側開口部(21)(22)のうち少なくともいずれか一方が、覗き窓として構成されている。すなわち、梱包される製品の外表面には、製品名、種類、製品番号等の製品に関する情報が表示された製品情報表示部が設けられているが、この製品情報表示部に対応する位置に、上下両側開口部(21)(22)のうち少なくともいずれか一方が配置されて、覗き窓として構成されている。従って作業者は、梱包状態において、この覗き窓を介して製品情報表示部を視認することができ、開梱せずに梱包製品の情報を正確に把握することができる。このため例えば、製品の種類を不用意に間違えてしまう等の不具合を確実に防止することができる。
図1〜4に示すように、前側板部(11)には、上側開口部(21)の左上コーナ部から、前側板部(11)の上端左端部、換言すれば前側板部(11)の上端における左側板部(14)とのコーナ部にかけて、斜め方向に延びるジッパー状の上側切れ目線(3)が設けられている。
この上側切れ目線(3)は、第1〜第3の3本の直線部(31)〜(33)によって構成されている。
第1直線部(31)は、高さ方向に対しほぼ45°で傾斜する方向に沿う直線上に配置されており、下端が上側開口部(21)に達するように配置されている。
第2直線部(32)は、高さ方向に対し平行な方向に沿って直線状に配置されており、下端が第1直線部(31)の上端に接続されている。
第3直線部(33)は、第1直線部(31)と同様、高さ方向に対しほぼ45°で傾斜する方向に沿う直線上に配置されており、下端が第2直線部(32)の上端に接続されるとともに、上端が既述したように前側板部(11)における上端の左端位置に達するように配置されている。
また前側板部(11)には、下側開口部(22)の左下コーナ部から、前側板部(11)の上端左端部、換言すれば前側板部(11)の下端における左側板部(14)とのコーナ部にかけて、斜め方向に延びるジッパー状の下側切れ目線(4)が設けられている。
この下側切れ目線(4)は、第1〜第5の5本の直線部(41)〜(45)によって構成されている。
第1直線部(41)は、高さ方向に対しほぼ45°で傾斜する方向に沿う直線上に配置されており、上端が下側開口部(22)に達するように配置されている。
第2直線部(42)は、高さ方向に対し平行な方向に沿って直線状に配置されており、上端が第1直線部(41)の下端に接続されている。
第3直線部(43)は、第1直線部(41)と同様、高さ方向に対し45°で傾斜する方向に沿う直線上に配置されており、上端が第2直線部(42)の下端に接続されている。
第4直線部(44)は、第2直線部(42)と同様、縦方向に対し平行な方向に沿う直線上に配置されており、上端が第3直線部(43)の下端に接続されている。
第5直線部(45)は、第1,3直線部(41)(43)と同様、高さ方向に対し45°で傾斜する方向に沿う直線上に配置されており、上端が第4直線部(44)の下端に接続されるとともに、下端が既述したように前側板部(11)における下端の左端位置に達するように配置されている。
ここで本実施形態においては、上側切れ目線(3)が、上側破断誘導線として構成されるとともに、下側切れ目線(4)が、下側破断誘導線として構成されている。
また上側切れ目線(3)における第1,3直線部(31)(33)が、斜め方向直線部として構成されるとともに、第2直線部(32)が、縦方向直線部として構成されている。
さらに下側切れ目線(4)における第1,3,5直線部(41)(43)(45)が、斜め方向直線部として構成されるとともに、第2,4直線部(42)(44)が、縦方向直線部として構成されている。
そして本実施形態においては、上側切れ目線(3)における高さ方向直線部としての第2直線部(32)に対し、下側切れ目線(4)における高さ方向直線部としての第2,4直線部(42)(44)は、同一の直線上に配置されないように、周方向(左右方向)に位置をずらせて形成されている。具体的には、下側の第2直線部(42)は、上側の第2直線部(32)に対し右側(一方側)に位置をずらせて配置されるとともに、下側の第4直線部(44)は、上側の第2直線部(32)に対し左側(他方側)に位置をずらせて配置されている。
また本実施形態において、斜め方向直線部としての第1,3直線部(31)(33)および第1,3,5直線部(41)(43)(45)は、縦方向に対し35〜60°、より好ましくは、40〜50°の角度で傾斜されるのが良い。すなわち各直線部(31)(33)(41)(43)(45)の傾斜角度をこの範囲内に設定することにより、後述するように、切り開き領域(10)の切り開き操作をスムーズに行うことができる。
ここで本実施形態においては、前側板部(11)を、切り開き開始部(2)および上下両側切れ目線(3)(4)を境界線として、左右の領域に区分けした際に、左側の領域が切り開き領域(10)として構成されている。
以上のように構成された第1実施形態の梱包具(1)は、縦長で平面視矩形状の大型製品を梱包するものである。すなわち図5に示すように、梱包製品の底面形状に対応した矩形状のパレット(6)上に、梱包製品が載置された状態で、梱包具(1)を梱包製品の上から被せるように配置して、梱包具(1)における前後左右の4側板部(11)〜(14)が、梱包製品における前後左右の4周側面を閉塞するように配置される。さらに梱包具(1)の上端開口部に、その上端開口部の形状に対応した矩形状の段ボール製蓋(5)が嵌合されて、その蓋(5)によって梱包具(1)の上端開口部が閉塞される。
そしてその状態で、蓋(5)、右側板部(12)、パレット(6)および左側板部(13)の位置を通るように、複数のバンド(7)で縛り付け、これにより梱包が完了するものである。
ここで、本実施形態の梱包具(1)においては、後側板部(13)がトラック等に積載する際の接地面(ずり降ろし面)として構成されており、荷揚げや荷卸しする際に、荷台に後側板部(13)を摺接させつつ、梱包具(1)を荷台に対して荷揚げしたり荷卸しするようにしている。
一方、上記したように製品を梱包した梱包具(1)を開梱する場合には、バンド(7)を取り除いた後、図2に示すように、作業者は上側開口部(21)を介して、切取許容部(23)の上端部を手で握って、手前に引っ張り込みながら下側に移動させていく。この外側への開き操作により、両側の切れ目線(24)(24)が、その上端を起点として、下方に向かって連続状に順次切り裂かれていき、切取許容部(23)が前側板部(11)から切り取られる。こうして図3に示すように、切取許容部(23)が開口されて、切り開き開始部(2)の全域が開口される。
次に開口状態の切り開き開始部(2)を介して、切り開き領域(10)の右側縁部を手で握って、手前に引っ張り込みながら左側に移動させていく。この外側への開き操作により図4に示すように、上下両側切れ目線(3)(4)が、切り開き開始部(2)側の位置を起点にして、左側に向かって連続状に順次切り裂かれていき、前側板部(11)における切り開き領域(10)が残りの領域から切り離されて、前側板部(11)が周方向(左右方向)に分断される。
その後、各側板部(11)〜(14)を順次外側に開いていくように、梱包製品から離脱させることにより、梱包具(1)を梱包製品から完全に取り外すことができる。
なお蓋(5)の取外操作や、梱包製品のパレット(6)からの降ろし操作等は、梱包具(1)を開梱する前に行っても良いし、開梱した後に行っても良い。
以上のように、第1実施形態の梱包具(1)によれば、梱包製品の周囲4面に配置される4枚の側板部(11)〜(14)のうちの前側板部(11)を、周方向に切り離すことができるように構成さている。このため、開梱時には、前側板部(11)を切り離して、周囲4枚の側板部(11)〜(14)を外側に開いていくだけで取り外すことができため、例えば梱包具を高く持ち上げて梱包製品から抜き取ったり、梱包具をカッターナイフ等で切り開いたりするような面倒な作業が必要なく、簡単かつスムーズに開梱することができる。
さらに本実施形態においては、前側板部(11)の切り開き領域(10)を横方向(左方向)に開いていくことにより、前側板部(11)を切り離すことができるため、作業者は手を横方向に移動させて、切り開き領域(10)を切り開くという無理のない簡単な操作で確実に開梱することができる。
また本実施形態においては、上下両側切れ目線(3)(4)に、高さ方向に平行な高さ方向直線部(32)(42)(44)を設けているため、前側板部(11)の高さ寸法が、左右方向(幅方向)寸法よりも極端に大きい場合、つまり前側板部(11)が背の高い大型製品に対応する形状であっても、上側切れ目線(3)を、切り開き開始部(2)から前側板部(11)の上端縁まで確実に形成できるとともに、下側切れ目線(4)を、切り開き開始部(2)から前側板部(11)の下端縁まで確実に形成することができる。従って梱包具(1)が、背の高い大型製品に対応する構成であっても、上下両側切れ目線(3)(4)を確実に形成できて、容易に開梱できるという上記と同様の効果を確実に得ることができる。
さらに本実施形態においては、上側切れ目線(3)の高さ方向直線部(32)を、下側切れ目線(4)の高さ方向直線部(42)(44)に対し周方向に位置をずらせて配置しているため、強度を十分に確保することができる。すなわち仮に、上側切れ目線(3)の高さ方向直線部と、下側切れ目線(4)の高さ方向直線部とが一致して直線上に配置されていると、その部分は、切れ目線が上下に直列に配置されることとなり、折れ曲がり易くなって強度が低下するおそれがある。このため例えば梱包時にバンド(6)を巻き付けた際に、折れ曲がって外側に膨らんでしまうような不具合が発生する。そこで本実施形態では、高さ方向直線部(32)(42)(44)の位置を左右方向(周方向)にずらせているため、切れ目線が高さ方向に沿って広範囲に配置されるのを防止でき、不用意に折れ曲がるのを防止することができる。
また本実施形態においては、切り開き開始部(2)を上下2つの開口部(21)(22)と、その開口部(21)(22)間に設けられた切取可能な切取許容部(23)とで構成しているため、開梱時には、切取許容部(23)を切り取って開口させることにより、開口寸法を縦長に大きく形成することができる。このように切り開き開始部(2)の開口寸法を長くできる分、上側切れ目線(3)および下側切れ目線(4)の長さを短くできて、切り開き量を少なくすることができ、開梱作業をより簡単に行うことができる。さらに切り開き開始部(2)の開口寸法が大きいため、適切な位置で切り開き領域(10)を把持して切り開くことができ、より一層スムーズに、切り開き操作を行うことができる。
また本実施形態においては、切取許容部(23)にその長さ方向に沿って等間隔おきに折り曲げ線(25)を形成しているため、既述したように、切取許容部(23)を段目方向に切り取って行く際に、切取許容部(23)が無理なく外側に折れ曲がっていき、切取許容部(23)を簡単かつスムーズに切り取ることができる。
また本実施形態においては、切り開き領域(10)が形成される前側板部(11)を、左側板部(14)に継ぎ合わせて角筒状に形成するようにしているため、強度の高い面を残存できて、全体として強度の低下を防止することができる。すなわち継ぎ合わされた2枚の側板部(11)(14)は、継ぎ合わせ加工によって段ボール構造の一部が破壊されてしまい、継ぎ合わされない側板部(12)(13)に比べて強度が低下してしまうことがあり、さらに前側板部(11)は、切り開き用に多数の切れ目線(24)(3)(4)が形成されるため、強度が低下してしまう。このため仮に、継ぎ合わされていない右側板部(12)または後板部(13)に、切り開き用の多数の切れ目線を形成すると、その側板部まで強度が低下してしまい、4枚の側板部のうち3枚の側板部の強度が低下してまう。換言すれば、高い強度の側板部が1枚のみになってしまい、全体として強度が低下するおそれがある。これに対し、本実施形態では、継ぎ合わされた側板部(11)に切り開き用に多数の切れ目線(24)(3)(4)を形成しているため、4枚の側板部のうち2枚の側板部(11)(14)の強度が低下してしまうだけで、残り2枚の側板部(12)(13)の強度を高く維持することができ、全体として強度低下を防止することができる。
その上さらに、本実施形態においては、高い強度の後側板部(13)を、トラック荷台に対し積み卸しする際等のずり降ろし面(接地面)として構成しているため、積み卸し時に、後側板部(13)をトラック荷台に強く摺接させようとも、後側板部(13)が損傷するのを有効に防止できて、積み卸し作業等を効率良くスムーズに行うことができる。
特に本実施形態においては、梱包時にバンド(6)を左右側板部(12)(14)に配置しているため、バンド(6)が、ずり降ろし面としての後側板部(13)に配置されることがない。このため、後側板部(13)を荷台に摺接したさせた際に、バンド(6)がすり切れてしまうような不具合を防止することができる。
また、前側板部(11)の上端縁における上側切れ目線(3)の上端位置や、前側板部(11)の下端縁における下側切れ目線(4)の下端位置は、折れ曲がり易くなっているが、本実施形態においては、上側切れ目線(3)の上端位置および下側切れ目線(4)の下端位置を、前側板部(11)および左側板部(14)間のコーナ部、つまり段ボールを折り曲げる位置に配置している。このため、切れ目線(3)(4)の端部位置が折れ曲がり易くとも何ら問題はなく、むしろ側板部間を無理なく折り曲げることができ、梱包具(1)の製作作業を容易に行うことができる。
さらに本実施形態においては、前側板部(11)の上端縁に達する上側切れ目線(3)の第3直線部(33)を斜め方向に配置して、上側切れ目線(3)が前側板部(11)の上端縁から斜め方向に切り込まれるようにしているため、十分な強度を確実に得ることができる。すなわち上側切れ目線(3)が前側板部(11)の上端縁から高さ方向(垂直方向)に直線的に切り込まれる場合には、その切込部において折れ曲がり易くなってしまうが、本実施形態では、上側切れ目線(3)が前側板部(11)の上端縁から斜め方向に切り込まれるようにしているため、その切込部が折れ曲がり難く、十分な強度を確実に得ることができる。
同様に、前側板部(11)の下端縁に達する下側切れ目線(3)の第5直線部(45)を斜め方向に配置して、下側切れ目線(3)が前側板部(11)の下端縁から斜め方向に切り込まれるように配置しているため、下側切れ目線(3)が前側板部(11)の下端縁から縦方向に直線的に切り込まれる場合と比較して、折れ曲がり難く、十分な強度をより確実に得ることができる。
また本実施形態の梱包具(1)は、側板部(11)〜(14)が、2層構造の強化段ボールによって構成されているため、側板部(11)〜(14)そのものの強度が向上し、ひいては梱包具全体の強度をより一層向上させることができる。
<第2実施形態>
図7はこの発明の第2実施形態である段ボール製梱包具(1a)を示す展開図である。同図に示すようにこの梱包具(1a)は、前側板部(11)における上側切れ目線(3a)が、下側から順に配置される第1および第2の2本の直線部(31a)(32a)によって構成されている。
第1直線部(31a)は、高さ方向に対し平行な方向に直進する高さ方向直線部として構成されており、下端が上側開口部(21)に達するように配置されている。
第2直線部(32a)は、高さ方向に対し45°で傾斜する方向に直進する斜め方向直線部として構成されており、下端が第1直線部(31a)の上端に接続されるとともに、上端が、前側板部(11)における上端縁のやや左寄り位置に達するように配置されている。
さらに本第2実施形態の梱包具(1a)では、上記第1実施形態の梱包具(1)に比べて、前側板部(11)における切り開き開始部(2)の上下方向長さが短く設定されている。
本第2実施形態の梱包具(1a)において他の構成は、上記第1実施形態と実質的に同様であるため、同一または相当部分に、同一または相当符号を付して、重複説明は省略する。
この第2実施形態の梱包具(1a)においても、上記第1実施形態と同様に、同様の作用効果を得ることができる。
<変形例>
上記実施形態においては、切れ目線(破断誘導線)を、端部が曲成した短寸の切込が多数、線上に並んで配置されたジッパー状に形成しているが、それだけに限られず、本発明においては、切れ目線の形状は特に限定されるものではない。例えば、切れ目線(破断誘導線)を、直線形状の短寸の切込が多数、線上に直列に並んで配置されたミシン目状に形成しても良いし、針孔状の孔が多数、線上に並んで配置された構成に形成するようにしても良い。
また上記実施形態においては、切り開き開始部(2)を開口部(21)(22)と、切取許容部(23)とで構成し、開梱時には切取許容部(23)を切り取って、開口部(21)(22)と共に、全域を開口させるようにしているが、それだけに限られず、本発明において、切り開き開始部は、少なくとも開梱操作開始以降(開梱時)に開口されている部分によって構成されていれば良く、換言すれば開口した部分および開口できる部分の少なくともいずれか一方によって構成すれば良い。ここで、開口した部分とは、梱包操作前に開口している部分であり、上記実施形態の開口部(21)(22)等に相当する。開口できる部分とは、梱包操作前には閉塞されているが、開梱開始時以降には所定の操作を行うことによって開口される部分であって、上記実施形態の切取許容部(23)等に相当する。それ以外に開口できる部分とは、コ字状やL字状に切り込まれた部分であって、開梱時には、押し曲げたり、引き曲げたりして開口できる部分等によって構成することができる。言うまでもなく、切り開き開始部は、開口した部分だけで構成するようにしても良いし、開口できる部分だけで構成するようにしても良いし、開口した部分と、開口できる部分とを組み合わせて構成するようにしても良い。
また上記実施形態においては、上下両側破断誘導線としての切れ目線(3)(4)を、複数の直線部によって構成するようにしているが、それだけに限られず、本発明においては、各破断誘導線を1本の直線部によって構成しても良いし、破断誘導線に、緩やかに曲成した曲線部を含めるようにしても良い。曲線部を含める場合、破断誘導線を1本の曲線部によって構成しても良いし、曲率の異なる複数の曲線部によって構成するようにしても良いし、1〜複数の曲線部と、1〜複数の直線部とを組み合せて構成するようにしても良い。
また上記実施形態においては、説明の都合上、前側板部(11)を、開梱時に切り裂かれる開梱用側板部として構成するようにしているが、それだけに限られず、本発明において、開梱用側板部が配置される位置は限定されるものではなく、周囲に配置される側板部であればいずれの側板部も、開梱用側板部に構成することができる。
さらに上記実施形態においては、4枚の側板部が周方向に連設されて、周囲4面にそれぞれ側板部が設けられた梱包具に、本発明を適用した場合を例に挙げて説明したが、それだけに限られず、本発明は、3枚、あるいは5枚以上の側板部が周方向に連設された梱包具にも適用することができる。もっとも本発明は、形態安定性等を考慮すると、上記実施形のように、4枚の側板部によって周囲4面が閉塞される形態の梱包具に適用するのが好ましい。
この発明の段ボール製梱包具は、製品の搬送や保管時に製品を梱包するのに利用することができる。
この発明の第1実施形態である段ボール製梱包具を示す展開図である。 第1実施形態の梱包具において切取許容部を切取途中の状態で示す斜視図である。 第1実施形態の梱包具において切り開き開始部を開口した状態で示す斜視図である。 第1実施形態の梱包具において開梱状態を示す斜視図である。 第1実施形態の梱包具において梱包状態を示す斜視図である。 第1実施形態の梱包具における切取許容部の上側部を拡大して示す図であって、同図(a)は正面図、同図(b)は切取途中の状態で示す側面図である。 この発明の第2実施形態である段ボール製梱包具を示す展開図である。
符号の説明
1,1a…梱包具
11〜14…側板部
2…切り開き開始部
21,22…開口部
23…切取許容部
24…中間切れ目線(中間破断誘導線)
25…折り曲げ線
3…上側破断誘導線
31,32a,45…直線部(斜め方向直線部)
31a,32,42,44…直線部(高さ方向直線部)

Claims (10)

  1. 3枚以上複数の側板部が、梱包製品の周囲を閉塞し得る態様に周方向に連設されるとともに、各側板部が、段目方向を梱包製品の高さ方向に対応させた段ボールによって構成される段ボール製梱包具であって、
    前記複数の側板部のうちいずれか1つの側板部が、開梱用側板部として構成され、
    前記開梱用側板部に、高さ方向中間部における周方向一方寄りの位置に、開梱時に開口されている切り開き開始部が設けられ、
    前記開梱用側板部に、その上端縁の周方向他方寄りの位置から、前記切り開き開始部の上端にかけて斜め方向に沿って上側破断誘導線が設けられるとともに、
    前記開梱用側板部に、その下端縁の周方向他方寄りの位置から、前記切り開き開始部の下端にかけて斜め方向に沿って下側破断誘導線が設けられ、
    前記上下両側破断誘導線および前記切り開き開始部を境界線にして、前記開梱用側板部が周方向に区分けされて、その他方側の領域が切り開き領域として構成され、
    開口された状態の前記切り開き開始部に対応する部分を起点にして、前記切り開き領域が外側に開き操作されることにより、前記開梱用側板部が前記上下両側破断誘導線に沿って破断されて周方向に切り離されるように構成されたことを特徴とする段ボール製梱包具。
  2. 前記切り開き開始部は、その一部が予め開口された開口部として構成されるとともに、残りの部分が、切取操作によって開口可能な切取許容部として構成される請求項1に記載の段ボール製梱包具。
  3. 前記上下両側破断誘導線の少なくとも一方の破断誘導線の一部に、高さ方向に対し平行な高さ方向直線部が設けられる請求項1または2に記載の段ボール製梱包具。
  4. 前記上下両側破断誘導線の各一部に、高さ方向に対し平行な高さ方向直線部がそれぞれ設けられるとともに、各高さ方向直線部が、互いに周方向に位置をずらせて配置される請求項1〜3のいずれか1項に記載の段ボール製梱包具。
  5. 前記上側破断誘導線の上端が、前記開梱用側板部の上端縁における他方側の端部に配置される請求項1〜4のいずれか1項に記載の段ボール製梱包具。
  6. 前記上側破断誘導線の上端を含む上側部に、高さ方向に対し傾斜する斜め方向直線部が設けられる請求項5に記載の段ボール製梱包具。
  7. 前記下側破断誘導線の下端が、前記開梱用側板部の下端縁における他方側の端部に配置される請求項1〜6のいずれか1項に記載の段ボール製梱包具。
  8. 前記下側破断誘導線の下端を含む下側部に、高さ方向に対し傾斜する斜め方向直線部が設けられる請求項7に記載の段ボール製梱包具。
  9. 前記切り開き開始部は、その少なくとも一部に、切取操作によって開口可能な切取許容部が設けられ、
    前記切取許容部は、高さ方向に延びる縦長帯状に形成されるとともに、その切取許容部の両側縁に沿って中間破断誘導線が設けられ、
    前記切取許容部は、その上下両端のいずれか一方を起点にして、外側に引張操作されることにより、切り取られるように構成され、
    前記切取許容部に、周方向に延びる折れ曲げ線が、高さ方向に間隔をおいて複数設けられる請求項1〜8のいずれか1項に記載の段ボール製梱包具。
  10. 隣り合う側板部の各間のうち、いずれかの側板部間が継ぎ合わされて連設されるとともに、継ぎ合わされた2つの側板部のいずれか一方が、前記開梱用側板部として構成される請求項1〜9のいずれか1項に記載の段ボール製梱包具。
JP2008230424A 2008-09-09 2008-09-09 段ボール製梱包具 Active JP5399667B2 (ja)

Priority Applications (1)

Application Number Priority Date Filing Date Title
JP2008230424A JP5399667B2 (ja) 2008-09-09 2008-09-09 段ボール製梱包具

Applications Claiming Priority (1)

Application Number Priority Date Filing Date Title
JP2008230424A JP5399667B2 (ja) 2008-09-09 2008-09-09 段ボール製梱包具

Publications (2)

Publication Number Publication Date
JP2010064756A true JP2010064756A (ja) 2010-03-25
JP5399667B2 JP5399667B2 (ja) 2014-01-29

Family

ID=42190694

Family Applications (1)

Application Number Title Priority Date Filing Date
JP2008230424A Active JP5399667B2 (ja) 2008-09-09 2008-09-09 段ボール製梱包具

Country Status (1)

Country Link
JP (1) JP5399667B2 (ja)

Cited By (6)

* Cited by examiner, † Cited by third party
Publication number Priority date Publication date Assignee Title
JP2013180799A (ja) * 2012-03-01 2013-09-12 Corona Corp 梱包材
JP2013180801A (ja) * 2012-03-01 2013-09-12 Corona Corp 梱包材
JP2014019475A (ja) * 2012-07-19 2014-02-03 Sigma Shigyo Kk 紙缶容器
JP2014213874A (ja) * 2013-04-24 2014-11-17 三菱電機株式会社 貯湯式給湯機の梱包部材
JP5948463B1 (ja) * 2015-05-29 2016-07-06 大王パッケージ株式会社 箱用シート
JP2020131595A (ja) * 2019-02-21 2020-08-31 京セラドキュメントソリューションズ株式会社 インクコンテナ及びインクコンテナ梱包体

Citations (7)

* Cited by examiner, † Cited by third party
Publication number Priority date Publication date Assignee Title
US3357631A (en) * 1963-12-03 1967-12-12 Continental Can Co Recessed ice-cream carton with tuck-in reclosure
FR2041659A5 (ja) * 1969-05-19 1971-01-29 Micomat
JPS563822U (ja) * 1979-06-22 1981-01-14
JPS573660U (ja) * 1980-06-10 1982-01-09
JPH0922092A (ja) * 1995-07-06 1997-01-21 Fuji Photo Film Co Ltd フイルム製品の包装体
JP2003502220A (ja) * 1999-06-15 2003-01-21 オトール 厚紙ケース及び引裂き壁体付きブランク
JP2007284082A (ja) * 2006-04-13 2007-11-01 Konica Minolta Business Technologies Inc 梱包箱、梱包方法及び開梱方法

Patent Citations (7)

* Cited by examiner, † Cited by third party
Publication number Priority date Publication date Assignee Title
US3357631A (en) * 1963-12-03 1967-12-12 Continental Can Co Recessed ice-cream carton with tuck-in reclosure
FR2041659A5 (ja) * 1969-05-19 1971-01-29 Micomat
JPS563822U (ja) * 1979-06-22 1981-01-14
JPS573660U (ja) * 1980-06-10 1982-01-09
JPH0922092A (ja) * 1995-07-06 1997-01-21 Fuji Photo Film Co Ltd フイルム製品の包装体
JP2003502220A (ja) * 1999-06-15 2003-01-21 オトール 厚紙ケース及び引裂き壁体付きブランク
JP2007284082A (ja) * 2006-04-13 2007-11-01 Konica Minolta Business Technologies Inc 梱包箱、梱包方法及び開梱方法

Cited By (7)

* Cited by examiner, † Cited by third party
Publication number Priority date Publication date Assignee Title
JP2013180799A (ja) * 2012-03-01 2013-09-12 Corona Corp 梱包材
JP2013180801A (ja) * 2012-03-01 2013-09-12 Corona Corp 梱包材
JP2014019475A (ja) * 2012-07-19 2014-02-03 Sigma Shigyo Kk 紙缶容器
JP2014213874A (ja) * 2013-04-24 2014-11-17 三菱電機株式会社 貯湯式給湯機の梱包部材
JP5948463B1 (ja) * 2015-05-29 2016-07-06 大王パッケージ株式会社 箱用シート
JP2020131595A (ja) * 2019-02-21 2020-08-31 京セラドキュメントソリューションズ株式会社 インクコンテナ及びインクコンテナ梱包体
JP7283113B2 (ja) 2019-02-21 2023-05-30 京セラドキュメントソリューションズ株式会社 インクコンテナ及びインクコンテナ梱包体

Also Published As

Publication number Publication date
JP5399667B2 (ja) 2014-01-29

Similar Documents

Publication Publication Date Title
JP5399667B2 (ja) 段ボール製梱包具
JP6276784B2 (ja) 容易に引裂くことができるパッケージ
EP3186155B1 (en) Carton configured with dual opening capabilities
CN108349637B (zh) 袋式包装物以及用于适配此类包装物的相关联方法
JP6035000B2 (ja) 梱包陳列兼用箱
JP6524141B2 (ja) 包装箱
EP2635499A1 (en) Improvements in and relating to packaging
JP2006111342A (ja) 易開封性紙ケース
JP6536342B2 (ja) 箱および箱のブランクシート
JP6581534B2 (ja) 天面開封段ボール箱
EP3036170B1 (en) Flip-top container with tooth-shaped side perforations
JP2018090292A (ja) 包装箱
JP3206139U (ja) 陳列箱
JP5311224B2 (ja) 易開封性包装袋
JP5220067B2 (ja) 段ボール箱の開封構造およびこの開封構造を形成する切刃を備えた抜型
JP5086168B2 (ja) 包装陳列兼用箱
JP2016034842A (ja) 切断開封式包装箱
JP6866168B2 (ja) 包装箱およびシート材
JP3883517B2 (ja) 梱包陳列兼用箱
JP4298417B2 (ja) 梱包陳列兼用箱
JP2015003739A (ja) シュリンク包装体
JP6898068B2 (ja) 包装袋
WO2003095335A1 (en) Flexible duct packaging restraint and container and method for restraining and containing
WO2014204397A1 (en) Package material comprising a tearing line
JP3230147U (ja) 包装箱およびブランク

Legal Events

Date Code Title Description
A621 Written request for application examination

Free format text: JAPANESE INTERMEDIATE CODE: A621

Effective date: 20110823

A977 Report on retrieval

Free format text: JAPANESE INTERMEDIATE CODE: A971007

Effective date: 20121228

A131 Notification of reasons for refusal

Free format text: JAPANESE INTERMEDIATE CODE: A131

Effective date: 20130115

A521 Request for written amendment filed

Free format text: JAPANESE INTERMEDIATE CODE: A523

Effective date: 20130315

TRDD Decision of grant or rejection written
A01 Written decision to grant a patent or to grant a registration (utility model)

Free format text: JAPANESE INTERMEDIATE CODE: A01

Effective date: 20131001

A61 First payment of annual fees (during grant procedure)

Free format text: JAPANESE INTERMEDIATE CODE: A61

Effective date: 20131024

R150 Certificate of patent or registration of utility model

Ref document number: 5399667

Country of ref document: JP

Free format text: JAPANESE INTERMEDIATE CODE: R150

Free format text: JAPANESE INTERMEDIATE CODE: R150

RD02 Notification of acceptance of power of attorney

Free format text: JAPANESE INTERMEDIATE CODE: R3D02

R250 Receipt of annual fees

Free format text: JAPANESE INTERMEDIATE CODE: R250

R250 Receipt of annual fees

Free format text: JAPANESE INTERMEDIATE CODE: R250

S531 Written request for registration of change of domicile

Free format text: JAPANESE INTERMEDIATE CODE: R313531

R350 Written notification of registration of transfer

Free format text: JAPANESE INTERMEDIATE CODE: R350

R250 Receipt of annual fees

Free format text: JAPANESE INTERMEDIATE CODE: R250