JP2010064208A - 研削装置 - Google Patents

研削装置 Download PDF

Info

Publication number
JP2010064208A
JP2010064208A JP2008234217A JP2008234217A JP2010064208A JP 2010064208 A JP2010064208 A JP 2010064208A JP 2008234217 A JP2008234217 A JP 2008234217A JP 2008234217 A JP2008234217 A JP 2008234217A JP 2010064208 A JP2010064208 A JP 2010064208A
Authority
JP
Japan
Prior art keywords
wafer
suction
chuck table
grinding
frame body
Prior art date
Legal status (The legal status is an assumption and is not a legal conclusion. Google has not performed a legal analysis and makes no representation as to the accuracy of the status listed.)
Granted
Application number
JP2008234217A
Other languages
English (en)
Other versions
JP5208634B2 (ja
Inventor
Daichi Higuchi
大地 樋口
Current Assignee (The listed assignees may be inaccurate. Google has not performed a legal analysis and makes no representation or warranty as to the accuracy of the list.)
Disco Corp
Original Assignee
Disco Abrasive Systems Ltd
Priority date (The priority date is an assumption and is not a legal conclusion. Google has not performed a legal analysis and makes no representation as to the accuracy of the date listed.)
Filing date
Publication date
Application filed by Disco Abrasive Systems Ltd filed Critical Disco Abrasive Systems Ltd
Priority to JP2008234217A priority Critical patent/JP5208634B2/ja
Publication of JP2010064208A publication Critical patent/JP2010064208A/ja
Application granted granted Critical
Publication of JP5208634B2 publication Critical patent/JP5208634B2/ja
Active legal-status Critical Current
Anticipated expiration legal-status Critical

Links

Images

Landscapes

  • Constituent Portions Of Griding Lathes, Driving, Sensing And Control (AREA)
  • Mechanical Treatment Of Semiconductor (AREA)

Abstract

【課題】簡単な構成のチャックテーブルを具備した研削装置を提供する。
【解決手段】ウエーハを保持するチャックテーブル52と、該チャックテーブル52に研削すべきウエーハを搬入し、研削済みのウエーハを搬出するウエーハ搬送手段を備えた研削装置であって、該チャックテーブル52は、ウエーハを吸引保持する吸引保持部56と、該吸引保持部56を囲繞する枠体54と、該枠体54を回転可能に支持するテーブル基台58と、該枠体54の外周に形成され吸引保持部56に連通する連通路110と、該連通路110内に配設され該連通路110を開状態と閉状態とに切換える開閉弁92とを含んでおり、該ウエーハ搬送手段は、吸着パッドが吸引保持部56に当接したとき、連通路110に係合し吸引力を伝達する吸引力伝達部と、吸引保持部56に流体を供給してウエーハを吸引保持部56から離脱させる流体供給部とを含んでいることを特徴とする。
【選択図】図4

Description

本発明は、簡単な構成でチャックテーブルの吸引保持部に吸引力を伝達可能な研削装置に関する。
IC、LSI等の数多くのデバイスが表面に形成され、且つ個々のデバイスが分割予定ライン(ストリート)によって区画された半導体ウエーハは、研削装置によって裏面が研削されて所定の厚みに加工された後、ダイシング装置によって分割予定ラインを切削して個々のデバイスに分割され、分割されたデバイスは携帯電話、パソコン等の電気機器に利用される。
ウエーハの裏面を研削する研削装置は、ウエーハを保持し回転可能なチャックテーブルと、該チャックテーブルに保持されたウエーハを研削する研削砥石が配設された研削ホイールを回転可能に支持する研削手段と、該チャックテーブルに研削すべきウエーハを搬入する搬入手段と、該チャックテーブルから研削済みのウエーハを搬出する搬出手段とを具備しており、ウエーハを所望の厚みに加工することができる(例えば特開2003−62730号公報参照)。
また、チャックテーブルは、ウエーハを吸引保持する吸引保持部と、該吸引保持部を囲繞する枠体と、該枠体を回転可能に支持するテーブル基台と、該枠体に連通し該吸引保持部に吸引力を伝達する吸引力伝達手段と、該枠体に連通し該吸引保持部に流体を供給する流体供給手段とから構成されていて、研削時にウエーハを吸引保持すると共に流体を噴出して研削済みのウエーハを離脱させることができる。
特開2003−62730号公報
しかし、従来のチャックテーブルには、吸引源に連通するチューブ、流体供給源に連通するチューブがロータリージョイントを介して連結されていることから、構成が複雑になり、故障の頻度が高いと共に部品点数が多くコスト高になるという問題がある。
特に、ターンテーブル上に複数の(例えば三個)のチャックテーブルが搭載されている研削装置においては、ターンテーブルが連続回転するとチューブが絡まるため、ターンテーブルを概略360度回転させた後逆方向に回転させてターンテーブルを元の位置に戻すという操作が必要であった。
本発明はこのような点に鑑みてなされたものであり、その目的とするところは、簡単な構成のチャックテーブルを具備した研削装置を提供することである。
本発明によると、ウエーハを保持するチャックテーブルと、該チャックテーブルに保持されたウエーハを研削する研削ホイールを回転可能に装着した研削手段と、該チャックテーブルに研削すべきウエーハを搬入し、及び/又は該チャックテーブルから研削済みのウエーハを搬出するウエーハ搬送手段を備えた研削装置であって、該チャックテーブルは、ウエーハを吸引保持する吸引保持部と、該吸引保持部を囲繞する枠体と、該枠体を回転可能に支持するテーブル基台と、該枠体の外周に形成され該吸引保持部に連通する連通路と、該連通路内に配設され該連通路を開状態と閉状態とに切換える開閉弁とを含んでおり、該ウエーハ搬送手段は、ウエーハを吸着する吸着パッドと、該吸着パッドがウエーハを挟んで前記チャックテーブルの該吸引保持部に当接したとき、該チャックテーブルの該枠体に形成された該連通路に係合し該吸引保持部に吸引力を伝達する吸引力伝達部と、該チャックテーブルの該枠体に形成された該連通路に係合し該吸引保持部に流体を供給してウエーハを該吸引保持部から離脱させる流体供給部とを含んでいることを特徴とする研削装置が提供される。
本発明は、チャックテーブルに吸引力を伝達したり、流体を供給したりする機能をウエーハをチャックテーブルに搬入又は搬出するウエーハ搬送手段に設けたので、チャックテーブルにロータリージョイントを介してチューブを配設する必要が無く、チャックテーブルの構成が簡単になり故障の頻度を低減できると共にそのコストの低減を図ることができる。
以下、本発明実施形態の研削装置を図面を参照して詳細に説明する。図1は所定の厚さに加工される前の半導体ウエーハの斜視図である。図1に示す半導体ウエーハ11は、例えば厚さが700μmのシリコンウエーハからなっており、表面11aに複数のストリート(分割予定ライン)13が格子状に形成されていると共に、該複数のストリート13によって区画された複数の領域にIC、LSI等のデバイス15が形成されている。
このように構成された半導体ウエーハ11は、デバイス15が形成されているデバイス領域17と、デバイス領域17を囲繞する外周余剰領域19を備えている。また、半導体ウエーハ11の外周には、シリコンウエーハの結晶方位を示すマークとしてのノッチ21が形成されている。
半導体ウエーハ11の表面11aには、保護テープ貼着工程により保護テープ23が貼着される。従って、半導体ウエーハ11の表面11aは保護テープ23によって保護され図2に示すように裏面11bが露出する形態となる。
以下、このように構成された半導体ウエーハ11の裏面11bを所定の厚さに研削する研削装置を図3を参照して説明する。研削装置は、概略直方体形状の装置ハウジング2を具備している。装置ハウジング2の右上端には、垂直支持板4が立設されている。
垂直支持板4の内側面には、上下方向に伸びる二対の案内レール6及び8が設けられている。一方の案内レール6には粗研削ユニット10が上下方向に移動可能に装着されており、他方の案内レール8には仕上げ研削ユニット12が上下方向に移動可能に装着されている。
粗研削ユニット10は、ユニットハウジング14と、ユニットハウジング14内に回転可能に収容されたスピンドル16と、スピンドル16を回転する電動モータ18と、スピンドル16の下端に固定されたホイールマウント20と、ホイールマウント20の下端に装着された研削ホイール22とを含んでいる。研削ホイール22には粗研削用の研削砥石が環状に配設されている。
ユニットハウジング14は移動基台24に取り付けられており、ボール螺子26とパルスモータ28とから構成される研削送り機構30により粗研削ユニット10が案内レール6に沿って上下方向(後述するチャックテーブルの保持面に対して垂直方向)に移動される。
仕上げ研削ユニット12も粗研削ユニット10と同様に構成されており、ユニットハウジング32と、ユニットハウジング32内に収容されたスピンドル34と、スピンドル34を回転駆動する電動モータ36と、スピンドル34の先端に固定されたホイールマウント38と、ホイールマウント38に装着された研削ホイール40とを含んでいる。研削ホイール40には、仕上げ研削用の研削砥石が環状に配設されている。
ユニットハウジング32は移動基台42に取り付けられており、ボール螺子44とパルスモータ46とから構成される研削送り機構48により仕上げ研削ユニット12はガイドレール48に沿って上下方向に移動される。
研削装置は、垂直支持板4の前側において装置ハウジング2の上面と略面一となるように配設されたターンテーブル50を具備している。ターンテーブル50は比較的大径の円盤状に形成されており、図示しない回転駆動機構によって矢印51で示す方向に回転される。
ターンテーブル50には、互いに円周方向に120度離間して3個のチャックテーブル52が水平面内で回転可能に配置されている。図4及び図5に示すように、チャックテーブル52は、ポーラスセラミック材により円盤状に形成された吸着チャック(吸引保持部)56と、吸着チャック56を囲繞する枠体54と、枠体54を回転可能に支持するテーブル基台58とを含んでおり、テーブル基台58内にチャックテーブル52を回転する電動モータが収容されている。
このように構成されたチャックテーブル52は、テーブル基台58内に収容された電動モータにより図3で反時計回り方向に回転される。ターンテーブル50に配設された三個のチャックテーブル52は、ターンテーブル50が適宜回転することにより、ウエーハ搬入・搬出領域A、粗研削ユニット10に対向する粗研削加工領域、仕上げ研削ユニット12に対向する仕上げ研削加工領域、及びウエーハ搬入・搬出領域Aに順次移動される。
研削装置は、ウエーハ搬入・搬出領域Aに対して一方側に配置され、研削加工前のウエーハをストックする第1のカセット60と、ウエーハ搬入・搬出領域Aに対して他方側に配置され、研削加工後のウエーハをストックする第2のカセット62を具備している。
第1のカセット60とウエーハ搬入・搬出領域Aとの間には、第1のカセット60から搬出されたウエーハを載置する仮置きテーブル64が配設されている。ウエーハ搬入・搬出領域Aと第2のカセット62との間にはスピンナ洗浄手段66が配設されている。
第1のウエーハ搬送手段68は、保持アーム70と、保持アーム70を移動する多節リンク機構72から構成され、第1のカセット60内に収納されたウエーハを仮置きテーブル64に搬出するとともに、スピンナ洗浄手段66で洗浄されたウエーハを第2のカセット62に搬送する。
第2のウエーハ搬送手段74は、仮置きテーブル64上に載置された研削加工前のウエーハをウエーハ搬入・搬出領域Aに位置付けられたチャックテーブル52上に搬送すると共に、研削加工後のウエーハをチャックテーブル52上からスピンナ洗浄手段66に搬送する。
第2のウエーハ搬送手段74は、図4及び図5に示すように、回転可能及び上下動可能なアーム76と、アーム76の先端に回転可能に装着されたヘッド78と、ヘッド78の下側に取り付けられた吸着パッド80と、ヘッド78に固定された一対の板部材88を含んでいる。
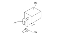
各板部材88には貫通穴91を有し、先端部90aがテーパ状に形成されたノズル90が垂直方向に伸長するように取り付けられている。各板部材88の下面にはブロック102が固着されている。ブロック102内にはシリンダ室104が画成されており、シリンダ室104内にはピストン106が挿入されている。
ピストン106は図6にその詳細を示すU形状部材108に連結されている。ブロック102の側面にはシリンダ室104に連通した連通路110が開口しており、シリンダ室104内にはリターンスプリング112が介装されている。
図4に示すように、ヘッド78に形成された開口82は開閉弁84を介して真空吸引源86に接続されている。ノズル90の貫通孔91は開閉弁92を介して真空吸引源86に接続されていると共に、開閉弁94及び混合部96を介して水源98及びエアー源100に接続されている。ブロック102の連通路110は開閉弁114を介してエアー源100に接続されている。
再び図5を参照すると、チャックテーブル52の枠体54には吸引室116に連通する一対の横方向連通路120と、横方向連通路120に連通する縦方向連通路118が形成されている。横方向連通路120内には連通路120を開閉可能な弁体122が挿入されており、弁体122の外側端部は係合片124に形成されている。横方向連通路120内にはリターンスプリング126が介装されている。
以上のように構成された研削装置により、半導体ウエーハ11の裏面を研削する研削方法につき以下に説明する。まず、第1のカセット60内に収容されたウエーハは第1のウエーハ搬送手段68により取り出されて、仮置きテーブル64に搬送される。
仮置きテーブル64で概略の位置合わせが達成されたウエーハは、第2のウエーハ搬送手段74によりウエーハ搬入・搬出領域Aに位置付けられたチャックテーブル52上に搬送される。
即ち、第2のウエーハ搬送手段74のヘッド78を仮置きテーブル64上に回動し、開閉弁84を開いて吸着パッド80を真空吸引源86に連通する。これにより、仮置きテーブル64上のウエーハが吸着パッド80に吸着される。
このように、吸着パッド80がウエーハを吸着した状態で、第2のウエーハ搬送手段74のアーム76を反時計回り方向に回動して、ヘッド78をウエーハ搬入・搬出領域Aに位置付けられたチャックテーブル52上に位置付ける。
次いで、図7に示すように第2のウエーハ搬送手段74の吸着パッド80をチャックテーブル52上に下降してウエーハ11を吸着チャック56に接触させる。この時、ノズル90の先端部90aが縦方向連通路118内に挿入されて丁度はまり合うように嵌合する。
これと同時に、開閉弁114を開いて連通路110をエアー源100に接続する。これにより、エアー源100からの圧縮エアーによりリターンスプリング104の付勢力に抗してピストン106が押されるため、U形状部材108が弁体122の係合片124に係合して弁体122を外側方向に引っ張るため、縦方向連通路118が横方向連通路122を介して吸引室116に連通する。
この状態で、開閉弁84を閉じて開閉弁92を開くと、真空吸引源86がノズル90の貫通穴91、縦方向連通路118、横方向連通路122を介して吸引室116に接続され、ウエーハがチャックテーブル52の吸着チャック56により吸引保持される。
このように、ウエーハ11がチャックテーブル52の吸着チャック56により吸引保持されたなら、開閉弁114を閉じる。その結果、U形状部材108と係合片124との係合が外れるため、弁体122が横方向連通路120を閉鎖する。
次いで、開閉弁92を閉じるとともに、第2のウエーハ搬送手段74のヘッド78をチャックテーブル52上から上方に離間させる。弁体122が横方向連通路120を閉鎖しているため、吸引室116内は真空吸引状態に保持される。
図2に示すように、ウエーハ11は保護テープ23を下側にしてチャックテーブル52の吸着チャック56により吸引保持されるため、保護テープ23が吸着チャック56に密着する。その結果、吸着チャック56は保護テープ23によりシールされるため、吸引室116内の真空吸引状態は相当な時間持続する。
このようにチャックテーブル52がウエーハ11を吸引保持した状態で、ターンテーブル50を矢印51に示す方向に120度回転してウエーハ11を保持したチャックテーブル52を粗研削ユニット10に対向した粗研削加工領域に位置付ける。
チャックテーブル52を図3で反時計回り方向に300rpmで回転しつつ、研削ホイール22を反時計回り方向に6000rpmで回転させるとともに、研削送り機構30を作動して研削ホイール22の研削砥石をウエーハ11の裏面に接触させる。そして、研削ホイール22を所定の研削送り速度で下方に所定量研削送りしてウエーハ11の粗研削を遂行する。
粗研削の終了したウエーハ11は、ターンテーブル50を更に反時計回り方向に120度回転することにより、仕上げ研削ユニット12に対向した仕上げ研削加工領域に位置付けられる。
仕上げ研削加工領域でウエーハ11の仕上げ研削を実施した後、ターンテーブル50を更に120度回転することにより、仕上げ研削の終了したウエーハ11はウエーハ搬入・搬出領域Aに再度位置付けられる。
このように仕上げ研削の終了したウエーハ11がウエーハ搬入・搬出領域Aに位置付けられると、第2のウエーハ搬送手段74のアーム76を回動してヘッド78をチャックテーブル52の吸着チャック56上部に位置付ける。この状態で、ヘッド78を下降して吸着パッド80をチャックテーブル52のウエーハ11に接触させる。
この状態で、ノズル90の先端部90aが縦方向連通路118内に挿入されて縦方向連通路118に丁度はまり込むように嵌合する。開閉弁114を開くと連通路110がエアー源100に接続されるため、リターンスプリング104の付勢力に抗してピストン106が半径方向外側に移動されてU形状部材108が弁体122の係合片124に係合する。これにより、吸引室116は横方向連通路120を介して大気に連通するためその吸引力は消失する。
この状態で開閉弁94を開くと、水源98からの水とエアー源100からのエアーが混合部96で混合されて、水とエアーとの混合流体がノズル90の貫通穴91、縦方向連通路118、横方向連通路122を介して吸引室116内に噴出され、ウエーハ11をチャックテーブル52の吸着チャック56から離脱させる。次いで、開閉弁94を閉じ開閉弁84を開くと、ヘッド78の開口82が真空吸引源86に接続され、吸着パッド80がウエーハ11を吸着する。
吸着パッド80により吸着された研削済みのウエーハ11は、第2の搬送手段74のアーム76を旋回することによりスピンナ洗浄手段66に搬送されて、スピンナ洗浄手段66で洗浄及びスピン乾燥される。洗浄及びスピン乾燥されたウエーハ11は、第1の搬送手段68により搬送されて第2のカセット62の所定位置に収容される。
上述した実施形態によると、チャックテーブル52に吸引力を伝達したり、液体を供給したりする機能を、ウエーハ11をチャックテーブル52に搬入又は搬出する第2のウエーハ搬送手段74に設けたので、チャックテーブル52にロータリージョイントを介してチューブを配設する必要がなく、チャックテーブル52の構成が簡単になり故障の頻度を低減できるとともに、そのコストの低減を図ることができる。
上述した実施形態の変形例として、一つの第2のウエーハ搬送手段74で研削前のウエーハをチャックテーブル52上に搬入したり、研削済みのウエーハをチャックテーブル52から搬出したりする代わりに、研削前のウエーハをチャックテーブル52上に搬入するウエーハ搬入手段、及び研削済みのウエーハをチャックテーブル52から搬出するウエーハ搬出手段をそれぞれ独立して設けるようにしても良い。
この場合には、チャックテーブル52に吸引力を伝達する(付与する)吸引力伝達部をウエーハ搬入手段に設け、チャックテーブル52の吸着チャック56に水とエアーとの混合流体を供給して、ウエーハ11を吸着チャック56から離脱させる流体供給部をウエーハ搬出手段に設けるようにする。
半導体ウエーハの表面側斜視図である。 保護テープが貼着された半導体ウエーハの裏面側斜視図である。 本発明実施形態に係る研削装置の外観斜視図である。 本発明実施形態の要部を示す斜視図である。 本発明実施形態の要部を示す断面図である。 ブロックに取り付けられたU形状部材と係合片との関係を示す分解斜視図である。 第2の搬送手段のヘッドがチャックテーブルに当接した状態の斜視図である。
符号の説明
10 粗研削ユニット
12 仕上げ研削ユニット
16,34 スピンドル
22,40 研削ホイール
30,48 研削送り機構
50 ターンテーブル
52 チャックテーブル
56 吸着チャック
74 第2の搬送手段
78 ヘッド
80 吸着パッド
84,92,94,114 開閉弁
86 真空吸引源
90 ノズル
98 水源
100 エアー源
110 連通路
106 ピストン
108 U形状部材
116 吸引室
118 縦方向連通路
120 横方向連通路
122 弁体
124 係合片

Claims (1)

  1. ウエーハを保持するチャックテーブルと、該チャックテーブルに保持されたウエーハを研削する研削ホイールを回転可能に装着した研削手段と、該チャックテーブルに研削すべきウエーハを搬入し、及び/又は該チャックテーブルから研削済みのウエーハを搬出するウエーハ搬送手段を備えた研削装置であって、
    該チャックテーブルは、ウエーハを吸引保持する吸引保持部と、該吸引保持部を囲繞する枠体と、該枠体を回転可能に支持するテーブル基台と、該枠体の外周に形成され該吸引保持部に連通する連通路と、該連通路内に配設され該連通路を開状態と閉状態とに切換える開閉弁とを含んでおり、
    該ウエーハ搬送手段は、ウエーハを吸着する吸着パッドと、該吸着パッドがウエーハを挟んで前記チャックテーブルの該吸引保持部に当接したとき、該チャックテーブルの該枠体に形成された該連通路に係合し該吸引保持部に吸引力を伝達する吸引力伝達部と、該チャックテーブルの該枠体に形成された該連通路に係合し該吸引保持部に流体を供給してウエーハを該吸引保持部から離脱させる流体供給部とを含んでいることを特徴とする研削装置。
JP2008234217A 2008-09-12 2008-09-12 研削装置 Active JP5208634B2 (ja)

Priority Applications (1)

Application Number Priority Date Filing Date Title
JP2008234217A JP5208634B2 (ja) 2008-09-12 2008-09-12 研削装置

Applications Claiming Priority (1)

Application Number Priority Date Filing Date Title
JP2008234217A JP5208634B2 (ja) 2008-09-12 2008-09-12 研削装置

Publications (2)

Publication Number Publication Date
JP2010064208A true JP2010064208A (ja) 2010-03-25
JP5208634B2 JP5208634B2 (ja) 2013-06-12

Family

ID=42190242

Family Applications (1)

Application Number Title Priority Date Filing Date
JP2008234217A Active JP5208634B2 (ja) 2008-09-12 2008-09-12 研削装置

Country Status (1)

Country Link
JP (1) JP5208634B2 (ja)

Cited By (1)

* Cited by examiner, † Cited by third party
Publication number Priority date Publication date Assignee Title
JP2012006090A (ja) * 2010-06-22 2012-01-12 Disco Corp 研削加工装置

Citations (5)

* Cited by examiner, † Cited by third party
Publication number Priority date Publication date Assignee Title
JP2002192447A (ja) * 2000-12-25 2002-07-10 Canon Inc リセス皿取り扱い治具
JP2003059872A (ja) * 2001-08-17 2003-02-28 Disco Abrasive Syst Ltd 研削装置
JP2008177406A (ja) * 2007-01-19 2008-07-31 Disco Abrasive Syst Ltd ウエーハの加工装置
JP2009142961A (ja) * 2007-12-17 2009-07-02 Tokyo Seimitsu Co Ltd 平板状保持具の保持装置
JP2009206475A (ja) * 2008-01-30 2009-09-10 Tokyo Seimitsu Co Ltd バンプが形成されたウェーハを処理するウェーハ処理方法およびウェーハ処理装置

Patent Citations (5)

* Cited by examiner, † Cited by third party
Publication number Priority date Publication date Assignee Title
JP2002192447A (ja) * 2000-12-25 2002-07-10 Canon Inc リセス皿取り扱い治具
JP2003059872A (ja) * 2001-08-17 2003-02-28 Disco Abrasive Syst Ltd 研削装置
JP2008177406A (ja) * 2007-01-19 2008-07-31 Disco Abrasive Syst Ltd ウエーハの加工装置
JP2009142961A (ja) * 2007-12-17 2009-07-02 Tokyo Seimitsu Co Ltd 平板状保持具の保持装置
JP2009206475A (ja) * 2008-01-30 2009-09-10 Tokyo Seimitsu Co Ltd バンプが形成されたウェーハを処理するウェーハ処理方法およびウェーハ処理装置

Cited By (1)

* Cited by examiner, † Cited by third party
Publication number Priority date Publication date Assignee Title
JP2012006090A (ja) * 2010-06-22 2012-01-12 Disco Corp 研削加工装置

Also Published As

Publication number Publication date
JP5208634B2 (ja) 2013-06-12

Similar Documents

Publication Publication Date Title
KR102214368B1 (ko) 반송 장치
KR101757932B1 (ko) 웨이퍼 반송 기구
TWI758364B (zh) 板狀工件的保持方法
JP5320014B2 (ja) 研削装置
CN111386598B (zh) 基板输送装置、基板处理系统、基板处理方法以及计算机存储介质
JP2002025961A (ja) 半導体ウエーハの研削方法
JP4256132B2 (ja) 板状物の搬送装置
JP2018015825A (ja) 加工装置
JP5318536B2 (ja) 研削装置
JP2006054388A (ja) 被加工物搬送装置,スピンナー洗浄装置,研削装置,被加工物搬送方法
JP2010177228A (ja) 研削装置
JP2003282673A (ja) 半導体ウエーハの搬送装置
JP5295731B2 (ja) ウエーハの研削方法
JP5208634B2 (ja) 研削装置
JP4119170B2 (ja) チャックテーブル
JP6879807B2 (ja) 加工装置
JP5306928B2 (ja) ウエーハ搬送装置
JP7358096B2 (ja) ウエーハ搬送機構および研削装置
JP2009076773A (ja) チャックテーブル機構
JP2007317982A (ja) 研削装置
JP6037685B2 (ja) 研削装置
JP5875224B2 (ja) 研削装置
JP7667058B2 (ja) ウェーハの製造方法、及びチャックテーブル
CN111941213B (zh) 磨削装置
JP2003273055A (ja) スピンナー洗浄装置

Legal Events

Date Code Title Description
A621 Written request for application examination

Free format text: JAPANESE INTERMEDIATE CODE: A621

Effective date: 20110824

TRDD Decision of grant or rejection written
A01 Written decision to grant a patent or to grant a registration (utility model)

Free format text: JAPANESE INTERMEDIATE CODE: A01

Effective date: 20130219

A61 First payment of annual fees (during grant procedure)

Free format text: JAPANESE INTERMEDIATE CODE: A61

Effective date: 20130220

FPAY Renewal fee payment (event date is renewal date of database)

Free format text: PAYMENT UNTIL: 20160301

Year of fee payment: 3

R150 Certificate of patent or registration of utility model

Ref document number: 5208634

Country of ref document: JP

Free format text: JAPANESE INTERMEDIATE CODE: R150

Free format text: JAPANESE INTERMEDIATE CODE: R150

FPAY Renewal fee payment (event date is renewal date of database)

Free format text: PAYMENT UNTIL: 20160301

Year of fee payment: 3

R250 Receipt of annual fees

Free format text: JAPANESE INTERMEDIATE CODE: R250

R250 Receipt of annual fees

Free format text: JAPANESE INTERMEDIATE CODE: R250

R250 Receipt of annual fees

Free format text: JAPANESE INTERMEDIATE CODE: R250

R250 Receipt of annual fees

Free format text: JAPANESE INTERMEDIATE CODE: R250

R250 Receipt of annual fees

Free format text: JAPANESE INTERMEDIATE CODE: R250

R250 Receipt of annual fees

Free format text: JAPANESE INTERMEDIATE CODE: R250

R250 Receipt of annual fees

Free format text: JAPANESE INTERMEDIATE CODE: R250

R250 Receipt of annual fees

Free format text: JAPANESE INTERMEDIATE CODE: R250

R250 Receipt of annual fees

Free format text: JAPANESE INTERMEDIATE CODE: R250

R250 Receipt of annual fees

Free format text: JAPANESE INTERMEDIATE CODE: R250