JP2010064168A - ホーニング加工方法およびホーニング盤 - Google Patents

ホーニング加工方法およびホーニング盤 Download PDF

Info

Publication number
JP2010064168A
JP2010064168A JP2008231267A JP2008231267A JP2010064168A JP 2010064168 A JP2010064168 A JP 2010064168A JP 2008231267 A JP2008231267 A JP 2008231267A JP 2008231267 A JP2008231267 A JP 2008231267A JP 2010064168 A JP2010064168 A JP 2010064168A
Authority
JP
Japan
Prior art keywords
honing
cutting
grindstone
reciprocating
spindle
Prior art date
Legal status (The legal status is an assumption and is not a legal conclusion. Google has not performed a legal analysis and makes no representation as to the accuracy of the status listed.)
Granted
Application number
JP2008231267A
Other languages
English (en)
Other versions
JP5323427B2 (ja
Inventor
Yasuo Tomita
康夫 冨田
Takahiro Azuma
隆弘 東
Current Assignee (The listed assignees may be inaccurate. Google has not performed a legal analysis and makes no representation or warranty as to the accuracy of the list.)
Nisshin Seisakusho KK
Original Assignee
Nisshin Seisakusho KK
Priority date (The priority date is an assumption and is not a legal conclusion. Google has not performed a legal analysis and makes no representation as to the accuracy of the date listed.)
Filing date
Publication date
Application filed by Nisshin Seisakusho KK filed Critical Nisshin Seisakusho KK
Priority to JP2008231267A priority Critical patent/JP5323427B2/ja
Priority to KR1020090050411A priority patent/KR101583563B1/ko
Priority to DE602009000626T priority patent/DE602009000626D1/de
Priority to AT09251518T priority patent/ATE495855T1/de
Priority to EP09251518A priority patent/EP2161100B1/en
Priority to CN200910140238.3A priority patent/CN101670551B/zh
Priority to US12/534,067 priority patent/US20100062692A1/en
Publication of JP2010064168A publication Critical patent/JP2010064168A/ja
Application granted granted Critical
Publication of JP5323427B2 publication Critical patent/JP5323427B2/ja
Active legal-status Critical Current
Anticipated expiration legal-status Critical

Links

Images

Classifications

    • BPERFORMING OPERATIONS; TRANSPORTING
    • B24GRINDING; POLISHING
    • B24BMACHINES, DEVICES, OR PROCESSES FOR GRINDING OR POLISHING; DRESSING OR CONDITIONING OF ABRADING SURFACES; FEEDING OF GRINDING, POLISHING, OR LAPPING AGENTS
    • B24B33/00Honing machines or devices; Accessories therefor
    • B24B33/02Honing machines or devices; Accessories therefor designed for working internal surfaces of revolution, e.g. of cylindrical or conical shapes
    • BPERFORMING OPERATIONS; TRANSPORTING
    • B24GRINDING; POLISHING
    • B24BMACHINES, DEVICES, OR PROCESSES FOR GRINDING OR POLISHING; DRESSING OR CONDITIONING OF ABRADING SURFACES; FEEDING OF GRINDING, POLISHING, OR LAPPING AGENTS
    • B24B33/00Honing machines or devices; Accessories therefor
    • B24B33/02Honing machines or devices; Accessories therefor designed for working internal surfaces of revolution, e.g. of cylindrical or conical shapes
    • B24B33/027Honing machines or devices; Accessories therefor designed for working internal surfaces of revolution, e.g. of cylindrical or conical shapes using an unexpandable tool
    • BPERFORMING OPERATIONS; TRANSPORTING
    • B24GRINDING; POLISHING
    • B24BMACHINES, DEVICES, OR PROCESSES FOR GRINDING OR POLISHING; DRESSING OR CONDITIONING OF ABRADING SURFACES; FEEDING OF GRINDING, POLISHING, OR LAPPING AGENTS
    • B24B33/00Honing machines or devices; Accessories therefor
    • B24B33/06Honing machines or devices; Accessories therefor with controlling or gauging equipment
    • BPERFORMING OPERATIONS; TRANSPORTING
    • B24GRINDING; POLISHING
    • B24BMACHINES, DEVICES, OR PROCESSES FOR GRINDING OR POLISHING; DRESSING OR CONDITIONING OF ABRADING SURFACES; FEEDING OF GRINDING, POLISHING, OR LAPPING AGENTS
    • B24B33/00Honing machines or devices; Accessories therefor
    • B24B33/08Honing tools
    • B24B33/089Honing tools with a rack-and-pinion mechanism for expanding the honing segments

Landscapes

  • Engineering & Computer Science (AREA)
  • Mechanical Engineering (AREA)
  • Physics & Mathematics (AREA)
  • Geometry (AREA)
  • Finish Polishing, Edge Sharpening, And Grinding By Specific Grinding Devices (AREA)

Abstract

【課題】ホーニング砥石の往復動作に切込み拡張動作を所定の関係をもって高精度に連動させることにより、ホーニング砥石に加わる負荷を均一化させるホーニング加工技術を提供する。
【解決手段】主軸往復駆動部と砥石切込み部の駆動源としてそれぞれサーボモータを使用し、これら両サーボモータの動作を相互に連動させて、ホーニング砥石に掛かる加工負荷が平均化されるように、ホーニング砥石の切込み拡張動作を、ホーニングツールの昇降(往復)動作に同期同調させて制御する。これにより、既存の基本的な機械的装置構成に修正を加えることなく、ホーニング砥石に加わる負荷を可及的に均一化させ、さらにはホーニング加工の精度安定化および精度向上を図れる。
【選択図】図6

Description

この発明は、ホーニング加工方法およびホーニング盤に関し、さらに詳細には、ホーニング砥石を、工作物の内周面に対して、機械的に一定の切込み量をもって積極的に切込みながらホーニング加工を行うホーニング加工技術に関する。
工作物(以下、ワークと称する。)の内周面を鏡面に仕上げる加工法の一つとしてホーニング加工がある。このホーニング加工においては、ホーニング砥石とワークを相対的に浮動の状態におくとともに、ホーニング砥石に回転動作と往復動作を与えて、ばね弾発力等によるホーニング砥石の拡張によりワーク内周面に精密仕上げを行う。
旧来のホーニング加工はホーニング砥石を一定圧力(ばね弾発力)でワークに押し付けて、ワーク内周面を少しずつ削り取るものであったが、近時は、研削加工の場合と同様、高い圧力または強制切込みによるホーニング加工を行うホーニング盤が種々開発され、現在主流となっている。
この種のホーニング盤には、ホーニング砥石を油圧駆動手段等により一定の加圧力をもって切込み拡張動作させる定圧加工方式のものと、ホーニング砥石を機械的駆動手段により一定の切込み量をもって切込み拡張動作させる強制切込み(定量)加工方式のものとがあるが、いずれの形式のホーニング盤にあっても、ボール盤や中ぐり盤による前加工から、研削加工等を省略していきなりホーニング加工に移る、つまり旧来の研削加工とホーニング加工を複合的に行う加工法をとることもできるようになり、効率の良い精密仕上げの実現が可能となった。
ところで、強制切込み(定量)加工方式のホーニング加工においては、上述したように、回転するホーニング砥石をワークの軸線方向に往復動作させながら、機械的駆動手段により、このホーニング砥石を切込み加工当初から加工終了まで一定の切込み量をもって連続的に切込み拡張動作させるところ、従来の加工サイクルにおけるホーニング砥石の往復動作(昇降ストローク動作)と切込み拡張動作の相互の制御は、理論上、ホーニング砥石の往復動作に対して、ホーニング砥石の切込み拡張動作が、下降ストローク時に一定の速度をもって切り込まれ、上昇ストローク時には切込みが停止するという階段状の切込み拡張動作をするように構成されている(例えば特許文献1参照)。
しかしながら、このような理論上の制御構成に対して、実際には、図8に示すように、ホーニング砥石の往復動作と切込み拡張動作が正確には同期しておらず(非同期)、相互に独立した動きをしている(図8において、破線の波形がホーニング砥石の昇降ストローク動作における位置波形を示し、実線の波形がホーニング砥石の切込み拡張動作における位置波形を示す。)。すなわち、理論上は、ホーニング砥石の往復動作の1ストローク毎に、一回のホーニング砥石の拡張指令が入る(図8の場合はホーニング砥石の下降ストロークにおける中間位置で拡張指令が入る)という切込み拡張動作制御が行われているが、実際には、このホーニング砥石の拡張指令が入ったとしても、構造上必然的に、ホーニング砥石の動作遅れ(タイムラグ)が発生してしまい、ホーニング砥石が上記1ストロークのどの位置でどのように拡張(切込み)しているのかは具体的に解明されていなかった。
そして、このような従来の砥石切込み制御においては、ホーニング砥石の往復動作に対するホーニング砥石の切込み拡張動作(切込みタイミング、切込み速度および切込み量)によって、ホーニング砥石の切込み拡張時にホーニング砥石に急激な負荷がかかったりするなど、ホーニング砥石に加わる負荷が安定せずに大きく変動し、ホーニング砥石の砥粒の過度の脱落を招くなど、ホーニング砥石にとって必ずしも理想的な状態ではなく、ホーニング加工の精度安定化ひいては精度向上の観点からも改良の余地があった。
特開2003−170344号公報
本発明は、かかる従来の問題点に鑑みてなされたものであって、その目的とするところは、強制切込み(定量)加工方式のホーニング加工において、ホーニング砥石の往復動作に切込み拡張動作を所定の関係をもって高精度に連動させることにより、ホーニング砥石に加わる負荷を可及的に均一化させ、さらにはホーニング加工の精度安定化および精度向上が可能なホーニング加工技術を提供することにある。
上記目的を達成するため、本発明のホーニング加工方法は、ホーニング砥石を備えるホーニングツールを、工作物の内周面の軸線方向へ往復移動するとともに、軸線まわりに回転させながら、上記ホーニング砥石に機械的駆動手段により一定の切込み量をもって切込み拡張動作を与えて、工作物の内周面をホーニング加工する方法であって、上記ホーニングツールを備えた回転主軸を工作物の内周面の軸線方向へ往復動作させる主軸往復駆動源および上記ホーニング砥石を切込み拡張動作させる切込み駆動源として、主軸往復駆動用サーボモータおよび切込み駆動用サーボモータをそれぞれ使用し、これら両サーボモータの動作を相互に連動させて、ホーニング砥石に掛かる加工負荷が平均化されるように、ホーニング砥石の切込み拡張動作を、ホーニングツールの上記往復動作に同期同調させて制御するように構成したことを特徴とする。
好適な実施態様として、以下の構成が採用される。
(1)ホーニング砥石の切込み拡張動作における位置波形を、ホーニングツールの昇降ストローク動作における位置波形に同期同調させるように構成する。
(2)上記切込み拡張動作を前記往復動作に同期同調させる制御構成は、上記ホーニングツールの昇降ストローク動作における位置波形と上記ホーニング砥石の切込み拡張動作における位置波形とを予め作成するとともに、上記切込み拡張動作における位置波形を上記昇降ストローク動作における位置波形に同期同調させ、上記主軸往復駆動用サーボモータおよび切込み駆動用サーボモータを、これら昇降ストローク動作における位置波形とホーニング砥石の切込み拡張動作における位置波形でそれぞれ動作するように制御する。
(3)上記切込み拡張動作における位置波形と上記昇降ストローク動作における位置波形に対する同期同調は、これら両位置波形における時間的な始点と終点を相互に一致させるとともに、両位置波形における位置変化率を相互に一致させることにより行う。
(4)上記ホーニングツールの昇降ストローク動作における位置波形がsin波形である。
(5)上記ホーニングツールの昇降ストローク動作における位置波形が三角波形である。ここに、三角波形とは、ホーニングツールのストローク速度が等速となる昇降ストローク動作における位置波形をいう(本明細書全体を通じて同様とする。)。
(6)ホーニング砥石の切込み拡張量は、ホーニングツールの昇降ストロークの1ストロークでの定量拡張である。
また、本発明のホーニング盤は、ホーニング砥石を備えるホーニングツールを、工作物の内周面の軸線方向へ往復移動するとともに、軸線まわりに回転させながら、上記ホーニング砥石により工作物の内周面をホーニング加工するホーニング盤であって、工作物の内周面の軸線方向へ往復移動可能とされるとともに、軸線まわりに回転可能に軸支されてなる回転主軸と、回転主軸を軸線回りに回転駆動する主軸回転手段と、回転主軸を上記内周面の軸線方向へ往復動作させる主軸往復手段と、回転主軸先端に装着され、上記内周面に沿った砥石面を有するホーニング砥石を拡縮可能に備えるホーニングツールと、このホーニングツールのホーニング砥石に所定の切込み拡張動作を与える砥石切込み手段と、上記主軸回転手段、主軸往復手段および砥石切込み手段の動作を相互に連動して自動制御する制御手段とを備えてなり、上記主軸往復手段および砥石切込み手段の駆動源が、それぞれ主軸往復用サーボモータおよび砥石切込み用サーボモータからなり、上記制御手段は、これら両サーボモータの動作を相互に連動させて、ホーニング砥石に掛かる加工負荷が平均化されるように、ホーニング砥石の切込み拡張動作を、ホーニングツールの上記往復動作に同期同調させて制御するように構成されていることを特徴とする。
好適な実施態様として、上記制御手段は、上記主軸回転手段、主軸往復手段および砥石切込み手段の動作を相互に連動して自動制御して、上述のホーニング加工方法を実行するように構成される。
本発明によれば、ホーニングツールを備えた回転主軸を工作物の内周面の軸線方向へ往復動作させる主軸往復駆動源と上記ホーニングツールのホーニング砥石を切込み拡張動作させる切込み駆動源として、主軸往復駆動用サーボモータおよび切込み駆動用サーボモータをそれぞれ使用し、これら両サーボモータの動作を相互に連動させて、ホーニング砥石に掛かる加工負荷が平均化されるように、ホーニング砥石の切込み拡張動作を、ホーニングツールの上記往復動作に同期同調させて制御するように構成したから、以下に列挙するような効果が得られ、強制切込み(定量)加工方式のホーニング加工において、既存の基本的な機械的装置構成に修正を加えることなく(センサ等の追加の機構を追加等する必要なし)、ホーニング砥石の往復動作に切込み拡張動作を所定の関係をもって高精度に連動させて、ホーニング砥石に加わる負荷を可及的に均一化させ、さらにはホーニング加工の精度安定化および精度向上が可能なホーニング加工技術を提供することができる。
(1)ホーニング砥石の長寿命化:
本発明によれば、主軸往復駆動用サーボモータおよび切込み駆動用サーボモータの動作を相互に連動させて、ホーニング砥石に掛かる加工負荷が平均化されるように、ホーニング砥石の切込み拡張動作を、ホーニングツールの上記往復動作に同期同調させて制御するように構成したから、ホーニング砥石の切込み拡張時にホーニング砥石に急激な負荷がかかったりすることがなく、ホーニング砥石に優しい切込み拡張動作が実現する。
具体的には、例えば、ホーニング砥石の切込み拡張量を、ホーニングツールの昇降ストロークの1ストロークで固定的に設定することによる定量拡張が可能で、しかも、ホーニングツールのストローク速度に応じたホーニング砥石の切込み拡張が行えるため、ホーニング砥石に急激な負荷がかからない。これにより、ホーニング砥石の砥粒の脱落を抑えて、ホーニング砥石の可及的な寿命延長が可能で、ホーニング砥石の長寿命化が図れる。
(2)精度安定:
上記のように、ホーニング砥石の切込み拡張時にホーニング砥石に急激な負荷がかかったりすることがない結果、ホーニング砥石に加わる負荷が変動することなく均一化して、ホーニング加工の精度安定化および精度向上が図れる。
(3)穴形状コントロール:
また、ホーニング砥石の切込み拡張動作を、ホーニングツールの上記往復動作に同期同調させて制御する構成により、ホーニングツールの往復ストローク位置に応じて任意の位置でホーニング砥石の切込み拡張を行える結果、ワークの加工穴形状を所望のとおりコントロールすることが可能となる。
(4)穴形状修正:
さらに、上記のとおりワークの加工穴形状をコントロールできる結果、ワークの加工穴形状の修正も適宜行うことが可能となる。
以下、本発明の実施形態を図面に基づいて詳細に説明する。
実施形態1
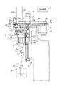
本発明に係るホーニング盤を図1に示し、このホーニング盤は、具体的にはワークWの円筒状の加工穴の内周面Waを加工する立形のもので、先端にホーニングツール1を備える回転主軸2、主軸回転駆動部(主軸回転手段)3、主軸往復駆動部(主軸往復手段)4、砥石切込み部(砥石切込み手段)5および装置制御部(制御手段)6などを主要部として備えてなる。
ホーニングツール(いわゆるホーニングヘッド)1は、回転主軸2の先端つまり下端2aに交換可能に装着されている。
このホーニングツール1の内部には、図2に示すように、径方向へ拡縮可能に配された複数のホーニング砥石10、10、…、これらホーニング砥石10、10、…を拡張動作させるコーンロッド11およびホーニング砥石10、10、…を復帰動作させる復帰ばね(図示省略)等を備える。
各ホーニング砥石10は、ワークWの内周面Waに沿った砥石面10aを有する。また、コーンロッド11は、上記ホーニングツール1内において上下方向へ移動可能に設けられており、その先端ウェッジ11aが各ホーニング砥石10の砥石台10bを押圧する砥石拡張部とされるとともに、その上部である基部ロッド11bが、後述する砥石拡張ロッド35に連結されている。また、図示しないが、ホーニング砥石10、10、…は上記復帰ばねにより常時縮閉方向へ弾発的に付勢されている。
そして、上記ホーニング砥石10、10、…は、上記コーンロッド11の下動に伴って拡開動作される一方、コーンロッド11の上動に伴って上記復帰ばねにより縮閉動作されることとなる。
回転主軸2は、その下端にホーニングツール1を備えるとともに、主軸駆動軸15、動力伝達部25a〜25cおよび駆動モータ16等を含む上記主軸回転駆動部3と、スライド本体18、送りネジ機構19、駆動モータ20等を含む上記主軸往復駆動部4とにそれぞれ連係されている。
すなわち、回転主軸2はスライド本体18に回転可能に軸支されており、このスライド本体18は、案内レール22により昇降案内されるとともに、昇降駆動源である上記送りネジ機構19および駆動モータ20に駆動連結されて、上記主軸往復駆動部4が構成されている。
上記案内レール22は、機体21上に上下方向へ直線状に延びて設けられ、この案内レール22に上記スライド本体18の摺動部18aが摺動案内可能に支持されている。また、スライド本体18の摺動部18aには、送りネジ機構19のナット体19aが一体的に連結固定され、このナット体19aが、機体21に垂直上下方向へ延びるとともに回転可能に軸支された送りネジ19bに上下方向へ螺進退可能に螺合されている。送りネジ19bは、その上端部がカップリング23を介して上記駆動モータ20のモータ軸20aに駆動連結されている。この駆動モータ20としては、ロータリエンコーダ等の位置検出センサ73が一体的に内蔵されてなるサーボモータが使用されており、上記位置検出センサ73により駆動モータ20の回転量が検出される。
そして、この駆動モータ20のモータ軸20aが回転駆動することにより、ボールねじ機構19の送りネジ19bが回転されて、ナット体21bと一体のスライド本体18が上下方向へ移動され、このスライド本体18を介して、回転主軸2つまりはホーニングツール1が昇降動作されることとなる。また、このホーニングツール1の昇降動作は、駆動モータ20に内蔵された上記位置検出センサ73により検出されて、その検出結果が後述する装置制御部6の主軸往復制御部71に送られる。
また、回転主軸2の上端部2bは上記主軸回転駆動部3に駆動連結されている。すなわち、回転主軸2の上端部2bは、機体21のヘッド部21aに回転可能に設けられた主軸駆動軸15にスプライン嵌合されて、この主軸駆動軸15に対して、上下方向(軸線方向)へ相対的に移動可能でかつ一体回転可能に連結されている。
具体的には、回転主軸2の上端部2bが、ロータリスプライン装置24により、機体21のヘッド部21aに上下方向へ摺動可能に軸支されるとともに、上記主軸駆動軸15に同軸上にかつ一体回転可能に接続されている。
主軸駆動軸15には伝動プーリ25aが取り付けられ、この伝動プーリ25aが、伝動ベルト25bを介して、駆動モータ16のモータ軸16aに取り付けられた伝動プーリ25cに連結されている。この駆動モータ16としては、ロータリエンコーダ等の位置検出センサ63が一体的に内蔵されてなるサーボモータが使用されており、上記位置検出センサ63により駆動モータ16の回転量が検出され、これにより、上記ホーニングツール1の回転動作が検出される。
そして、この駆動モータ16の回転駆動により、主軸駆動軸15を介して、回転主軸2つまりはホーニングツール1が回転駆動されることとなる。また、このホーニングツール1の回転動作は、駆動モータ16に内蔵された上記位置検出センサ63により検出されて、その検出結果が後述する装置制御部6の主軸回転制御部61に送られる。
砥石切込み部5は、上記ホーニング砥石10、10、…に切込み動作を与えるもので、図1および図3に示すように、砥石切込み駆動部(切込み駆動手段)30および砥石切込み制御部(切込み制御手段)62を主要部として備えてなる。
砥石切込み駆動部30は、ホーニング砥石10、10、…に所定の切込み量をもった切込み動作を機械的に与えるもので、具体的には、上記ホーニングツール1のコーンロッド11(図2)、砥石拡張ロッド35(図2)、切り込み駆動機構36および駆動モータ37等を備える。
砥石拡張ロッド35は、具体的には図示しないが、回転主軸2の下半部に設けられた軸穴内において、その軸線方向(上下方向)へ移動可能に設けられており、その下端部35aが上記コーンロッド11の基部ロッド11bに連結されるとともに(図2参照)、その上端部(図示省略)が切込み駆動機構36に連結されている。
この切込み駆動機構36は、砥石拡張ロッド35を上下方向(軸線方向)へ移動させるもので、従来公知のように、砥石拡張ロッド35に連結された従動体40およびこの従動体40を上下動させる駆動ねじ軸部材41を主要部として構成されている。
従動体40は、回転主軸2に対して、相対的に上下方向へ摺動可能に設けられるとともに、この回転主軸2内に配された上記砥石拡張ロッド35に対して、上下方向へ一体的に連結されている。
また、従動体40は、これに一体固定された雌ねじ部材(図示省略)を介して、上記駆動ねじ軸部材41に上下方向へ螺進退可能に係合されている。この駆動ねじ軸部材41は、スライド本体18に、回転主軸2と平行にかつ回転可能に軸支される。
駆動ねじ軸部材41は、機体21のヘッド部21aに回転可能に設けられた切込み駆動軸42に連係されている。具体的には、この切込み駆動軸42は、駆動ねじ軸部材41と平行に軸支されるとともに、その上端部42aが、機体21のヘッド部21aに回転可能に設けられた歯車機構43の回転歯車軸43aにスプライン嵌合されて、この回転歯車軸43aに対して、上下方向へ相対的に移動可能でかつ一体回転可能に連結されている。
具体的には、切込み駆動軸42の上端部42aが、ロータリスプライン装置44により、機体21のヘッド部21aに上下方向へ摺動可能に軸支されるとともに、上記回転歯車軸43aに同軸上にかつ一体回転可能に接続されている。この回転歯車軸43aは、歯車43bと噛合し、この歯車43bが駆動モータ37のモータ軸37aに一体的に取付け固定されている。一方、切込み駆動軸42は、歯車機構44を介して上記駆動ねじ軸部材41の上端部41aに駆動連結されている。
駆動モータ37は、ロータリエンコーダ等の位置検出センサ64が一体的に内蔵されてなるサーボモータが使用されており、上記位置検出センサ64により駆動モータ37の回転量が検出され、これにより、上記ホーニングツール1のホーニング砥石10、10、…の切込み拡張動作が検出される。
そして、この駆動モータ37のモータ軸37aの回転駆動により、切込み駆動軸42が回転すると、駆動ねじ軸部材41が回動されて、これに螺進退可能に螺合された従動体40が、回転主軸2に対して相対的に下動または上動されることとなる。つまり、従動体40の下動時は、これと一体の砥石拡張ロッド35がコーンロッド11を下方へ押動して、ホーニング砥石10、10、…が拡張動作される。一方、従動体40の上動時は、砥石拡張ロッド35の上動に伴って、ホーニングツール1内の復帰ばね(図示省略)によりホーニング砥石10、10、…が縮閉動作される。また、ホーニング砥石10、10、…の切込み拡張動作は、駆動モータ20に内蔵された上記位置検出センサ64により検出されて、その検出結果が後述する装置制御部6の砥石切込み制御部62に送られる。
装置制御部6は、ホーニング盤の各駆動部3、4、5の動作を相互に連動して自動制御するもので、具体的には、CPU、ROM、RAMおよびI/Oポートなどからなるマイクロコンピュータを主要部として構成されている。
この装置制御部6には、ホーニング加工を実行させるための加工プログラム等が組み込まれており、図3に示すように、主制御部70、主軸回転駆動部3の駆動源である駆動モータ16を制御する主軸回転制御部61、主軸往復駆動部4の駆動源である駆動モータ(主軸往復駆動用サーボモータ)20を制御する主軸往復制御部71および砥石切込み部5の駆動源である駆動モータ(砥石切り込み用サーボモータ)37を制御する砥石切込み制御部62などから構成されている。
主制御部70には、上記各駆動部3、4、5の駆動源16、20、37の駆動に必要な種々の情報、例えば、ホーニングツール1の回転速度および昇降速度、あるいは、ホーニング砥石10、10、…の基準位置(ストローク位置)P1、P2およびストローク幅S(図2参照)、または切込み速度および切込みタイミング等が、NC(数値制御)データとして予めまたは操作盤のキーボード等により適宜選択的に入力設定されており、これらのデータに従って上記各制御部61、62、71を制御する。
上記主軸回転制御部61、主軸往復制御部71および砥石切込み制御部62は、具体的には、図4に示すように、演算部80とモータ駆動部81とから構成されたサーボアンプであり、それぞれ、駆動モータ16、20、37のモータ軸16a、20a、37aの回転数を検出するロータリエンコーダ等の位置検出センサ63、73、64からの検出信号が上記演算部80にフィードバック入力されて、この演算部80が、上記入力された検出値(回転数)を主制御部70からの指令値(回転数)と比較演算して、その演算結果に基づき、これら検出値と指令値を一致させるべく上記駆動モータ16、19、37に検出値と指令値の誤差に比例した電力を供給する。
特に、上記主軸往復制御部71および砥石切込み制御部62は、主制御部70からの指令に従って、駆動モータ20および37の動作を相互に連動させることにより、ホーニング砥石10、10、…に掛かる加工負荷が平均化されるように、ホーニング砥石10、10、…の切込み拡張動作を、ホーニングツール1の上記往復動作に同期同調させて制御するように構成されている。
すなわち、主制御部70からの指令に従って、上記砥石切込み制御部62が、ホーニング砥石10、10、…に掛かる加工負荷が平均化されるように、上記砥石切込み駆動部(切込み駆動手段)30の砥石切込み用サーボモータ37を制御するように構成されている。
具体的には、ホーニング砥石10、10、…の切込み拡張動作における位置波形がホーニングツール1の昇降ストローク動作における位置波形に同期同調するように制御されて、ホーニング砥石10、10、…の切込み拡張速度が、ホーニングツール1の昇降ストローク速度に比例するように構成されている。
このように、上記両位置波形を同期同調させることにより、ホーニングツール1とホーニング砥石10、10、…の高精度な位置決め制御を行いながら、ホーニング砥石10、10、…の切込み拡張速度を、ホーニングツール1の昇降ストローク速度に同調させることが可能となる。
ここに、ホーニング砥石10、10、…の切込み拡張動作における位置波形がホーニングツール1の昇降ストローク動作における位置波形に同期同調するとは、以下のように定義される。
図5を参照して、ホーニングツール1の昇降ストローク動作の位置波形における上端位置P1から下端位置P2(図2参照)、または下端位置P2から上端位置P1までの位置変化量(ホーニングツール1の軸線方向の変化量)つまり1ストロークあたりのストローク幅S(図2参照)と、そのストローク時間t(図5(a)参照)、および、ホーニング砥石10、10、…の切込み拡張動作の位置波形における上記ストローク時間t当たりの位置変化量つまり砥石拡張量D(ホーニングツール1の径方向の変化量)(図5(b)参照)は、その加工対象となるワークWの材質・設計条件等に応じた加工条件によって決まる。
この時、上記両位置波形について、ストローク時間tにおける位置変化量SおよびDの位置変化率が同じであることが「同調する」と定義され、また、その両位置波形の1ストロークにおける時間的な始点t1と終点t2が相互に同じであることが「同期する」と定義される。この場合、上記位置変化量S、Dは+、−逆でも、位置変化率が同じであれば「同調する」とする。
図示の実施形態においては、図6に示すように、ホーニングツール1の昇降ストローク動作における位置波形がsin波形(図6における破線の波形)とされるとともに、ホーニング砥石10、10、…の切込み拡張動作における位置波形がこのsin波形と同じsin波形(図6における実線の波形)とされて、ホーニング砥石10、10、…における拡張タイミングと拡張速度がホーニングツール1の昇降ストローク動作に同期同調されている。つまり、図6に示すように、ホーニング砥石10、10、…の切込み拡張量がホーニンツール1の昇降(往復)動作1ストローク当たり一定の定量拡張とされるとともに、ホーニングツール1の昇降ストローク速度が0の時に、ホーニング砥石10、10、…の切込み拡張速度も0であり、ホーニングツール1の昇降ストローク速度が最大の時に、ホーニング砥石10、10、…の切込み拡張速度も最大となるように構成されている。
上記ホーニング砥石10、10、…の切込み拡張動作をホーニングツール1の往復動作に同期同調させる具体的な制御構成は、上記ホーニングツール1の昇降ストローク動作における位置波形と上記ホーニング砥石10、10、…の切込み拡張動作における位置波形とを予め作成するとともに、上記切込み拡張動作における位置波形を上記昇降ストローク動作における位置波形に同期同調させ、上記主軸往復駆動部4の主軸往復駆動用サーボモータ20および上記砥石切込み駆動部30の砥石切込み用サーボモータ37を、これら昇降ストローク動作における位置波形とホーニング砥石の切込み拡張動作における位置波形でそれぞれ動作するように制御する。
換言すれば、ホーニングツール1の昇降ストローク動作における位置波形(昇降ストローク軸(図示の場合は送りねじ機構19)の動作位置波形)とホーニング砥石10、10、…の切込み拡張動作における位置波形(砥石拡張ロッド35の動作位置波形)とを予め作成し、送りねじ機構19(主軸往復駆動用サーボモータ20)と砥石拡張ロッド35(砥石切り込み用サーボモータ37)がこれら位置波形でそれぞれ動くように制御される。この場合、昇降ストロークに対しては、ストローク幅Sが条件設定され得るので、そのストローク幅Sに対して、上記昇降ストローク動作における位置波形(図示の実施形態においてはsin波)で動きなさいという指令が出ることになる。一方、切込み拡張に対して、ホーニングツール1の1ストローク当たりの拡張量が固定的に条件設定され得るので(加工サイクルタイムのばらつきが防止され得る)、その拡張量に対して上記切込み拡張動作における位置波形(図示の実施形態においてはsin波)で動きなさいという指令が出されることになる。そして、このような動作位置波形において、上記切込み拡張動作における位置波形を上記昇降ストローク動作における位置波形に同期同調させる構成とされている。
この場合の上記切込み拡張動作における位置波形と上記昇降ストローク動作における位置波形に対する同期同調は、これら両位置波形における時間的な始点と終点を相互に一致させるとともに、両位置波形における位置変化率を相互に一致させることにより行う。
このように、ホーニングツール1の昇降ストローク動作における位置波形とホーニング砥石10、10、…の切込み拡張動作における位置波形を予め作成するとともに、両位置波形を同期同調させ、これら両位置波形に、ホーニングツール1のストローク動作とホーニング砥石10、10、…の切込み拡張動作がそれぞれ同時に追従制御されることで、両者の動きを完全に同期同調させて、両動作間にタイムラグが生ずるのを有効に防止することができる。
また、ホーニング砥石10、10、…を、ホーニングツール1の昇降ストロークの速度変化と同じsin波形、同じタイミングで切込み拡張させることで(つまり、同期同調させることで)、ホーニング砥石10、10、…とワークWの加工穴の内周面Waとの接触面の圧力、つまり1ストローク当たりのホーニング砥石10、10、…に加わる負荷が分散されて平均化され得る。
ちなみに、例えば図8示す従来の加工サイクルにおいては、ホーニングツール1の昇降ストローク動作に対して、この昇降ストローク動作を監視し、その速度変化等に応じてホーニング砥石10、10、…が階段状の切込み拡張動作(ホーニングツール1の昇降ストローク動作1ストロークで1回の切込み拡張動作)を行うように構成されているが、ホーニングツール1の昇降(往復)動作と正確に同期同調しておらず、タイムラグを生じてしまい、例えば、ホーニングツール1の昇降ストローク速度が0の時に、ホーニング砥石10、10、…の切込み拡張速度が最大となり、この時、ホーニング砥石10、10、…とワークWの加工穴の内周面Waとの接触面の圧力が瞬間的に大きくなることが試験的に判明した。
さらに、本実施形態においては、主軸往復駆動部4および砥石切込み部5の駆動源としてサーボモータ20、37が使用されていることにより、ホーニングツール1の昇降ストロークにおける1ストローク当たりの時間を多数の区分に分割(例えば、図示の実施形態の場合、2048の区分に分割)して、ホーニングツール1の昇降ストローク位置とホーニング砥石10、10、…の砥石拡張位置を、この多数の区分に分割した各時点毎に相互に位置決めさせることで、ホーニング砥石10、10、…の滑らかな拡張さらにはホーニング砥石10、10、…に優しい拡張を実現している。つまり、例えば図8示す従来の加工サイクルと比較すると、この従来の加工サイクルでは、ホーニングツール1の昇降ストローク動作1ストロークで1回の切込み拡張動作であるが、本実施形態においては、ホーニングツール1の昇降ストローク動作1ストロークにおいて2048回に分散して切込み拡張動作させることで、ホーニング砥石10、10、…切込時の砥石にかかる圧力を有効に分散させている。
例えば、図示の実施形態の場合、ストローク幅Sが50mm、ストローク速度15m/minとすることで、昇降ストローク1往復の時間は0.4秒となるところ、この0.4秒を2048区分に分割して制御することになる。
しかして、以上のように構成されたホーニング盤において、上記主軸回転駆動部3、主軸往復駆動部4および砥石切込み部5は、その動作が上記装置制御部6により、相互に連動して自動制御され、これにより、ホーニングツール1が、ワーク保持治具8に支持されたワークWの内周面Waに対して、ホーニング領域全体(つまり図2におけるストローク幅S)にわたって所定の切込み拡張量をもった均一なホーニング加工工程(ホーニング加工方法)が行われる。
すなわち、ホーニングツール1が、主軸回転駆動部3によりワークWの内周面Waの軸線まわりに回転するとともに、主軸往復駆動部4によりワークWの内周面Waの軸線方向へ往復移動しながら、砥石切込み部5によりホーニング砥石10、10、…が一定の切込み量をもって切込み拡張動作を与えられて、ワークWの内周面Waがホーニング加工される。
この際、ホーニング砥石ホーニング砥石10、10、…の切込み拡張動作は、駆動モータ20および37の動作を相互に連動させることにより、ホーニング砥石10、10、…に掛かる加工負荷が平均化されるように、ホーニングツール1の昇降(往復)動作に同期同調させて制御される(図5参照)。
以上のように、本実施形態のホーニング加工方法によれば、主軸往復駆動部4の駆動モータ20と砥石切込み部(砥石切込み手段)5の駆動モータ37として、主軸往復駆動用サーボモータおよび切込み駆動用サーボモータをそれぞれ使用し、これら両サーボモータの動作を相互に連動させて、ホーニング砥石10、10、…に掛かる加工負荷が平均化されるように、ホーニング砥石10、10、…の切込み拡張動作を、ホーニングツール1の昇降(往復)動作に同期同調させて制御するように構成したから、以下に列挙するような効果が得られ、この種の強制切込み(定量)加工方式のホーニング加工において、既存の基本的な機械的装置構成に修正を加えることなく、ホーニング砥石10、10、…の往復動作に切込み拡張動作を所定の関係をもって高精度に連動させて、ホーニング砥石10、10、…に加わる負荷を可及的に均一化させ、さらにはホーニング加工の精度安定化および精度向上が可能なホーニング加工技術を提供することができる。
(a)ホーニング砥石10、10、…の長寿命化:
本実施形態においては、主軸往復駆動用サーボモータ20および切込み駆動用サーボモータ37の動作を相互に連動させて、ホーニング砥石10、10、…に掛かる加工負荷が平均化されるように、ホーニング砥石10、10、…の切込み拡張動作を、ホーニングツール1の昇降(往復)動作に同期同調させて制御するように構成したから、ホーニング砥石10、10、…の切込み拡張時にホーニング砥石10、10、…に急激な負荷がかかったりすることがなく、ホーニング砥石に優しい切込み拡張動作が実現する。
具体的には、ホーニング砥石10、10、…の切込み拡張量を、ホーニングツール1の昇降ストロークの1ストロークで固定的に設定することによる定量拡張が可能で、しかも、ホーニングツール1のストローク速度に応じたホーニング砥石10、10、…の切込み拡張が行えるため、ホーニング砥石10、10、…に急激な負荷がかからない。これにより、ホーニング砥石10、10、…の砥粒の脱落を抑えて、ホーニング砥石10、10、…の可及的な寿命延長が可能で、ホーニング砥石10、10、…の長寿命化が図れる。
換言すれば、ホーニングツール1のストロークの速度が速いということは、単位時間当たりにホーニング砥石10、10、…がワークWを削る距離が長いということになるので、単位時間当たりのホーニング砥石10、10、…砥石の脱落は激しいということになる。本実施形態においては、そのホーニング砥石10、10、…砥石の脱落が激しい場所で拡張速度を上げ、逆に、ホーニング砥石10、10、…の脱落が少ない場所で拡張速度を下げることで、ホーニング砥石10、10、…にかかる圧力負荷を適切かつ有効に分散し平均化させている。
(b)精度安定:
上記のように、ホーニング砥石10、10、…の切込み拡張時にホーニング砥石10、10、…に急激な負荷がかかったりすることがない結果、ホーニング砥石10、10、…に加わる負荷が変動することなく均一化して、ホーニング加工の精度安定化および精度向上が図れる。
(c)穴形状コントロール:
また、ホーニング砥石10、10、…の切込み拡張動作を、ホーニングツール1の昇降(往復)動作に同期同調させて制御する構成により、ホーニングツール1の昇降(往復)ストローク位置に応じて任意の位置でホーニング砥石10、10、…の切込み拡張を行える結果、ワークWの加工穴形状を所望のとおりコントロールすることが可能となる。
実施形態2
本実施形態は図7に示されており、実施形態1におけるホーニング砥石10、10、…の切込み拡張動作における位置波形が改変されたものである。
すなわち、本実施形態においては、ホーニングツール1の昇降ストローク動作における位置波形が三角波形(図7における破線の波形)とされるとともに、ホーニング砥石10、10、…の切込み拡張動作における位置波形がこの三角波形に同期同調する直線波形(図7における実線の波形)となるように構成されている。
具体的には、ホーニングツール1の昇降ストローク速度が上昇ストロークおよび下降ストロークにおいて所定の等速度とされ、これに対して、ホーニング砥石10、10、…の切込み拡張量がホーニンツール1の昇降(往復)動作1ストローク当たり一定の定量拡張とされるとともに、その切込み拡張速度が所定の等速度に制御されるように構成されている。
その他の構成および作用は実施形態1と同様である。
なお、上述した実施形態1および2はあくまでも本発明の好適な実施態様を示すものであって、本発明はこれに限定されることなく、その範囲内で種々の設計変更が可能である。一例として以下のような改変が可能である。
ホーニングツール1の昇降ストローク動作における位置波形とホーニング砥石10、10、…の切込み拡張動作における位置波形は、ホーニング砥石10、10、…に掛かる加工負荷が平均化されるように、ホーニング砥石10、10、…の切込み拡張動作が、ホーニングツール1の上記往復動作に同期同調するものである限り、図示の実施形態(図5および図6)のものに限定されず、種々の波形が採用可能であり、例えば、ホーニングツール1の昇降ストローク動作における位置波形が変調波形であってもよい。
本発明に係る実施形態1であるホーニング盤の概略構成を一部断面で示す正面図である。 同ホーニング盤の砥石切込み部を拡大して示す正面断面図である。 同ホーニング盤の装置制御部の構成を示すブロック図である。 同装置制御部におけるサーボ制御系の構成を示すブロック図である。 同装置制御部の制御におけるホーニング砥石の切込み拡張動作における位置波形とホーニングツールの昇降ストローク動作における位置波形の同期同調についての定義を説明するための線図である。 同ホーニング盤におけるホーニングツールの昇降ストローク動作とホーニング砥石の切込み拡張動作との関係を示す線図である。 本発明に係る実施形態3であるホーニング盤におけるホーニングツールの昇降ストローク動作とホーニング砥石の切込み拡張動作との関係を示す線図である。 従来のホーニング盤におけるホーニングツールの昇降ストローク動作とホーニング砥石の切込み拡張動作との関係を示す線図である。
符号の説明
W ワーク
Wa ワークの内周面
1 ホーニングツール
2 回転主軸
3 主軸回転駆動部(主軸回転手段)
4 主軸往復駆動部(主軸往復手段)
5 砥石切込み部(砥石切込み手段)
6 装置制御部(制御手段)
10 ホーニング砥石
16 駆動モータ
19 送りネジ機構
20 主軸往復駆動用サーボモータ(駆動モータ、駆動源)
30 砥石切込み駆動部(切込み駆動手段)
37 砥石切り込み用サーボモータ(駆動モータ、駆動源)
61 主軸回転制御部
62 砥石切込み制御部(切込み制御手段)
63 位置検出センサ
64 位置検出センサ
73 位置検出センサ

Claims (9)

  1. ホーニング砥石を備えるホーニングツールを、工作物の内周面の軸線方向へ往復移動するとともに、軸線まわりに回転させながら、前記ホーニング砥石に機械的駆動手段により一定の切込み量をもって切込み拡張動作を与えて、工作物の内周面をホーニング加工する方法であって、
    前記ホーニングツールを備えた回転主軸を工作物の内周面の軸線方向へ往復動作させる主軸往復駆動源および前記ホーニング砥石を切込み拡張動作させる切込み駆動源として、主軸往復駆動用サーボモータおよび切込み駆動用サーボモータをそれぞれ使用し、
    これら両サーボモータの動作を相互に連動させて、ホーニング砥石に掛かる加工負荷が平均化されるように、ホーニング砥石の切込み拡張動作を、ホーニングツールの前記往復動作に同期同調させて制御するように構成した
    ことを特徴とするホーニング加工方法。
  2. ホーニング砥石の切込み拡張動作における位置波形を、ホーニングツールの昇降ストローク動作における位置波形に同期同調させるように構成した
    ことを特徴とする請求項1に記載のホーニング加工方法。
  3. 前記切込み拡張動作を前記往復動作に同期同調させる制御構成は、前記ホーニングツールの昇降ストローク動作における位置波形と前記ホーニング砥石の切込み拡張動作における位置波形とを予め作成するとともに、前記切込み拡張動作における位置波形を前記昇降ストローク動作における位置波形に同期同調させ、前記主軸往復駆動用サーボモータおよび切込み駆動用サーボモータを、これら昇降ストローク動作における位置波形とホーニング砥石の切込み拡張動作における位置波形でそれぞれ動作するように制御する
    ことを特徴とする請求項2に記載のホーニング加工方法。
  4. 前記切込み拡張動作における位置波形と前記昇降ストローク動作における位置波形に対する同期同調は、これら両位置波形における時間的な始点と終点を相互に一致させるとともに、両位置波形における位置変化率を相互に一致させることにより行う
    ことを特徴とする請求項3に記載のホーニング加工方法。
  5. 前記ホーニングツールの昇降ストローク動作における位置波形がsin波形である
    ことを特徴とする請求項1に記載のホーニング加工方法。
  6. 前記ホーニングツールの昇降ストローク波形が三角波形である
    ことを特徴とする請求項1に記載のホーニング加工方法。
  7. ホーニング砥石の切込み拡張量は、ホーニングツールの昇降ストロークの1ストロークでの定量拡張である
    ことを特徴とする請求項2に記載のホーニング加工方法。
  8. ホーニング砥石を備えるホーニングツールを、工作物の内周面の軸線方向へ往復移動するとともに、軸線まわりに回転させながら、前記ホーニング砥石により工作物の内周面をホーニング加工するホーニング盤であって、
    工作物の内周面の軸線方向へ往復移動可能とされるとともに、軸線まわりに回転可能に軸支されてなる回転主軸と、
    回転主軸を軸線回りに回転駆動する主軸回転手段と、
    回転主軸を前記内周面の軸線方向へ往復動作させる主軸往復手段と、
    回転主軸先端に装着され、前記内周面に沿った砥石面を有するホーニング砥石を拡縮可能に備えるホーニングツールと、
    このホーニングツールのホーニング砥石に所定の切込み拡張動作を与える砥石切込み手段と、
    前記主軸回転手段、主軸往復手段および砥石切込み手段の動作を相互に連動して自動制御する制御手段とを備えてなり、
    前記主軸往復手段および砥石切込み手段の駆動源が、それぞれ主軸往復用サーボモータおよび砥石切込み用サーボモータからなり、
    前記制御手段は、これら両サーボモータの動作を相互に連動させて、ホーニング砥石に掛かる加工負荷が平均化されるように、ホーニング砥石の切込み拡張動作を、ホーニングツールの前記往復動作に同期同調させて制御するように構成されている
    ことを特徴とするホーニング盤。
  9. 前記制御手段は、前記主軸回転手段、主軸往復手段および砥石切込み手段の動作を相互に連動して自動制御して、請求項1から7のいずれか一つに記載のホーニング加工方法を実行するように構成されていることを特徴とする請求項8に記載のホーニング盤。
JP2008231267A 2008-09-09 2008-09-09 ホーニング加工方法およびホーニング盤 Active JP5323427B2 (ja)

Priority Applications (7)

Application Number Priority Date Filing Date Title
JP2008231267A JP5323427B2 (ja) 2008-09-09 2008-09-09 ホーニング加工方法およびホーニング盤
KR1020090050411A KR101583563B1 (ko) 2008-09-09 2009-06-08 호닝 가공 방법 및 호닝머신
AT09251518T ATE495855T1 (de) 2008-09-09 2009-06-09 Honverfahren und honmaschine
EP09251518A EP2161100B1 (en) 2008-09-09 2009-06-09 Honing method and honing machine
DE602009000626T DE602009000626D1 (de) 2008-09-09 2009-06-09 Honverfahren und Honmaschine
CN200910140238.3A CN101670551B (zh) 2008-09-09 2009-07-09 珩磨方法和珩磨机器
US12/534,067 US20100062692A1 (en) 2008-09-09 2009-07-31 Honing method and honing machine

Applications Claiming Priority (1)

Application Number Priority Date Filing Date Title
JP2008231267A JP5323427B2 (ja) 2008-09-09 2008-09-09 ホーニング加工方法およびホーニング盤

Publications (2)

Publication Number Publication Date
JP2010064168A true JP2010064168A (ja) 2010-03-25
JP5323427B2 JP5323427B2 (ja) 2013-10-23

Family

ID=41131612

Family Applications (1)

Application Number Title Priority Date Filing Date
JP2008231267A Active JP5323427B2 (ja) 2008-09-09 2008-09-09 ホーニング加工方法およびホーニング盤

Country Status (7)

Country Link
US (1) US20100062692A1 (ja)
EP (1) EP2161100B1 (ja)
JP (1) JP5323427B2 (ja)
KR (1) KR101583563B1 (ja)
CN (1) CN101670551B (ja)
AT (1) ATE495855T1 (ja)
DE (1) DE602009000626D1 (ja)

Cited By (1)

* Cited by examiner, † Cited by third party
Publication number Priority date Publication date Assignee Title
JP2011224753A (ja) * 2010-04-22 2011-11-10 Nagel Aoba Precision Co Ltd 切削装置

Families Citing this family (11)

* Cited by examiner, † Cited by third party
Publication number Priority date Publication date Assignee Title
JP5260139B2 (ja) * 2008-05-22 2013-08-14 株式会社日進製作所 砥石接触感知方法およびその装置、ならびにホーニング加工方法およびホーニング盤
CN102371526A (zh) * 2011-10-24 2012-03-14 广东鸿图科技股份有限公司 自动滚轴抛光机
CN103934687A (zh) * 2013-01-19 2014-07-23 鸿富锦精密工业(深圳)有限公司 铣磨设备及其加工方法
DE102016200295A1 (de) * 2016-01-13 2017-07-13 Kadia Produktion Gmbh + Co. Honmaschine
CN106041715B (zh) * 2016-07-28 2019-04-19 成都成高阀门有限公司 一种阀体锥形面研磨工装及研磨方法
CN110253417A (zh) * 2019-07-05 2019-09-20 宁夏中卫大河精工机械有限责任公司 珩磨加工中心
DE102019214873B4 (de) * 2019-09-27 2025-10-23 Kadia Produktion Gmbh + Co. Honmaschine
DE102019214869A1 (de) * 2019-09-27 2021-04-01 Kadia Produktion Gmbh + Co. Honmaschine
CN112388410A (zh) * 2020-11-05 2021-02-23 渤海造船厂集团有限公司 一种基于镗孔机上的珩磨装置及方法
CN114918816A (zh) * 2022-06-02 2022-08-19 德曼珩磨科技(中卫)有限公司 一种多工位顺序珩磨叠加独立往复与进给扩涨集成技术结构
CN115338773B (zh) * 2022-07-29 2023-09-29 中国第一汽车股份有限公司 一种缸孔珩磨找正装置及找正方法

Citations (5)

* Cited by examiner, † Cited by third party
Publication number Priority date Publication date Assignee Title
JPH10244457A (ja) * 1997-02-28 1998-09-14 Toyota Motor Corp ホーニング加工方法およびホーニング加工装置
JP2001105267A (ja) * 1999-09-30 2001-04-17 Nippon Steel Corp ワークの位置決め方法
JP2001105297A (ja) * 1999-10-05 2001-04-17 Nisshin Seisakusho:Kk 自動ホーニングシステムの加工セルおよび自動ホーニングシステム
JP2006043818A (ja) * 2004-08-04 2006-02-16 Houkou:Kk ホーニング加工装置及び加工方法
JP2008183655A (ja) * 2007-01-29 2008-08-14 Nisshin Seisakusho:Kk ホーニング加工方法、ホーニング盤の砥石切込み装置およびホーニング盤

Family Cites Families (9)

* Cited by examiner, † Cited by third party
Publication number Priority date Publication date Assignee Title
US1836121A (en) * 1927-06-06 1931-12-15 Norton Co Internal lapping machine
FR1177438A (fr) * 1956-06-21 1959-04-24 Delapena & Son Ltd Perfectionnements aux outils à rectifier les alésages par abrasion
US4180945A (en) * 1977-11-02 1980-01-01 Zimmerman Philip R Honing machine
JP2696853B2 (ja) * 1987-09-19 1998-01-14 トヨタ自動車株式会社 ホーニング装置
US5042202A (en) * 1989-12-13 1991-08-27 Kadia-Maschinenbau Kopp Gmbh & Co. Brush-honing machine
JP2003170344A (ja) 2001-12-03 2003-06-17 Nisshin Seisakusho:Kk ホーニング加工方法、ホーニング盤の砥石切込み装置およびホーニング盤
CN100491076C (zh) * 2003-09-19 2009-05-27 东洋株式会社 珩磨机
US8348718B2 (en) * 2004-06-22 2013-01-08 Sunnen Products Company Servo stroking method and system for producing special shapes
JP5260139B2 (ja) * 2008-05-22 2013-08-14 株式会社日進製作所 砥石接触感知方法およびその装置、ならびにホーニング加工方法およびホーニング盤

Patent Citations (5)

* Cited by examiner, † Cited by third party
Publication number Priority date Publication date Assignee Title
JPH10244457A (ja) * 1997-02-28 1998-09-14 Toyota Motor Corp ホーニング加工方法およびホーニング加工装置
JP2001105267A (ja) * 1999-09-30 2001-04-17 Nippon Steel Corp ワークの位置決め方法
JP2001105297A (ja) * 1999-10-05 2001-04-17 Nisshin Seisakusho:Kk 自動ホーニングシステムの加工セルおよび自動ホーニングシステム
JP2006043818A (ja) * 2004-08-04 2006-02-16 Houkou:Kk ホーニング加工装置及び加工方法
JP2008183655A (ja) * 2007-01-29 2008-08-14 Nisshin Seisakusho:Kk ホーニング加工方法、ホーニング盤の砥石切込み装置およびホーニング盤

Cited By (1)

* Cited by examiner, † Cited by third party
Publication number Priority date Publication date Assignee Title
JP2011224753A (ja) * 2010-04-22 2011-11-10 Nagel Aoba Precision Co Ltd 切削装置

Also Published As

Publication number Publication date
CN101670551B (zh) 2014-09-17
DE602009000626D1 (de) 2011-03-03
ATE495855T1 (de) 2011-02-15
KR20100030563A (ko) 2010-03-18
JP5323427B2 (ja) 2013-10-23
US20100062692A1 (en) 2010-03-11
KR101583563B1 (ko) 2016-01-08
EP2161100A1 (en) 2010-03-10
EP2161100B1 (en) 2011-01-19
CN101670551A (zh) 2010-03-17

Similar Documents

Publication Publication Date Title
JP5323427B2 (ja) ホーニング加工方法およびホーニング盤
JP2010076032A (ja) テーパホーニング加工方法およびテーパホーニング盤
JP5260139B2 (ja) 砥石接触感知方法およびその装置、ならびにホーニング加工方法およびホーニング盤
CN100522530C (zh) 用于控制安装在石板边缘抛光机上的金刚石铣刀或类似部件的运动的模板装置
JP6078079B2 (ja) クランク軸の少なくともクランクピンを取り囲む平らな肩部を旋削する機械及び方法
JP3806408B2 (ja) ホーニング盤およびホーニング加工方法
EP1799401B1 (en) Servo stroking apparatus and system
JP6005529B2 (ja) テーパ面エッジ部のセンタレス研削方法およびセンタレス研削装置
CN110621429B (zh) 加工齿部的方法和为其设计的切齿机,以及相关计算机程序产品
CN104684683A (zh) 用于精整加工旋转对称的工件区段的精整方法和精整装置
JP2006043818A (ja) ホーニング加工装置及び加工方法
JP2006043851A (ja) ホーニング加工方法およびホーニング盤
JP4462731B2 (ja) 砥石の上下ドレッシング方法および研削装置
JP3881987B2 (ja) ホーニングツール、ホーニング盤およびホーニング加工方法
TWI632027B (zh) Grinding wheel, surface grinder
JP5010421B2 (ja) 工作物外径面および平面のセンタレス研削方法およびセンタレス研削装置
JP2016198875A (ja) 砥石車の砥石成形方法
JPH06126613A (ja) テーパホーニング盤
RU2570135C1 (ru) Способ правки шлифовального круга бесцентрового шлифовального станка
JPS60213472A (ja) 研削盤
CN104607998B (zh) 解决小范围高频率运动造成工作轴局部磨损过快的方法
RU136381U1 (ru) Устройство для правки торцевых поверхностей шлифовальных кругов
JPH0911097A (ja) センタレス研削盤のアンギュラ研削方法およびその装置
UA11733U (en) Method of working
Emelyanov et al. METHOD OF ROUTING VARIABLE PITCH HELICAL SURFACE AND CONSTANT RADIUS PROFILE

Legal Events

Date Code Title Description
A621 Written request for application examination

Free format text: JAPANESE INTERMEDIATE CODE: A621

Effective date: 20110829

A131 Notification of reasons for refusal

Free format text: JAPANESE INTERMEDIATE CODE: A131

Effective date: 20130108

TRDD Decision of grant or rejection written
A01 Written decision to grant a patent or to grant a registration (utility model)

Free format text: JAPANESE INTERMEDIATE CODE: A01

Effective date: 20130625

A61 First payment of annual fees (during grant procedure)

Free format text: JAPANESE INTERMEDIATE CODE: A61

Effective date: 20130717

R150 Certificate of patent or registration of utility model

Ref document number: 5323427

Country of ref document: JP

Free format text: JAPANESE INTERMEDIATE CODE: R150

Free format text: JAPANESE INTERMEDIATE CODE: R150

R250 Receipt of annual fees

Free format text: JAPANESE INTERMEDIATE CODE: R250

R250 Receipt of annual fees

Free format text: JAPANESE INTERMEDIATE CODE: R250

R250 Receipt of annual fees

Free format text: JAPANESE INTERMEDIATE CODE: R250

R250 Receipt of annual fees

Free format text: JAPANESE INTERMEDIATE CODE: R250

R250 Receipt of annual fees

Free format text: JAPANESE INTERMEDIATE CODE: R250

R250 Receipt of annual fees

Free format text: JAPANESE INTERMEDIATE CODE: R250

R250 Receipt of annual fees

Free format text: JAPANESE INTERMEDIATE CODE: R250

R250 Receipt of annual fees

Free format text: JAPANESE INTERMEDIATE CODE: R250

S111 Request for change of ownership or part of ownership

Free format text: JAPANESE INTERMEDIATE CODE: R313111

S531 Written request for registration of change of domicile

Free format text: JAPANESE INTERMEDIATE CODE: R313531

S533 Written request for registration of change of name

Free format text: JAPANESE INTERMEDIATE CODE: R313533

R360 Written notification for declining of transfer of rights

Free format text: JAPANESE INTERMEDIATE CODE: R360

R360 Written notification for declining of transfer of rights

Free format text: JAPANESE INTERMEDIATE CODE: R360

R371 Transfer withdrawn

Free format text: JAPANESE INTERMEDIATE CODE: R371

R250 Receipt of annual fees

Free format text: JAPANESE INTERMEDIATE CODE: R250

S111 Request for change of ownership or part of ownership

Free format text: JAPANESE INTERMEDIATE CODE: R313111

S531 Written request for registration of change of domicile

Free format text: JAPANESE INTERMEDIATE CODE: R313531

R350 Written notification of registration of transfer

Free format text: JAPANESE INTERMEDIATE CODE: R350