JP2010063269A - 電気接続箱 - Google Patents

電気接続箱 Download PDF

Info

Publication number
JP2010063269A
JP2010063269A JP2008226383A JP2008226383A JP2010063269A JP 2010063269 A JP2010063269 A JP 2010063269A JP 2008226383 A JP2008226383 A JP 2008226383A JP 2008226383 A JP2008226383 A JP 2008226383A JP 2010063269 A JP2010063269 A JP 2010063269A
Authority
JP
Japan
Prior art keywords
fuse
bus bar
vertical bus
case
terminal
Prior art date
Legal status (The legal status is an assumption and is not a legal conclusion. Google has not performed a legal analysis and makes no representation as to the accuracy of the status listed.)
Granted
Application number
JP2008226383A
Other languages
English (en)
Other versions
JP5141451B2 (ja
Inventor
Masahiro Tagano
正寛 多賀野
Current Assignee (The listed assignees may be inaccurate. Google has not performed a legal analysis and makes no representation or warranty as to the accuracy of the list.)
Sumitomo Wiring Systems Ltd
Original Assignee
Sumitomo Wiring Systems Ltd
Priority date (The priority date is an assumption and is not a legal conclusion. Google has not performed a legal analysis and makes no representation as to the accuracy of the date listed.)
Filing date
Publication date
Application filed by Sumitomo Wiring Systems Ltd filed Critical Sumitomo Wiring Systems Ltd
Priority to JP2008226383A priority Critical patent/JP5141451B2/ja
Priority to DE102009032971.4A priority patent/DE102009032971B4/de
Publication of JP2010063269A publication Critical patent/JP2010063269A/ja
Application granted granted Critical
Publication of JP5141451B2 publication Critical patent/JP5141451B2/ja
Expired - Fee Related legal-status Critical Current
Anticipated expiration legal-status Critical

Links

Images

Classifications

    • BPERFORMING OPERATIONS; TRANSPORTING
    • B60VEHICLES IN GENERAL
    • B60RVEHICLES, VEHICLE FITTINGS, OR VEHICLE PARTS, NOT OTHERWISE PROVIDED FOR
    • B60R16/00Electric or fluid circuits specially adapted for vehicles and not otherwise provided for; Arrangement of elements of electric or fluid circuits specially adapted for vehicles and not otherwise provided for
    • B60R16/02Electric or fluid circuits specially adapted for vehicles and not otherwise provided for; Arrangement of elements of electric or fluid circuits specially adapted for vehicles and not otherwise provided for electric constitutive elements
    • B60R16/023Electric or fluid circuits specially adapted for vehicles and not otherwise provided for; Arrangement of elements of electric or fluid circuits specially adapted for vehicles and not otherwise provided for electric constitutive elements for transmission of signals between vehicle parts or subsystems
    • B60R16/0238Electrical distribution centers

Landscapes

  • Engineering & Computer Science (AREA)
  • Mechanical Engineering (AREA)
  • Connection Or Junction Boxes (AREA)
  • Multi-Conductor Connections (AREA)
  • Connections Arranged To Contact A Plurality Of Conductors (AREA)

Abstract

【課題】電気接続箱内に収容されてヒューズと接続される縦バスバーの水平部が、ヒューズの挿入圧によって変形することを防止する。
【解決手段】ケース11内部に縦バスバー30を収容していると共に、ケース11に設けたヒューズ収容部12に差し込まれるヒューズ40と縦バスバー30に設けたヒューズ接続用端子33とを電気接続しており、ヒューズ接続用端子33は、縦バスバー30の基板部31から折り曲げて形成した水平部32をさらに折り曲げて突設しており、水平部32は電気接続箱10のケース11あるいはケース11内に収容する絶縁板で支持されておらず、ヒューズ収容部12の下方に水平部32をロック係止するロック部23を設け、ヒューズ40の挿入圧で縦バスバー30の水平部32が変形することを防止する構成としている。
【選択図】図4

Description

本発明は、電気接続箱に関し、詳しくは、ケース内部に収容される縦バスバーの水平折曲部にヒューズ接続端子を設けた電気接続箱において、ヒューズの挿入力による縦バスバーの変形の防止を図るものである。
電気接続箱において、ケースの表面に設けたヒューズ収容部に差し込むヒューズは、ケース内部に内部回路材として収容しているバスバーのヒューズ接続端子と接続される。該バスバーはケース内部に絶縁板で支持して水平方向に配置し、該水平配置される平バスバーから立設するヒューズ接続端子にヒューズ端子を接続している場合が多い。この場合、バスバーは絶縁板で支持されているため、ヒューズ装着時の差し込み負荷によりバスバーに変形が発生するのが防止できる。
一方、前記絶縁板で支持する水平方向の平バスバーに変えて、ケースのヒューズ収容部やリレー収容部を設けたケースの上下面に対して、バスバーを垂直方向に配置する縦バスバーが用いられる場合がある。この縦バスバーを使用すると平バスバーよりも絶縁板の使用量の低減が図れ、電気接続箱の軽量化および小型化が可能となる利点がある。しかしながら、縦バスバーはケースのフレームと係止して保持し、絶縁板で支持していないため、ヒューズ接続端子をヒューズと接続する際に上下方向の負荷を受けると変形が発生しやすい問題がある。
例えば、図5に示す電気接続箱1は、ケース2内に、垂直方向の基板部3aの上端より複数のタブ3bを突設した縦バスバー3を収容固定し、中継端子4を接続した前記タブ3bをケース2のヒューズ収容部5の下部に挿入すると共に、前記中継端子4に上方からヒューズ6の端子6aを挿入して、中継端子4を介して前記縦バスバー3とヒューズ6とを接続している。(実開平7−8966号公報(特許文献1)参照)
前記縦バスバー3は、基板部3aに設けた係止穴3cに、ケース2より突設した係止突起7を挿入係止してケース2に固定している。
電気接続箱の設計上、図6に示すように、縦バスバー8の垂直方向の基板部8aとヒューズの収容位置との位置ずれが生じると、基板部8を屈曲して水平部8bを形成し、該水平部8bをさらに垂直に折り曲げてタブ8cを形成し、ヒューズ9の端子9aの挿入位置とタブ8cの位置とが合うように調整する場合がある。
しかしながら、縦バスバー8を用いる場合、前記水平部8bの下面側を絶縁板等で支持することは少ないため、ヒューズ9の挿入圧によって水平部8bが図中破線で示すように沈み込み、変形しやすい点に問題がある。特に、ヒューズが大容量ヒューズである場合、挿入圧も大きいため、特に水平部8bは変形しやすくなる。
実開平7−8966号公報
本発明は前記問題に鑑みてなされたもので、電気接続箱のケース内部に収容されてヒューズと接続される縦バスバーに設けられた水平部が、ヒューズの挿入圧を受けて変形することを防止できる電気接続箱の提供を課題としている。
前記課題を解決するために、本発明は、ケース内部に縦バスバーを収容していると共に、該ケースに設けたヒューズ収容部に差し込まれるヒューズと前記縦バスバーに設けたヒューズ接続用端子とを電気接続している電気接続箱において、
前記縦バスバーに折り曲げて形成した水平部に前記ヒューズ接続用端子を設け、
前記ヒューズ収容部の下方に前記縦バスバーの前記水平部を支持するロック部を設けていることを特徴とする電気接続箱を提供している。
このように、縦バスバーの水平部を、ケースのヒューズ収容部の下方に設けたロック部でロック係止することにより、前記水平部はロック部によって支持されるため、ヒューズの挿入圧を受けた際の水平部の沈み込みや変形を防止することができる。
前記ロック部は、ヒューズ収容部の底壁から突設され、係止突部を有する一対の突起部からなり、前記縦バスバーの前記水平部には、前記ロック部が挿入係止される係止穴を設けている。
あるいは、前記ロック部は、ヒューズ収容部を囲む周壁、あるいはヒューズ収容部内の空間を仕切る仕切壁に設けてもよい。
前記ヒューズは100A〜50Aの大容量ヒューズで大型の場合、挿入力が大きいため、特に好適となる。
前記縦バスバーに設けるヒューズ接続用端子は、前記水平部から更に垂直方向に屈曲させて形成していることが好ましい。
また、該縦バスバーに設けるヒューズ接続用端子は、ヒューズの入力端子と接続する場合が多い。
ヒューズの出力端子は、前記縦バスバーとは異なるバスバーに接続され、あるいは、電線端末の端子と接続される。ヒューズの出力端子をバスバーと接続する場合において、該バスバーに設けられた水平部が絶縁板等で支持されていない場合は、ヒューズの入力端子と接続される前記縦バスバーの場合と同様に、ヒューズ収容部の壁部に設けたロック部によって水平部をロック係止する構成とすることが好ましい。
前記ヒューズ収容部は、ケースに複数個並設している場合には、前記縦バスバーに設けるヒューズ接続用端子は、1本の縦バスバーに、前記ヒューズ接続用端子となる複数のタブを間隔をあけて折り曲げて立設している。
各ヒューズ収容部内には中継端子を収容し、該中継端子を介して縦バスバーのヒューズ接続用端子とヒューズの端子とを接続する構成としてもよい。該中継端子には雌型端子を好適に用いることができる。
前記電気接続箱の例としては、自動車に配索されるワイヤハーネスと接続されるものが挙げられる。
上述したように、本発明によれば、電気接続箱のケースに設けたヒューズ収容部の下方にロック部を形成し、該ロック部によって縦バスバーの水平部をロック係止して支持することができるため、該水平部がヒューズの差し込み時に挿入圧を受けても沈み込みや変形を防止することができる。
以下、本発明の実施形態を図面を参照して説明する。
図1乃至図4に、本発明の第一実施形態に係る電気接続箱10を示す。
電気接続箱10は、自動車に配索されるワイヤハーネスに接続される。該電気接続箱10のケース11は、図1および図2に示すように、上面側にヒューズ収容部12を並設しており、図示の実施形態では2個のヒューズ収容部12を設けている。該ヒューズ収容部12には80Aの大容量のヒューズ40をそれぞれ取り付けている。
ケース11の内部には内部回路材として縦バスバー30をケース内に設けたランス(図示せず)と係止して固定しており、前記ヒューズ40と接続する内部回路材も縦バスバー30としている。
ケース11の上面と下面にはアッパーカバーとロアカバー(図示せず)を被せ、互いにロック結合させる。
前記ヒューズ収容部12は、図4(A)に示すように、周壁13に囲まれた空間を底壁14で上下に仕切っている。底壁14には、ヒューズ40の入力端子41を挿入する入力端子挿入穴15と、ヒューズ40の出力端子42を挿入する出力端子挿入穴16とを設けている。底壁14の下部には、図4(B)に示すように、仕切壁19で仕切られた入力端子用キャビティ17と出力端子用キャビティ18とを形成している。
前記入力端子用キャビティ17内の空間は、図4(C)に示すように、仕切壁22を介して端子接続用空間20とロック用空間21とに分かれている。端子接続用空間20には後述する中継端子50を収容固定している。ロック用空間21には、ロック部23を突設している。
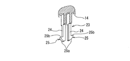
前記ロック部23は、図2および図3に示すように、ヒューズ収容部12の底壁14から、互いに間隔をあけて下向きに突設した弾性を有する一対の突起部24からなる。各突起部24の先端は、図4(C)に示すように、端子接続用空間20の下端開口よりも下方に突出しており、この突出部分には、図3に示すように、互いに離反方向に羽根状に係止突部25を突設している。該係止突部25は先端に向かうに従って先細りとなるテーパ部25aと、縦バスバー30に設けられた後述の係止穴34の周囲に係合する段部25bを備えている。
前記縦バスバー30は、前記ケース11の周壁11aに沿った内側に垂直に挿入されて前記2個のヒューズ収容部12の並設方向に延在する基板部31と、該基板部31の下端から延在させて折り曲げて形成した2枚の水平部32と、各水平部32の側部から延在させて折り曲げて上向きに突設した2つの雄タブ形状のヒューズ接続用端子33とからなる。該ヒューズ接続用端子33は基板部31に対して直交方向に配置される。前記水平部32には、前記ロック部23を挿入係止する係止穴34を形成している。該係止穴34は長方形状でヒューズ接続用端子33と平行に延在し、ヒューズ接続用端子33と対向する位置に設けられている。
前記縦バスバー30には、基板部31の前記延在方向の一端と2つの水平部32の間に係止穴35を設けている。該係止穴35に、ケース11内の壁に形成したランス(図示せず)を挿入係止して縦バスバー30をケース11に固定している。前記基板部31の他端に、L字状に屈曲して形成した電源線接続部36を形成している。該電源線接続部36に形成したボルト穴37にボルト(図示せず)を通して電源線端末の端子と縦バスバー30とを締結接続する。
前記縦バスバー30は、各ヒューズ接続用端子33が、前記ヒューズ収容部12の各入力端子用キャビティ17の端子接続用空間20内に下方からそれぞれ挿入されるようにケース11に取り付けている。其の際、図4(C)に示すように、前記水平部32に設けた係止穴34にロック部23の係止突部25を挿入して、水平部32をヒューズ収容部12の下方にロック係止している。
詳細には、前記係止突部25のテーパ部25aによって一対の突起部24が互いに近接する方向に撓みながら前記縦バスバー30の係止穴34に挿入される。挿入が完了すると、前記突起部24が弾性復帰して、前記係止突部25の段部25bが係止穴34の短辺側の周縁に係合する。
前記中継端子50は、図4(C)に示すように、ヒューズ収容部12の入力端子用キャビテイ内に配置される。中継端子50は、基板片53と該基板片53の下端から上方に向けて折り返した弾性片54と、基板片53の両側から弾性片54を囲むようにコの字状に折り返した一対の当接片57とからなる。弾性片54は、略S字状に曲げられ、長さ方向中間部では前記基板片53と反対側に膨らんだ第一接触点55を設け、先端側では基板片53側に湾曲して第二接触点56を設けている。前記基板片53と弾性片54の先端は互いに離反する方向に屈曲しており、これによりヒューズ40の入力端子41を挿入しやすくしている。
中継端子50を縦バスバー30のヒューズ接続用端子33に嵌合して、予めセットした状態で縦バスバー30をケース51に収容している。
前記縦バスバー30のヒューズ接続用端子33は、前記中継端子50の当接片57と前記弾性片54との間に下側から挿入され、該弾性片54の前記第一接触点55と当接片57によって挟持される。前記ヒューズ40の入力端子41は、前記基板片53と弾性片54との間に上方から挿入され、前記基板片53と弾性片54の第二接触点56とによって挟持される。これにより、縦バスバー30のヒューズ接続用端子33とヒューズ40の入力端子41とを、中継端子50を介して電気接続させる。
前記出力端子用キャビティ18には、図4(B)に示すように、ワイヤハーネスの電線60の端末に接続された端子61が下方から挿入され、ヒューズ40の出力端子42と直接接続される。
前記構成の電気接続箱10は、前記縦バスバー30の水平部32の下面側を絶縁板やケース11で支持する構造ではないが、ヒューズ収容部12から下向きに突設した前記ロック部23で前記水平部32をロック係止している。これにより、大容量ヒューズ40の挿入時に、該ヒューズ40の入力端子41と接続される縦バスバー30のヒューズ接続用端子33と、該ヒューズ接続用端子33と連続する前記水平部32とが大きな挿入圧を受けても、前記水平部32がロック部23の係止段部25bによって支持されて下方への沈み込みを防止できるため、該水平部32の変形を防ぐことができる。
本発明は前記実施形態に限定されず、ヒューズ接続用端子はヒューズの入力端子が直接接続可能な圧入スロットを切り欠いた音叉状タブとして、中継端子を用いない構成としてもよい。
第一実施形態に係る電気接続箱を下面側からみた分解斜視図である。 図1に示すケースの要部構造説明図である。 図1に示すロック部の拡大斜視図である。 ヒューズ収容部を示し、(A)は平面図、(B)は(A)のB−B線説明断面図、(C)は(B)のC−C線拡大断面図、(D)は中継端子の斜視図である。 従来例を示す図である。 従来の問題点を示す図である。
符号の説明
10 電気接続箱
11 ケース
12 ヒューズ収容部
14 底壁
23 ロック部
25 係止突部
30 縦バスバー
31 基板部
32 水平部
33 ヒューズ接続用端子
34 係止穴
40 ヒューズ
41 入力端子
50 中継端子

Claims (2)

  1. ケース内部に縦バスバーを収容していると共に、該ケースに設けたヒューズ収容部に差し込まれるヒューズと前記縦バスバーに設けたヒューズ接続用端子とを電気接続している電気接続箱において、
    前記縦バスバーに折り曲げて形成した水平部に前記ヒューズ接続用端子を設け、
    前記ヒューズ収容部の下方に前記縦バスバーの前記水平部を支持するロック部を設けていることを特徴とする電気接続箱。
  2. 前記ロック部は、ヒューズ収容部の底壁から突設され、係止突部を有する一対の突起部からなり、前記縦バスバーの前記水平部には、前記ロック部が挿入係止される係止穴を設けている請求項1に記載の電気接続箱。
JP2008226383A 2008-09-03 2008-09-03 電気接続箱 Expired - Fee Related JP5141451B2 (ja)

Priority Applications (2)

Application Number Priority Date Filing Date Title
JP2008226383A JP5141451B2 (ja) 2008-09-03 2008-09-03 電気接続箱
DE102009032971.4A DE102009032971B4 (de) 2008-09-03 2009-07-14 Elektrisches Verteilergehäuse

Applications Claiming Priority (1)

Application Number Priority Date Filing Date Title
JP2008226383A JP5141451B2 (ja) 2008-09-03 2008-09-03 電気接続箱

Publications (2)

Publication Number Publication Date
JP2010063269A true JP2010063269A (ja) 2010-03-18
JP5141451B2 JP5141451B2 (ja) 2013-02-13

Family

ID=41606319

Family Applications (1)

Application Number Title Priority Date Filing Date
JP2008226383A Expired - Fee Related JP5141451B2 (ja) 2008-09-03 2008-09-03 電気接続箱

Country Status (2)

Country Link
JP (1) JP5141451B2 (ja)
DE (1) DE102009032971B4 (ja)

Cited By (1)

* Cited by examiner, † Cited by third party
Publication number Priority date Publication date Assignee Title
EP3848251A1 (en) * 2020-01-07 2021-07-14 Yazaki Corporation Electrical connection box and wire harness

Families Citing this family (2)

* Cited by examiner, † Cited by third party
Publication number Priority date Publication date Assignee Title
EP3088256B1 (en) * 2015-04-30 2017-11-15 Delphi Technologies, Inc. Busbar fixation system
DE102020203560A1 (de) * 2020-03-19 2021-09-23 Ellenberger & Poensgen Gmbh Stromverteiler eines Bordnetzes eines Kraftfahrzeugs

Citations (2)

* Cited by examiner, † Cited by third party
Publication number Priority date Publication date Assignee Title
JP2001008333A (ja) * 1999-06-21 2001-01-12 Sumitomo Wiring Syst Ltd 電気接続箱、電気接続箱用ケース
JP2001045630A (ja) * 1999-07-30 2001-02-16 Sumitomo Wiring Syst Ltd 電気接続箱

Family Cites Families (6)

* Cited by examiner, † Cited by third party
Publication number Priority date Publication date Assignee Title
US4772759A (en) * 1987-09-23 1988-09-20 United Technologies Automotive, Inc. Ventilated splash resistant electrical component housing
JP2587911Y2 (ja) 1993-07-07 1998-12-24 住友電装株式会社 電気接続箱とミニヒューズ用バスバーの固定構造
US6227913B1 (en) * 1998-06-22 2001-05-08 Cooper Technologies Company Fuse bus member and connector assembly
FR2828025B1 (fr) 2001-07-30 2003-09-26 Sylea Boite mixte relais-fusible modulaire
JP4265990B2 (ja) * 2004-04-12 2009-05-20 株式会社オートネットワーク技術研究所 電気接続箱
US7422491B2 (en) * 2006-10-19 2008-09-09 Tyco Electronics Corporation Bussing connector

Patent Citations (2)

* Cited by examiner, † Cited by third party
Publication number Priority date Publication date Assignee Title
JP2001008333A (ja) * 1999-06-21 2001-01-12 Sumitomo Wiring Syst Ltd 電気接続箱、電気接続箱用ケース
JP2001045630A (ja) * 1999-07-30 2001-02-16 Sumitomo Wiring Syst Ltd 電気接続箱

Cited By (3)

* Cited by examiner, † Cited by third party
Publication number Priority date Publication date Assignee Title
EP3848251A1 (en) * 2020-01-07 2021-07-14 Yazaki Corporation Electrical connection box and wire harness
CN113161947A (zh) * 2020-01-07 2021-07-23 矢崎总业株式会社 电气接线箱以及线束
US11615935B2 (en) 2020-01-07 2023-03-28 Yazaki Corporation Electrical connection box and wire harness

Also Published As

Publication number Publication date
DE102009032971B4 (de) 2018-09-27
JP5141451B2 (ja) 2013-02-13
DE102009032971A1 (de) 2010-03-04

Similar Documents

Publication Publication Date Title
JP5947972B2 (ja) 電子部品の組付構造及び電子部品
US6315591B2 (en) Electrical connector having an improved female contact
JP5547546B2 (ja) 電気接続箱の組立構造
JP4055662B2 (ja) 電気接続箱
CN103730294B (zh) 继电器,具有该继电器的继电器模块以及电气接线盒
JP2009110963A (ja) ばね力接続装置
JP3120893U (ja) 電気コネクタ
KR101315664B1 (ko) 퓨즈 유닛
JP4223771B2 (ja) 逆嵌合防止コネクタ
JP5141451B2 (ja) 電気接続箱
JP2007282385A (ja) 車載用の電気接続箱
JP2005353322A (ja) 電気接続箱のヒューズ装着構造
JP2007287655A (ja) スローブローヒューズのヒューズエレメント、スローブローヒューズおよび電気接続箱
JPH11285132A (ja) 電気接続箱
JP2004201448A (ja) ジャンクションボックス
JP2006296171A (ja) 電気接続箱
JP4601486B2 (ja) バスバー取付け構造
JP2006216914A (ja) 電子部品収容ケース
JP2010068615A (ja) 電気接続箱
JP4207821B2 (ja) 電気接続箱
JP2007236018A (ja) 電気接続箱
JP5835672B2 (ja) バスバーを備えた電気接続箱
JP2004350377A (ja) 回路体および該回路体を収容した自動車用電気接続箱
JP5844183B2 (ja) 端子固定構造
JP2990366B2 (ja) バッテリ端子の接続構造

Legal Events

Date Code Title Description
A621 Written request for application examination

Free format text: JAPANESE INTERMEDIATE CODE: A621

Effective date: 20101209

A977 Report on retrieval

Free format text: JAPANESE INTERMEDIATE CODE: A971007

Effective date: 20120329

A131 Notification of reasons for refusal

Free format text: JAPANESE INTERMEDIATE CODE: A131

Effective date: 20120731

A521 Request for written amendment filed

Free format text: JAPANESE INTERMEDIATE CODE: A523

Effective date: 20121001

TRDD Decision of grant or rejection written
A01 Written decision to grant a patent or to grant a registration (utility model)

Free format text: JAPANESE INTERMEDIATE CODE: A01

Effective date: 20121023

A01 Written decision to grant a patent or to grant a registration (utility model)

Free format text: JAPANESE INTERMEDIATE CODE: A01

A61 First payment of annual fees (during grant procedure)

Free format text: JAPANESE INTERMEDIATE CODE: A61

Effective date: 20121105

FPAY Renewal fee payment (event date is renewal date of database)

Free format text: PAYMENT UNTIL: 20151130

Year of fee payment: 3

R150 Certificate of patent or registration of utility model

Ref document number: 5141451

Country of ref document: JP

Free format text: JAPANESE INTERMEDIATE CODE: R150

Free format text: JAPANESE INTERMEDIATE CODE: R150

LAPS Cancellation because of no payment of annual fees