JP2010060372A - 角速度センサ - Google Patents

角速度センサ Download PDF

Info

Publication number
JP2010060372A
JP2010060372A JP2008224824A JP2008224824A JP2010060372A JP 2010060372 A JP2010060372 A JP 2010060372A JP 2008224824 A JP2008224824 A JP 2008224824A JP 2008224824 A JP2008224824 A JP 2008224824A JP 2010060372 A JP2010060372 A JP 2010060372A
Authority
JP
Japan
Prior art keywords
unit
vibrator
angular velocity
coupled beam
detection
Prior art date
Legal status (The legal status is an assumption and is not a legal conclusion. Google has not performed a legal analysis and makes no representation as to the accuracy of the status listed.)
Granted
Application number
JP2008224824A
Other languages
English (en)
Other versions
JP4609558B2 (ja
Inventor
Yuji Higuchi
祐史 樋口
Tetsuo Fujii
哲夫 藤井
Maki Inoue
真樹 井上
Current Assignee (The listed assignees may be inaccurate. Google has not performed a legal analysis and makes no representation or warranty as to the accuracy of the list.)
Denso Corp
Original Assignee
Denso Corp
Priority date (The priority date is an assumption and is not a legal conclusion. Google has not performed a legal analysis and makes no representation as to the accuracy of the date listed.)
Filing date
Publication date
Application filed by Denso Corp filed Critical Denso Corp
Priority to JP2008224824A priority Critical patent/JP4609558B2/ja
Priority to US12/585,052 priority patent/US8234920B2/en
Priority to DE102009039584.9A priority patent/DE102009039584B4/de
Publication of JP2010060372A publication Critical patent/JP2010060372A/ja
Application granted granted Critical
Publication of JP4609558B2 publication Critical patent/JP4609558B2/ja
Expired - Fee Related legal-status Critical Current
Anticipated expiration legal-status Critical

Links

Images

Classifications

    • GPHYSICS
    • G01MEASURING; TESTING
    • G01CMEASURING DISTANCES, LEVELS OR BEARINGS; SURVEYING; NAVIGATION; GYROSCOPIC INSTRUMENTS; PHOTOGRAMMETRY OR VIDEOGRAMMETRY
    • G01C19/00Gyroscopes; Turn-sensitive devices using vibrating masses; Turn-sensitive devices without moving masses; Measuring angular rate using gyroscopic effects
    • G01C19/56Turn-sensitive devices using vibrating masses, e.g. vibratory angular rate sensors based on Coriolis forces
    • G01C19/5719Turn-sensitive devices using vibrating masses, e.g. vibratory angular rate sensors based on Coriolis forces using planar vibrating masses driven in a translation vibration along an axis

Landscapes

  • Physics & Mathematics (AREA)
  • Engineering & Computer Science (AREA)
  • General Physics & Mathematics (AREA)
  • Radar, Positioning & Navigation (AREA)
  • Remote Sensing (AREA)
  • Gyroscopes (AREA)

Abstract

【課題】振動体と連成梁とを同じ層のシリコン基板を用いて形成する場合、振動体同士間であって連成梁が形成される領域には、連成梁以外の機能が形成できない。
【解決手段】第1方向に駆動する駆動部と、第1方向に直交する第2方向に可動する検出部と、駆動部と検出部とを連結する弾性部材とからなるユニットを複数備え、第1ユニットの駆動部の上面と第2ユニットの駆動部の上面とは、第1ユニットの検出部および第2ユニットの検出部の上面と離間する連成梁により接続される。
【選択図】図1

Description

本発明は、複数の振動子をもち、それぞれを連成振動させるための連成梁を持つ振動型角速度センサに関する。
振動型角速度センサは、振動体を所定の振動方向(以下、駆動方向)に振動させた状態で,この駆動方向に垂直な軸に対する角速度が印加された場合、駆動方向と角速度の回転軸とのそれぞれに対して垂直な方向(以下、検出方向)に角速度に比例したコリオリ力が発生し、その力を検出して角速度を得るセンサである。
このコリオリ力を検出する方法として、コリオリ力を慣性力として検出する方法が知られている。すなわち、少なくとも検出方向に動くことができる錘部を設けて、コリオリ力が作用することにより生じる錘部の変位量を検出する方法である。
ところで、このような錘部は、錘部に作用するコリオリ力だけではなく、錘部に作用するコリオリ力とは関係がない加速度が印加された場合にも検出方向に変位する。このため、コリオリ力から角速度を得るためには、錘部の変位量のうち加速度に起因する変位成分とコリオリ力に起因する変位成分とを分離しなければならない。
このように、加速度に起因する変位成分と、コリオリ力に起因する成分すなわち角速度成分とを分離し、角速度成分を検出する方法として特許文献1が知られている。この特許文献1の振動型角速度センサは、二つの振動体の間を駆動方向に対して柔らかいバネ状の梁(連成梁)を設けることで機械的にカップリングしている。そして、これら二つの振動体を同一周波数且つ逆相(逆位相)で駆動振動させている。また、各振動体の内側には、振動体に接続されるとともに、検出方向に可動な検出錘が各々設けられている。すなわち振動体は、駆動方向への振動により駆動方向に変位し、検出錘は振動体の振動により駆動方向に変位するとともにコリオリ力に応じて検出方向にも変位する。
ここで、特許文献1の振動型角速度センサは、コリオリ力に起因する検出錘の変位量は、検出錘に印加された角速度および検出錘の駆動方向への振動速度に比例するという原理を利用している。特許文献1の振動型角速度センサは、それぞれの振動子を逆方向(逆相)に振動させる為、印加された角速度に対して、一方の検出錘は他方の検出錘に対して逆方向に変位する。従って、二つの振動子を逆相で振動させることで、逆相且つ駆動振動の周波数に同期したタイミングでコリオリ力を発生させている。一方、振動型角速度センサの検出方向へ加速度が印加された場合、二つの検出錘は駆動振動の周波数とは関係なく、駆動方向に同じ変位量だけ変位する。このため、二つの振動子の検出方向への変位量の差動成分を、駆動振動に同期したタイミングでサンプリングすることにより、コリオリ力に起因する成分と加速度に起因する成分とを分離している。
特開2007−101553号公報
特許文献1の場合、2つの振動子はシリコン基板により形成された平板型の振動子である。また、それら2つの振動体をつなぐ連成梁も振動子と同じ層のシリコン基板で形成されている。
しかしながら、このような振動子と連成梁とを同じ層のシリコン基板を用いて形成する場合、振動子同士間であって連成梁が形成される領域には、上記連成梁以外の機能(例えば振動子を振動せせるための駆動電極や、更なる連成梁等)が形成できないという課題がある。本発明は上記課題を解決することを目的としてなされたものである。
上記目的を達成するため、 請求項1に記載の発明は、第1方向に駆動される駆動部と、第1方向に直交する第2方向に可動する検出部と、駆動部と検出部とを連結する弾性部材とを各々有する第1ユニットと第2ユニットとを備え、第1ユニットの駆動部の上面と第2ユニットの駆動部の上面とは、第1ユニットの検出部および第2ユニットの検出部の上面と離間する連成梁により接続されることを特徴とする。
これにより、連成梁が形成される領域に、連成梁以外の機能である検出部を形成することができる。
請求項2に記載の発明は、連成梁は、第1ユニットの駆動部の重心位置を含む部分に接続されるとともに、第2ユニットの駆動部の重心位置を含む部分に接続されることを特徴とする。
連成梁の重量によって、第1ユニットの駆動部又は第2ユニットの駆動部が重力の作用方向に対して傾く可能性を低減することができる。
請求項3に記載の発明は、連成梁が接続される第1ユニットの駆動部の上面に対向する下面と、連成梁が接続される第2ユニットの駆動部の上面に対向する下面とを接続する第2の連成梁が設けられることを特徴とする。
これにより、第1ユニット及び第2ユニットの上面に接続される連成梁の反りを、第1ユニット及び第2ユニットの下面に接続される連成梁により相殺することができる。
請求項4に記載の発明は、連成梁は、第1ユニットの駆動部と連成梁との接続点と、第2ユニットの駆動部と連成梁との接続点とを繋いでなる直線上において、第1方向に弾性を有するサブバネ部を介して固定されることを特徴とする。
これにより、各駆動部を振動すべき第1方向に対して精度よく振動させることができる。
請求項5に記載の発明は、連成梁およびサブバネ部および第1ユニットの駆動部および第2ユニットの駆動部は電気的に導通していることを特徴とする。
これにより、サブバネ部と連成梁とを介して、各駆動部に駆動信号を印加することができる。
請求項6に記載の発明は、連成梁は第1方向に対して弾性を有することを特徴とする。
これにより、第1方向に駆動する駆動部間の連成をとることができる。
請求項7に記載の発明は、連成梁は第1方向に対して垂直な方向に屈曲した形状の部位を有することを特徴とする。
これにより、連成梁を第1方向に対して弾性を持つ梁構造とすることができる。
請求項8に記載の発明は、第1ユニットの駆動部と第2ユニットの駆動部とを接続する連成梁とは別の連成梁により、第1ユニットの検出部と第2ユニットの検出部とが接続されることを特徴とする。
これにより、検出部同士、および、駆動部同士を連成させることができる。
請求項9に記載の発明は、連成梁の少なくとも一部が、第1方向に対して鋭角な方向に長い形状を有することを特徴とする。
これにより、鋭角を形作る第1方向に対して弾性を持つ連成梁を構成することができる。
請求項10に記載の発明は、第1方向に駆動される駆動部と、第1方向に直行する第2方向に可動する検出部と、駆動部と検出部とを連結する弾性部材とを各々有する第1ユニットと第2ユニットとを備え、第1ユニットの検出部の上面と第2ユニットの検出部の上面とは,第1ユニットの駆動部及び第2ユニットの駆動部の上面と離間する連成梁により接続されることを特徴とする。
これにより、連成梁が形成される領域に、連成梁以外の機能である駆動部を形成することができる。
請求項11に記載の発明は、連成梁は、第1ユニットの検出部の重心位置を含む部分に接続されるとともに、第2ユニットの検出部の重心位置を含む部分に接続されていることを特徴とする。
連成梁の重量によって、第1ユニットの検出部または第2ユニットの検出部が重力の作用方向に対して傾く可能性を低減することができる。
請求項12に記載の発明は、連成梁が接続される第1ユニットの検出部の上面に対向する下面と、連成梁が接続される第2ユニットの検出部の上面に対向する下面とを接続する第2の連成梁が設けられることを特徴とする。
これにより、第1ユニット及び第2ユニットの上面に接続される連成梁の反りを、第1ユニット及び第2ユニットの下面に接続される連成梁により相殺することができる。
請求項13に記載の発明は、連成梁は、第1ユニットの検出部と連成梁との接続点と、第2ユニットの検出部と連成梁との接続点とを繋いでなる直線上において、第1方向に弾性を有するサブバネ部を介して固定されることを特徴とする。
これにより、各検出部を振動すべき第1方向に対して精度よく振動させることができる。
請求項14に記載の発明は、連成梁およびサブバネ部および第1ユニットの検出部および第2ユニットの検出部は電気的に導通していることを特徴とする。
これにより、サブバネ部と連成梁とを介して、各検出部からの検出信号を取得することができる。
請求項15に記載の発明は、連成梁は第2方向に対して弾性を有することを特徴とする。
これにより、第2方向に駆動する検出部間の連成をとることができる。
請求項16に記載の発明は、連成梁は第2方向に対して垂直な方向に屈曲した形状の部位を有することを特徴とする。
これにより、連成梁を第2方向に対して弾性を持つ梁構造とすることができる。
請求項17に記載の発明は、第1ユニットの検出部と第2ユニットの検出部とを接続する連成梁とは別の連成梁により、第1ユニットの駆動部と第2ユニットの駆動部とが接続されることを特徴とする。
これにより、検出部同士、および、駆動部同士を連成させることができる。
請求項18に記載の発明は、連成梁の少なくとも一部が、第2方向に対して鋭角な方向に長い形状を有することを特徴とする。
これにより、鋭角を形作る第2方向に対して弾性を持つ連成梁を構成することができる。
請求項19に記載の発明は、第1ユニットおよび第2ユニットは、第1方向および第2方向が成す面に対して平行な平面上に形成されていることを特徴とする。
これにより、第1方向および第2方向に対して、第1ユニットおよび第2ユニットが、それぞれが成す面に沿って振動可能なように構成することができる。
請求項20に記載の発明は、第1ユニットおよび第2ユニットは、シリコンまたは金属または樹脂またはガラスまたはセラミックのいずれか、もしくはそれらが複合された材料からできていることを特徴とする。
これにより、電気伝導性や材質の硬さ、又は及び、作りやすさなどを考慮した材質を選択して第1ユニットおよび第2ユニットを構成することができる。
請求項21に記載の発明は、駆動部と検出部とは同一の第1素子形成層により形成されるものであって、少なくとも第1素子形成層の駆動部と検出部とが形成される領域に対向するよう第2素子形成層が設けられ、連成梁は、第2素子形成層に形成されるとともに、第1方向および第2方向に可動であることを特徴とする。
これにより連成梁を、駆動部および検出部とは別の基板に形成することができるため、連成梁の設計形状の自由度を向上することができる。
請求項22に記載の発明は、第1素子形成層と、第2素子形成層とにより封止空間内に、駆動部と検出部と連成梁とが封止されることを特徴とする。
これにより、駆動部と検出部などからなる可動部と固定部との間に、パーティクル等の異物が挟まることを防止することができる。
請求項23に記載の発明は、所定方向に振動可能な第1振動子と、所定方向に振動可能な第2振動子と、第1振動子と第2振動子との間を、所定方向に対して相対的に振動可能に接続する連成梁とを有する角速度センサであって、連成梁は、第1固定ポストと第2固定ポストとバネ部とからなり、第1固定ポストは、第1振動子の表面において第1振動子の厚み方向に延設され、第2固定ポストは、第2振動子の表面において第2振動子の厚み方向に延設され、バネ部は、第1振動子と第2振動子と離間しながら第1固定ポストと第2固定ポストとを接続するとともに、少なくとも所定方向に対して弾性を有することを特徴とする。
これにより、連成梁が形成される平面を、第1振動子及び第2振動子が形成される平面と異ならせることができる。すなわち、連成梁が形成される領域の投射面上であって、第1振動子及び第2振動子が形成される平面に、第1振動子及び第2振動子とを接続する連成梁以外の機能を形成することができる。
請求項24に記載の発明は、第1固定ポストは第1振動子の重心位置を含む部分に設けられており、第2固定ポストは第2振動子の重心位置を含む部分に設けられていることを特徴とする。
これにより、連成梁の重量によって、第1振動子又は第2振動子が重力の作用方向に対して傾く可能性を低減することができる。
請求項25に記載の発明は、第1振動子および第2振動子は所定方向に長手方向を有する第1部位と第1部位の端部に接続される第2部位とを各々有し、第1固定ポストは第2振動子に近い側の第1振動子の第2部位に設置され、第2固定ポストは第1振動子に近い側の第2振動子の第2部位に設置されることを特徴とする。
これにより、連成梁の長さを短くすることができる。
請求項26に記載の発明は、連成梁は、第1固定ポストと、第2固定ポストとを繋いでなる直線上において、所定方向に弾性を有するサブバネ部を介して固定されることを特徴とする。
これにより、各振動子を振動すべき所定方向に対して精度よく振動させることができる。
請求項27に記載の発明は、連成梁およびサブバネ部および第1振動子および第2振動子は電気的に導通していることを特徴とする。
これにより、サブバネ部と連成梁とを介して、各振動子の信号を入出力することができる。
請求項28に記載の発明は、連成梁は所定方向に対して弾性を有することを特徴とする。
これにより、所定方向に可動する第1振動子および第2振動子の連成をとることができる。
請求項29に記載の発明は、第1振動子および第2振動子は、所定方向に対して平行な同一平面上に形成されていることを特徴とする。
これにより、所定方向に対して、第1振動子および第2振動子が、それぞれが成す面に沿って振動可能なように構成することができる。
請求項30に記載の発明は、第1振動子および第2振動子は、シリコンまたは金属または樹脂またはガラスまたはセラミックのいずれか、もしくはそれらが複合された材料により形成されることを特徴とする。
これにより、電気伝導性や材質の硬さ、又は及び、作りやすさなどを考慮した材質を選択して第1ユニットおよび第2ユニットを構成することができる。
請求項31に記載の発明は、連成梁の少なくとも一部が、所定方向に対して鋭角な方向に長い形状を有することを特徴とする。
これにより、鋭角を形作る第1方向に対して弾性を持つ連成梁を構成することができる。
請求項32に記載の発明は、第1振動子と第2振動子とは同一の第1素子形成層により形成されるものであって、少なくとも第1素子形成層の第1振動子と第2振動子とが形成される領域に対向するよう第2素子形成層が設けられ、連成梁は、第2素子形成層に形成されるとともに、第1方向および第2方向に可動であることを特徴とする。
これにより連成梁を、各振動子とは別の基板に形成することができるため、連成梁の設計形状の自由度を向上することができる。
請求項33に記載の発明は、第1素子形成層と、第2素子形成層とにより封止空間内に、第1振動子と第2振動子と連成梁とが封止されることを特徴とする。
これにより、各振動子を構成する可動部と固定部との間に、パーティクル等の異物が挟まることを防止することができる。
請求項34に記載の発明は、所定方向に振動可能な第1振動子と、所定方向に振動可能な第2振動子と、第1振動子と第2振動子との間を、所定方向に対して相対的に振動可能に接続する第1連成梁と第2連成梁とを有する角速度センサであって、第1連成梁は、第1固定ポストと第2固定ポストと第1梁部とからなり、第2連成梁は、第3固定ポストと第4固定ポストと第2梁部とからなり、第1固定ポストは、第1振動子の表面において第1振動子の厚み方向に延設され、第2固定ポストは、第2振動子の表面において第2振動子の厚み方向に延設され、第3固定ポストは、第1振動子の裏面において第1振動子の厚み方向に延設され、第4固定ポストは、第2振動子の裏面において第2振動子の厚み方向に延設され、第1バネ部は、第1振動子と第2振動子の表面と離間しながら第1固定ポストと第2固定ポストとを接続するとともに、所定方向に対して弾性を有し、第2バネ部は、第1振動子と第2振動子の裏面と離間しながら第3固定ポストと第4固定ポストとを接続するとともに、所定方向に対して弾性を有することを特徴とする。
これにより、第1連成梁もしくは第2連成梁いずれか一方への反りを、他方の梁部により相殺することができる。
請求項35に記載の発明は、第1固定ポストおよび第3固定ポストは第1振動子の重心位置を含む部分に設けられており、第2固定ポストおよび第4固定ポストは第2振動子の重心位置を含む部分に設けられていることを特徴とする。
連成梁の重量によって、第1振動子または第2振動子が重力の作用方向に対して傾く可能性を低減することができる。
請求項36に記載の発明は、第1振動子および第2振動子は所定方向に長手方向を有する第1部位と第1部位の端部に接続される第2部位とを各々有し、第1固定ポストは第2振動子に近い側の第1振動子の第2部位の表面側に設置され、第2固定ポストは第1振動子に近い側の第2振動子の第2部位の表面側に設置され、第3固定ポストは第2振動子に近い側の第1振動子の第2部位の裏面側に設置され、第4固定ポストは第1振動子に近い側の第2振動子の第2部位の裏面側に設置されることを特徴とする。
これにより、連成梁の長さを短くすることができる。
請求項37に記載の発明は、連成梁は、シリコンまたは金属または樹脂またはガラスまたはセラミックのいずれかもしくはそれらが複合された材料により形成されることを特徴とする。
これにより、電気伝導性や材質の硬さ、又は及び、作りやすさなどを考慮した材質を選択して連成梁を構成することができる。
請求項38に記載の発明は、連成梁は、弧状の形状を持つことを特徴とする。
これにより、ワイヤボンディングなどの工程を使って錘同士を接続し、連成梁として構成することができる。
請求項39に記載の発明は、連成梁は、円弧状の形状を持つことを特徴とする。
これにより、円弧状の形状の効果により、その円弧が形成する面内のあらゆる方向に弾性を持つ連成梁を構成することができる。
請求項40に記載の発明は、第1方向に可動な駆動錘と、第1方向に直交する第2方向に可動な検出錘と、駆動錘と検出錘との間に設けられるとともに、駆動錘の第1方向への変位を受けて第1方向に可動し、かつ、検出錘に第2方向への変位を伝達する中間錘とからなるセンサユニットを複数備え、さらに一方のセンサユニットの中間錘と、他方のセンサユニットの中間錘とを接続する連成梁を有する角速度センサであって、連成梁は、各センサユニットの駆動錘、または、各センサユニットの検出錘、を飛び越えて、中間錘同士を接続することを特徴とする。
これにより、第1方向、及び、第2方向に振動する中間錘同士を連成させることができる。
以下、実施例1から実施例11を用いて、本発明を実施するための最良の形態を述べる。
[実施例1]
図1〜4を用いて、実施例1について説明する。
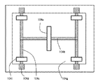
図1に本実施例における角速度センサの上面図を示す。この図1に示すように、基板層1に検出梁固定部205によって一端を固定された検出梁206に支持された複数の検出錘101がある。この検出錘101は、図1に示す検出方向に対しては変位可能であるが、図1に示す駆動方向(検出方向に直交)に対しては変位しないように、検出梁206によって支持されるものである。
検出錘101は、検出方向の変位を検出できるよう駆動方向に突出した可動検出電極204aを備える。この可動検出電極204aは、検出錘101が変位する検出方向において、基板層1に固定された検出電極固定部203から駆動方向に突出した固定検出電極204bと面対向するように配置されている。検出錘101が検出方向に変位すると、可動検出電極204aと固定検出電極204bとの間隔が変化し、それに伴い可動検出電極204aと固定検出電極204bとの間の静電容量が変化する。この静電容量の変化量を検出することにより、検出方向における検出錘101の変位量を得ることができる。なお、既存のC/V変換回路等を用いることで、この静電容量値の変化を電圧値として取り出すことが可能である。以下、可動検出電極204aと固定検出電極204bとを合わせて、検出電極204と呼ぶ。
また、検出錘101に駆動梁101bで支持された駆動錘100を設ける。この駆動錘100は、駆動方向に弾性を有する駆動梁101bによって検出錘101に支持されているため、検出錘101に対して相対的に駆動方向へ変位可能である。更に望ましくは検出方向に対しては変位しない構造となっている。
更に、角速度センサは、駆動錘100を駆動方向に振動させるために駆動力を発生させる櫛歯型の駆動電極202を備える。この駆動電極202は、駆動錘100から駆動方向に突出した可動駆動電極202aと、駆動電極固定部201aに設置され駆動方向に突出した固定駆動電極202bとで構成され、互いに駆動方向にかみ合わせられた櫛歯型の構造をしている。そして、可動駆動電極202aと固定駆動電極202bとの間に電位差を与えることで静電引力が発生し、駆動錘100は固定駆動電極202b側に引き寄せられる。駆動錘100の駆動方向に対して、駆動錘100の両側にこの駆動電極202を配置し、交互に電位差を加えるとこの駆動錘100はより効率的に駆動方向に振動するようになる。以下、駆動錘100と検出錘101とからなる可動部分を振動子と呼び、固定駆動電極202bと固定検出電極204bとからなる非可動部分を固定部と呼ぶ。
駆動錘100が駆動方向に振動、すなわち速度を持っている時に、駆動方向および検出方向に対して互いに垂直な軸(図2に示す回転方向)を回転中心とする角速度が印加された場合に、駆動錘100の振動速度と角速度の値に比例した量のコリオリ力が検出方向に発生する(駆動錘100と検出錘101とが検出方向に変位する)。したがって、コリオリ力を大きくするためには振動速度を大きくするためには駆動錘100を振動させる周波数を駆動錘100の持つ固有の共振周波数で振動させると良い。このように、駆動錘100を固有の共振周波数で振動させた場合、駆動錘100が最大の振幅で振動する(=同時に振動速度が大きくなる)ため、結果的にコリオリ力が大きくなることになる。コリオリ力が大きくなることで、検出錘101の変位が増加し、検出電極204の容量変化量が増え、検出精度がよくなる。すなわち、角速度センサのS/Nが向上する。
ただし、この検出錘101は構造上、コリオリ力だけでなく外部から検出方向に成分を持つ加速度が印加されるとその加速度によっても変位する。その加速度による変位はコリオリ力による変位にとってはノイズ成分となるためセンサの検出精度の悪化につながる。そのため、容量変化を検出する回路には同期検波回路を用いるのが一般的である。この回路は、コリオリ力が駆動錘100の速度のタイミング、すなわち駆動周波数に同期して発生する、という特徴を利用した回路で、検出方向の容量変化を表す出力信号から駆動錘100の駆動周波数に同期した信号のみを取り出す。これにより、駆動の共振周波数以外の周波数成分を持つ加速度(ノイズ成分)の信号を除去できる。しかしながら、この同期検波回路をもってしても、駆動周波数と同じ周波数成分をもつ加速度信号(ノイズ)は取り除くことはできない。そこで、本実施例1では、更に前述の駆動錘100と検出錘101からなる振動子10a,10bと、固定部と、振動子を固定部に支持する検出梁206および駆動梁101bとからなるユニットを2つ組み合わせることで、その加速度成分を除去する方法を採用している。
本実施例1における角速度センサは、独立した駆動錘100と検出錘101とをそれぞれ備えたユニットを2つ備える。そして、それぞれのユニットの駆動錘100を逆相で振動方向に振動させる。すなわち一方の振動錘100の振動方向は、他方の振動錘100の振動方向に対して逆向きになるので、一方のユニットの振動錘100に作用するコリオリ力の検出方向は、他方のユニットの振動錘100に作用するコリオリ力の検出方向に対して逆向きに発生するようになる。このため検出錘101の変位は、それぞれが検出方向に対して逆方向になり、検出電極204の容量変化の信号が逆相で発生する。一方、角速度センサに作用する外部からの加速度成分は、検出方向も含めて必ず同じ方向に作用する。そこで、差動回路を用いて各ユニットの検出信号の差動を取ることにより、同相成分である加速度成分は引き算されて除去され、コリオリ力の成分を抽出することができる。
この差動回路を利用する場合には、各ユニットの検出電極204からの検出信号に含まれるコリオリ力の成分、すなわち駆動錘100の駆動周波数が同期していることが必要である。例えば、両ユニットそれぞれの駆動錘100や駆動梁101bを同一に設計しても、製造プロセス上のばらつき等で必ずしも設計通りに同一の出来上がりとはならない。すなわち、両ユニットの駆動錘100を、全く同一の共振周波数を持つ振動体として作ることは困難である。
上記の各ユニットの振動体の共振周波数を全く同一にすることが困難であるとの点を鑑みて、本実施例1では、2つの駆動錘100を、駆動方向に弾性を持つ連成梁104で機械的にカップリングさせている。連成とは、カップリング対象同士を、互いに逆相に振動する共振振動モードをもつようにすることである。これにより本実施例1においては、連成梁104で繋がった形となった2つの駆動錘100が、互いに逆相に振動する共振振動モードをもつようにする。すなわち、共振振動モードの周波数で駆動錘100を駆動すると2つの駆動錘100は同一周波数でかつ逆相で共振振動をする。
当構成により両ユニットの各駆動錘100を同一周波数でかつ逆相で共振振動させることで、両コリオリ力に起因する各ユニットの検出錘101の変位量の絶対値が等しくなるため、前述の差動回路により外部からの加速度成分(ノイズ)とコリオリ力とを正確に分離することができる。
ここで、この連成梁104は、各駆動錘100に接続する固定ポスト104aと、一端が固定ポストに接続された梁部104bと、両端が梁部104bに接続された中央部バネ形状部104eとからなる。すなわち連成梁104は、固定ポスト104a−梁部104b−中央部バネ形状部104e−梁部104b−固定ポスト104aの順番で、各駆動錘100を接続している。
固定ポスト104aは、駆動錘100や検出錘101を構成する層(後述の素子形成層3)から上面方向(後述のシリコン酸化膜層2の方向ではない方向)に突出する。すなわち固定ポスト104aは、素子形成層3の上に積層された層により形成されている。
梁部104bは、固定ポスト104aと中央部バネ形状部104eとを接続する部材であって、素子形成層3の延設方向と同じ方向(駆動方向)に沿って延びる部材である。また、この梁部104bは、回転方向には剛体であり、かつ、重量が軽いことが望ましい。このため、梁部104bの回転方向側の厚みを、検出方向の幅よりも厚くすることで、回転方向の剛性を高めつつ、重量を軽減している。また、梁部104bの投射面上には、検出錘101や駆動電極固定部201aや固定検出電極204bが存在している。換言すれば、梁部104bは、検出錘101や駆動電極固定部201aや固定検出電極204bとの間に間隙を有しつつ、検出錘101や駆動電極固定部201aや固定検出電極204bを飛び越えた形状となっている。
中央部バネ形状部104eは、両端が各梁部104bに接続されるとともに、駆動方向および検出方向に弾性を有するものである。この中央部バネ形状部104eはロの字形状のバネであって、特にロの字を構成する各辺のうち検出方向側の辺よりも駆動方向側の辺を長くしてある。一般に、駆動振動による駆動錘100の駆動方向への変位量は、コリオリ力による駆動錘100の検出方向への変位量よりも大きい。このため駆動方向への変位量に対応するよう、駆動方向への弾性に影響を与えるロの字を構成する検出方向側の辺を長くして、中央部バネ形状部104eを駆動方向へ変形しやすくしている。また、中央部バネ形状部104eの投射面上には、検出電極固定部203が存在している。換言すれば、中央部バネ形状部104eは、検出電極固定部203との間に間隙を有しつつ、検出電極固定部203を飛び越えた形状となっている。
このような連成梁104は、駆動錘100や検出錘101を構成する層とは別の層で作ると良い。この場合、前述の通り、連成梁104(特に梁部104bと中央部バネ形状部104e)で駆動電極202や検出錘101などを跨ぐ構造とすることができるため、連成梁104の下部にある駆動電極202や検出錘101などを、連成梁104に妨げられることなく構成することができる。
また、連成梁104は少なからず質量を持っているため、連成梁104を駆動錘100に取り付けた場合、連成梁104の重量(重力)が作用する方向に駆動錘100が沈む(=駆動錘100が基板層1の延設方向に対して傾く)ことが考えられる。それぞれの駆動錘100に設置される固定ポスト104aがその駆動錘100の重心位置を含む部分に設置すると良い。このように、連成梁104を駆動錘100の重心に接続すれば、それぞれの駆動錘100の重心部分で連成梁104を支えることで、駆動錘100の傾きを抑える効果が得られる。
このように、本実施例1の構造に関する第1の効果は、2つの駆動錘100を同一周波数かつ逆相で安定的に振動させることができる点である。
構造に関する第2の効果は、連成梁104が、駆動電極固定部201bおよび検出錘101および検出電極固定部203を跨いで、両駆動錘100同士を接続できるため、連成梁104を設けるにあたりそれら駆動電極固定部201bおよび検出錘101および検出電極固定部203を分割したり、削減したりする必要がない点である。
構造に関する第3の効果は、両ユニットの各振動子10a、10bの駆動錘100の重心同士を接続しているため、連成梁104の荷重は駆動錘100の重心に印加されている。すなわち、駆動錘100が連成梁104の重量によって重力が作用する方向に対して傾く可能性を低減している。駆動錘100が傾いた場合は、駆動錘100の振動する方向が、駆動方向からずれ、振動振幅の減少や駆動方向以外の振動成分の発生により検出信号にノイズ成分として現れ、結果的にセンサの検出精度を悪化させる。駆動錘100が傾かないように重心位置で連成梁104を接続することで、このような検出精度の悪化を低減することができる。
次に本実施例1における角速度センサ1の製造方法について図2、図3(a)〜(i)および図4(a)〜(g)を用いて述べる。
図2は図1のA−A線での断面図であって、完成した状態の角速度センサを示す。この図2に示すように、本実施例1ではMEMS(Micro Electro Mechanical System)で用いられるSOI(Silicon on Insulator)ウエハ、すなわち単結晶シリコンの基板層1上に駆動錘100等の素子を形成する単結晶シリコンの素子形成層3をシリコン酸化膜層2を介して貼り合わせたもの、を用いている。そして、後述する製造工程でSOIウエハ5の素子形成層3をフォト・エッチング工程で所望の形状に形成し、可動する部分の下部のシリコン酸化膜層2をエッチングで取り除いている。
以下、製造工程について詳細に説明をする。図3(a)に示す工程は、SOIウエハ5を準備する工程である。SOIウエハ5の素子形成層3および基板層1はシリコン単結晶であり、それらがシリコン酸化膜層2を介して貼りあわされている。素子形成層3には、後述する第4工程において、前述の駆動錘100や検出錘101、検出電極204、駆動電極202などの素子構造が形成される。またシリコン酸化膜層2は犠牲層としても使われる。
図3(b)に示す第2工程では、まずSOI基板5の素子形成層3の上面にレジスト層503を塗布する。
図3(c)に示す第3工程では、第2工程に続き、フォト工程を用いて駆動錘100や検出錘101など形状を残したい箇所以外のレジスト層503を取り除いたパターンに成形する。そのパターンは出来上がり寸法との間に一定の誤差が生じるので、後述のエッチング工程の能力に従った寸法に調整される。
図3(d)に示す第4工程では、第3工程の後、例えばプラズマエッチング処理などにより、素子形成層3に駆動錘100や検出錘101などを形成する。
図3(e)に示す第5工程では、第4工程の後、表面に残ったレジスト層503を取り除く。
図3(f)に示す第6工程では、シリコン酸化膜層2をエッチングで取り除く。この時、エッチングの条件やパターンサイズを調整することにより基板層1に素子形成層3を固定したい部分にシリコン酸化膜層2の一部を残すことができる。具体的にはこのシリコン酸化膜層2のエッチングはフッ酸などシリコン酸化膜2を除去することのできる溶液を用いる。
図3(g)に示す第7工程では、第6工程の次に行われる工程であって、第4工程や第6工程でエッチングした部分に充填材504を充填する。この充填剤504は後の第16工程においてすべて取り除かれるため、エッチングや昇華によって除去できる材料を使用する。例えば有機系のレジスト材、あるいはポリイミド系の材質よりなるものであれば、酸素プラズマ中(つまり、ドライ雰囲気中)で簡単に除去できるため好適である。また、後に形成する連成梁104の厚さ方向の寸法精度を良くするために、充填材504の表面を平滑化する。
図3(h)に示す第8工程では、第7工程で設けた充填材504の上部にレジスト505を塗布する。
図3(i)に示す第9工程では、レジスト505へ連成梁104とそれぞれ連結される振動子10a,10bの駆動錘100を接続する部分のレジスト505をフォト工程などで除去する。
図4(a)に示す第10工程では、連成梁104の固定ポスト104aに対応するように充填材504をエッチングしてコンタクトホール505aを形成する。
図4(b)に示す第11工程では、レジスト505を除去する。
図4(c)に示す第12工程では、第11工程の後に、連成梁104を形成するポリシリ層506を積層工程などで、充填材504の上に形成する。なお、ポリシリ層506の代わりに、金属の蒸着やメッキによって金属層を形成することでも可能である。
図4(d)に示す第13工程では、第12工程の後に、ポリシリ層506の上にレジスト層507を設置し、連成梁104の梁部104aの形に合わせた形状にレジスト層507をフォト工程等で成形する。
図4(e)に示す第14工程では、第13工程で成形したレジスト層507をマスクとしてエッチングを行い、連成梁104を形成するポリシリ層506を部分的に除去して、連成梁104を形成する。
図4(f)に示す第15工程では、連成梁104の上部に残ったレジスト層507を除去する。
図4(g)に示す第16工程では、充填材504を除去して、駆動錘100や検出錘101を可動状態にする。この後、駆動電極202や検出電極204に電位を与えたり、信号を取り出したりするためのアルミ電極パッド等の形成工程を経て角速度センサが完成する。
上記製造方法はあくまで一例であって、他の方法を用いても良い。また、説明の都合上、図3と図4とに分けて説明を行ったが、図3(i)と図4(a)との間で製造プロセスを分けることを示唆するものではない。
両振動子10a,10bを含む各ユニットを形成する素子形成層3とは別の層であるポリシリ層506に連成梁104を形成する本実施例1の製法に関する第1の効果を述べる。第1の効果は、連成梁104を両振動子10a,10bの形成と同じくMEMSプロセスを基本とした工程で形成することができるため、連成梁104を両駆動錘100に位置精度を良く接続することができる点である。
また、製法に関する第2の効果は、駆動錘100、検出錘101等の可動部分を一度可動状態にした後に、更に充填材504でこれらを固定してから、連成梁104を形成するため、連成梁104を形成する際に駆動錘100、検出錘101等の可動部分や電極が、他の部分、たとえば固定部などに固着する可能性を抑制することができる点である。
[実施例2]
図5〜6を用いて、実施例2について説明する。
図5に実施例2における角速度センサの上面図を示す。また、図6は図5におけるB−B線での断面図を示す。
図5に示すように、基板層1に駆動梁固定部207によって一端を固定された駆動梁101bに支持された駆動錘100がある。この駆動錘100は、その駆動梁101bによって図示の駆動方向に対しては変位可能であるが、図示の検出方向に対しては変位しない。
駆動錘100は、駆動方向に駆動錘100を振動させるために駆動力を発生させる櫛歯型の駆動電極202を備える。この駆動電極202は、駆動錘100から駆動方向に突出した可動駆動電極202aと、駆動電極固定部201aに設置され駆動方向に突出した固定駆動電極202bとで構成され、互いに駆動方向にかみ合わせられた櫛歯型の構造をしている。そして、可動駆動電極202aと固定駆動電極202bとの間に電位差を与えることで静電引力が発生し、駆動錘100は固定駆動電極202b側に引き寄せられる。駆動錘100の駆動方向に対して、駆動錘100の両側にこの駆動電極202を配置し、交互に電位差を加えるとこの駆動錘100はより効率的に駆動方向に振動するようになる。
また、駆動錘100に検出梁206で支持された検出錘101を設ける。この検出錘101は、検出方向に弾性を有する検出梁206によって支持されているため、駆動錘100に対して相対的に検出方向へ変位可能である。更に望ましくは、駆動錘100に対して相対的に駆動方向に対しては変位しない構造となっている。
検出錘101は、検出方向の変位を検出できるよう駆動方向に突出した可動検出電極204aを備える。この可動検出電極204aは、検出錘101が変位する検出方向において、基板層1に固定された検出電極固定部203から駆動方向に突出した固定検出電極204bと面対向するように配置されている。検出錘101が検出方向に変位すると、可動検出電極204aと固定検出電極204bとの間隔が変化し、それに伴い可動検出電極204aと固定検出電極204bとの間の静電容量が変化する。この静電容量の変化量を検出することによって、検出方向における検出錘101の変位量を得ることができる。なお、既存のC/V変換回路等を用いることで、この静電容量値の変化を電圧値として取り出すことが可能である。
詳細な動作説明は前述した実施例1と同等のため省略するが、実施例1同様に本実施例2の構成でも外部加速度成分を除去するためにこれらのユニットを2つ有する。そして、これら各ユニットの検出錘101及び駆動錘100からなる振動子10a,10bの駆動方向への振動を機械的カップリングにより同一周波数でかつ逆相で振動させるための連成梁104を備える。ここでもこの連成梁104は、駆動錘100や検出錘101などとは別の層で作られる。また、連成梁104は、実施例1と同様に連成梁104は、固定ポスト104a−梁部104b−中央部バネ形状部104e−梁部104b−固定ポスト104aの順番で、カップリング対象を接続している。但し、本実施例2と実施例1とは、カップリング対象が異なり、本実施例2では連成梁104は各検出錘101を接続している。
このため本実施例2では、いずれの振動子10a,10bも重心位置が駆動錘100上に存在せず、検出錘101の中心部分にある。この場合、検出錘101は駆動錘100に対して検出梁206駆動方向には変位しない構造であるため、駆動方向へ駆動錘100と共に振動する。このため検出錘101の中心、すなわち振動子10a,10bの重心位置同士を連成梁104で繋いでも、実施例1と同様な連成梁104の効果が得られる。
また、角速度が加わった際はコリオリ力によって、それぞれの検出錘101が検出方向に沿って逆方向へ変位するため、連成梁104(中央部バネ形状部104e)には少なくとも駆動方向と同時に検出方向へも弾性的に検出錘101同士を連結する機能が必要となる。例えば、図5のように連成梁104を折り返しバネを組み合わせた形状とすることで、連成梁104は駆動方向と検出方向にそれぞれ弾性を持つものとなる。すなわち、中央部バネ形状部104eは、駆動方向に弾性を有する梁部と、検出方向に弾性を有する梁部とを別々に有している。これにより、前述の実施例1に比べて駆動方向の弾性と検出方向の弾性とを別々に設計することができるとともに、実施例1に比べて検出方向への弾性を下げることができる。
また、検出錘101を連成梁104の機械的カップリングで接続するという構造は以下のようなメリットも生む。すなわち、2つの振動子10a,10bが振動する駆動周波数が逆相振動モードの共振周波数で同一になるのと同様に、2つの検出錘101の検出方向に振動する固有振動数がやはり同様に逆振動モードの同一共振周波数を持つようになり、コリオリ力による検出錘101の変位量を同じ振幅にできるという点である。
ところで、ある固有の共振振動周波数を持つ物体に力が作用する際には、その共振周波数と作用する力の周波数との比によって物体が変位する量が変わるという一般的な特性がある。これを角速度センサで考えると、検出錘101に作用するコリオリ力に置き換えることができる。前述のように、コリオリ力は、検出錘101の振動する周波数に同期して現れる。2つの検出錘101の変位量は検出電極204の容量変化として捉えられ、外部からの加速度成分をキャンセルするために差動を取っている。2つの検出錘101のコリオリ力による変位量に差があると、それがオフセットとして現れ、角速度センサの感度変動の要因となる。よって、2つの検出錘101の共振周波数が同じであるほうが望ましく、連成梁104により検出錘101同士を接続する構成を採る本実施例2のメリットは、2つの振動子10a,10b間の駆動方向と同時に検出方向の共振をそれぞれ同じにすることができ、検出錘101のコリオリ力による変位量を同じにすることができる点である。
[実施例3]
図7〜8を用いて、実施例3について説明する。
図7に実施例3における角速度センサの上面図を示す。また、図8は図7におけるC−C線での断面図を示す。
実施例1および実施例2においては、連成梁104の質量に起因する基板の延設方向における振動子10a,10bの傾きを抑えるため、連成梁104とそれぞれの振動子10a,10bの接続点を、振動子10a,10bの重心位置にしていた。
しかし、図7に示すように、接続したい対象、ここでは駆動錘100同士を接続したい場合には、それらが最も近くなる部分同士を最短距離の連成梁104で接続してもよい。
ここで、駆動錘100は、駆動方向に沿った第1部位100aと、この第1部位100aの端部に接続された第2部位100bとにより構成されている。そして、図6に示すように、振動子10aの第2部位100bの端面のうち、他方の振動子10bに近い側の端面には、延長部100cが設けられている。この振動子10aの延長部100cと、振動子10bの延長部100cとは、連成梁104により接続されている。
この場合、実施例1や実施例2に比べて連成梁104の質量を少なくすることができるため、振動子10a,10bが回転方向に沿った方向に垂れ下がることを抑えることができる。
このような配置は、連成梁104の質量による振動子10a,10bの傾きが重心位置に取り付けていなくても問題にならない場合に特に有効である。
[実施例4]
図9〜10を用いて、実施例4について説明する。
図9に実施例4における角速度センサの上面図を示す。また、図10は図9におけるD−D間での断面図を示す。
実施例4では、実施例2の構造に加えて、振動子10a,10bに取り付けられている連成梁104に対して、振動子10a,10bの反対側の面にも、同一の構造の裏面連成梁105を設置したものである。さらに、裏面連成梁105を設置するために、少なくともその裏面連成梁105が設置される部分の基板層1を除去している。
基板層1の裏面連成梁105の設置部分の除去は、裏面連成梁105を形成する前に、基板層1の素子形成層3に対して逆面側に、取り除きたい部分以外のところをレジスト等で保護した後に、ウエットエッチ等で除去し、残った貼合わせ酸化膜層2をドライエッチ等で除去することでなされる。さらに、しかる後に連成梁104と同等の工程で裏面連成梁105を形成することができる。
本実施例4に関する効果は、例えば実施例2などにおいて振動子10a,10bと連成梁104とを異なる材質で作製した場合、熱膨張係数の違いにより温度変化によって振動子10a,10bが連成梁104に引っ張られ(もしくは押され)て反ってしまうことが考えられる。そうすると、振動錘100の振動方向に対する振動の方向にズレが生じ振動ロスが発生する。更には、検出方向にも振動成分が発生すると、それがノイズ信号となって検出信号に重畳しセンサの検出精度を損なう可能性がある。すなわち、検出振動又は駆動振動が、基板層1の延設方向に沿ってなされない可能性がある。
そこで、実施例4のように連成梁104と同一構造の裏面連成梁105を設置することで、熱膨張係数の違いによる連成梁104からの応力を裏面連成梁105の応力で相殺し、振動子10a,10bの反りを抑制することができる効果がある。
なお、連成梁104と裏面連成梁105は同じ形状,重量であると、さらに上記効果を奏することができる。また、連成梁104と接続対象(振動子10a,10b)との接続点の真裏に、裏面連成梁105と接続対象(振動子10a,10b)との接続点が設けられると、さらに上記効果を奏することができる。
[実施例5]
図11を用いて、実施例5について説明する。
本実施例5では、実施例1に加えて、少なくとも連成梁104の1つの固定ポスト104aから更に連成梁104を延伸して、駆動方向および検出方向に変形可能なバネ部301の一端と接続している。また、更にそのバネ部301の他端を基板層1に固定された連成梁固定部302に接続している。連成梁固定部302には、連成梁固定部302にてワイヤボンディング等で電気的な接続ができるよう、ボンディングパッド303を設ける。
本実施例5に関する効果は、駆動錘100を駆動電極202で発生させる静電気力により振動させる際、駆動錘100側に取り付けられた可動駆動電極202bと固定駆動電極202aの間に電圧差を発生させる必要がある。したがって、可動駆動電極202bすなわち駆動錘100に電圧を印加する仕組みが必要である。従来の技術では検出梁固定部205にアルミボンディングパッドなどを設置し、そこからワイヤボンディングを通じて電圧を供給するという方法が一般的に取られている。検出梁固定部205から検出梁206、検出錘101、駆動梁101bと通ってきた電流は駆動梁101bの付け根から駆動錘100に向かって電位の分布を形成する。理想的には可動駆動電極202bへの電荷分布は均一であるのが望ましい。駆動錘100には電気的に導体な材質で作られているが少なからずシート抵抗を持っているので、なるべく対称な位置から電圧の印加をすることが望ましい。そのためには従来方式では検出梁固定部205の4つの部分すべてから同じ電圧を印加するようワイヤボンディングを施す必要がある。これでは、アルミボンディングパッドの数が増え、ワイヤボンディングの数もそれだけ多く必要となりセンサが大型化してしまう。
それに対して本実施例5の構造では、駆動錘100の重心位置、すなわち中心部分から電圧を印加できるため、可動駆動電極202bの電位の分布をほぼ均一にすることができる上、ボンディングパッド303は少なくとも1つで済むため、チップの小型化が可能となる。
更に、本実施例5の構造では、連成梁104を駆動方向側に延設して、バネ部301を介して、振動子10a,10bが一直線上に基板層1に固定されている。これにより、駆動振動の振動方向が本来振動すべき固定部に対する駆動方向に対して精度よく振動するようになる。これはバネ部301が駆動方向に対して弾性を持っているため、駆動方向により動きやすいよう駆動錘100の振動をさせるためである。従って、前述の実施例1と同等以上に、検出精度を向上することができる。
[実施例6]
図12〜図14を用いて実施例6について説明する。
本実施例6は、両ユニットが形成されてなる同一基板に対向するキャップ基板側に連成梁104が形成されている点で、前述の各実施例と異なる。なお、前述の各実施例と同等の構成については、各実施例と同様の符号を付し、本実施例6における説明を省略する。
図12は実施例1における図1に相当する。図13は、図12のE−E線における断面図であって実施例1における図2に相当する。この図12に示すように、本実施例6の角速度センサは、センサエレメントが形成されたSOI基板5と、このSOI基板5に対向するように設けられたキャップ基板4とを接合する、所謂WLP(ウェハー・レベル・パッケージ)により構成させている。すなわち、両ユニットや、連成梁104は、SOI基板5の基板層1と、キャップ基板4との間に封止された構造である。また、この封止空間が真空又は減圧された空間となっている。なお、ユニットや連成梁104の構造に関しては、図12の形状以外にも、前述の各実施例における構造を採用することができる。
ここで、キャップ基板4について説明する。図13に示すように、キャップ基板4は、両ユニットが形成されるSOI基板5と同様にSOI基板を加工したものである。そして、連成梁104は、このキャップ基板4のシリコン酸化膜層42及び素子形成層43により形成されるキャップ基板側固定ポスト104dと、支持バネ部104fを介してキャップ側固定ポスト104dと梁部104bとを接続する支持梁部104cと、キャップ基板4の素子形成層43により形成される梁部104bと、梁部104bとSOI基板5(駆動錘100)との間に設けられる固定ポスト104aとからなる。
連成梁104は、駆動錘100同士を接続する場合であっても、検出錘101を接続する場合であっても、駆動方向および検出方向に弾性を有する必要がある。そこで、図13に示すように、中央部バネ形状部104eおよび梁部104bおよび支持梁部104cと、キャップ基板4の基板層41との間のキャップ基板側の酸化膜層42を除去することで、連成梁104がキャップ基板4の延設方向に沿うように、駆動方向および検出方向に弾性を有するようにしている。
次に、この連成梁104がキャップ基板4にどのように支持されているかを説明する。図14は、図13のF−F線における断面からキャップ基板側を見た上面図である。この図14に示すように、連成梁104は、キャップ基板4の固定ポスト104dによりキャップ基板の基板層41に固定されている。すなわち、キャップ基板4の固定ポスト104dに相当する箇所は、SiO層が除去されていない。一方、支持バネ部104f、および、梁部104b、および、支持梁部104cとキャップ基板4の基板層41との間には空間が設けられている。すなわち、支持バネ部104f、および、梁部104b、および、支持梁部104cに相当する箇所(キャップ基板4の基板層41)の酸化膜層42は除去されており、この除去された空間が空間となっている。さらに、キャップ基板4の素子形成層43のうち、連成梁104の周囲には、連成梁絶縁空間104gが設けられている。これにより、支持バネ部104fと支持梁部104cと梁部104bとは、キャップ基板4の延設方向に可動な状態で、キャップ基板4に支持されている。
ところで、コリオリ力が作用すると両駆動錘100が互いに逆方向への変位するため、一方の固定ポスト104aは検出方向のプラス方向へ、一方の固定ポスト104aは検出方向のマイナス方向へ変位する。そこで、図14では、支持バネ部104fは、中央部バネ形状部104eと同様に弾性を有している。このため駆動錘100又は検出錘101の振動が、固定ポスト104aを通じて支持バネ部104f及び中央部バネ形状部104eを駆動方向及び検出方向に撓ませる。なお、図14では、支持梁部104cは一方向への弾性を有する形状となっているが、梁部104bのように2方向への弾性を有する形状、例えば折り返しバネ形状としても良い。
次に、SOI基板5とキャップ基板4との接合について説明する。キャップ基板4の素子形成層43の周辺部103bであって、SOI基板5と接合した際にSOI基板5の可動部分(両振動子10a,10b)に相当しない箇所に、低融点ガラスからなる接着層44aを形成する。また、同時に、キャップ基板側の素子形成層43からなるキャップ基板側固定ポスト104dの表面上であって、SOI基板側の連成をさせる対象(駆動部又は検出部)に相当する箇所にも低融点ガラスからなる接着層44bを形成する。このSOI基板側の連成をさせる対象(駆動部又は検出部)に相当する箇所に塗布された低融点ガラスが、連成梁104と連成対象とを接続する固定ポスト104aとなる。なお、この低融点ガラスからなる固定ポスト104は、前述の実施例1のように連成対象の重心に設けられても良いし、実施例2のように連成対象のうち互いに近い側同士を接続するように設けられても良い。また、位置決め精度の都合上、固定ポスト104と梁部104bとが接続する箇所は、梁部104bが太くなっていることが望ましい。
このように、キャップ基板側に連成梁104を設けることで、前述の各実施例の効果を奏するとともに、振動子10a,10bを封止した構造とすることができる。連成梁104を設ける場合、可動部分とSOI基板側の基板層1との間の微小空間に加えて、連成梁104と接続対象(振動子)との間にも微小空間が発生する。このような微小空間に、ダイシング時のパーティクル等が挟まってしまうと、正常な検出ができなくなる可能性がある為、キャップ基板4を用いて、可動部分とSOI基板側の基板層1との間の微小空間、及び、連成梁104と接続対象との間にも微小空間の両方を封止することで、パーティクル等による不具合の可能性を減らすことができる。
また、連成梁104の弾性係数を、中央部バネ形状部104eと支持バネ部104fの両方で調整をすることができる為、弾性係数の設計自由度を高めることができる。
なお、図示していないが、キャップ基板とSOI基板5とを貼り合せた(連成梁104と連成対象とを接続した)後にダイシングすれば、ダイシング時のパーティクルが封止空間内に入ることが無い為、微小空間にパーティクルが挟まるという不具合を防止することができる。
また、接着層44bは、連成梁104と各ユニットの固定部とを離間させるスペーサの役割と、連成梁104と連成をさせる対象(駆動部又は検出部)とを接続させる接続部材としての役割を有するものであれば、低融点ガラスでなくても良い。
接着層44bとしてSiOを用いて、連成梁104と連成対象(駆動部又は検出部)とを接続した場合、連成梁104と連成対象とを絶縁することができる。また、接着層44bとしてアルミ等の導電性部材を用いて、連成梁104と連成対象(駆動部又は検出部)とを接続した場合、連成梁104と連成対象とを導通することができる。この場合キャップ基板側固定ポスト104dと接続する貫通電極をキャップ基板4の基板層41に設けると、キャップ基板4の基板層側から駆動信号の印加や検出信号の取り出しを行うことができる。なお、接着層44bとしてのSiOと連成対象としてのシリコンとは直接接合により接続することが可能である。同様に接着層44bとしてのアルミと連成対象としてのシリコンとは直接接合により接続することが可能である。
[実施例7]
図15を用いて実施例7について説明する。この実施例7は連成梁104の具体的な形状についての例である。
本実施例7では、図15に示すように、連成梁104は、2つの振動子10a,10bの厚み方向へ弧状に形成されている。この弧状の連成梁104は図15に示す駆動方向および検出方向に弾性的に2つの振動子10a,10bを連結しており、機械的にカップリングさせることで、駆動方向および検出方向について振動子を同一周波数で逆相振動のモードを実現できる。
この弧状の連成梁104の振動子10a,10bでの固定部は、振動子10a,10bの重心を含む位置であるのがより望ましい。それは前出の理由と同様、連成梁104の重量により振動子10a,10bが傾くことによるセンサ出力の精度悪化を防ぐことができる。
この形状の連成梁104は、前記のMEMSプロセスを使った連成梁形成方向に因らず、もっと簡易的にボンディングワイヤで連結するという方法でも実現できる。
[実施例8]
図16を用いて実施例8について説明する。この実施例8は連成梁104の具体的な形状についての例である。
本実施例8では、図16に示すように連成梁104の中央部バネ形状部104eの形状を、基板層1の延設方向に平行な面上において、円形状にしている。この円形状の中央部バネ形状部104eを持つ連成梁104は図16に示す駆動方向および検出方向に弾性的に2つの振動子10a,10bを連結しており、機械的にカップリングさせることで、駆動方向および検出方向について振動子を同一周波数で逆相振動のモードを実現できる。
また、中央部バネ形状部104eは図示の真円形でなく検出方向に長い楕円形もしくは駆動方向に長い楕円形でもよい。楕円形にすることで、駆動方向と検出方向のそれぞれに対する連成梁104が振動子10a,10bを連結する硬さを自由に設定することができる。例えば、検出方向に長い楕円形にした場合は、駆動方向の連成梁104が2つの振動子10a,10bを連結する硬さがやわらかくなる。それによるメリットは、楕円形状にすると振動子10a,10bが駆動方向および検出方向に変位する場合の連成梁104の連結している硬さを自由に変えることで、振動子10a,10bの駆動方向および検出方向の振動モードの周波数をある程度自由にコントロールできることである。これにより、駆動梁102や検出梁206と合わせて振動子10a,10bの周波数設計ができるようになる。
[実施例9]
図17を用いて実施例8について説明する。この実施例9は連成梁104の具体的な形状についての例である。
本実施例9では、図17に示すように連成梁104の中央部バネ形状部104eの形状を、基板層1の延設方向に平行な面上において、菱形状としている。この菱形状の中央部バネ形状部104eを持つ連成梁104は図17に示す駆動方向および検出方向に弾性的に2つの振動子10a,10bを連結しており、機械的にカップリングさせることで、駆動方向および検出方向について振動子を同一周波数で逆相振動のモードを実現できる。
また、中央部バネ形状部104eの延設方向とたとえば駆動方向とが成す角度が図17に示すような45°でなく、その角度を0〜90°(鋭角値)の範囲内で自由に設定してもよい。中央部バネ形状部104eをその様な形状にすることで、駆動方向と検出方向のそれぞれに対する連成梁104が振動子10a,10bを連結する硬さを自由に設定することができる。例えば、中央部バネ形状部104eの延設部分と駆動方向とが成す角度を45°以上とした場合は、駆動方向の連成梁104が2つの振動子10a,10bを連結する硬さがやわらかくなる。
それによるメリットは、実施例8と同様振動子10a,10bが駆動方向および検出方向に変位する場合の連成梁104の連結している硬さを自由に変えることで、振動子10a,10bの駆動方向および検出方向の振動モードの周波数をある程度自由にコントロールできることである。これにより、駆動梁102や検出梁206と合わせて振動子10a,10bの周波数設計ができるようになる。
[実施例10]
図18〜図19を用いて実施例10について説明する。
本実施例10は、一方の振動子10aの駆動錘100と他方の振動子10aの駆動錘100とを接続する駆動用連成梁1041と、一方の振動子10aの検出錘101と他方の振動子10aの検出錘101とを接続する検出用連成梁1042の両方を有している点で、前述の各実施例と異なる。
図18は実施例1における図1に相当する。図19は、図18のG−G線における断面図であって実施例1における図2に相当する。この図18に示すように、本実施例10の駆動用連成梁1041は、実施例1における連成梁104と同じ構造である。
以下、本実施例10特有の検出用連成梁1042について説明する。検出用連成梁1042は、一方の振動子10aの検出錘101と他方の振動子10bの検出錘101とを接続するものである。この検出用連成梁1042は、駆動方向および検出方向に弾性を有している。このため、検出錘101にコリオリ力が印加された場合、一方の振動子10aの検出錘101が変位する方向と真反対の方向に、他方の振動子10bの検出錘101が変位する。すなわち、検出用連成梁1042は、前述の実施例2に記載された検出錘101同士を接続した連成梁104と同様の連成機能を有する。
なお、この検出用連成梁1042は、振動子10a,10bを構成する素子形成層3をエッチング加工して形成されている。すなわち、この検出用連成梁1042は、実施例1の図3(a)〜(f)における可動部分の形成工程において、振動子10a,10bと同時に形成されるものである。
このように、駆動用連成梁1041を、検出用連成梁1042とは別の層で形成することにより、駆動錘100同士、及び、検出錘101同士が連成動作を行う構造とすることができる。すなわち、振動子10a,10bが形成される層と同じ層において検出用連成梁1042が形成される領域に、検出用連成梁1042以外の機能を有する部位(駆動用連成梁1041)を形成することができる。
このような構成を有する本実施例10の角速度センサは、前述の実施例1および2の両方の効果を奏するとともに、検出振動及び駆動振動にかかる連成機能(駆動用連成梁1041及び検出用連成梁1042)が同じ半導体プロセスにて形成されるため、両連成梁の製造精度が高く実施例1および2以上の検出精度を得ることが可能である。
なお、本実施例10と実施例6とを組み合わせて、振動子10a,10bとは別の層に形成する連成梁(駆動用連成梁1041)をWLPのキャップ基板内に形成しても良い。
また、前述の実施例2のように、検出用連成梁1042を振動子10a,10bが形成される層とは別の層で形成する構成においては、駆動用連成梁1041を振動子10a,10bが形成される層と同じ層で形成しても良い。
[実施例11]
図20〜図21を用いて実施例11について説明する。図20は角速度センサの上面図であり、図21は図20の連成梁104を除去した場合の上面図である。
本実施例11の角速度センサは、前述の実施例2の構成に加えて、外側の駆動錘100と内側の検出錘101との間に、中間錘600が形成されている点と、この一方の振動子10aの中間錘600と他方の振動子10bの中間錘600とが連成梁104により接続されている点が特徴である。
駆動錘100は、一端が駆動梁固定部207に固定された駆動梁206により、駆動方向に変位可能に支持されている。そして、駆動錘100の内側に接続され検出方向に弾性を有する駆動側中間梁601を介して、中間錘600が支持されている。中間錘600の内側には、中間錘600の内側に接続され駆動方向に弾性を有する検出側中間梁602を介して、検出錘101が支持されている。検出錘101は、検出方向に弾性を有する検出梁101bを介して検出梁固定部205に支持されている。すなわち、中間錘600は検出方向及び駆動方向に可動であり、検出錘101は検出方向に可動であり、駆動錘100は駆動方向に可動な構成となっている。また、駆動梁固定部207−駆動梁206−駆動錘100−駆動用中間梁601−中間錘600−検出用中間梁602−検出錘101−検出梁101b−検出梁固定部205の順番で接続され、駆動錘外側の駆動梁固定部207と、駆動錘内側の検出梁固定部205とにより各錘が支持されている構成となっている。
以下、この角速度センサの検出動作について説明する。駆動錘100の駆動方向に沿った駆動振動は、中間錘600に伝達され、この中間錘600を駆動方向に振動させる。この時、検出錘101は、検出梁固定部205に固定され検出方向に弾性を有する(望ましくは駆動方向には弾性を有さない)検出梁101bに接続されているため、駆動方向には振動しない。
このように中間錘600が駆動振動している際に、回転方向への角速度が印加されると、駆動錘100及び中間錘600にコリオリ力が発生する。この時、駆動錘100は、駆動梁固定部207に固定され駆動方向に弾性を有する(望ましくは検出方向には弾性を有さない)駆動梁206に接続されているため検出方向には振動しないが、検出方向に弾性を有する駆動用中間梁601に支持された中間錘600は検出方向に振動する。そして、この中間錘600の検出方向への変位は、駆動方向に弾性を有する(望ましくは検出方向には弾性を有さない)検出用中間梁602を介して検出錘101に伝達される。そして、検出方向に弾性を有する検出梁101bに支持された検出錘101は検出方向に変位する。この検出錘101の変位を検出電極204で検出することにより、コリオリ力を検出することができる。
さらに、本実施例11では、一方の振動子10aの中間錘600と、他方の振動子10bの中間錘600とが、検出方向及び駆動方向に弾性を有する連成梁104により接続されている。より具体的には、四角枠形状の中間錘600の各枠の中点(中心)付近に、連成梁104の固定ポスト104aが設けられる。このように錘が枠形状である場合には、全固定ポスト104aを繋いでなる平面の重心位置と錘の重心位置とが重なるように固定ポスト104aを配置すれば、錘の重心位置に固定ポスト104aを設けた場合と同様の作用効果を奏することができる。
これらの構成により、前述の各実施例と同様、両振動子における中間錘600の変位を連成することができる。このため、前述の各実施例と同様の効果を奏することができる。
また、連成梁104を振動子10a,10bと同じ平面上に形成する場合に比べて、チップサイズを低減できるとともに、従来のように駆動錘100をコの字形状にして連成梁104を設ける必要がないため、駆動錘100の剛性を向上することができる。
[その他の実施例]
前述の実施例1〜10においては、駆動錘100が枠形状であり駆動錘100の内側に検出錘101が存在する構成、又は、検出錘101が枠形状であり検出錘101の内側に駆動錘100が存在する構成、を例に説明をおこなったが、必ずしも外周側の錘が枠形状でなくても良い。例えば、H型であっても良いし、コの字型であっても良い。
各実施例を任意に組み合わせることも可能である。例えば実施例4の構成(表面、裏面の両方に連成梁を接続)と実施例10(両検出錘同士を連成するとともに、両駆動錘同士を連成する構造)とを組み合わせるなどしても良い。
また、例えば実施例4の構成(表面、裏面の両方に連成梁を接続)と実施例10(両検出錘同士を連成するとともに、両駆動錘同士を連成する構造)とを組み合わせるなどしても良い。
図5のような折り返しバネを組み合わせた中央部バネ形状部104e、または、図16のような円形状、または、図17のような菱形状を図1、図7、図11、図12、図18、図20に適用しても良い。
図10のように、素子形成層3の表裏に連成梁104を設置する構成を図1、図7、図11、図12、図16、図17、図18、図20に適用しても良い。
図12のように、キャップ基板4に連成梁104を設置する構成を図5、図11、図16、図17、図18、図20に適用しても良い。
本発明の第1の実施例に係わる角速度センサの概略平面図である。 図1中のA−A断面図である。 本発明の実施形態に係わる角速度センサ、特に連成梁部の製造方法を示す工程図であって、第1工程から第9工程を説明する図である。 本発明の実施形態に係わる角速度センサ、特に連成梁部の製造方法を示す工程図であって、第10工程から第16工程を説明する図である。 本発明の第2の実施例に係わる角速度センサの概略平面図である。 図5中のB−B断面図である。 本発明の第3の実施例に係わる角速度センサの概略平面図である。 図5中のC−C断面図である。 本発明の第4の実施例に係わる角速度センサの概略平面図である。 図9中のD−D断面図である。 本発明の第5の実施例に係わる角速度センサの概略平面図である。 本発明の第6の実施例に係わる角速度センサの概略平面図である。 図12中のE−E断面図である。 本発明の第6の実施例に係わる角速度センサの概略平面図のうち特に連成梁形状を表した図である。 本発明の第7の実施例に係わる角速度センサの概略鳥瞰図のうち特に連成梁形状を表した図である。 本発明の第8の実施例に係わる角速度センサの概略平面図である。 本発明の第9の実施例に係わる角速度センサの概略平面図である。 本発明の第10の実施例に係わる角速度センサの概略平面図である。 図18中のG−G断面図である。 本発明の第11の実施例に係わる角速度センサの概略平面図である。 図20から連成梁を除去した角速度センサの概略平面図である。
符号の説明
1…基板層
2…シリコン酸化膜
3…素子形成層
4…キャップ基板
41…キャップ基板の基板層
42…キャップ基板のシリコン酸化膜層
43…キャップ基板の素子形成層
10a・10b…振動子
100…駆動錘
101…検出錘、
100a…第1部位
100b…第2部位
100c…延長部
101b…駆動梁
103a・103b…周辺部
104・105…連成梁
104a・105a…固定ポスト
104b・105b…梁部
104c…支持梁部
104d…キャップ基板側固定ポスト
104e・105e…中央部バネ形状部
104f…支持バネ部
104g…連成梁絶縁空間
201a・201b…駆動電極固定部
202…駆動電極
202a…固定駆動電極
202b…可動駆動電極
203…検出電極固定部
204…検出電極
204a…可動検出電極
204b…固定検出電極
205…検出梁固定部
206…検出梁
207…駆動梁固定部
301…バネ部
302…連成梁固定部
303…ボンディングパッド
500…素子形成層
501…シリコン酸化膜
502…基板層
503・505…レジスト
504…充填材
600…中間錘
601…駆動側中間梁
602…検出側中間梁
1041…駆動用連成梁
1042…検出用連成梁

Claims (40)

  1. 第1方向に駆動される駆動部(100)と、
    前記第1方向に直交する第2方向に可動する検出部(101)と、
    前記駆動部(100)と前記検出部(101)とを連結する弾性部材(101b)とを各々有する第1ユニットと第2ユニットとを備え、
    前記第1ユニットの駆動部(100)の上面と前記第2ユニットの駆動部(100)の上面とは、該第1ユニットの検出部(101)および該第2ユニットの検出部(101)の上面と離間する連成梁(104)により接続されることを特徴とする角速度センサ。
  2. 前記連成梁(104)は、前記第1ユニットの前記駆動部(100)の重心位置を含む部分に接続されるとともに、前記第2ユニットの前記駆動部(100)の重心位置を含む部分に接続されることを特徴とする請求項1に記載の角速度センサ。
  3. 前記連成梁(104)が接続される前記第1ユニットの駆動部(100)の上面に対向する下面と、該連成梁(104)が接続される前記第2ユニットの駆動部(100)の上面に対向する下面とを接続する第2の連成梁(105)が設けられることを特徴とする請求項1または2に記載の角速度センサ。
  4. 前記連成梁(104)は、前記第1ユニットの駆動部(100)と該連成梁(104)との接続点と、前記第2ユニットの駆動部(100)と該連成梁(104)との接続点とを繋いでなる直線上において、前記第1方向に弾性を有するサブバネ部(301)を介して固定されることを特徴とする請求項1ないし3のいずれかに記載の角速度センサ。
  5. 前記連成梁(104)およびサブバネ部(301)および前記第1ユニットの駆動部(100)および前記第2ユニットの駆動部(100)は電気的に導通していることを特徴とする請求項4に記載の角速度センサ。
  6. 前記連成梁(104)は前記第1方向に対して弾性を有することを特徴とする請求項1ないし5のいずれかに記載の角速度センサ。
  7. 前記連成梁(104)は前記第1方向に対して垂直な方向に屈曲した形状の部位を有することを特徴とする請求項1ないし6のいずれかに記載の角速度センサ。
  8. 前記第1ユニットの駆動部(100)と該第2ユニットの駆動部(100)とを接続する連成梁(1041)とは別の連成梁(1042)により、前記第1ユニットの検出部(101)と前記第2ユニットの検出部(101)とが接続されることを特徴とする請求項1ないし7のいずれかに記載の角速度センサ。
  9. 前記連成梁(104,105)の少なくとも一部が、前記第1方向に対して鋭角な方向に長い形状を有することを特徴とする請求項1ないし8のいずれかに記載の角速度センサ。
  10. 第1方向に駆動される駆動部(100)と、
    前記第1方向に直行する第2方向に可動する検出部(101)と、
    前記駆動部(100)と前記検出部(101)とを連結する弾性部材(101b)とを各々有する第1ユニットと第2ユニットとを備え、
    前記第1ユニットの検出部(101)の上面と前記第2ユニットの検出部(101)の上面とは,該第1ユニットの駆動部(100)及び該第2ユニットの駆動部(100)の上面と離間する連成梁(104)により接続されることを特徴とする角速度センサ。
  11. 前記連成梁(104)は、前記第1ユニットの前記検出部(101)の重心位置を含む部分に接続されるとともに、前記第2ユニットの前記検出部(101)の重心位置を含む部分に接続されていることを特徴とする請求項10に記載の角速度センサ。
  12. 前記連成梁(104)が接続される前記第1ユニットの検出部(101)の上面に対向する下面と、該連成梁(104)が接続される前記第2ユニットの検出部(101)の上面に対向する下面とを接続する第2の連成梁(105)が設けられることを特徴とする請求項10または11に記載の角速度センサ。
  13. 前記連成梁(104)は、前記第1ユニットの検出部(101)と該連成梁(104)との接続点と、前記第2ユニットの検出部(101)と該連成梁(104)との接続点とを繋いでなる直線上において、前記第1方向に弾性を有するサブバネ部(301)を介して固定されることを特徴とする請求項10ないし12のいずれかに記載の角速度センサ。
  14. 前記連成梁(104)および前記サブバネ部(301)および前記第1ユニットの検出部(101)および前記第2ユニットの検出部(101)は電気的に導通していることを特徴とする請求項13に記載の角速度センサ。
  15. 前記連成梁(104)は前記第2方向に対して弾性を有することを特徴とする請求項10ないし14のいずれかに記載の角速度センサ。
  16. 前記連成梁(104)は前記第2方向に対して垂直な方向に屈曲した形状の部位を有することを特徴とする請求項10ないし15のいずれかに記載の角速度センサ。
  17. 前記第1ユニットの検出部(101)と該第2ユニットの検出部(101)とを接続する連成梁(1042)とは別の連成梁(1041)により、前記第1ユニットの駆動部(100)と前記第2ユニットの駆動部(100)とが接続されることを特徴とする請求項10ないし16のいずれかに記載の角速度センサ。
  18. 前記連成梁(104,105)の少なくとも一部が、前記第2方向に対して鋭角な方向に長い形状を有することを特徴とする請求項10ないし17のいずれかに記載の角速度センサ。
  19. 前記第1ユニットおよび前記第2ユニットは、前記第1方向および前記第2方向が成す面に対して平行な平面上に形成されていることを特徴とする請求項1ないし18のいずれかに記載の角速度センサ。
  20. 前記第1ユニットおよび前記第2ユニットは、シリコンまたは金属または樹脂またはガラスまたはセラミックのいずれか、もしくはそれらが複合された材料からできていることを特徴とする請求項1ないし19のいずれかに記載の角速度センサ。
  21. 前記駆動部(100)と前記検出部(101)とは同一の第1素子形成層(3)により形成されるものであって、
    少なくとも前記第1素子形成層(3)の前記駆動部(100)と前記検出部(101)とが形成される領域に対向するよう第2素子形成層(5)が設けられ、
    前記連成梁(104)は、前記第2素子形成層(5)に形成されるとともに、前記第1方向および前記第2方向に可動であることを特徴とする請求項1ないし20のいずれかに記載の角速度センサ。
  22. 前記第1素子形成層(3)と、前記第2素子形成層(5)とにより封止空間内に、前記駆動部(100)と前記検出部(101)と前記連成梁(104)とが封止されることを特徴とする請求項21に記載の角速度センサ。
  23. 所定方向に振動可能な第1振動子(10a)と、
    前記所定方向に振動可能な第2振動子(10b)と、
    前記第1振動子(10a)と第2振動子(10b)との間を、前記所定方向に対して相対的に振動可能に接続する連成梁(104)とを有する角速度センサであって、
    前記連成梁(104)は、第1固定ポスト(104a)と第2固定ポスト(104a)とバネ部(104e)とからなり、
    前記第1固定ポスト(104a)は、前記第1振動子(10a)の表面において該第1振動子の厚み方向に延設され、
    前記第2固定ポスト(104a)は、前記第2振動子(10b)の表面において該第2振動子の厚み方向に延設され、
    前記バネ部(104e)は、該第1振動子(10a)と該第2振動子(10b)と離間しながら該第1固定ポスト(104a)と該第2固定ポスト(104a)とを接続するとともに、少なくとも前記所定方向に対して弾性を有することを特徴とする角速度センサ。
  24. 前記第1固定ポスト(104a)は前記第1振動子(10a)の重心位置を含む部分に設けられており、
    前記第2固定ポスト(104a)は前記第2振動子(10b)の重心位置を含む部分に設けられていることを特徴とする請求項23に記載の角速度センサ。
  25. 前記第1振動子(10a)および前記第2振動子(10b)は前記所定方向に長手方向を有する第1部位(100a)と該第1部位の端部に接続される第2部位(100b)とを各々有し、
    前記第1固定ポスト(104a)は前記第2振動子(10b)に近い側の前記第1振動子(10a)の前記第2部位(110)に設置され、
    前記第2固定ポスト(104b)は前記第1振動子(10a)に近い側の前記第2振動子(10b)の前記第2部位(110)に設置されることを特徴とする請求項23に記載の角速度センサ。
  26. 前記連成梁(104)は、前記第1固定ポスト(104a)と、前記第2固定ポスト(104b)とを繋いでなる直線上において、前記所定方向に弾性を有するサブバネ部(301)を介して固定されることを特徴とする請求項23または25に記載の角速度センサ。
  27. 前記連成梁(104)および前記サブバネ部(301)および前記第1振動子(10a)および前記第2振動子(10b)は電気的に導通していることを特徴とする請求項26に記載の角速度センサ。
  28. 前記連成梁(104)は前記所定方向に対して弾性を有することを特徴とする請求項23ないし27のいずれかに記載の角速度センサ。
  29. 前記第1振動子(10a)および前記第2振動子(10b)は、前記所定方向に対して平行な同一平面上に形成されていることを特徴とする請求項23ないし28のいずれかに記載の角速度センサ。
  30. 前記第1振動子(10a)および前記第2振動子(10b)は、シリコンまたは金属または樹脂またはガラスまたはセラミックのいずれか、もしくはそれらが複合された材料により形成されることを特徴とする請求項23ないし29のいずれかに記載の角速度センサ。
  31. 前記連成梁(104,105)の少なくとも一部が、前記所定方向に対して鋭角な方向に長い形状を有することを特徴とする請求項23ないし30のいずれかに記載の角速度センサ。
  32. 前記第1振動子(10a)と前記第2振動子(10b)とは同一の第1素子形成層(3)により形成されるものであって、
    少なくとも前記第1素子形成層(3)の前記第1振動子(10a)と前記第2振動子(10b)とが形成される領域に対向するよう第2素子形成層(5)が設けられ、
    前記連成梁(104)は、前記第2素子形成層(5)に形成されるとともに、前記第1方向および前記第2方向に可動であることを特徴とする請求項23ないし31のいずれかに記載の角速度センサ。
  33. 前記第1素子形成層(3)と、前記第2素子形成層(5)とにより封止空間内に、前記第1振動子(10a)と前記第2振動子(10b)と前記連成梁(104)とが封止されることを特徴とする請求項32に記載の角速度センサ。
  34. 所定方向に振動可能な第1振動子(10a)と、
    前記所定方向に振動可能な第2振動子(10b)と、
    前記第1振動子と第2振動子との間を、前記所定方向に対して相対的に振動可能に接続する第1連成梁(104)と第2連成梁(105)とを有する角速度センサであって、
    前記第1連成梁(104)は、第1固定ポスト(104a)と第2固定ポスト(104a)と第1梁部(104b)とからなり、
    前記第2連成梁(105)は、第3固定ポスト(105a)と第4固定ポスト(105a)と第2梁部(105b)とからなり、
    前記第1固定ポスト(104a)は、前記第1振動子(10a)の表面において該第1振動子の厚み方向に延設され、
    前記第2固定ポスト(104a)は、前記第2振動子(10b)の表面において該第2振動子の厚み方向に延設され、
    前記第3固定ポスト(105a)は、前記第1振動子(10a)の裏面において該第1振動子の厚み方向に延設され、
    前記第4固定ポスト(105a)は、前記第2振動子(10b)の裏面において該第2振動子の厚み方向に延設され、
    前記第1バネ部(104e)は、前記第1振動子(10a)と前記第2振動子(10b)の表面と離間しながら前記第1固定ポスト(104a)と前記第2固定ポスト(104a)とを接続するとともに、前記所定方向に対して弾性を有し、
    前記第2バネ部(105e)は、前記第1振動子(10a)と前記第2振動子(10b)の裏面と離間しながら前記第3固定ポスト(105a)と前記第4固定ポスト(105a)とを接続するとともに、前記所定方向に対して弾性を有することを特徴とする角速度センサ。
  35. 前記第1固定ポスト(104a)および前記第3固定ポスト(105a)は前記第1振動子(10a)の重心位置を含む部分に設けられており、
    前記第2固定ポスト(104a)および前記第4固定ポスト(105a)は前記第2振動子(10b)の重心位置を含む部分に設けられていることを特徴とする請求項34に記載の角速度センサ。
  36. 前記第1振動子(10a)および前記第2振動子(10b)は前記所定方向に長手方向を有する第1部位と該第1部位の端部に接続される第2部位とを各々有し、
    前記第1固定ポスト(104a)は前記第2振動子(10b)に近い側の前記第1振動子(10a)の前記第2部位(110)の表面側に設置され、
    前記第2固定ポスト(104a)は前記第1振動子(10a)に近い側の前記第2振動子(10b)の前記第2部位(111)の表面側に設置され、
    前記第3固定ポスト(105a)は前記第2振動子(10b)に近い側の前記第1振動子(10a)の前記第2部位(110)の裏面側に設置され、
    前記第4固定ポスト(105a)は前記第1振動子(10a)に近い側の前記第2振動子(10b)の前記第2部位(111)の裏面側に設置されることを特徴とする請求項34または35に記載の角速度センサ。
  37. 前記連成梁(104)は、シリコンまたは金属または樹脂またはガラスまたはセラミックのいずれかもしくはそれらが複合された材料により形成されることを特徴とする請求項1ないし36のいずれかに記載の角速度センサ。
  38. 前記連成梁(104,105)は、弧状の形状を持つことを特徴とする請求項1ないし37のいずれかに記載の角速度センサ。
  39. 前記連成梁(104,105)は、円弧状の形状を持つことを特徴とする請求項1ないし37のいずれかに記載の角速度センサ。
  40. 第1方向に可動な駆動錘(100)と、
    前記第1方向に直交する第2方向に可動な検出錘(101)と、
    前記駆動錘(100)と検出錘(101)との間に設けられるとともに、前記駆動錘(100)の第1方向への変位を受けて前記第1方向に可動し、かつ、前記検出錘(101)に第2方向への変位を伝達する中間錘(600)とからなるセンサユニット(10a,10b)を複数備え、さらに
    一方の前記センサユニット(10a,10b)の中間錘(600)と、他方の前記センサユニット(10a,10b)の中間錘(600)とを接続する連成梁(104)を有する角速度センサであって、
    前記連成梁(104)は、各前記センサユニット(10a,10b)の前記駆動錘(100)、または、各前記センサユニット(10a,10b)の前記検出錘(101)、を飛び越えて、前記中間錘(600)同士を接続することを特徴とする角速度センサ。
JP2008224824A 2008-09-02 2008-09-02 角速度センサ Expired - Fee Related JP4609558B2 (ja)

Priority Applications (3)

Application Number Priority Date Filing Date Title
JP2008224824A JP4609558B2 (ja) 2008-09-02 2008-09-02 角速度センサ
US12/585,052 US8234920B2 (en) 2008-09-02 2009-09-01 Angular velocity sensor having drive member coupling beam spaced apart from drive members
DE102009039584.9A DE102009039584B4 (de) 2008-09-02 2009-09-01 Winkelgeschwindigkeitssensor

Applications Claiming Priority (1)

Application Number Priority Date Filing Date Title
JP2008224824A JP4609558B2 (ja) 2008-09-02 2008-09-02 角速度センサ

Publications (2)

Publication Number Publication Date
JP2010060372A true JP2010060372A (ja) 2010-03-18
JP4609558B2 JP4609558B2 (ja) 2011-01-12

Family

ID=41606397

Family Applications (1)

Application Number Title Priority Date Filing Date
JP2008224824A Expired - Fee Related JP4609558B2 (ja) 2008-09-02 2008-09-02 角速度センサ

Country Status (3)

Country Link
US (1) US8234920B2 (ja)
JP (1) JP4609558B2 (ja)
DE (1) DE102009039584B4 (ja)

Cited By (11)

* Cited by examiner, † Cited by third party
Publication number Priority date Publication date Assignee Title
JP2011053185A (ja) * 2009-09-04 2011-03-17 Denso Corp 振動型角速度センサ
JP2011203086A (ja) * 2010-03-25 2011-10-13 Toyota Central R&D Labs Inc 可動部分を備えている積層構造体
JP2011237393A (ja) * 2010-05-13 2011-11-24 Toyota Central R&D Labs Inc 可動体、2軸角速度センサおよび3軸加速度センサ
JP2011252908A (ja) * 2010-06-02 2011-12-15 Robert Bosch Gmbh 回転速度センサ
JP2012202799A (ja) * 2011-03-25 2012-10-22 Mitsubishi Precision Co Ltd バイアス安定性に優れた振動型ジャイロ
JP2013217650A (ja) * 2012-04-04 2013-10-24 Seiko Epson Corp ジャイロセンサー、及び電子機器
JP2013238437A (ja) * 2012-05-14 2013-11-28 Seiko Epson Corp ジャイロセンサー、および電子機器
JP2014032200A (ja) * 2013-09-12 2014-02-20 Toyota Central R&D Labs Inc Memsセンサ
JP2016057073A (ja) * 2014-09-05 2016-04-21 セイコーエプソン株式会社 物理量センサー素子、物理量センサー、電子機器および移動体
JP2016057072A (ja) * 2014-09-05 2016-04-21 セイコーエプソン株式会社 物理量センサー素子、物理量センサー、電子機器および移動体
JP2017075797A (ja) * 2015-10-13 2017-04-20 株式会社豊田中央研究所 容量式memsセンサ

Families Citing this family (5)

* Cited by examiner, † Cited by third party
Publication number Priority date Publication date Assignee Title
JP5884603B2 (ja) * 2012-03-30 2016-03-15 株式会社デンソー ロールオーバージャイロセンサ
JP6993951B2 (ja) 2018-10-15 2022-01-14 株式会社鷺宮製作所 振動発電素子
US11891297B2 (en) * 2019-07-05 2024-02-06 Aac Acoustic Technologies (Shenzhen) Co., Ltd. Motion control structure and actuator
CN119492365B (zh) * 2023-08-21 2025-11-28 中国科学院上海微系统与信息技术研究所 一种四质量体机械放大式mems陀螺仪
CN120351907B (zh) * 2025-06-23 2025-09-16 华芯拓远(天津)科技有限公司 陀螺检测结构、陀螺仪及检测角速度的方法

Citations (4)

* Cited by examiner, † Cited by third party
Publication number Priority date Publication date Assignee Title
JP2004518971A (ja) * 2001-02-21 2004-06-24 ローベルト ボツシユ ゲゼルシヤフト ミツト ベシユレンクテル ハフツング 回転レートセンサー
JP2004518969A (ja) * 2001-02-21 2004-06-24 ローベルト ボツシユ ゲゼルシヤフト ミツト ベシユレンクテル ハフツング ヨーレートセンサ
JP2007248152A (ja) * 2006-03-14 2007-09-27 Toyota Motor Corp 力学量検出装置及びその製造方法
JP2010501829A (ja) * 2006-07-31 2010-01-21 ローベルト ボツシユ ゲゼルシヤフト ミツト ベシユレンクテル ハフツング 回転レートセンサ

Family Cites Families (10)

* Cited by examiner, † Cited by third party
Publication number Priority date Publication date Assignee Title
DE4442033C2 (de) 1994-11-25 1997-12-18 Bosch Gmbh Robert Drehratensensor
JPH08320339A (ja) * 1995-05-25 1996-12-03 Nippondenso Co Ltd 半導体力学量センサ
US6230563B1 (en) 1998-06-09 2001-05-15 Integrated Micro Instruments, Inc. Dual-mass vibratory rate gyroscope with suppressed translational acceleration response and quadrature-error correction capability
DE10108196A1 (de) * 2001-02-21 2002-10-24 Bosch Gmbh Robert Drehratensensor
FR2834055B1 (fr) * 2001-12-20 2004-02-13 Thales Sa Capteur inertiel micro-usine pour la mesure de mouvements de rotation
JP4433747B2 (ja) * 2003-09-29 2010-03-17 株式会社村田製作所 角速度検出装置
JP4887034B2 (ja) * 2005-12-05 2012-02-29 日立オートモティブシステムズ株式会社 慣性センサ
DE102007012163A1 (de) 2006-03-10 2007-10-25 Continental Teves Ag & Co. Ohg Drehratensensor mit Kopplungsbalken
JP5301767B2 (ja) 2006-06-13 2013-09-25 日立オートモティブシステムズ株式会社 慣性センサ
JP5105968B2 (ja) * 2007-06-22 2012-12-26 株式会社日立製作所 角速度検出装置

Patent Citations (4)

* Cited by examiner, † Cited by third party
Publication number Priority date Publication date Assignee Title
JP2004518971A (ja) * 2001-02-21 2004-06-24 ローベルト ボツシユ ゲゼルシヤフト ミツト ベシユレンクテル ハフツング 回転レートセンサー
JP2004518969A (ja) * 2001-02-21 2004-06-24 ローベルト ボツシユ ゲゼルシヤフト ミツト ベシユレンクテル ハフツング ヨーレートセンサ
JP2007248152A (ja) * 2006-03-14 2007-09-27 Toyota Motor Corp 力学量検出装置及びその製造方法
JP2010501829A (ja) * 2006-07-31 2010-01-21 ローベルト ボツシユ ゲゼルシヤフト ミツト ベシユレンクテル ハフツング 回転レートセンサ

Cited By (11)

* Cited by examiner, † Cited by third party
Publication number Priority date Publication date Assignee Title
JP2011053185A (ja) * 2009-09-04 2011-03-17 Denso Corp 振動型角速度センサ
JP2011203086A (ja) * 2010-03-25 2011-10-13 Toyota Central R&D Labs Inc 可動部分を備えている積層構造体
JP2011237393A (ja) * 2010-05-13 2011-11-24 Toyota Central R&D Labs Inc 可動体、2軸角速度センサおよび3軸加速度センサ
JP2011252908A (ja) * 2010-06-02 2011-12-15 Robert Bosch Gmbh 回転速度センサ
JP2012202799A (ja) * 2011-03-25 2012-10-22 Mitsubishi Precision Co Ltd バイアス安定性に優れた振動型ジャイロ
JP2013217650A (ja) * 2012-04-04 2013-10-24 Seiko Epson Corp ジャイロセンサー、及び電子機器
JP2013238437A (ja) * 2012-05-14 2013-11-28 Seiko Epson Corp ジャイロセンサー、および電子機器
JP2014032200A (ja) * 2013-09-12 2014-02-20 Toyota Central R&D Labs Inc Memsセンサ
JP2016057073A (ja) * 2014-09-05 2016-04-21 セイコーエプソン株式会社 物理量センサー素子、物理量センサー、電子機器および移動体
JP2016057072A (ja) * 2014-09-05 2016-04-21 セイコーエプソン株式会社 物理量センサー素子、物理量センサー、電子機器および移動体
JP2017075797A (ja) * 2015-10-13 2017-04-20 株式会社豊田中央研究所 容量式memsセンサ

Also Published As

Publication number Publication date
JP4609558B2 (ja) 2011-01-12
US8234920B2 (en) 2012-08-07
DE102009039584A1 (de) 2010-03-04
DE102009039584B4 (de) 2019-08-14
US20100050767A1 (en) 2010-03-04

Similar Documents

Publication Publication Date Title
JP4609558B2 (ja) 角速度センサ
US6626039B1 (en) Electrically decoupled silicon gyroscope
RU2580879C2 (ru) Микроэлектромеханическая система для датчика угловой скорости
US9448069B2 (en) Microelectromechanical bulk acoustic wave devices and methods
US8327706B2 (en) Angular velocity detecting device
JP5450451B2 (ja) 垂直方向に集積した電子回路およびウェハスケール密封包装を含むx−y軸二重質量音叉ジャイロスコープ
US8997568B2 (en) Micromachined gyroscope with detection in the plane of the machined wafer
JP2006053152A (ja) 振動数検出を用いたマイクロジャイロメーター
CN103033177A (zh) 回转盘陀螺仪
US20190033075A1 (en) Gyroscope devices and methods for fabricating gyroscope devices
KR102033544B1 (ko) 각속도 센서
JP4362877B2 (ja) 角速度センサ
JPWO2018135211A1 (ja) センサ
JP5816707B2 (ja) 角速度検出装置
JP4466283B2 (ja) ジャイロセンサ
JP4362739B2 (ja) 振動型角速度センサ
KR100506074B1 (ko) 분리 z축 마이크로자이로스코프 및 그 제조방법
WO2009107573A1 (ja) 角速度センサ
CN118533159B (zh) 基于自差分电极的微惯性敏感结构及制备方法
JP5481545B2 (ja) 角速度検出装置
JP2005070018A (ja) 加速度センサ
JP2016008907A (ja) 温度特性に優れた振動型ジャイロ
JPH11211482A (ja) 表面マイクロマシンの電極構造

Legal Events

Date Code Title Description
A621 Written request for application examination

Free format text: JAPANESE INTERMEDIATE CODE: A621

Effective date: 20100125

A977 Report on retrieval

Free format text: JAPANESE INTERMEDIATE CODE: A971007

Effective date: 20100618

A131 Notification of reasons for refusal

Free format text: JAPANESE INTERMEDIATE CODE: A131

Effective date: 20100622

RD01 Notification of change of attorney

Free format text: JAPANESE INTERMEDIATE CODE: A7421

Effective date: 20100625

A521 Request for written amendment filed

Free format text: JAPANESE INTERMEDIATE CODE: A523

Effective date: 20100823

TRDD Decision of grant or rejection written
A01 Written decision to grant a patent or to grant a registration (utility model)

Free format text: JAPANESE INTERMEDIATE CODE: A01

Effective date: 20100914

A01 Written decision to grant a patent or to grant a registration (utility model)

Free format text: JAPANESE INTERMEDIATE CODE: A01

A61 First payment of annual fees (during grant procedure)

Free format text: JAPANESE INTERMEDIATE CODE: A61

Effective date: 20100927

FPAY Renewal fee payment (event date is renewal date of database)

Free format text: PAYMENT UNTIL: 20131022

Year of fee payment: 3

R151 Written notification of patent or utility model registration

Ref document number: 4609558

Country of ref document: JP

Free format text: JAPANESE INTERMEDIATE CODE: R151

FPAY Renewal fee payment (event date is renewal date of database)

Free format text: PAYMENT UNTIL: 20131022

Year of fee payment: 3

R250 Receipt of annual fees

Free format text: JAPANESE INTERMEDIATE CODE: R250

R250 Receipt of annual fees

Free format text: JAPANESE INTERMEDIATE CODE: R250

R250 Receipt of annual fees

Free format text: JAPANESE INTERMEDIATE CODE: R250

R250 Receipt of annual fees

Free format text: JAPANESE INTERMEDIATE CODE: R250

R250 Receipt of annual fees

Free format text: JAPANESE INTERMEDIATE CODE: R250

R250 Receipt of annual fees

Free format text: JAPANESE INTERMEDIATE CODE: R250

LAPS Cancellation because of no payment of annual fees