JP2010054111A - 一体型空気調和機 - Google Patents

一体型空気調和機 Download PDF

Info

Publication number
JP2010054111A
JP2010054111A JP2008219090A JP2008219090A JP2010054111A JP 2010054111 A JP2010054111 A JP 2010054111A JP 2008219090 A JP2008219090 A JP 2008219090A JP 2008219090 A JP2008219090 A JP 2008219090A JP 2010054111 A JP2010054111 A JP 2010054111A
Authority
JP
Japan
Prior art keywords
exhaust
duct
condenser
air conditioner
intake
Prior art date
Legal status (The legal status is an assumption and is not a legal conclusion. Google has not performed a legal analysis and makes no representation as to the accuracy of the status listed.)
Granted
Application number
JP2008219090A
Other languages
English (en)
Other versions
JP4676520B2 (ja
Inventor
Toru Ariga
徹 有賀
Current Assignee (The listed assignees may be inaccurate. Google has not performed a legal analysis and makes no representation or warranty as to the accuracy of the list.)
Sharp Corp
Original Assignee
Sharp Corp
Priority date (The priority date is an assumption and is not a legal conclusion. Google has not performed a legal analysis and makes no representation as to the accuracy of the date listed.)
Filing date
Publication date
Application filed by Sharp Corp filed Critical Sharp Corp
Priority to JP2008219090A priority Critical patent/JP4676520B2/ja
Priority to CN2009101431263A priority patent/CN101660814B/zh
Priority to US12/508,315 priority patent/US8584481B2/en
Publication of JP2010054111A publication Critical patent/JP2010054111A/ja
Application granted granted Critical
Publication of JP4676520B2 publication Critical patent/JP4676520B2/ja
Expired - Fee Related legal-status Critical Current
Anticipated expiration legal-status Critical

Links

Images

Classifications

    • FMECHANICAL ENGINEERING; LIGHTING; HEATING; WEAPONS; BLASTING
    • F24HEATING; RANGES; VENTILATING
    • F24FAIR-CONDITIONING; AIR-HUMIDIFICATION; VENTILATION; USE OF AIR CURRENTS FOR SCREENING
    • F24F3/00Air-conditioning systems in which conditioned primary air is supplied from one or more central stations to distributing units in the rooms or spaces where it may receive secondary treatment; Apparatus specially designed for such systems
    • F24F3/12Air-conditioning systems in which conditioned primary air is supplied from one or more central stations to distributing units in the rooms or spaces where it may receive secondary treatment; Apparatus specially designed for such systems characterised by the treatment of the air otherwise than by heating and cooling
    • F24F3/14Air-conditioning systems in which conditioned primary air is supplied from one or more central stations to distributing units in the rooms or spaces where it may receive secondary treatment; Apparatus specially designed for such systems characterised by the treatment of the air otherwise than by heating and cooling by humidification; by dehumidification
    • FMECHANICAL ENGINEERING; LIGHTING; HEATING; WEAPONS; BLASTING
    • F24HEATING; RANGES; VENTILATING
    • F24FAIR-CONDITIONING; AIR-HUMIDIFICATION; VENTILATION; USE OF AIR CURRENTS FOR SCREENING
    • F24F1/00Room units for air-conditioning, e.g. separate or self-contained units or units receiving primary air from a central station
    • F24F1/02Self-contained room units for air-conditioning, i.e. with all apparatus for treatment installed in a common casing
    • F24F1/022Self-contained room units for air-conditioning, i.e. with all apparatus for treatment installed in a common casing comprising a compressor cycle
    • FMECHANICAL ENGINEERING; LIGHTING; HEATING; WEAPONS; BLASTING
    • F24HEATING; RANGES; VENTILATING
    • F24FAIR-CONDITIONING; AIR-HUMIDIFICATION; VENTILATION; USE OF AIR CURRENTS FOR SCREENING
    • F24F1/00Room units for air-conditioning, e.g. separate or self-contained units or units receiving primary air from a central station
    • F24F1/02Self-contained room units for air-conditioning, i.e. with all apparatus for treatment installed in a common casing
    • F24F1/04Arrangements for portability

Landscapes

  • Engineering & Computer Science (AREA)
  • Chemical & Material Sciences (AREA)
  • Combustion & Propulsion (AREA)
  • Mechanical Engineering (AREA)
  • General Engineering & Computer Science (AREA)
  • Devices For Blowing Cold Air, Devices For Blowing Warm Air, And Means For Preventing Water Condensation In Air Conditioning Units (AREA)
  • Air Conditioning Control Device (AREA)

Abstract

【課題】空気調和機の使用態様に応じて送水手段の運転を適切に制御することにより、ドレンパンに溜まった水を捨てる頻度を少なくすることが可能で、利便性の高い一体型空気調和機を提供する。
【解決手段】吸気口25および排気口24にそれぞれ吸気ダクト26及び排気ダクト7が装着可能とされ、制御装置は、吸気ダクト26又は排気ダクト7の装着の有無により、凝縮器3の排熱が排気ダクト7により屋外に排気されているか否かを判断し、凝縮器3の排熱が屋外に排気されていると判断したときには、ドレンパンに溜まったドレン水を凝縮器3に導く送水手段8を冷房運転時及び除湿運転時のいずれにおいても運転させるようにし、凝縮器3の排熱が屋外に排気されていないと判断したときには、冷房運転時に送水手段8を運転させ、除湿運転時に送水手段8の運転を停止するようにしたことを特徴とする。
【選択図】図5

Description

本発明は、室外機を置くことが出来ない部屋などに設置される、キャビネット内に蒸発器及び凝縮器が一体的に収容された一体型空気調和機に関するものである。
一般に、一体型空気調和機は、特許文献1に示すように、キャビネットに冷房室及び排熱室が形成され、冷房室に蒸発器が設置され、冷房室に吸込まれた空気が吹出口から吹出され、排熱室に凝縮器が設置され、排熱室に吸い込まれた空気が排気口から排気される。排気口には排気ダクトの一端が接続され、排気ダクトの他端は窓等に取り付けられ、これにより排熱室の排気は屋外に排出可能とされる。
上記一体型空気調和機は、例えば、外に室外機を設置できず、また腰窓にも置く事が出来ない部屋に用いられるエアコンであり、一般的には、部屋間を移動しやすいように、キャスターが付いている。
蒸発器の下部には蒸発器表面で凝縮する凝縮水を溜めるドレンパンが設置され、ドレンパンに溜まったドレン水を凝縮器に導く送水手段が設けられ、凝縮器に導かれたドレン水は凝縮器表面で蒸発し、排気ダクトを通じて屋外に排気される。
前述のごとく、上記構成の空気調和機は、移動が容易であることから、窓等に取り付けられた排気ダクトを外して各部屋に移動して除湿運転を行うことができる。また、窓等から排気ダクトを外して、スポットクーラーとして使用することもできる。
特開2006−234251号公報
しかしながら、上記構成の空気調和機において、窓から排気ダクトを外して除湿運転を行う場合、送水手段を運転させると、排気口から加湿空気を排出することになり、室内を除湿することができない。
一方、上記空気調和機においては、排気ダクトを窓等に取り付けた状態で除湿運転又は冷房運転を行うことも可能である。この場合には、除湿運転又は冷房運転中に送水手段を運転させても、凝縮器で蒸発した水分は排気ダクトを通って屋外に排出される。
そこで、本発明は、空気調和機の使用態様に応じて送水手段の運転を適切に制御することにより、利便性の高い一体型空気調和機を提供することを目的とする。
上記目的を達成するため、本発明では、キャビネットに内装された圧縮機、蒸発器及び凝縮器と、前記蒸発器で発生したドレン水を溜めるドレンパンと、該ドレンパンに溜まったドレン水を前記凝縮器に導く送水手段とを備えた一体型空気調和機であって、前記送水手段の運転を制御する制御装置が設けられ、前記キャビネットに前記凝縮器を冷却する空気を吸排気するための吸気口及び排気口が形成され、前記吸気口及び排気口にそれぞれ吸気ダクト及び排気ダクトが装着可能とされ、前記制御装置は、前記吸気ダクト又は排気ダクトの装着の有無により、凝縮器の排熱が排気ダクトにより屋外に排気されているか否かを判断し、凝縮器の排熱が屋外に排気されていると判断したときには、冷房運転時及び除湿運転時のいずれにおいても送水手段を運転させるようにし、凝縮器の排熱が屋外に排気されていないと判断したときには、冷房運転時に送水手段を運転させ、除湿運転時に送水手段の運転を停止するようにしたことを特徴とする。
上記構成によれば、除湿運転時においては、凝縮器の排熱が屋外に排気されていないと判断したときは、送水手段の運転を停止してドレン水をドレンパンに溜めるようにし、凝縮器の排熱が屋外に排気されていると判断したときには、除湿運転時においても送水手段を運転させるようにすることで、空気調和機の使用態様に応じた、利便性の高い一体型空気調和機を得ることが可能となる。
制御装置が、吸気ダクト又は排気ダクトの装着の有無により、凝縮器の排熱が排気ダクトにより屋外に排気されているか否かを判断するには、吸気ダクトが吸気口に装着されたことを検知する吸気ダクト装着検知手段を設け、この吸気ダクト装着検知手段による装着検知信号が制御装置に入力されているときに、凝縮器の排熱が排気ダクトにより屋外に排気されていると判断し、吸気ダクト装着検知手段による装着検知信号が入力されていないときは、凝縮器の排熱が排気ダクトにより屋外に排気されていないと判断するようにすることが可能である。
すなわち、一体型空気調和機の排気口に排気ダクトを接続する方式には、シングルダクト方式とダブルダクト方式の2タイプある。シングルダクト方式は、凝縮器から室外に排気する排気ダクトが1本、主に窓を通じて室外に排気されるタイプである。そのため、吸気は室内の部屋の空気が用いられる。
ダブルダクト方式は、吸気ダクトを通じて室外の空気を吸気し、凝縮器で熱交換を行った後、排気ダクトを通じて室外に排気されるように、吸気ダクト、排気ダクトの2本が主に窓を通じて給排気される方式である。こうすれば、理論上は室内の冷えた空気を室外に出さないので熱交換効率が上がる。
以上より、吸気口に吸気ダクトが装着されるのは、ダブルダクト方式を採用する場合であって、この場合、排気ダクトが排気口に装着され、排熱室の排気が屋外に排出されることが前提となる。従って、吸気ダクトが吸気口に装着されたことを検知することで、凝縮器の排熱がダブルダクト方式により屋外に排気されていると判断することが可能となる。
なお、上述のように、吸気口に吸気ダクトが装着されたことを検知することで排気ダクトが排気口に装着されていることを判断する方法は、特に一体型空気調和機として、常時、排気口に排気ダクトが装着されているような場合に有効である。
さらに、上記構成に加えて、蒸発器の温度と、室内温度を測定する温度センサをそれぞれ設け、制御装置は、吸気ダクト装着検知手段による装着検知信号が入力されている間であっても、両温度センサによって検知された温度の差が所定値よりも大きいと判断したときは、送水手段の運転を行わないようにすることもできる。
すなわち、ダブルダクト方式を採用する場合、冷凍サイクルの冷房能力が一定であるために、室内温度と蒸発器の温度の差から外気温が推定できる(外気温が低いほど、室内熱交は低くなる)。したがって、冬場の寒い時期に誤って冷房運転開始ボタンを押した場合や、寒い時期に除湿運転を行う必要のある場合などにおいて、両温度センサで検知した温度の差が所定値以上開いたときに外気温が0℃程度であることを推定することが可能となる。
これにより、室内温度と蒸発器の温度の差が所定値よりも大きいときに、送水手段の運転を行わないようにすることにより、ドレン水が凍結する条件下で送水手段を運転させて破損する危険性を未然に回避することができ、より利便性の高い空気調和機を提供することができる。
上記構成の空気調和機において、制御装置は、冷房運転モード及び除湿運転モードのほかに、前記圧縮機の運転を停止した状態で、前記吸気口から空気を吸い込んで排気口から排気する排気ファンのみを稼働させる換気運転モード又は室内ファンのみを運転する送風運転モードのいずれかの運転モードを選択実行可能とされ、前記吸気ダクト装着検知手段の検知信号が入力されている間は、換気運転モードの実行を制限し、冷房運転モード、除湿運転モード又は送風運転モードのいずれかを実行可能にすることも可能である。
すなわち、ダブルダクト方式採用時には、外気をキャビネット内に取り入れて凝縮器を冷却するため、シングルダクト方式採用時のように、圧縮機の運転を停止した状態で、排気ファンのみを稼働させる換気運転モードを実行しても、屋内空気を屋外に排出することによる換気は行われない。よって、上記構成によれば、ダブルダクト方式採用時においては、換気運転モードの実行を制限することで無駄な運転モードを実行することを回避することができ、利便性の高い空気調和機を得ることができる。
また、制御装置が、吸気ダクト又は排気ダクトの装着の有無により、凝縮器の排熱が排気ダクトにより屋外に排気されているか否かを判断するために、排気ダクトが排気口に装着されたことを検知する排気ダクト装着検知手段を設け、制御装置は、前記排気ダクト装着検知手段による装着検知信号が入力されているときに凝縮器の排熱が排気ダクトにより屋外に排気されていると判断し、前記排気ダクト装着検知手段による装着検知信号が入力されていないときは、凝縮器の排熱が排気ダクトにより屋外に排気されていないと判断するようにすることが可能である。
すなわち、製品の態様として、一体型空気調和機の排気口に最初から排気ダクトが装着されておらず、凝縮器の排熱を屋外に排気するときに排気ダクトを排気口に装着するような場合、排気ダクトが排気口に装着されたことを直接検知する方法を採用することで、シングルダクト方式又はダブルダクト方式のいずれかの方式が採用されていることを検知することが可能となる。
なお、排気ダクト装着検知手段に加えて、吸気ダクト装着検知手段を設けることも可能である。この場合、制御装置は、まず、吸気ダクト装着検知手段による装着検知信号の入力の有無によりダブルダクト方式が採用されているか否かを判断する。ダブルダクト方式が採用されていないと判断した場合には、排気ダクト装着検知手段による装着検知信号の入力の有無を確認し、当該信号の入力がある場合には、シングルダクト方式が採用されていると判断し、当該信号の入力がない場合は、凝縮器の排熱が排気ダクトにより屋外に排気されていないと判断する。これにより、シングルダクト方式とダブルダクト方式を区別することが可能となる。
制御装置は、シングルダクト方式が採用されていると判断した場合には、蒸発器の温度と室内温度の温度差による送水手段の制御や、換気運転モードの実行の制限は行わない。これにより、より利便性の高い空気調和機を得ることができる。
以上のように、本発明によれば、吸気ダクト又は排気ダクトの装着の有無により、凝縮器の排熱が排気ダクトにより屋外に排気されているか否かを判断し、凝縮器の排熱が屋外に排気されていると判断したときには、冷房運転時及び除湿運転時のいずれにおいても送水手段を運転させるようにし、凝縮器の排熱が屋外に排気されていないと判断したときには、冷房運転時に送水手段を運転させ、除湿運転時に送水手段の運転を停止するようにしたため、空気調和機の使用態様に応じた、利便性の高い一体型空気調和機を得ることが可能となる。
[第一実施形態]
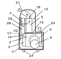
本発明の第一実施形態を図面を基に説明する。本発明に係る一体型空気調和機は、図1〜図4に示すように、キャビネット1に圧縮機2、凝縮器3、蒸発器4および絞り機構(図示せず)が内装され、これらによって冷凍サイクルが形成される。そして、空気調和機は、冷風を発生させて、室内を冷房する冷房運転を行う。そのため、空気調和機は、蒸発器4に対する送風ファン5と、凝縮器3に対する排気ファン6と、冷房運転によって発生したドレン水を溜めるドレンパン41と、ドレンパン41に溜まった水を凝縮器3に導く送水手段としてのスプラッシャー8とを備えている。
キャビネット1は、図1、2に示すように、前面パネル10、左右一対の側板11、背板12によって囲まれた構造とされる。そして、キャビネット1は、上側の冷房室13と下側の排熱室14とに区画されている。冷房室13と排熱室14とは、仕切り板15によって仕切られている。
冷房室13には、蒸発器4及び送風ファン5が収容され、排熱室14には、圧縮機2、凝縮器3、排気ファン6、スプラッシャー8が収容されている。冷房室13では、前側に蒸発器4が配置され、背面側にシロッコファンからなる送風ファン5が配置されている。
前面パネル10に、前面吸込口20と吹出口21とが形成されている。また、前面パネル10と側板11との間に、側面吸込口22が形成されている。吹出口21は、前面パネル10の上部に位置し、水平方向から斜め上方向に向かって開口している。吹出口21には、ルーバ23が設けられ、ルーバ23はモータによって揺動される。
吹出口21は冷房室13に連通しており、前面吸込口20および側面吸込口22から蒸発器4を経て吹出口21に至る通風路18が形成される。これによって、キャビネット1の前面からの吸い込みおよび前方への吹き出しを実現できる。なお、通風路18において、蒸発器4の上流側にはフィルタ17が着脱可能に装着されている。
排熱室14は、冷房室13よりも背面側に突出しており、排熱室14の上面の左右に吸気口25及び排気口24が形成されている。排熱室14では、吸気口25から凝縮器3を経て排気口24に至る通風路19が形成される。排熱室14では、通風路19を横断するように凝縮器3が配置され、凝縮器3の下流側にシロッコファンからなる排気ファン6と、圧縮機2とが配置され、凝縮器3の上流側にスプラッシャー8が配置されている。凝縮器3は、蒸発器4の下方に位置し、蒸発器4と凝縮器3とは交差する向きに設置される。
排気口24には、蛇腹状かつ伸縮自在な排気ダクト7の一端が取り付けられている。そして、排気ダクト7の他端を窓等の開口部に取り付けることにより、排熱室14が排気ダクト7を介して室外と連通する。吸気口25には、吸気ダクト26の一端が着脱自在とされており、他端は排気ダクト7と同様に窓等の開口部に取り付け可能とされている。
したがって、吸気ダクト26の一端を吸気口25に装着し、吸気ダクト26の他端及び排気ダクト7の他端を窓等の開口部に取り付けることにより、排熱室14に対してダブルダクト方式にて給排気を行うことができる。また、排気ダクト7の他端を窓等の開口部に取り付け、吸気口25に吸気ダクト26を装着しない場合には、シングルダクト方式にて給排気を行うことができる。
ところで、蒸発器4では、室内空気の熱交換を行うとき、空気中の水分が結露して、ドレン水が発生する。蒸発器4の下方の排熱室内には、前述のごとく、ドレン水を受けるドレンパン41が設けられる。なお、蒸発器4とドレンパン41との間は仕切り板15で仕切られているが、蒸発器4の下方から仕切り板15を貫通してドレンパン41に至る導水路(図示せず)が設けられており、これによりドレン水は導水路を流下してドレンパン41に溜められる。
ドレンパン41に溜まったドレン水は、送水手段であるスプラッシャー8により、凝縮器にかけられる。スプラッシャー8は、スリンガリング付きのファンからなり、これを回転させることでドレン水がかき上げられて凝縮器3に散水される。なお、送水手段としては、スプラッシャー8に限定されず、ドレン水をポンプで吸い上げて凝縮器の上部に散水するようにしてもよい。
ドレンパン41には、ドレンパンの水位を検知する水位センサ(図示せず)が設けられている。水位センサは、低水位(Lo)、中水位(Mid)及び満水位(Hi)の3段階で水位を検知可能とされている。
ドレン水は、凝縮器3を通過するときに、凝縮器3を冷却しながら蒸発する。凝縮器3は、ドレンパン41の上方に配され、蒸発器で蒸発しきれなかったドレン水は凝縮器3を伝って流れ、再びドレンパン41に溜まる。このように、ドレン水を循環させることによって、外部に排水することなく、内部において排水処理ができるとともに、水が蒸発する際の気化熱を利用して効率よく凝縮器3の熱交換を行なうことが可能となる。ドレン水は、水蒸気となって排気口24から排出される。
キャビネット1の底面には、車輪47が取り付けられている。したがって、本空気調和機は移動可能とされ、排気ダクト7の他端を窓等から外し、収縮させた状態で排気口24に付けたままキャビネット1と一体となって室内で移動させることができる。さらに、吸気ダクト26を外すことにより、空気調和機を他の室内に持ち運ぶことができ、任意の場所で使用することができる。
吸気口25には、吸気ダクト26が吸気口に装着されたことを検知する吸気ダクト装着検知手段27が設けられている。吸気ダクト装着検知手段27はマイクロスイッチからなり、吸気ダクト26を吸気口25に装着することによってスイッチがONされ、装着検知信号を出力するようになっている。なお、吸気ダクト装着検知手段27は、吸気ダクト26が吸気口25に装着されたことを検知するものであれば、スイッチ以外のものを使用してもよい。
上記吸気ダクト装着検知手段27の装着検知信号は、制御装置に入力される。制御装置は、マイコンからなり、圧縮機2、送風ファン5、排気ファン6、スプラッシャー8を駆動制御する。制御装置は、キャビネット1に内装され、図示しないリモコンあるいはキャビネットに設けられた操作スイッチからの操作信号、あるいは水位センサの水位検知信号に応じて、冷房運転、除湿運転、換気運転といった各種運転を実行制御する。また、前面パネル10に、LED等からなる表示器50が設けられており、制御装置は、各種運転に応じて表示器50の点灯を制御したり、ドレン水が満水になったときの警告として表示器50の点灯あるいは点滅といった制御を行う。
本実施形態の空気調和機において、冷房運転では、室内空気が、送風ファン5の駆動によって前面吸込口20および側面吸込口22から吸い込まれ、フィルタ17、蒸発器4の順に通り抜ける。このとき、吸い込まれた空気は、蒸発器4によって冷却され、冷風となる。冷風は、吹出口21から室内に吹き出される。
一方、排気ファン6の駆動によって、凝縮器3を冷却するための空気が、吸気口25から吸い込まれ、凝縮器3によって暖められ、温風となった後、排気口24からキャビネット1の外部に排出される。
除湿運転では、冷房運転と同様に、圧縮機2、送風ファン5、排気ファン6、スプラッシャー8が駆動制御される。ただし、送水手段であるスプラッシャー8は、後述する制御装置において排気口24に排気ダクト7が装着されているか否かを判断し、排気ダクト7が排気口24に装着されていると判断したときは、スプラッシャー8を運転させ、排気ダクト7が排気口24に装着されていないと判断したときは、スプラッシャー8を運転させない。これによって、ドレン水が蒸発して発生する水蒸気が室内に排出されるのを防止する。
換気運転では、圧縮機2、送風ファン5およびスプラッシャー8は停止し、排気ファン6のみが駆動される。吸気口25から取り入れられた空気は、排熱室14から排気ダクト7を経て室外に排出される。このとき、吸気口25には吸気ダクト26は装着されていないことが必要とされる。これにより、室内から室外へ空気が排出される分だけ室外の空気が室内に入り込み、室内の換気が行われる。
送風運転モードでは、圧縮機2、排気ファン6およびスプラッシャー8は停止し、送風ファン5のみが駆動される。これにより、室内の空気を循環させることができる。
送水手段であるスプラッシャー8は、冷房運転中又は排気ダクト7が排気口24に装着されている状態での除湿運転中においては、常時運転させておいてもよいし、凝縮器が加熱されるのは圧縮機が運転している間であることから、圧縮機に同期して送水手段を運転させるようにすればより効率よく水分を蒸発させることが可能であるとともに、送水手段の運転に伴う騒音の発生時間を少なくすることができる。
次に、本実施形態に係る一体型空気調和機の制御装置が行う運転制御について図5のフローチャート図を基に説明する。まず、リモコン又は操作スイッチの操作により、空気調和機の運転開始ボタンがONされ、運転モードとして冷房運転又は除湿運転を選択すると(ステップS10)、制御装置は、吸気ダクト装着検知手段27の装着検知信号が入力されているか否かを判断する(S20)。
装着検知信号が入力されている場合、制御装置は、ダブルダクト方式が採用されていると判断し、S30に進んでドレンパン41の水位を測定する。水位センサの水位がLo未満である場合は、ドレンパンにドレン水が溜まっていないと判断し、スプラッシャー8を停止させた状態でS20に戻る。
水位センサの水位がLo以上であればスプラッシャー8を通常回転数で運転させ(S40)、水位センサの水位がMid以上であれば(S50)、スプラッシャー8を高速回転で運転させ、凝縮器3でのドレン水の蒸発量を増加させる。水位センサの水位がLo以上でMid未満のときは、スプラッシャー8を通常回転で運転させた状態でS20に戻る。その後、ドレン水が蒸発によって減り、ドレンパン41の水位がLo未満になったときは、S30においてスプラッシャー8を停止させた状態でS20に戻る。
水位センサの水位がMid以上で、Hi未満のときは、スプラッシャー8を高速回転で運転させたまま、S20に戻る。水位センサの水位がHiに達したときは、空気調和機の運転を停止し、表示器50において満水表示を行い、ユーザーにドレン水抜きを促す。
一方、S20において、制御装置に装着検知信号が入力されていないときは、排気ダクトを使用せずに、排熱室14の排熱が排気口24から直接キャビネットの外部に排出されているものと判断し、S110に進む。このように判断することで、排気ダクト7の装着を検知する検知手段を備えていない本実施形態において、排気ダクト7が装着されていないにもかかわらず、誤って排気ダクト7が装着されている場合の制御を行ってしまうことにより生じる不具合を回避することができる。
S110では、運転モードが冷房運転モードであるのか除湿運転モードであるのかを判断し、冷房運転モードであると判断したときは、S30に進む。運転モードが除湿運転モードであると判断したときは、スプラッシャー8は停止したまま(S120)、S70に進み、水位センサの水位がHiであるか否かを判断する。水位センサの水位がHi未満であるときは、S20に戻り、水位がHiに達したときは、空気調和機の運転を停止し、表示器50において満水表示を行う。
また、図6に示すように、S20において、制御装置に装着検知信号が入力されている場合、すなわち、ダブルダクト方式が採用されていると制御装置が判断した場合は、選択できる運転モードを冷房運転モードと、除湿運転モードと、送風運転モードとに制限し、換気運転モードへの運転切換え操作がなされたときに、かかる操作を無効とする。言い換えれば、冷房運転と除湿運転と送風運転は行うことができるが、換気運転を行うことはできない。
一方、S20において、制御装置に装着検知信号が入力されていない場合には、制御装置は、換気運転モードへの切換え操作を有効とし、冷房運転モード、除湿運転モード、送風運転モード及び換気運転モードのいずれも選択できるようにする。言い換えれば、冷房運転、除湿運転、送風運転、換気運転を行うことができる。
以上のように、制御装置は、吸気ダクト装着検知手段27の装着検知信号が入力されているか否かを判断し、装着検知信号が入力されている場合、ダブルダクト方式が採用されていると判断し、冷房運転時のみならず、除湿運転時においてもスプラッシャー8を動作させる。したがって、除湿運転時においても、ドレン水を凝縮器3にて蒸発させることができるので、除湿運転時に必ずスプラッシャー8を停止させていた場合に比べ、ドレンパンに溜まった水を捨てる頻度を少なくすることができる。また、吸気ダクト装着検知手段27の装着検知信号が入力されていない場合は、スプラッシャー8を動作させずに、ドレンパンにドレン水を溜める運転を行うことができる。このように、空気調和機の使用態様に応じて、制御装置が、送水装置を自動的に適切に制御することにより、利便性の高い一体型空気調和機を実現することができる。
[第二実施形態]
本発明の第二実施形態を図7を基に説明する。本実施形態では、ダブルダクト方式によって排熱室の給排気を行う場合、制御装置が、温度センサによって測定された蒸発器の温度と、室内温度の温度差を検知し、この温度差が所定値よりも大きくなったときに、送水手段であるスプラッシャー8の運転を停止することが特徴とされ、その他の構成は第一実施形態と同じとされている。
具体的に、空気調和機には、冷房室13の通風路18において、フィルタ17と蒸発器4の間に、吸い込まれた空気の温度を測定する温度センサ28が設けられ、また、蒸発器4の表面温度を測定する温度センサ29が設置されている。温度センサ28及び29の検知信号は制御装置に入力される。
制御装置は、S20で吸気ダクト装着検知手段27の装着検知信号が入力されているか否かを判断し、装着検知信号が入力されている場合は、S30に進む前に、S21において両温度センサ28及び29から得られた温度の差を算出し、この温度差が所定値未満であるときは、S30に進む。なお、S21における温度センサの温度の読み取りは、冷凍サイクルが安定する運転開始から所定時間経過後(本実施形態では3分後)に行う。
一方、温度差が所定値(外気温度が0℃未満であると判断できる温度差を予め実験、シミュレーション等を行って算出し、これを所定値とすることが望ましい。)以上である場合には、吸気口25から吸い込まれる外気の温度が0℃よりも低く、ドレン水が凍結するおそれがあることから、送水手段であるスプラッシャー8の運転を行わないようにする(S120)。その他の運転制御については図6と同様とされる。
[第三実施形態]
本発明の第二実施形態を図8及び図9を基に説明する。本実施形態では、通常の状態で排気ダクト7が排気口24から外れた状態とされ、必要に応じて排気ダクト7を排気口24に装着するようになっており、排気ダクト7が排気口24に装着されたことを検知する排気ダクト装着検知手段が設けられ、制御装置においてダブルダクト方式とシングルダクト方式とを区別可能とした点が特徴とされ、その他の構成は第二実施形態と同じとされている。
具体的に、本実施形態の空気調和機は、図8に示すように、排気ダクト7が排気口24から外れた状態とされ、排気口24には排気ダクト7が排気口24に装着されたことを検知する排気ダクト装着検知手段30が設けられている。排気ダクト装着検知手段30は、マイクロスイッチからなり、排気ダクト7を排気口24に装着することによってスイッチがONされ、装着検知信号を出力するようになっている。なお、排気ダクト装着検知手段30は、排気ダクト7が排気口24に装着されたことを検知するものであれば、スイッチ以外のものを使用してもよい。
制御装置は、図9に示すように、S20で吸気ダクト装着検知手段27の装着検知信号が入力されているか否かを判断し、装着検知信号が入力されていない場合は、S110に進む前に、S100において排気ダクト装着検知手段30の装着検知信号が入力されているか否かを判断し、当該検知信号が入力されている場合は、シングルダクト方式が採用されていると判断してS21を迂回してS30に進み、当該検知信号が入力されていない場合は、排気ダクト7が排気口24に装着されていないと判断してS110に進む。その他の運転制御については図7と同様とされている。
以上のように、本実施形態においては、ダブルダクト方式とシングルダクト方式とを区別し、シングルダクト方式が採用されていると判断した場合は、吸気口25から室内空気が吸い込まれる。ドレン水が凍りつくほど室内が寒いことは稀であることから、S21における蒸発器の温度と室内温度の温度差による送水手段の制御や、換気運転モードの実行の制限は行わない。
本実施形態では、排気ダクト装着検知手段30と、吸気ダクト装着検知手段27とを併用した場合について説明したが、これに限らず、排気ダクト装着検知手段30のみを使用することも可能である。
具体的には、図10に示すように、図9におけるS21を削除し、また、S20の代わりに、S10実行後、S100において排気ダクト装着検知手段30の装着検知信号が入力されているか否かを判断し、当該検知信号が入力されている場合は、シングルダクト方式又はダブルダクト方式が採用されていると判断してS30に進む。一方、当該検知信号が入力されていない場合は、排気ダクト7が排気口24に装着されていないと判断してS110に進む。その他の運転制御については図9と同様とされている。これにより、吸気ダクト装着検知手段27を用いない簡易な構成としつつ、排気ダクト7の使用の有無を確実に判断することが可能となる。
なお、本発明は、上記実施形態に限定されるものではなく、本発明の範囲内で上記実施形態に多くの修正及び変更を加え得ることは勿論である。
本発明の第一実施形態に係る空気調和機を示す側面概略図 上記空気調和機を示す斜視図 上記空気調和機を示す側面断面図 上記空気調和機を示す背面断面図 本発明の第一実施形態における制御装置の制御を示すフローチャート図 第一実施形態における換気運転の制御に関するフローチャート図 本発明の第二実施形態における制御装置の制御を示すフローチャート図 本発明の第三実施形態に係る空気調和機を示す斜視図 本発明の第三実施形態における制御装置の制御を示すフローチャート図 第三実施形態における制御装置の別の制御態様を示すフローチャート図
符号の説明
1 キャビネット
2 圧縮機
3 凝縮器
4 蒸発器
5 送風ファン
6 排気ファン
7 排気ダクト
8 スプラッシャー
10 前面パネル
11 側板
12 背板
13 冷房室
14 排熱室
15 仕切り板
17 フィルタ
18,19 通風路
20 前面吸込口
21 吹出口
22 側面吸込口
23 ルーバ
24 排気口
25 吸気口
26 吸気ダクト
27 吸気ダクト装着検知手段
28,29 温度センサ
30 排気ダクト装着検知手段
41 ドレンパン
47 車輪
50 表示器

Claims (5)

  1. キャビネットに内装された圧縮機、蒸発器及び凝縮器と、前記蒸発器で発生したドレン水を溜めるドレンパンと、該ドレンパンに溜まったドレン水を前記凝縮器に導く送水手段とを備えた一体型空気調和機であって、前記送水手段の運転を制御する制御装置が設けられ、前記キャビネットに前記凝縮器を冷却する空気を吸排気するための吸気口及び排気口が形成され、前記吸気口及び排気口にそれぞれ吸気ダクト及び排気ダクトが装着可能とされ、前記制御装置は、前記吸気ダクト又は排気ダクトの装着の有無により、凝縮器の排熱が排気ダクトにより屋外に排気されているか否かを判断し、凝縮器の排熱が屋外に排気されていると判断したときには、冷房運転時及び除湿運転時のいずれにおいても送水手段を運転させるようにし、凝縮器の排熱が屋外に排気されていないと判断したときには、冷房運転時に送水手段を運転させ、除湿運転時に送水手段の運転を停止するようにしたことを特徴とする一体型空気調和機。
  2. 前記吸気ダクトが吸気口に装着されたことを検知する吸気ダクト装着検知手段が設けられ、前記制御装置は、前記吸気ダクト装着検知手段による装着検知信号が入力されているときに凝縮器の排熱が排気ダクトにより屋外に排気されていると判断し、前記吸気ダクト装着検知手段による装着検知信号が入力されていないときは、凝縮器の排熱が排気ダクトにより屋外に排気されていないと判断することを特徴とする請求項1記載の一体型空気調和機。
  3. 前記蒸発器の温度と、室内温度を測定する温度センサがそれぞれ設けられ、前記制御装置は、前記吸気ダクト装着検知手段による装着検知信号が入力されている間に、前記両温度センサによって検知された温度の差が所定値よりも大きいと判断したときは、送水手段の運転を行わないようにしたことを特徴とする請求項2記載の一体型空気調和機。
  4. 前記制御装置は、冷房運転モード及び除湿運転モードのほかに、前記圧縮機の運転を停止した状態で、前記吸気口から空気を吸い込んで排気口から排気する排気ファンのみを稼働させる換気運転モード又は室内ファンのみを運転する送風運転モードのいずれかの運転モードを選択実行可能とされ、前記吸気ダクト装着検知手段の検知信号が入力されている間は、換気運転モードの実行を制限し、冷房運転モード、除湿運転モード又は送風運転モードのいずれかを実行可能にすることを特徴とする請求項2又は3記載の一体型空気調和機。
  5. 前記排気ダクトが排気口に装着されたことを検知する排気ダクト装着検知手段が設けられ、前記制御装置は、前記排気ダクト装着検知手段による装着検知信号が入力されているときに凝縮器の排熱が排気ダクトにより屋外に排気されていると判断し、前記排気ダクト装着検知手段による装着検知信号が入力されていないときは、凝縮器の排熱が排気ダクトにより屋外に排気されていないと判断することを特徴とする請求項1〜4のいずれかに記載の一体型空気調和機。
JP2008219090A 2008-08-28 2008-08-28 一体型空気調和機 Expired - Fee Related JP4676520B2 (ja)

Priority Applications (3)

Application Number Priority Date Filing Date Title
JP2008219090A JP4676520B2 (ja) 2008-08-28 2008-08-28 一体型空気調和機
CN2009101431263A CN101660814B (zh) 2008-08-28 2009-05-14 一体型空调机
US12/508,315 US8584481B2 (en) 2008-08-28 2009-07-23 Integrated air conditioner

Applications Claiming Priority (1)

Application Number Priority Date Filing Date Title
JP2008219090A JP4676520B2 (ja) 2008-08-28 2008-08-28 一体型空気調和機

Publications (2)

Publication Number Publication Date
JP2010054111A true JP2010054111A (ja) 2010-03-11
JP4676520B2 JP4676520B2 (ja) 2011-04-27

Family

ID=41723343

Family Applications (1)

Application Number Title Priority Date Filing Date
JP2008219090A Expired - Fee Related JP4676520B2 (ja) 2008-08-28 2008-08-28 一体型空気調和機

Country Status (3)

Country Link
US (1) US8584481B2 (ja)
JP (1) JP4676520B2 (ja)
CN (1) CN101660814B (ja)

Cited By (7)

* Cited by examiner, † Cited by third party
Publication number Priority date Publication date Assignee Title
WO2012073719A1 (ja) * 2010-12-01 2012-06-07 シャープ株式会社 熱交換器及びそれを搭載した一体型空気調和機
JP2014059100A (ja) * 2012-09-18 2014-04-03 Sharp Corp 冷蔵庫
JP2016117021A (ja) * 2014-12-22 2016-06-30 パナソニックIpマネジメント株式会社 除湿装置
WO2019198174A1 (ja) * 2018-04-11 2019-10-17 三菱電機株式会社 空気調和装置
JP2020085420A (ja) * 2018-11-30 2020-06-04 シャープ株式会社 空気調和機
JP2023070881A (ja) * 2021-11-10 2023-05-22 富士電機株式会社 冷却装置
JP2023100157A (ja) * 2022-01-05 2023-07-18 株式会社ナカトミ ドレン水蒸発機構

Families Citing this family (19)

* Cited by examiner, † Cited by third party
Publication number Priority date Publication date Assignee Title
TWI557377B (zh) * 2014-06-04 2016-11-11 Qing-Ke Zhang Portable DC air conditioner
US20170167737A1 (en) * 2014-06-05 2017-06-15 Samsung Electronics Co., Ltd Integrated air conditioner
CN104807080B (zh) * 2014-08-29 2017-08-01 青岛海尔空调器有限总公司 一种壁挂式空调器室内机
EP3051215B1 (en) * 2014-08-29 2018-07-18 Qingdao Haier Air Conditioner Gen Corp., Ltd. Wall-mounted air conditioner indoor unit
CN104807079B (zh) * 2014-08-29 2018-04-27 青岛海尔空调器有限总公司 一种壁挂式空调器
CN108534334A (zh) * 2017-03-02 2018-09-14 高耀宗 环保节能的移动式冷气机的循环装置
CN107101286B (zh) * 2017-06-01 2022-09-30 广东申菱环境系统股份有限公司 一种蒸发冷却除湿空调机组及其控制方法
CN108592228B (zh) * 2018-04-26 2020-11-06 奥克斯空调股份有限公司 水满保护的控制方法、控制装置、移动空调器及除湿机
JP7194579B2 (ja) * 2018-12-14 2022-12-22 シャープ株式会社 サイクル機器
US11009240B2 (en) * 2019-04-01 2021-05-18 Shenzhen Keku Technology Co., Ltd. Air conditioner
CN111713786B (zh) * 2020-07-07 2022-02-15 河南亚都实业有限公司 便携式医疗防护服
CN112393501B (zh) * 2020-11-19 2021-11-16 珠海格力电器股份有限公司 冰箱、冰箱的控制方法、计算机可读存储介质和处理器
CN113531873A (zh) * 2021-06-30 2021-10-22 青岛海尔空调器有限总公司 用于一体式空调器的排水装置及其控制方法
CN114234518A (zh) * 2021-12-17 2022-03-25 广东富信科技股份有限公司 一种半导体制冷恒温、抽真空的米柜及其冷藏控制方法
CN114289427A (zh) * 2021-12-27 2022-04-08 刘倩 一种生物培养箱用清洗设备
CN115899942B (zh) * 2022-11-23 2024-07-26 宁波奥克斯电气股份有限公司 空调防吹水控制方法、控制装置及空调器
CN116951587B (zh) * 2022-11-28 2026-01-20 海信(广东)空调有限公司 一种移动式空调器
CN115899961B (zh) * 2022-11-28 2025-02-25 海信(广东)空调有限公司 一种移动式空调器
WO2024225613A1 (ko) * 2023-04-26 2024-10-31 삼성전자주식회사 공기 조화기 및 이의 제어 방법

Citations (4)

* Cited by examiner, † Cited by third party
Publication number Priority date Publication date Assignee Title
JPH0542933U (ja) * 1991-11-12 1993-06-11 シヤープ株式会社 冷風機
JPH05203188A (ja) * 1992-01-29 1993-08-10 Sanyo Electric Co Ltd 空気調和機
JP2006234289A (ja) * 2005-02-25 2006-09-07 Sharp Corp 一体型空気調和機
JP2007155198A (ja) * 2005-12-05 2007-06-21 Sharp Corp 一体型空気調和機

Family Cites Families (5)

* Cited by examiner, † Cited by third party
Publication number Priority date Publication date Assignee Title
JP2703678B2 (ja) * 1991-07-31 1998-01-26 サン・アルミニウム工業株式会社 家庭用アルミ箔の化粧箱とその製造方法
KR100487381B1 (ko) * 2002-12-26 2005-05-03 엘지전자 주식회사 환기겸용 공기조화시스템
DE10315524A1 (de) * 2003-04-04 2004-10-14 BSH Bosch und Siemens Hausgeräte GmbH Kältegerät und Betriebsverfahren dafür
JP2006234251A (ja) * 2005-02-24 2006-09-07 Sharp Corp 一体型空気調和機
US7752863B2 (en) * 2006-07-03 2010-07-13 Lg Electronics Inc. Air conditioner

Patent Citations (4)

* Cited by examiner, † Cited by third party
Publication number Priority date Publication date Assignee Title
JPH0542933U (ja) * 1991-11-12 1993-06-11 シヤープ株式会社 冷風機
JPH05203188A (ja) * 1992-01-29 1993-08-10 Sanyo Electric Co Ltd 空気調和機
JP2006234289A (ja) * 2005-02-25 2006-09-07 Sharp Corp 一体型空気調和機
JP2007155198A (ja) * 2005-12-05 2007-06-21 Sharp Corp 一体型空気調和機

Cited By (11)

* Cited by examiner, † Cited by third party
Publication number Priority date Publication date Assignee Title
WO2012073719A1 (ja) * 2010-12-01 2012-06-07 シャープ株式会社 熱交換器及びそれを搭載した一体型空気調和機
JP2012117751A (ja) * 2010-12-01 2012-06-21 Sharp Corp 熱交換器及びそれを搭載した一体型空気調和機
JP2014059100A (ja) * 2012-09-18 2014-04-03 Sharp Corp 冷蔵庫
JP2016117021A (ja) * 2014-12-22 2016-06-30 パナソニックIpマネジメント株式会社 除湿装置
WO2019198174A1 (ja) * 2018-04-11 2019-10-17 三菱電機株式会社 空気調和装置
JPWO2019198174A1 (ja) * 2018-04-11 2021-02-12 三菱電機株式会社 空気調和装置
JP2020085420A (ja) * 2018-11-30 2020-06-04 シャープ株式会社 空気調和機
JP7242271B2 (ja) 2018-11-30 2023-03-20 シャープ株式会社 空気調和機
JP2023070881A (ja) * 2021-11-10 2023-05-22 富士電機株式会社 冷却装置
JP2023100157A (ja) * 2022-01-05 2023-07-18 株式会社ナカトミ ドレン水蒸発機構
JP7371959B2 (ja) 2022-01-05 2023-10-31 株式会社ナカトミ ドレン水蒸発機構

Also Published As

Publication number Publication date
US8584481B2 (en) 2013-11-19
CN101660814A (zh) 2010-03-03
CN101660814B (zh) 2012-05-23
US20100050682A1 (en) 2010-03-04
JP4676520B2 (ja) 2011-04-27

Similar Documents

Publication Publication Date Title
JP4676520B2 (ja) 一体型空気調和機
US8159170B2 (en) Integral type air conditioner
JP4541923B2 (ja) 一体型空気調和機
JPH0989297A (ja) 除湿機
CN109520025A (zh) 空调一体机
JP2006199247A (ja) 車両用空調装置
JP5122881B2 (ja) 空気調節装置
JP4077251B2 (ja) 除湿機
JP2004085020A (ja) 空気調和機
JP2010032111A (ja) 一体型空気調和機
JP4856015B2 (ja) 空気調節装置
KR100889128B1 (ko) 공기 조화 장치
JP4938536B2 (ja) 空気調和機
JP4460475B2 (ja) 一体型空気調和機
JP4563948B2 (ja) 空気調節装置
JP2007232327A (ja) 空気調節装置
KR100849549B1 (ko) 공기 조화 장치
JPH051839A (ja) 空気調和機の制御装置
JP2006234289A (ja) 一体型空気調和機
JP2004028482A (ja) 除湿機
JP4571520B2 (ja) 空気調和機の制御装置
KR100784844B1 (ko) 에어컨의 응축수 건조장치
KR100885574B1 (ko) 공기 조화 장치
KR20090028855A (ko) 공기 조화 장치
JP3781176B2 (ja) 吸着除湿空調機を用いた店舗の空調システム

Legal Events

Date Code Title Description
A977 Report on retrieval

Free format text: JAPANESE INTERMEDIATE CODE: A971007

Effective date: 20100630

A131 Notification of reasons for refusal

Free format text: JAPANESE INTERMEDIATE CODE: A131

Effective date: 20100713

A131 Notification of reasons for refusal

Free format text: JAPANESE INTERMEDIATE CODE: A131

Effective date: 20101026

A521 Written amendment

Free format text: JAPANESE INTERMEDIATE CODE: A523

Effective date: 20101105

TRDD Decision of grant or rejection written
A01 Written decision to grant a patent or to grant a registration (utility model)

Free format text: JAPANESE INTERMEDIATE CODE: A01

Effective date: 20110105

A01 Written decision to grant a patent or to grant a registration (utility model)

Free format text: JAPANESE INTERMEDIATE CODE: A01

A61 First payment of annual fees (during grant procedure)

Free format text: JAPANESE INTERMEDIATE CODE: A61

Effective date: 20110127

FPAY Renewal fee payment (event date is renewal date of database)

Free format text: PAYMENT UNTIL: 20140204

Year of fee payment: 3

R150 Certificate of patent or registration of utility model

Free format text: JAPANESE INTERMEDIATE CODE: R150

LAPS Cancellation because of no payment of annual fees