JP2010053547A - 木質パネルの取付構造 - Google Patents

木質パネルの取付構造 Download PDF

Info

Publication number
JP2010053547A
JP2010053547A JP2008217578A JP2008217578A JP2010053547A JP 2010053547 A JP2010053547 A JP 2010053547A JP 2008217578 A JP2008217578 A JP 2008217578A JP 2008217578 A JP2008217578 A JP 2008217578A JP 2010053547 A JP2010053547 A JP 2010053547A
Authority
JP
Japan
Prior art keywords
panel
wood panel
wall surface
wood
wooden
Prior art date
Legal status (The legal status is an assumption and is not a legal conclusion. Google has not performed a legal analysis and makes no representation as to the accuracy of the status listed.)
Granted
Application number
JP2008217578A
Other languages
English (en)
Other versions
JP5571299B2 (ja
Inventor
Junichi Hayashi
淳一 林
Current Assignee (The listed assignees may be inaccurate. Google has not performed a legal analysis and makes no representation or warranty as to the accuracy of the list.)
Asahi Woodtec Corp
Original Assignee
Asahi Woodtec Corp
Priority date (The priority date is an assumption and is not a legal conclusion. Google has not performed a legal analysis and makes no representation as to the accuracy of the date listed.)
Filing date
Publication date
Application filed by Asahi Woodtec Corp filed Critical Asahi Woodtec Corp
Priority to JP2008217578A priority Critical patent/JP5571299B2/ja
Publication of JP2010053547A publication Critical patent/JP2010053547A/ja
Application granted granted Critical
Publication of JP5571299B2 publication Critical patent/JP5571299B2/ja
Active legal-status Critical Current
Anticipated expiration legal-status Critical

Links

Images

Landscapes

  • Finishing Walls (AREA)

Abstract

【課題】十分な調湿性能を得る。
【解決手段】本発明は、屋内壁面1に沿って複数の木質パネル2が並べて施工される木質パネルの取付構造を対象とする。木質パネル2が、取付金具を介して屋内壁面1から離間した状態で屋内壁面に支持される。
【選択図】図4

Description

この発明は、一般住宅等の屋内壁面に沿って複数の木質パネルが並べて施工される木質パネルの取付構造に関する。
一般住宅における室内の壁面構造としては、壁面に壁紙を貼り付けたり、木質パネル(化粧パネル)を複数並べて貼り付けたものが周知である。
このうち下記特許文献1に示すように、木質パネルを用いるものは、木材自身が保有する湿度調整機能(調湿機能)によって、快適な居住環境を得ることができる。
特開2001−27033号
しかしながら、上記特許文献1に示す従来の木質パネルの取付構造のように、木質パネルを単に、壁面に貼り付けるだけでは、木質パネルによる十分な調湿性能を得ることは困難である、という問題を抱えている。
この発明は、上記の課題に鑑みてなされたものであり、十分な調湿性能を得ることができる木質パネルの取付構造を提供することを目的とする。
上記目的を達成するため、本発明は以下の構成を要旨とするものである。
[1] 屋内壁面に沿って複数の木質パネルが並べて施工される木質パネルの取付構造であって、
前記木質パネルが、取付金具を介して屋内壁面から離間した状態で屋内壁面に支持されることを特徴とする木質パネルの取付構造。
[2] 前記木質パネルの表面に複数の表面凹部が形成される前項1に記載の木質パネルの取付構造。
[3] 隣り合う木質パネルのうち、一方側の木質パネルが他方側の木質パネルに対して屋内壁面からの離間寸法が異なる状態に配置されて、前記隣り合う木質パネルの対向端面が露出される前項1または2に記載の木質パネルの取付構造。
[4] 前記隣り合う木質パネルの対向端面のうち少なくともいずれか一方に、木口面が配置される前項3に記載の木質パネルの取付構造。
[5] 前記取付金具は、屋内壁面に取り付けられる断面L字状のL型金具と、前記木質パネルの裏面側に取り付けられる掛金具と、を有し、
前記L型金具は、その一側片が、他側片よりも長く形成され、
前記L型金具をその一側片を屋内壁面に沿わせて取り付けて、前記他側片の先端に前記掛金具を掛止して前記木質パネルを支持する第1取付形態と、前記L型金具をその他側片を屋内壁面に沿わせて取り付けて、前記一側片の先端に前記掛金具を掛止して前記木質パネルを支持する第2取付形態と、のいずれの取付形態でも前記木質パネルを支持可能に構成される前項1〜4のいずれか1項に記載の木質パネルの取付構造。
[6] 前記木質パネルを、屋内壁面に取り付けるための結合部材を備え、
前記結合部材は、押込部材と、前記押込部材が押し込まれた際にその押込部材を弾性挟持する挟持部材とを有し、
前記押込部材および前記挟持部材のいずれか一方が屋内壁面に取り付けられるとともに、残り一方が前記木質パネルの裏面側に取り付けられる前項1〜5のいずれか1項に記載の木質パネルの取付構造。
[7] 前記木質パネルの表面に、その表面の木目方向に対し直交する方向に沿って複数の表面溝が形成される前項1〜6のいずれか1項に記載の木質パネルの取付構造。
[8] 前記木質パネルの裏面に複数の裏面凹部が形成される前項1〜7のいずれか1項に記載の木質パネルの取付構造。
[9] 前記木質パネルの裏面に、その裏面の木目方向に対し直交する方向に沿って複数の裏面溝が形成される前項1〜8のいずれか1項に記載の木質パネルの取付構造。
発明[1]の木質パネルの取付構造によれば、木質パネルの表裏両面とも屋内空間に露出させることができるため、木質パネル全周面のうち、屋内空気と接触する面積が多くなり、十分な調室性能を得ることができる。
発明[2]の木質パネルの取付構造によれば、パネル表面の面積が多くなり、調湿性能を向上させることができる。
発明[3]の木質パネルの取付構造によれば、木質パネルにおける屋内空気との接触面積がより多くなり、調湿性能をより向上させることができる。
発明[4]の木質パネルの取付構造によれば、吸放湿し易い木口面が、屋内空間に露出されるため、調湿性能を一層向上させることができる。
発明[5]の木質パネルの取付構造によれば、部品の共通化を図りつつ、木質パネルの取付高さを変更することができる。
発明[6]の木質パネルの取付構造によれば、パネル表面に、吸放湿し易い木口面が配置されるため、調湿性能をより一層向上させることができる。
発明[7]の木質パネルの取付構造によれば、パネル裏面の面積が多くなり、調湿性能をなお一層向上させることができる。
発明[8]の木質パネルの取付構造によれば、パネル裏面に、吸放湿し易い木口面が配置されるため、調湿性能をさらに向上させることができる。
図1はこの発明の実施形態である木質パネルの取付構造が適用された室内の壁面構造を示す斜視図である。
同図に示すように、この壁面構造は、一般住宅における室内の壁面(1)に、多数の木質パネル(2)が取付部材(5)〜(8)を介して取り付けられている。
壁面(1)は例えば、間柱や胴縁の室内側に、多数の合板が面状に並べて貼り付けられるとともに、その合板上に、多数の石膏ボードが面状に並べて貼り付けられて構成されている。なお以下の説明において、前後方向は、壁面(1)に対し直交する方向であり、前方は、壁面(1)から遠ざかる方向、後方は、壁面(1)に近づく方向である。
図1〜3に示すように、木質パネル(2)は、縦450mm、横450mm、厚さ35mm程度の正方形状に形成されている。この木質パネル(2)は、杉や檜等からなる3枚の板材が、木目方向を交互に直交させるように配置した状態で積層された板材積層体によって構成されている。従って、積層された3枚の板材のうち、表面側の板材(表面板材)および裏面側の板材(裏面板材)は木目方向が一致し、表面板材および裏面板材間に配置される中間の板材(中間板材)は、表面板材および裏面板材に対し木目方向が直交している。
なお本実施形態においては、表面板材および裏面板材の木目方向に沿った方向を縦方向(上下方向)とし、中間板材の木目方向に沿った方向を横方向(左右方向)として説明する。
木質パネル(2)の上下両端面には、表面板材および裏面板材の木口面が配置されるとともに、両側端面には、中間板材の木口面が配置されている。
木質パネル(2)の表面には、表面凹部を構成する多数の表面溝(21)が縦方向に沿って形成されている。表面溝(21)は、長さや溝幅が一定ではなく、途中で途絶える溝や、溝幅が途中で変化する溝等、様々な種類(形状)を有しており、これらの多種類の表面溝(21)がランダムに配置されている。
なお板材は、木目方向(繊維方向)が正確な直線を描くものではないため、表面溝(21)の内周面やパネル両側端面を含む木質パネル(21)の全周面には、多数の導管の端部が開口している。
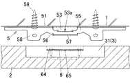
図3〜11に示すように、木質パネル(2)の裏面には、その上下2箇所における幅方向の中間部に、取付凹部(3)(3)が形成されている。両取付凹部(3)は、上下対称で同一の形状を有している。
取付凹部(3)は、横方向に長い第1凹部(31)と、第1凹部(31)の中間部外側に設けられ、かつ第1凹部(31)に連通する第2凹部(32)と、第1凹部(31)の中間部内側に設けられ、かつ第1凹部(31)に連通する第3凹部(33)とを有している。
第2凹部(32)は、第1凹部(31)よりも深さが浅く形成されるとともに、第3凹部(33)は、第1凹部(31)よりも深さが深く形成されている。
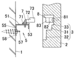
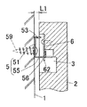
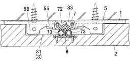
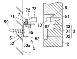
一方、木質パネル(2)を、壁面(1)に取り付けるための取付部材は、L型金具(5)および掛金具(6)により構成される取付金具と、キャッチャー(7)および押込部材(8)により構成される結合部材とを有している。
図20に示すように、L型金具(5)は、一側片および他側片を有する断面L字状に形成されており、一側片における長さ方向の中間部が、長側片(51)として構成されるとともに、他側片における長さ方向の中間部が、短側片(55)として構成されている。L型金具(5)は、断面形状において、長側片(51)に対し、短側片(55)が短く形成されている。
長側片(51)の先端には、掛止片(52)が設けられている。この掛止片(52)の先端には、短側片(55)と同方向に折曲された抜止め片(53)が形成されるとともに、抜止め片(53)の中央部には、係合孔(53a)が形成されている。さらに長側片(51)の両側部には、ネジ止め部(54)(54)が形成されている。
短側片(55)の先端には、掛止片(56)が設けられている。この掛止片(56)の先端には、長側片(51)と同方向に折曲された抜止め片(57)が形成されるとともに、抜止め片(57)の中央には、係合孔(57a)が形成されている。さらに短側片(55)の両側部には、短側片(55)と同方向に延びるように延設されたネジ止め部(58)(58)が形成されている。
このL型金具(5)は、壁面(1)に固定するものであるが、後述するように、第1取付形態と、第2取付形態との2つの取付形態とのいずれかの取付形態によって壁面(1)に固定される。
本実施形態では、1枚の木質パネル(2)をその上下2箇所でL型金具(5)等の取付部材によって壁面(1)に取り付けるものであり、壁面(1)における木質パネル(2)の上下の取付凹部(3)に対応する位置に、それぞれL型金具(5)(5)が固定される。この上下2つのL型金具(5)(5)のうち、上側のL型金具(5)は、後述する掛金具(6)を掛止する受金具として機能するのに対し、下側のL型金具(5)は、後述のキャッチャー(7)を壁面(1)に取り付けるための補助金具として機能するものである。そして受金具としての上側のL型金具(5)は、そのまま壁面(1)に取り付けられるものであるが、補助金具としての下側のL型金具(5)は、キャッチャー(7)が取り付けられた状態で壁面(1)に取り付けられる。なお本実施形態において、上側L型金具(7)と言う場合には、受金具を意味し、下側L型金具(7)と言う場合には、補助金具を意味する。
図21に示すようにキャッチャー(7)は、L型金具(5)に固定される取付板(71)と、取付板(71)に設けられた一対の弾性脚片(72)(72)と、一対の弾性脚片(72)(72)の先端にそれぞれ設けられた円柱状の一対の挟持体(73)(73)とを備え、これらが一体に形成された合成樹脂成形品をもって構成されている。なお本実施形態においては、キャッチャー(7)が挟持部材を構成している。
一対の弾性脚片(72)(72)は、先端側が拡開するようにV字状に配置されており、自身の弾性力によって、一対の挟持体(73)(73)を閉じる方向(近接させる方向)に付勢している。
そして第1取付形態で木質パネル(2)を取り付ける場合には、キャッチャー(7)が下側L型金具(7)の短側片(55)に取り付けられる。すなわち図9,11等に示すように、キャッチャー(7)の取付板(71)が、下側L型金具(7)における短側片(55)の外面側(上面側)にねじ止めにより取り付けられて、一対の挟持体(73)(73)が短側片(55)の延長方向(前方)に突出するように配置される。
また第2取付形態の場合には、キャッチャー(7)は、L型金具(5)の長側片(51)に取り付けられる。すなわち図17,19等に示すように、キャッチャー(7)の取付板(71)が、下側L型金具(7)における長側片(51)の外面側(上面側)にねじ止めにより取り付けられて、一対の挟持体(73)(73)が長側片(51)の延長方向(前方)に突出するように配置される。
一方図3等に示すように、木質パネル(2)の裏面側における上側の取付凹部(3)には、掛金具(6)が取り付けられる。
図22に示すように掛金具(6)は、金属板の加工品によって構成されており、下端部中央が切り欠かれるようにして掛止用縁部(61)が設けられるとともに、その掛止用縁部(61)の両側に位置規制片(62)(62)が設けられている。さらに掛金具(6)の上部両側には、ねじ止め部(64)(64)が形成されている。
図4,5等に示すようにこの掛金具(6)のねじ止め部(64)(64)が、木質パネル(2)の上側取付凹部(3)における第2凹部(32)の底面にねじ止めにより固定される。この固定状態では、掛金具(6)は、その下側部が、上側取付凹部(3)の第1凹部(31)内に突出するように配置されている。
なお掛金具(6)における木質パネル(2)の裏面側に対向する面を、裏面側としたとき、掛金具(6)の下側部には、上記L型金具(5)の係合孔(57a)に対応して、裏面側に突出する係合突起(65)が形成されている。
木質パネル(2)の裏面側における下側の取付凹部(3)には、上記キャッチャー(7)と共に結合部材を構成する押込部材(8)が取り付けられている。
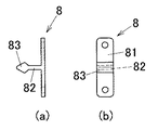
図23に示すようにこの押込部材(8)は、取付板(81)と、取付板(81)に設けられた挿入軸部(82)とを備え、これらが一体に形成された合成樹脂成形品をもって構成されている。さらに押込部材(8)の挿入軸部(82)の先端には、径大な頭部(83)が設けられている。
図7,9等に示すようにこの押込部材(8)の取付板(81)が、木質パネル(2)の第3凹部(32)の底面にねじ止めにより固定される。これにより、押込部材(8)の挿入軸部(82)が室内側に突出するように配置される。
次に、第1取付形態で木質パネル(2)を壁面(1)に取り付ける場合について説明する。第1取付形態においては既述したように、下側L型金具(5)における短片(55)にキャッチャー(7)が取り付けられている。
まず始めに壁面(1)における木質パネル(2)の上下の取付凹部(3)に対応する位置に、上側および下側L型金具(5)(5)をそれぞれ取り付ける。
この場合、上側L型金具(5)は図5等に示すように、短側片(55)を長側片(51)に対し下側に配置させるようにして、長側片(51)を壁面(1)に沿わせてねじ止めにより固定する。この固定状態では、短側片(55)が前方(室内側)に突出するように配置される。
さらにキャッチャー付きの下側L型金具(5)は図9等に示すように、短側片(55)を長側片(51)に対し上側に配置させるようにして、長側片(51)を壁面(1)に沿わせてねじ止めにより固定する。この固定状態では、短側片(55)のキャッチャー(7)が前方(室内側)に突出するように配置される。
なお上側L型金具(5)と下側L型金具(5)とは互いに上下対称の関係に配置されている。
この状態において図4〜7に示すように、木質パネル(2)における掛金具(6)の掛止用縁部(61)を、上側L型金具(5)の掛止片(56)に嵌め込むように掛止する。このとき、上側L型金具(5)の抜止め片(57)が、掛金具(6)における掛止用縁部(61)の裏面側(室内側)に係合することにより、掛金具(6)、つまり木質パネル(2)の室内側(前方)への脱外が防止される。また掛金具(6)における下端両側の位置規制片(62)(62)が、L型金具(5)の掛止片(56)の両側縁に係合することにより、掛金具(6)、つまり木質パネル(2)の横方向の移動が規制される。さらに掛金具(6)の係合突起(65)が、L型金具(5)の係合孔(57a)に嵌合することにより、掛金具(6)、つまり木質パネル(2)の壁面方向の移動が規制される。
こうして掛金具(6)を上側L型金具(5)に係止した後図8〜11に示すように、木質パネル(2)の下側取付凹部(3)における押込部材(8)の挿入軸部(82)を、下側L型金具(5)におけるキャッチャー(7)の一対の挟持体(73)(73)間に押し込む。これにより挿入軸部(82)の頭部(83)が、一対の挟持体(73)(73)を押し開いて、一対の挟持体(73)(73)間を通って一対の弾性脚片(72)(72)に挿入された後、一対の弾性脚片(72)(72)の弾性復元力によって、一対の挟持体(73)(73)が閉じられて押込部材(8)の挿入軸部(82)を挟持する。この結合状態においては、径大の頭部(83)が一対の挟持体(73)(73)に係合することにより、挿入軸部(82)、つまりパネル下側の室内側への不用意な脱外が防止される。
こうして木質パネル(2)は、取付金具(5)(6)および結合部材(7)(8)によって、上下2箇所で壁面(1)に固定される。この取付状態においては、木質パネル(2)が壁面(1)から離間した状態に配置されて、木質パネル(2)の裏面および壁面(1)間に隙間が形成されている。
なお、結合部材(7)(8)は、結合状態において、木質パネル(2)の下側を室内側に強く引っ張れば、押込部材(8)の頭部(83)が一対の挟持体(73)(73)を押し開きながら、一対の弾性脚片(72)(72)および一対の挟持体(73)(73)から抜け出して、結合を解除できるようになっている。
従って、木質パネル(2)を壁面(1)から取り外す場合には、木質パネル(2)の下側を引っ張って、結合部材(7)(8)の結合を解除することにより、パネル下側を壁面(1)から取り外した後、木質パネル(2)を少量上方へ持ち上げて、掛金具(6)の掛止用縁部(61)を上側L型金具(5)の掛止片(56)から脱外させることにより、パネル上側を壁面(1)から取り外す。これにより木質パネル(2)を壁面(1)から取り外すことができる。
次に、木質パネル(2)を第2取付形態で取り付ける場合について説明する。この場合既述したように、下側L型金具(5)の長側片(51)にキャッチャー(7)が取り付けられている(図17,19等参照)。さらに木質パネル(2)には、上記と同様に、上側の取付凹部(3)に掛金具(6)が固定されるとともに、下側の取付凹部(3)に、結合部材の押込部材(8)が固定されている。
まず壁面(1)における木質パネル(2)の上下の取付凹部(3)に対応する位置に、上側および下側L型金具(5)(5)をそれぞれ取り付ける。
この場合、上側L型金具(5)は図13,15等に示すように、長側片(51)を短側片(51)に対し下側に配置させるようにして、短側片(55)を壁面(1)に沿わせてねじ止めにより固定する。この固定状態では、長側片(51)が前方(室内側)に突出する配置される。
さらにキャッチャー付きの下側L型金具(5)は図17,19等に示すように、長側片(51)を短側片(55)に対し上側に配置させるようにして、短側片(55)を壁面(1)に沿わせてねじ止めにより固定する。この固定状態では、長側片(51)のキャッチャー(7)が前方(室内側)に突出するように配置される。
なお上側L型金具(5)と下側L型金具(5)とは互いに上下対称の関係に配置されている。
この状態において、木質パネル(2)を上記と同様に壁面(1)に取り付ける。すなわち図12〜15に示すように、木質パネル(2)における掛金具(6)の掛止用縁部(61)を、壁面(1)における上側L型金具(5)の掛止片(52)に嵌め込むように掛止する。このとき、L型金具(5)の抜止め片(53)が、掛金具(6)における掛止用縁部(61)の裏面側(室内側)に係合することにより、掛金具(6)、つまり木質パネル(2)の室内側への脱外が防止される。また掛金具(6)における下端両側の位置規制片(62)(62)が、L型金具(5)の掛止片(52)の両側縁に係合することにより、掛金具(6)、つまり木質パネル(2)の横方向の移動が規制される。さらに掛金具(6)の係合突起(65)が、L型金具(5)の係合孔(53a)に嵌合することにより、掛金具(6)、つまり木質パネル(2)の壁面方向の移動が規制される。
続いて図16〜19に示すように、木質パネル(2)における押込部材(8)の挿入軸部(82)を、下側L型金具(5)におけるキャッチャー(7)の一対の挟持体(73)(73)間に押し込んで、頭部(83)を一対の弾性脚片(72)(72)に挿入して、挿入軸部(82)を一対の挟持体(73)(73)により挟持させて、パネル下側を壁面(1)に取り付ける。
この第2取付形態においても、上記第1取付形態と同様に、木質パネル(2)が壁面(1)から離間した状態に配置されて、木質パネル(2)の裏面および壁面(1)間に隙間が形成される。
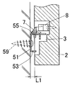
ここで、第1取付形態では、L型金具(5)における短寸の短側片(55)先端に、木質パネル(2)が取り付けられるのに対し、第2取付形態では、L型金具(5)における長寸の長側片(51)先端に、木質パネル(2)が取り付けられる。従って第2取付形態における木質パネル(2)および壁面(1)間の離間寸法(L2)は、第1取付形態での離間寸法(L1)よりも大きく形成されて、第2取付形態での木質パネル(2)は、第1取付形態での木質パネル(2)に比べて、壁面(1)からの飛び出し量が大きい状態に取り付けられる。
本実施形態においては、複数の木質パネル(2)を壁面(1)に沿って並べて施工するに際して、第1取付形態と第2取付形態とを適宜取り混ぜて各パネル(2)を壁面(1)に取り付けるものである。
例えば、縦(行方向)および横(列方向)に並べて配置される複数の木質パネル(2)のうち、奇数行および奇数列の木質パネル(2)は、第1取付形態で取り付けるとともに、偶数行および偶数列の木質パネル(2)は、第2取付形態で取り付けることにより、木質パネル(2)を縦横交互に飛び出し量(浮き上がり量)を変化させるようにする。さらに奇数行の木質パネル(2)は、第1取付形態で取り付けるとともに、偶数行の木質パネル(2)は、第2取付形態で取り付けて、縦方向に交互に飛び出し量を変化させるようにする。さらに奇数列の木質パネル(2)は、第1取付形態で取り付けるとともに、偶数列の木質パネル(2)は、第2取付形態で取り付けて、横方向に交互に飛び出し量を変化させるようにする。また木質パネル(2)を、1つおきに取付形態を変化させずに、2つおきや3つ以上おきに、取付形態を変化させて取り付けるようにしても良い。
また上記のように、各木質パネル(2)を規則的な凹凸状態で配列するようにしても良いが、言うまでもなく、各木質パネル(2)を不規則的な凹凸状態で配列するようにしても良い。
以上の構成による本実施形態のパネル取付構造によれば、室内の調湿性能を向上させることができる。すなわち木質パネル(2)は、その表裏両面、左右両側面および上下両端面を含む全周面(全表面)から、水分(湿気成分)を吸収したり、湿気成分を放出することにより、周囲の湿度を適正に調整するものであるため、木質パネル(2)の全周面のうち、室内の空気(雰囲気)と接触する面積が大きくなるに従って、吸放湿量を多くでき、調湿性能を向上させることができる。
そこで本実施形態のパネル取付構造においては、各木質パネル(2)を壁面(1)から離間させた状態に取り付けているため、木質パネル(2)の表裏両面を共に室内空間に露出でき、木質パネル(2)の全周面における室内空気(屋内空気)との接触面積を大きく確保することができる。このため各木質パネル(2)による室内空気に対する吸放湿を十分に行うことができ、室内の調湿性能を十分に確保することができ、快適な居住空間を得ることができる。
また本実施形態においては、パネル表面に表面溝(21)を形成しているため、パネル表面の面積をより大きくできて、室内空気との接触面積をより大きくでき、調湿性能を向上させることができる。
さらに本実施形態においては、木質パネル(2)を、壁面(1)からの離間寸法が異なる第1取付形態および第2取付形態のいずれの取付形態でも取付可能に構成しているため、上下あるいは左右に隣り合う木質パネル(2)(2)の取付高さ(壁面からの離間寸法)を異ならせて、パネル間に段差を形成することができる。このため、段差のある隣り合う木質パネル(2)(2)においては、木質パネル(2)(2)の対向端面が前後に位置ずれして室内空間に露出するため、木質パネル(2)による室内空気との接触面積を一層大きくできて、調湿性能を一層向上させることができる。
特に本実施形態では、上下に隣り合う木質パネル(2)(2)においても取付高さを異ならせるようにしているため、当該木質パネル(2)(2)の対向端面、換言すれば木質パネル(2)(2)の木口面(表面板材および裏面板材の木口面)を、室内空間に露出させることができる。ここで、板材の木口面は、多数の導管の端部が開口しているため、板面や両側端面に比べて、湿気成分の吸放湿量が大きくなる。従って本実施形態のように木質パネル(2)(2)の木口面を室内空間に露出させることによって、調湿性能をより一層向上させることができる。
また本実施形態では、各木質パネル(2)の取付高さを適宜変更しているため、パネル毎に実際に凹凸のある立体的なデザインで施工することができ、デザイン的にも優れた壁面構造を形成することができる。
なお本実施形態において、木質パネル(2)は、木質系のものであればどのようなものでも使用可能であるが、特に杉や檜からなるものを使用するのが好ましい。すなわち杉や檜は、針葉樹材で比重が低く、空気中の水分(湿気成分)の吸放湿機能が高いため、上記の調湿性能を一段と向上させることができる。
また本実施形態においては、1つ(1種類)のL型金具(5)によって、取付高さの異なる2種類の取付形態で木質パネル(2)を取り付けることができるよう構成しているため、部品種数を削減できて、コストを削減できるとともに、作業者による部品の付け間違い等も防止できて、施工作業性を向上させることができる。
さらに本実施形態においては、木質パネル(2)における裏面上側の掛金具(6)を壁面(1)のL型金具(5)に引っ掛けて、パネル裏面下側の押込部材(8)を壁面(1)のキャッチャー(7)に押し込んで結合するだけで簡単に、木質パネル(2)を壁面(1)に取り付けることができるため、パネル施工作業を効率良くスムーズに行うことができる。
また木質パネル(2)を壁面(1)から取り外す際には、パネル下側を手前(前方)に引っ張って押込部材(8)をキャッチャー(7)から抜き取って、掛金具(6)をL型金具(5)から取り外すだけで簡単に、木質パネル(2)を壁面(1)から取り外すことができる。
なお上記実施形態においては、木質パネル(2)の表面に、表面板材の木目方向に沿って多数の表面溝(21)を形成するようにしているが、それだけに限られず、本発明においては、パネル表面に、表面板材の木目方向に対し直交する方向に沿って表面溝等の溝状部を多数形成するようにしても良い。この場合には、表面溝の両側面が、表面板材の導管端部が開口する木口面に形成されるため、より多くの木口面を、室内空間に露出させることができ、調湿性能をなお一層向上させることができる。
また本発明において、パネル表面に形成される凹部は溝状の凹部(表面溝)に限られず、どのような凹部を形成するようにしても良い。この凹部は、大きさ、深さ、形状、形成数が特に限定されるものではない。このようにパネル表面に凹部を形成する場合においても、上記と同様に、パネル表面の面積、ひいては室内空気との接触面積を大きくできて、十分な調湿性能を得ることができる。
もっとも、本発明においては必ずしも、パネル表面に溝等の凹部を形成する必要はなく、パネル表面を平坦面に形成するようにしても良い。
また本発明においては、パネル裏面に、凹部(裏面凹部)を形成するようにしても良い。この裏面凹部は、大きさ、深さ、形状、形成数が特に限定されるものではない。そして、この裏面凹部の形成によって、上記と同様に、パネル裏面の面積、ひいては室内空気との接触面積を大きくできて、より優れた調湿性能を得ることができる。
さらに本発明においては、パネル裏面に、裏面の木目方向に対し直交する方向に沿って多数の裏面溝を形成するようにしても良い。この場合には、裏面溝の両側面が、導管端部が開口する木口面に形成されるため、よりの多くの木口面を、室内空間に露出させることができ、調湿性能を一段と向上させることができる。
また、上記実施形態においては、パネル表面の木目方向を上下方向に配置して木質パネルを取り付けるようにしているが、それだけに限られず、本発明においては、パネル表面の木目方向を左右方向(横方向)に配置して木質パネルを取り付けるようにしても良い。この場合には、図3の想像線に示すように、木質パネル(2)の裏面側において、パネル表面の木目方向の両側に対応する位置に、上記と同様な取付凹部(3)(3)を形成しておき、いずれか一方の取付凹部(3)に上記と同様に掛金具(6)を取り付けるとともに、残り一方の取付凹部(3)に上記と同様に押込部材(8)を取り付けておく。さらに壁面(1)には、上記と同様に、上側L型金具(5)およびキャッチャー付き下側L型金具(5)を取り付けておく。そして、木質パネル(2)の掛金具(6)および押込部材(8)を上記と同様に、上側L型金具(5)および下側のキャッチャー(7)に装着することにより、木質パネル(2)をその表面の木目方向を左右方向に配置した状態に取り付けることができる。
また本発明においては、パネル裏面に、その上下位置と左右位置の4箇所に、取付凹部(3)をそれぞれ形成しておけば、木質パネル(2)をその表面木目方向を上下方向に配置して取り付けることも、左右方向に配置して取り付けることも可能である。すなわちパネル裏面に形成された上下左右の4箇所の取付凹部(3)のうち、上下の取付凹部(3)(3)の一方に掛金具(6)、他方に押込部材(8)を取り付けて、上記と同様に、掛金具(6)および押込部材(8)を上側L型金具(5)および下側のキャッチャー(7)に装着することにより、表面木目方向を上下方向に配置した状態で木質パネル(2)を壁面(1)に取り付けることができる。さらに4つの取付凹部(3)のうち、左右の取付凹部(3)(3)の一方に掛金具(6)、他方に押込部材(8)を取り付けて、上記と同様に、掛金具(6)および押込部材(8)を上側L型金具(5)および下側のキャッチャー(7)に装着することにより、表面木目方向を左右方向に配置した状態で木質パネル(2)を壁面(1)に取り付けることができる。
また本発明においては、施工される多数の木質パネルにおける表面溝方向や木目方向を、全て一致させる必要はなく、一部の木質パネルのみ、表面溝方向や木目方向を変更するようにしても良い。
また上記実施形態においては、木質パネル(2)の取付高さを、第1取付形態および第2取付形態の2段階に変更できるようにしているが、それだけに限られず、本発明においては、木質パネルの取付高さを、3段階以上に変更できるようにしても良い。
さらに上記実施形態においては、同一構成のL型金具を用いて、木質パネルの取付高さを変更できるように構成しているが、それだけに限られず、本発明においては、異なる構成のL型金具等の取付部材を用いて、木質パネルの取付高さを変更するようにしても良い。
さらに上記実施形態においては、受金具としての上側L型金具と、補助金具としての下側L型金具とが同一の構成に形成されているが、それだけに限られず、本発明においては、受金具と、補助金具とを異なる構成に形成するようにしても良い。
また上記実施形態においては、各木質パネル(2)を壁面(1)に対し平行になるように取り付けているが、それだけに限られず、本発明においては、各木質パネル(2)を壁面(1)に対し傾斜させた姿勢に取り付けることも可能である。例えば上下のL型金具(5)のうち、上側のL型金具(5)を第1取付形態で壁面(1)に取り付けることもに、下側のL型金具(5)を第2取付形態で壁面(1)に取り付けておいて、そのL型金具(5)(5)に対して、上記と同様に木質パネル(2)を取り付けることにより、木質パネル(2)をその上側の取付高さが下側に比べて低くなるような斜め上向きの状態に配置することができる。さらに上側のL型金具(5)を第2取付形態で、下側のL型金具(5)を第1取付形態で壁面(1)にそれぞれ取り付けることにより、木質パネル(2)をその上側の取付高さが下側に比べて高くなるような斜め下向きの状態に配置することができる。
また上記実施形態においては、木質パネル(2)として、3枚の板材が積層された板材積層体によって構成されたものを使用しているが、それだけに限られず、本発明においては、木質パネルを、1枚の板材、2枚の板材、または4枚以上の板材が積層された板材積層体によって構成するようにしても良い。
ところで、本実施形態のパネル取付構造が適用された壁面構造において、液晶テレビ、プラズマテレビ、リアプロジェクションテレビ、有機ELテレビ、FEDテレビ等の薄型テレビのディスプレイパネルを壁掛け状態で取り付けるような場合や、AVシステムのスピーカーを壁掛け状態で取り付けるような場合には、木質パネルと壁面との間の空間(隙間)にテレビ用およびスピーカー用等の電気配線を敷設することができる。これにより、スペースの有効利用を図りつつ、配線を隠蔽できて、美観を向上できる上さらに、配線を自在に張りめぐらせることができて、汎用性を向上させることができる。
さらに壁掛けされた薄型テレビ等の関連機器例えば、テレビチューナー、HDDレコーダー、ステレオチューナー、ステレオアンプ等を木質パネルと壁面との間の空間に収容することも可能であり、それによって、スペースの有効利用を図りつつ、電気機器類の隠蔽によるデザイン性の向上も図ることもできる。
この発明の木質パネルの取付構造は、屋内の壁面に沿って複数の木質パネルが並べて施工される壁面構造に適用することができる。
この発明の実施形態である木質パネルの取付構造が適用された室内の壁面構造を示す斜視図である。 実施形態に適用された木質パネルを表面側から見た状態での斜視図である。 実施形態の木質パネルを裏面側から見た状態での斜視図である。 実施形態の第1取付形態による壁面構造においてパネル上部の側面断面図である。 図4の分解図である。 実施形態の第1取付形態による壁面構造においてパネル上部の平面断面図である。 図6の分解図である。 実施形態の第1取付形態による壁面構造においてパネル下部の側面断面図である。 図8の分解図である。 実施形態の第1取付形態による壁面構造においてパネル下部の平面断面図である。 図10の分解図である。 実施形態の第2取付形態による壁面構造においてパネル上部の側面断面図である。 図12の分解図である。 実施形態の第2取付形態による壁面構造においてパネル上部の平面断面図である。 図14の分解図である。 実施形態の第2取付形態による壁面構造においてパネル下部の側面断面図である。 図16の分解図である。 実施形態の第2取付形態による壁面構造においてパネル下部の平面断面図である。 図18の分解図である。 実施形態に適用されたL型金具を示す図であって、同図(a)は平面図、同図(b)は正面図、同図(c)は側面図である。 実施形態に適用された結合部材のキャッチャーを示す図であって、同図(a)は平面図、同図(b)は側面図である。 実施形態に適用された掛金具を示す図であって、同図(a)は正面図、同図(b)は平面図、同図(c)は側面図である。 実施形態に適用された結合部材の押込部材を示す図であって、同図(a)は平面図、同図(b)は正面図である。
符号の説明
1…壁面
2…木質パネル
21…表面溝(表面凹部)
5…L型金具
51…長側片(一側片)
55…短側片(他側片)
6…掛金具
7…キャッチャー(挟持部材)
8…押込部材
L1,L2…離間寸法

Claims (9)

  1. 屋内壁面に沿って複数の木質パネルが並べて施工される木質パネルの取付構造であって、
    前記木質パネルが、取付金具を介して屋内壁面から離間した状態で屋内壁面に支持されることを特徴とする木質パネルの取付構造。
  2. 前記木質パネルの表面に複数の表面凹部が形成される請求項1に記載の木質パネルの取付構造。
  3. 隣り合う木質パネルのうち、一方側の木質パネルが他方側の木質パネルに対して屋内壁面からの離間寸法が異なる状態に配置されて、前記隣り合う木質パネルの対向端面が露出される請求項1または2に記載の木質パネルの取付構造。
  4. 前記隣り合う木質パネルの対向端面のうち少なくともいずれか一方に、木口面が配置される請求項3に記載の木質パネルの取付構造。
  5. 前記取付金具は、屋内壁面に取り付けられる断面L字状のL型金具と、前記木質パネルの裏面側に取り付けられる掛金具と、を有し、
    前記L型金具は、その一側片が、他側片よりも長く形成され、
    前記L型金具をその一側片を屋内壁面に沿わせて取り付けて、前記他側片の先端に前記掛金具を掛止して前記木質パネルを支持する第1取付形態と、前記L型金具をその他側片を屋内壁面に沿わせて取り付けて、前記一側片の先端に前記掛金具を掛止して前記木質パネルを支持する第2取付形態と、のいずれの取付形態でも前記木質パネルを支持可能に構成される請求項1〜4のいずれか1項に記載の木質パネルの取付構造。
  6. 前記木質パネルを、屋内壁面に取り付けるための結合部材を備え、
    前記結合部材は、押込部材と、前記押込部材が押し込まれた際にその押込部材を弾性挟持する挟持部材とを有し、
    前記押込部材および前記挟持部材のいずれか一方が屋内壁面に取り付けられるとともに、残り一方が前記木質パネルの裏面側に取り付けられる請求項1〜5のいずれか1項に記載の木質パネルの取付構造。
  7. 前記木質パネルの表面に、その表面の木目方向に対し直交する方向に沿って複数の表面溝が形成される請求項1〜6のいずれか1項に記載の木質パネルの取付構造。
  8. 前記木質パネルの裏面に複数の裏面凹部が形成される請求項1〜7のいずれか1項に記載の木質パネルの取付構造。
  9. 前記木質パネルの裏面に、その裏面の木目方向に対し直交する方向に沿って複数の裏面溝が形成される請求項1〜8のいずれか1項に記載の木質パネルの取付構造。
JP2008217578A 2008-08-27 2008-08-27 木質パネルの取付構造 Active JP5571299B2 (ja)

Priority Applications (1)

Application Number Priority Date Filing Date Title
JP2008217578A JP5571299B2 (ja) 2008-08-27 2008-08-27 木質パネルの取付構造

Applications Claiming Priority (1)

Application Number Priority Date Filing Date Title
JP2008217578A JP5571299B2 (ja) 2008-08-27 2008-08-27 木質パネルの取付構造

Publications (2)

Publication Number Publication Date
JP2010053547A true JP2010053547A (ja) 2010-03-11
JP5571299B2 JP5571299B2 (ja) 2014-08-13

Family

ID=42069744

Family Applications (1)

Application Number Title Priority Date Filing Date
JP2008217578A Active JP5571299B2 (ja) 2008-08-27 2008-08-27 木質パネルの取付構造

Country Status (1)

Country Link
JP (1) JP5571299B2 (ja)

Cited By (4)

* Cited by examiner, † Cited by third party
Publication number Priority date Publication date Assignee Title
JPS58102240A (ja) * 1981-12-14 1983-06-17 Fuji Photo Film Co Ltd 光導電性組成物およびそれを用いた電子写真感光材料
JP2014196599A (ja) * 2013-03-29 2014-10-16 朝日ウッドテック株式会社 内装用壁面パネル
JP2018084023A (ja) * 2016-11-21 2018-05-31 越井木材工業株式会社 セット金具及び金具付パネル
JP2023117132A (ja) * 2022-02-10 2023-08-23 理研軽金属工業株式会社 木質系化粧材の取付構造

Citations (9)

* Cited by examiner, † Cited by third party
Publication number Priority date Publication date Assignee Title
JPH056021U (ja) * 1991-07-10 1993-01-29 大和ハウス工業株式会社 パネル出入り調整装置
JPH0544423Y2 (ja) * 1987-02-19 1993-11-11
JPH0644919U (ja) * 1992-11-26 1994-06-14 三菱マテリアル株式会社 中空パネル建材の取付構造
JPH0754645Y2 (ja) * 1991-11-14 1995-12-18 ミサワホーム株式会社 部材の係止装置
JPH11159014A (ja) * 1997-11-28 1999-06-15 Misawa Homes Co Ltd 外壁継ぎ目構造
JP2002018818A (ja) * 2000-07-06 2002-01-22 Shinshu Rinsan Kk 住宅用内装パネル構造及び内装パネルユニットの製造方法
JP2004107975A (ja) * 2002-09-18 2004-04-08 Asahi Kasei Construction Materials Co Ltd スペーサー部材
JP2005256440A (ja) * 2004-03-12 2005-09-22 Daiken Trade & Ind Co Ltd 調湿内装パネルとその取付構造
JP2006265918A (ja) * 2005-03-23 2006-10-05 Daiken Trade & Ind Co Ltd 調湿内装パネルの取付構造

Patent Citations (9)

* Cited by examiner, † Cited by third party
Publication number Priority date Publication date Assignee Title
JPH0544423Y2 (ja) * 1987-02-19 1993-11-11
JPH056021U (ja) * 1991-07-10 1993-01-29 大和ハウス工業株式会社 パネル出入り調整装置
JPH0754645Y2 (ja) * 1991-11-14 1995-12-18 ミサワホーム株式会社 部材の係止装置
JPH0644919U (ja) * 1992-11-26 1994-06-14 三菱マテリアル株式会社 中空パネル建材の取付構造
JPH11159014A (ja) * 1997-11-28 1999-06-15 Misawa Homes Co Ltd 外壁継ぎ目構造
JP2002018818A (ja) * 2000-07-06 2002-01-22 Shinshu Rinsan Kk 住宅用内装パネル構造及び内装パネルユニットの製造方法
JP2004107975A (ja) * 2002-09-18 2004-04-08 Asahi Kasei Construction Materials Co Ltd スペーサー部材
JP2005256440A (ja) * 2004-03-12 2005-09-22 Daiken Trade & Ind Co Ltd 調湿内装パネルとその取付構造
JP2006265918A (ja) * 2005-03-23 2006-10-05 Daiken Trade & Ind Co Ltd 調湿内装パネルの取付構造

Cited By (5)

* Cited by examiner, † Cited by third party
Publication number Priority date Publication date Assignee Title
JPS58102240A (ja) * 1981-12-14 1983-06-17 Fuji Photo Film Co Ltd 光導電性組成物およびそれを用いた電子写真感光材料
JP2014196599A (ja) * 2013-03-29 2014-10-16 朝日ウッドテック株式会社 内装用壁面パネル
JP2018084023A (ja) * 2016-11-21 2018-05-31 越井木材工業株式会社 セット金具及び金具付パネル
JP2023117132A (ja) * 2022-02-10 2023-08-23 理研軽金属工業株式会社 木質系化粧材の取付構造
JP7691948B2 (ja) 2022-02-10 2025-06-12 理研軽金属工業株式会社 木質系化粧材の取付構造

Also Published As

Publication number Publication date
JP5571299B2 (ja) 2014-08-13

Similar Documents

Publication Publication Date Title
JP5571299B2 (ja) 木質パネルの取付構造
US20080066407A1 (en) Panel Installation Set and Method of Installing Panel Using the Same
JP2010101038A (ja) 木質パネルの取付構造
JP5306917B2 (ja) 木質パネルの取付構造
JP2011024872A (ja) キャビネット
CN101868584A (zh) 墙壁过渡装饰线条
JP2019148077A (ja) 床構造体
JP2010106624A (ja) 係止装置及びそれを用いた間仕切パネルのt字連結装置
JP5320214B2 (ja) 棚の取付構造および棚板
JP2014113437A (ja) テーブルの配線ダクト装置
KR101508282B1 (ko) 패널 결합용 클립 및 이를 구비한 패널
GB2518556A (en) Combination plate
JP5650488B2 (ja) 壁構造
JP3128194U (ja) ナット付き板材、家具、及び椅子
JP2008121260A (ja) 壁パネルの貼着方法
JP6892959B1 (ja) 仕切板付き天板
JP2012045112A (ja) サイドパネルの取付装置
JP2011106131A (ja) 木質パネルの取付構造
JP3208847U (ja) 板材
JP6172629B2 (ja) 収納装置
JP4918838B2 (ja) 壁面構造
JP2018175484A (ja) 仕切体及び棚
JP3071820U (ja) 床板の支持構造
JP6172628B2 (ja) 配線トレー
JP2013023930A (ja) 壁パネル及び収納箱固定構造

Legal Events

Date Code Title Description
A621 Written request for application examination

Free format text: JAPANESE INTERMEDIATE CODE: A621

Effective date: 20110624

A977 Report on retrieval

Free format text: JAPANESE INTERMEDIATE CODE: A971007

Effective date: 20121018

A131 Notification of reasons for refusal

Free format text: JAPANESE INTERMEDIATE CODE: A131

Effective date: 20121023

A521 Request for written amendment filed

Free format text: JAPANESE INTERMEDIATE CODE: A523

Effective date: 20121213

A131 Notification of reasons for refusal

Free format text: JAPANESE INTERMEDIATE CODE: A131

Effective date: 20130820

A521 Request for written amendment filed

Free format text: JAPANESE INTERMEDIATE CODE: A523

Effective date: 20131003

TRDD Decision of grant or rejection written
A01 Written decision to grant a patent or to grant a registration (utility model)

Free format text: JAPANESE INTERMEDIATE CODE: A01

Effective date: 20140603

A61 First payment of annual fees (during grant procedure)

Free format text: JAPANESE INTERMEDIATE CODE: A61

Effective date: 20140626

R150 Certificate of patent or registration of utility model

Ref document number: 5571299

Country of ref document: JP

Free format text: JAPANESE INTERMEDIATE CODE: R150

RD02 Notification of acceptance of power of attorney

Free format text: JAPANESE INTERMEDIATE CODE: R3D02

R250 Receipt of annual fees

Free format text: JAPANESE INTERMEDIATE CODE: R250

R250 Receipt of annual fees

Free format text: JAPANESE INTERMEDIATE CODE: R250

R250 Receipt of annual fees

Free format text: JAPANESE INTERMEDIATE CODE: R250

R250 Receipt of annual fees

Free format text: JAPANESE INTERMEDIATE CODE: R250

R250 Receipt of annual fees

Free format text: JAPANESE INTERMEDIATE CODE: R250

R250 Receipt of annual fees

Free format text: JAPANESE INTERMEDIATE CODE: R250

R250 Receipt of annual fees

Free format text: JAPANESE INTERMEDIATE CODE: R250

R250 Receipt of annual fees

Free format text: JAPANESE INTERMEDIATE CODE: R250