JP2010052569A - 回転格納式荷受台昇降装置 - Google Patents

回転格納式荷受台昇降装置 Download PDF

Info

Publication number
JP2010052569A
JP2010052569A JP2008219186A JP2008219186A JP2010052569A JP 2010052569 A JP2010052569 A JP 2010052569A JP 2008219186 A JP2008219186 A JP 2008219186A JP 2008219186 A JP2008219186 A JP 2008219186A JP 2010052569 A JP2010052569 A JP 2010052569A
Authority
JP
Japan
Prior art keywords
load receiving
torsion bar
arm
fixed
lifting
Prior art date
Legal status (The legal status is an assumption and is not a legal conclusion. Google has not performed a legal analysis and makes no representation as to the accuracy of the status listed.)
Granted
Application number
JP2008219186A
Other languages
English (en)
Other versions
JP2010052569A5 (ja
JP5160348B2 (ja
Inventor
Takeshi Furukawa
威 古川
Current Assignee (The listed assignees may be inaccurate. Google has not performed a legal analysis and makes no representation or warranty as to the accuracy of the list.)
Shinmaywa Industries Ltd
Original Assignee
Shinmaywa Industries Ltd
Priority date (The priority date is an assumption and is not a legal conclusion. Google has not performed a legal analysis and makes no representation as to the accuracy of the date listed.)
Filing date
Publication date
Application filed by Shinmaywa Industries Ltd filed Critical Shinmaywa Industries Ltd
Priority to JP2008219186A priority Critical patent/JP5160348B2/ja
Publication of JP2010052569A publication Critical patent/JP2010052569A/ja
Publication of JP2010052569A5 publication Critical patent/JP2010052569A5/ja
Application granted granted Critical
Publication of JP5160348B2 publication Critical patent/JP5160348B2/ja
Expired - Fee Related legal-status Critical Current
Anticipated expiration legal-status Critical

Links

Images

Landscapes

  • Vehicle Step Arrangements And Article Storage (AREA)

Abstract

【課題】荷受台を格納する際に車両のテールランプへの干渉を回避する上で有利な回転格納式荷受台昇降装置を提供する。
【解決手段】車枠の下部側に固定された基部ユニット10と、基部ユニット10に対して上下に回動可能に連結された平行リンク構造の一対のアームユニット20と、アームユニット20に対して上下方向に回動可能に連結された荷受台30と、一対のアームユニット20の一方に対して一端が固定されるとともに、他方のアームユニット20側に延在し他端が荷受台30に対して固定可能なトーションバー50とを備える。
【選択図】図7

Description

本発明は、車両の下部側に荷受台を格納する回転格納式荷受台昇降装置に関する。
荷受台昇降装置は、車両の荷台の床面高さと地面高さとの間で荷受台を昇降させ、荷台に対する荷物の積み下ろし作業を支援するものである。こうした荷受台昇降装置には様々なものがあるが、そのうち車両の例えば後方下部側に格納可能に構成したものが格納式荷受台昇降装置と言われるものである。格納式荷受台昇降装置には、特許文献1等に記載されているように、折り畳んだ荷受台をアームでほぼ水平姿勢まで持ち上げ、さらにアームとともに車両の下部側に引き入れることで荷受台を格納するものがある(以下、スライド格納式荷受台昇降装置と記載する)。しかしスライド格納式の荷受台昇降装置は、荷受台を昇降させる機構とは別に荷受台を水平にスライドさせる機構を要し構造が複雑である。
それに対し、特許文献2に記載されているように、スライド機構を持たず、折り畳んだ荷受台を上方に回動させて車枠の後端下部の空間に格納する格納式荷受台昇降装置がある(以下、回転格納式荷受台昇降装置と記載する)。
特開2004−131004号公報 特開2001−39207号公報
回転格納式の荷受台昇降装置はスライド機能を有していないので、折り畳んだ荷受台を完全に車両の下部空間に収容するために、一般に水平位置からさらに上方にアームを回動させて格納姿勢をとる。そのため、荷受台の格納位置は車両のテールランプの一般的な設置高さと同程度になる。
このとき、荷受台の展開又は格納の際に作業者が荷受台を起こす作業をアシストするために、荷受台とリフトアームの連結部には荷受台を起立する方向に付勢するコイルスプリングが備えられている。このコイルスプリングはリフトアームの左右両側に張り出しているため、格納位置に移行した際にコイルスプリングが車両のテールランプに干渉する場合がある。
特許文献2では、荷受台昇降装置側にテールランプを移設し、リフトアームとともにテールランプが回動する構成とすることで、車両側にテールランプを設けた場合のコイルスプリング等とテールランプとの干渉を回避している。しかしながら、このテールランプは車両の後端面よりも幾分前方に入り込んだ所に位置しており、なおかつ低位置であるため、車両に設けたテールランプと比較して視認性が低下する憾みがある。
本発明はこのような事情に鑑みてなされたもので、荷受台を格納する際に車両のテールランプへの干渉を回避する上で有利な回転格納式荷受台昇降装置を提供することを目的とする。
(1)上記目的を解決するために、本発明は、車枠の下部側に固定された基部と、前記基部に対して上下に回動可能に連結された平行リンク構造の一対のアームユニットと、前記アームユニットに対して上下方向に回動可能に連結された荷受台と、前記一対のアームユニットの一方に対して一端が固定されるとともに、他方のアームユニット側に延在し他端が前記荷受台に対して固定可能なトーションバーとを備えたことを特徴とする。
(2)上記(1)において、好ましくは、前記荷受台の幅寸法は、前記車枠の後部の両側に設けた左右のテールランプの間隔寸法以下であることを特徴とする。
(3)上記(1)又は(2)において、好ましくは、前記荷受台に対して固定され、前記荷受台が垂直姿勢から展開側にあるときに前記トーションバーを拘束し、垂直姿勢から格納側にあるときに前記トーションバーの拘束を解くブラケットを備えたことを特徴とする。
(4)上記(3)において、好ましくは、前記ブラケットは、前記トーションバーを回転自在に保持する保持部と、前記荷受台が垂直姿勢から展開側にあるときに前記トーションバーの他端部を付勢して前記トーションバーを捻る押板部とを備えていることを特徴とする。
(5)上記(1)−(4)のいずれかにおいて、好ましくは、前記アームユニットは、前記基部に対して上下方向に回動可能に連結されたリフトアーム及びリンクアームと、前記リフトアーム及び前記リンクアームの先端部に設けられた第1及び第2のボスと、前記第1及び第2のボス並びに前記荷受台のヒンジブラケットに通されたシャフトとを備え、前記シャフトは、前記第1及び第2のボスのいずれか一方及び前記トーションバーの一端と固定され、前記トーションバーの一端を前記アームユニットに対して固定していることを特徴とする。
(6)上記(1)−(4)のいずれかにおいて、好ましくは、前記アームユニットは、前記基部に対して上下方向に回動可能に連結されたリフトアーム及びリンクアームと、前記リフトアーム及び前記リンクアームの先端部に設けられた第1及び第2のボスと、前記第1及び第2のボス並びに前記荷受台のヒンジブラケットに通された第3のボスと、前記第3のボスに通されたシャフトとを備え、前記シャフトは、前記リフトアーム及び前記リンクアームのいずれか一方及び前記トーションバーの一端と固定され、前記トーションバーの一端を前記アームユニットに対して固定していることを特徴とする。
本発明によれば、荷受台を格納する際に車両のテールランプへの干渉を回避する上で有利な回転格納式荷受台昇降装置を提供することができる。
以下に図面を用いて本発明の回転格納式荷受台昇降装置の実施の形態を説明する。
<第1の実施の形態>
図1は本発明の第1の実施の形態に係る回転格納式荷受台昇降装置を搭載した車両の後部の斜視図である。以下の説明において、図1に示した車両100の運転席側(図中左上側)に対応する方向を前方側、荷台101側(図中右下側)に対応する方向を後方側とする。
図1に示した車両100は、運転席(図示せず)の後部に荷台101を備えている。荷台101を搭載した車枠(図示せず)の後端の下部側には、回転格納式荷受台昇降装置1が取り付けられている。回転格納式荷受台昇降装置1は、走行時等には荷受台30を折り畳んで車枠の下部側に格納(収容)し、使用時には、図2及び図3に示したように、車両100の後方に展開した荷受台30を荷台101の床面101aの高さと地面の高さとの間で昇降させ、作業に応じて荷物や作業者の荷台101への積み下ろしを支援する。
図4は展開姿勢の回転格納式荷受台昇降装置1の斜視図、図5は格納姿勢の回転格納式荷受台昇降装置1の斜視図である。図4及び図5では後述するトーションバー50を図示省略している。
図4及び図5に示すように、回転格納式荷受台昇降装置1は、車両100の車枠の下部側に固定された基部ユニット10と、基部ユニット10に対して上下に回動可能に連結された平行リンク構造の左右一対のアームユニット20と、アームユニット20に対して上下方向に回動可能に連結された荷受台(プラットホーム)30と、回転格納式荷受台昇降装置1の駆動源を内蔵した動力装置であるパワーユニット(動力装置)40とを備えている。これら各機器の詳細構成を以下に順次説明する。
基部ユニット10は、回転格納式荷受台昇降装置1を車枠に取り付けるための左右の取り付けブラケット11と、左右の取り付けブラケット11に支持され車幅方向に延在するクロスメンバ12と、取り付けブラケット11の外側に位置するようにクロスメンバ12に固定した左右のブラケット構造体13と、格納又は展開の際に荷受台30の動作をガイドする支持ローラ14と、クロスメンバ12から後方に延在し後端部に支持ローラ14を回転自在に支持する支持部材15と、ブラケット構造体13に設けられアームユニット20の回動範囲の上限を規定するストッパピン16とを備えている。
アームユニット20は、図4に示すように、ブラケット構造体13に上下方向に回動可能に一端側が連結されたリフトアーム21及びコンプレッションアーム29と、コンプレッションアーム29の他端側に回動可能に連結されたリンクアーム22と、リフトアーム21及びリンクアーム22の先端部にそれぞれ設けられた第1のボス23及び第2のボス24と、第1及び第2のボス23,24並びに荷受台30のヒンジブラケット31に通されたシャフト25と、ブラケット構造体13及びリフトアーム21に両端が連結されたリフトシリンダ26と、左右のリフトアーム21を連結するクロスメンバ27とを備えている。リフトアーム21には、ストッパ部材28が取り付けられており、上限位置に達するとストッパ部材28が先のストッパピン16に当接する。先述した通りアームユニット20は平行リンク構造をなしており、昇降動作中はアームユニット20の回動角度によらず展開した荷受台30の姿勢がほぼ水平に維持される。
荷受台30は、アームユニット20のシャフト25を通しシャフト25を介してアームユニット20に対して回動可能に支持されたヒンジブラケット31と、ヒンジブラケット31に支持された荷受台本体部32とを備えている。荷受台本体部32は、ヒンジブラケット31に固定された荷受台基端部33と、荷受台基端部33に対しヒンジ34を介して回動可能に連結された荷受台先端部35とを備えており、その車幅方向の寸法は、車枠の後部の両側に設けた左右のテールランプ102(図1等参照)間の間隔寸法以下としてある。ヒンジ34は、荷受台基端部33及び荷受台先端部35にそれぞれ両端がピン結合されている。このヒンジ34の荷受台基端部33及び荷受台先端部35のそれぞれに対する回動範囲はほぼ直角である。つまり、荷受台本体部32は二重関節構造のヒンジ34によって折り畳み可能に構成されており、荷受台基端部33に対してヒンジ34が直角に起立し、さらにヒンジ34に対して荷受台先端部35が直角に回動することにより、荷受台基端部33と荷受台先端部35が互いの荷受面を対向させた状態に折り畳まれる。
パワーユニット40は、クロスメンバ12の一端(本実施の形態では左端)に取り付けられている。特に図示していないが、パワーユニット40は、電動モータ、この電動モータにより駆動する油圧ポンプ、この油圧ポンプから吐出される圧油をリフトシリンダ26に切り換え供給するコントロールバルブ等を内蔵している。電動モータは、車両100のバッテリ又は発電機からの供給電力によって駆動する。
以上の基本構成の回転格納式荷受台昇降装置1の荷受台30の昇降動作は次の通りである。
荷受台30を図1に示す格納姿勢から作業姿勢に移行させるには、まず操作手段(図示せず)により所定の操作を行ってリフトシリンダ26を縮め、図6に示したように先端が接地する位置までアームユニット20を下方に回動させる。この間、荷受台30は基端側(ヒンジブラケット31側)を水平位置よりも上に向けた格納姿勢(図5参照)から下降し、水平位置あたりで支持ローラ14に当接する。そして、さらにアームユニット20が下降すると荷受台30は支持ローラ14に転接しつつ徐々に立ち上がり、図6に示したようにアームユニット20が接地するところまで下降すると、人手でも荷受台30を容易に展開作業ができる角度に起立する。図6の状態となったら、シャフト25を軸にして荷受台30を折り畳まれた状態のまま回動させて水平に倒し、続いて荷受台先端部35を荷受台基端部33に対して回動させ、荷受台30を水平姿勢(荷受面を上向きに広げた状態)に展開する(図2参照)。
荷受台30を展開したら、荷受台30上に荷物等を適宜積載し、操作手段(図示せず)によって所定の操作を行ってリフトシリンダ26を伸縮させ、アームユニット20を昇降させる(図2及び図3参照)。
これらの手順を繰り返し行うことにより、作業者の荷台101に対する荷物の積み下ろしの作業を支援する。また、回転格納式荷受台昇降装置1を格納する際には、上記手順と逆の手順を行う。
上記基本構成の本実施の形態の回転格納式荷受台昇降装置1における主な特徴を次に説明する。
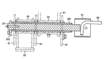
図7は図6中の荷受台30及びアームユニット20のVII矢視図、図8は図7中のVIII−VIII矢視断面図である。
図7及び図8に示したように、回転格納式荷受台昇降装置1には、展開姿勢にある荷受台30を起立方向に付勢し、荷受台30を折り畳む作業をアシストするトーションバー50が設けられている。
トーションバー50は、車幅方向に沿って延在し、左右のアームユニット20の一方(本実施の形態では左側のアームユニット20)に対して一端が固定されるとともに、他方のアームユニット(本実施の形態では右側のアームユニット20)側に延在し他端が荷受台30に対して固定可能な構成となっている。トーションバー50はまた、所望のアンツイスト力(捻り戻り力)を発現するように長さ、太さ、材質を設定されたバー状の鋼材であり、把持して捻り方向への拘束力を与えられるように両端が曲成されている。このトーションバー50の支持構造について次に説明する。
トーションバー50は、左端が左側のアームユニット20のシャフト25に対してブラケット51を介して固定されており、シャフト25と概略同軸上に配置されている。このとき、左側のアームユニット20のシャフト25は、第1及び第2のボス23,24のいずれか一方(本実施の形態では第2のボス24)に止めボルト52を介して固定されている。これにより、トーションバー50の一端は、ブラケット51、シャフト25、止めボルト52、第2のボス24を介してリンクアーム22に固定されており、トーションバー50の一端とアームユニット20が固定関係にある。図9は荷受台展開時におけるトーションバー50の一端の近傍部分を拡大して表した斜視図である。
トーションバー50の右端は、右側のアームユニット20に連結された右側のヒンジブラケット31に固定されたブラケット53に保持されている。荷受台展開時におけるトーションバー50の他端の近傍部分を拡大して表した斜視図を図10に、荷受台格納時におけるトーションバー50の他端の近傍部分を拡大して表した斜視図を図11に表す。
図10及び図11に示すように、上記ブラケット53は、トーションバー50の他端を回転自在に保持する保持部54と、荷受台30が垂直姿勢(起立姿勢)から展開側にあるときにトーションバー50の他端部を付勢してトーションバー50を捻る押板部55とを備えている。保持部54は押板部55に固定されており、トーションバー50を保持するスリットを有している。押板部55は右側のヒンジブラケット31の車幅方向の内側の壁面に固定されている。この押板部55は、端部が曲成された板状の部材であり、曲成部分によってトーションバー50を保持部54のスリット内に回転自在に拘束している。
押板部55は、荷受台30(ヒンジブラケット31)がほぼ垂直姿勢に起立した状態のとき、ニュートラルな状態にあるトーションバー50の他端の曲成部に当接し、それよりも展開側にヒンジブラケット31が倒れているときにトーションバー50を拘束(トーションバー50の他端の曲成部を付勢)し、ヒンジブラケット31の倒れ度合いに応じてトーションバー50に捻りを与える。一方、荷受台30(ヒンジブラケット31)が垂直姿勢から格納側にあるときには、押板部55はトーションバー50の他端から離れ、トーションバー50の拘束が解かれる(ニュートラルな状態となる)。
すなわち、トーションバー50は、荷受台30が垂直姿勢(起立姿勢)よりも展開側に倒れているときのみ荷受台30を起立方向に付勢し、荷受台30を折り畳む際の作業者の負担を軽減するようになっている。それに対し、荷受台30が格納側に倒れているときには、トーションバー50の捻りが解除され、荷受台30に付勢力は作用しない。
上記の本実施の形態の回転格納式荷受台昇降装置1により得られる作用効果を順次説明する。
(1)テールランプとの干渉回避
本実施の形態によれば、荷受台30の折り畳み支援機構として左右のアームユニット20の内側のスペースにトーションバー50を設け、アームユニット20の左右に折り畳み支援機構が突出しないように構成したので、荷受台30を格納する際に車両100のテールランプ102への干渉を回避する上で有利である。特許文献2に記載されているように荷受台昇降装置側にテールランプを移設する必要がなく、スライド格納式に比べて構造が簡単な回転格納式の荷受台昇降装置にあって、テールランプを車枠側の視認性の高い通常の位置に通常の設置状態で取り付け易い。
また、車枠100側の構成によって折り畳み支援機構のみならず荷受台のテールランプへの干渉が懸念される場合には、本実施の形態の如く荷受台30の幅をテールランプ102の間隔より狭くすることで、より確実にテールランプ102との干渉を回避することができる。言い換えれば、車両100側の構成によって荷受台30自体がテールランプ102に干渉する恐れがない場合には、荷受台30を狭める必要はなく、荷台101の床面101aの幅寸法程度に確保することができる。
(2)格納姿勢の安定化
一般に荷受台の折り畳み作業の支援機構は、折り畳み作業のみならず、図6に示したように支持ローラに立て掛けた荷受台を展開する作業もアシストするために複数の弾性体を組み合わせて構成され、展開側に倒れているときも格納側に倒れているときも常時垂直姿勢に荷受台を付勢する構成となっているのが通常である。この場合、格納時において荷受台は自重で姿勢を保ってはいるものの、常時起立方向に付勢力を受けている。そのため、荷受台30を展開又は格納する際にアームユニット20を昇降させるときなど動的状態の下では、荷受台30の支持ローラ14との接触力が動作に伴って変動し易い。
それに対し、本実施の形態の場合、荷受台30が垂直姿勢よりも格納側に倒れているときには荷受台30にトーションバー50の付勢力が作用しない構成であるため、荷受台30の折り畳み支援機構を備えながらも荷受台30の支持ローラ14との接触力の変動を抑えることができ、荷受台30の支持ローラ14に対する転接動作をより安定化することができる。
なお、支持ローラ14に立て掛けられた状態から荷受台30を展開するのに要する力は荷受台30を折り畳む場合に比べて元々十分に小さいが、本実施の形態のように荷受台30をテールランプ102の間隔より狭めた場合、荷受台30の重量そのものを軽量化することができるので展開作業をより楽にすることができる。
<第2の実施の形態>
図12は本発明の第2の実施の形態に係る回転格納式荷受台昇降装置を図7と同じ見方で図示した矢視図、図13は図12中のXIII−XIII矢視断面図である。これらの図において既出図面と同様の部分には既出図面と同符号を付して説明を省略する。
本実施の形態の回転格納式荷受台昇降装置1Aが第1の実施の形態の回転格納式荷受台昇降装置1と相違する点は、アームユニット20Aにおける荷受台30との連結構造にある。
本実施の形態のアームユニット20Aにおいて、シャフト25は第3のボス201に通され、第3のボス201は第1及び第2のボス23,24と荷受台30のヒンジブラケット31に通されている。また、第3のボス201の車幅方向内側の端部は、3本のヒンジブラケット31のうちの一つ(本実施の形態では最も車幅方向内側のヒンジブラケット31)にプレート、ボルト等を介して固定されている。第3のボス201の車幅方向寸法は、3本のヒンジブラケット31とこれらに介在する第1及び第2のボス23,24の車幅方向寸法の合計寸法よりも広い。すなわち、第1及び第2のボス23,24とヒンジブラケット31は、第1の実施の形態のようにシャフト25には接しておらず、シャフト25との間に第3のボス201を介在させている。
また、第1の実施の形態では左側のアームユニット20において第1及び第2のボス23,24の少なくとも一方をシャフト25に固定することでシャフト25をアームユニット20に固定したが、本実施の形態では第3のボス201に対してシャフト25を摺動自在とするため、ブリッジ202を介してシャフト25をリフトアーム21及びリンクアーム22のいずれか一方(本実施の形態ではリンクアーム22)に固定している。ブリッジ202は、第3のボス201の車幅方向外側の端部よりも外側に位置しており、一端がシャフト25の車幅方向外側の端部に、他端がリンクアーム22にそれぞれ固定されている。すなわち、第3のボス201を跨ぎ、第3のボス201と接することなくシャフト25とリンクアーム22とを連結している。これにより、トーションバー50の一端が、ブラケット51、シャフト25、ブリッジ202を介してリンクアーム22に連結され、アームユニット20Aに対して固定されている。
このように、第1の実施の形態ではリンクアーム22に対して固定関係にあるシャフト25に対し荷受台30のヒンジブラケット31が摺動する構成であったのに対し、本実施の形態では第3のボス201がシャフト25を覆いシャフト25に対して摺動可能である。そのため、シャフト25に対して局所的に摺動する部材がなく、第1の実施の形態に比べてシャフト25の摩耗を抑制し、荷受台30とアームユニット20Aの連結構造を長寿命化することができる。
なお、上記に説明した点以外、本実施の形態の回転格納式荷受台昇降装置1Aは第1の実施の形態の回転格納式荷受台昇降装置1と同様の構成であり、同様の効果を得ることができることは言うまでもない。
以上の各実施の形態においては、荷受台30を昇降させる手段として油圧駆動式のリフトシリンダ26を例に挙げて説明したが、例えば電動シリンダ等の動力源の異なるシリンダに代えることもでき、またシリンダに限らずモータを用いることもできる。この場合も同様の効果を得ることができる。また、車両の後方下部側に格納可能な回転格納式荷受台昇降装置に本発明を適用した場合を例にとって説明したが、先述した効果(2)を得る限りでは、車両の側方(右側又は左側)の下部側に格納可能な回転格納式荷受台昇降装置にも本発明は適用可能である。
第1の実施の形態に係る回転格納式荷受台昇降装置を搭載した車両の後部の斜視図である。 展開した荷受台が下降位置にある状態を表した車両の後部の斜視図である。 展開した荷受台が上昇位置にある状態を表した車両の後部の斜視図である。 第1の実施の形態に係る回転格納式荷受台昇降装置の展開姿勢を表す斜視図である。 第1の実施の形態に係る回転格納式荷受台昇降装置の格納姿勢を表す斜視図である。 折り畳んだ荷受台を支持ローラに立て掛けた状態を表した車両の後部の斜視図である。 図6中の矢印VIIによる荷受台及びアームユニットの矢視図である。 図7中のVIII−VIII線による矢視断面図である。 第1の実施の形態に係る回転格納式荷受台昇降装置に備えられたトーションバーの荷受台展開時における一端近傍部分を拡大して表した斜視図である。 第1の実施の形態に係る回転格納式荷受台昇降装置に備えられたトーションバーの荷受台展開時における他端近傍部分を拡大して表した斜視図である。 第1の実施の形態に係る回転格納式荷受台昇降装置に備えられたトーションバーの荷受台格納時における他端近傍部分を拡大して表した斜視図である。 第2の実施の形態に係る回転格納式荷受台昇降装置を図7と同じ見方で図示した矢視図である。 図12中のXIII−XIII線による矢視断面図である。
符号の説明
1,1A 回転格納式荷受台昇降装置
10 基部ユニット
20,20A アームユニット
21 リフトアーム
22 リンクアーム
23 第1のボス
24 第2のボス
25 シャフト
30 荷受台
31 ヒンジブラケット
50 トーションバー
53 ブラケット
54 保持部
55 押板部
100 車両
102 テールランプ
201 第3のボス

Claims (6)

  1. 車枠の下部側に固定された基部と、
    前記基部に対して上下に回動可能に連結された平行リンク構造の一対のアームユニットと、
    前記アームユニットに対して上下方向に回動可能に連結された荷受台と、
    前記一対のアームユニットの一方に対して一端が固定されるとともに、他方のアームユニット側に延在し他端が前記荷受台に対して固定可能なトーションバーと
    を備えたことを特徴とする回転格納式荷受台昇降装置。
  2. 請求項1の回転格納式荷受台昇降装置において、前記荷受台の幅寸法は、前記車枠の後部の両側に設けた左右のテールランプの間隔寸法以下であることを特徴とする回転格納式荷受台昇降装置。
  3. 請求項1又は2の回転格納式荷受台昇降装置において、前記荷受台に対して固定され、前記荷受台が垂直姿勢から展開側にあるときに前記トーションバーを拘束し、垂直姿勢から格納側にあるときに前記トーションバーの拘束を解くブラケットを備えたことを特徴とする回転格納式荷受台昇降装置。
  4. 請求項3の回転格納式荷受台昇降装置において、前記ブラケットは、前記トーションバーを回転自在に保持する保持部と、前記荷受台が垂直姿勢から展開側にあるときに前記トーションバーの他端部を付勢して前記トーションバーを捻る押板部とを備えていることを特徴とする回転格納式荷受台昇降装置。
  5. 請求項1−4のいずれかの回転格納式荷受台昇降装置において、
    前記アームユニットは、前記基部に対して上下方向に回動可能に連結されたリフトアーム及びリンクアームと、前記リフトアーム及び前記リンクアームの先端部に設けられた第1及び第2のボスと、前記第1及び第2のボス並びに前記荷受台のヒンジブラケットに通されたシャフトとを備え、
    前記シャフトは、前記第1及び第2のボスのいずれか一方及び前記トーションバーの一端と固定され、前記トーションバーの一端を前記アームユニットに対して固定していることを特徴とする回転格納式荷受台昇降装置。
  6. 請求項1−4のいずれかの回転格納式荷受台昇降装置において、
    前記アームユニットは、前記基部に対して上下方向に回動可能に連結されたリフトアーム及びリンクアームと、前記リフトアーム及び前記リンクアームの先端部に設けられた第1及び第2のボスと、前記第1及び第2のボス並びに前記荷受台のヒンジブラケットに通された第3のボスと、前記第3のボスに通されたシャフトとを備え、
    前記シャフトは、前記リフトアーム及び前記リンクアームのいずれか一方及び前記トーションバーの一端と固定され、前記トーションバーの一端を前記アームユニットに対して固定していることを特徴とする回転格納式荷受台昇降装置。
JP2008219186A 2008-08-28 2008-08-28 回転格納式荷受台昇降装置 Expired - Fee Related JP5160348B2 (ja)

Priority Applications (1)

Application Number Priority Date Filing Date Title
JP2008219186A JP5160348B2 (ja) 2008-08-28 2008-08-28 回転格納式荷受台昇降装置

Applications Claiming Priority (1)

Application Number Priority Date Filing Date Title
JP2008219186A JP5160348B2 (ja) 2008-08-28 2008-08-28 回転格納式荷受台昇降装置

Publications (3)

Publication Number Publication Date
JP2010052569A true JP2010052569A (ja) 2010-03-11
JP2010052569A5 JP2010052569A5 (ja) 2011-03-24
JP5160348B2 JP5160348B2 (ja) 2013-03-13

Family

ID=42068947

Family Applications (1)

Application Number Title Priority Date Filing Date
JP2008219186A Expired - Fee Related JP5160348B2 (ja) 2008-08-28 2008-08-28 回転格納式荷受台昇降装置

Country Status (1)

Country Link
JP (1) JP5160348B2 (ja)

Citations (6)

* Cited by examiner, † Cited by third party
Publication number Priority date Publication date Assignee Title
JPS537025A (en) * 1976-07-07 1978-01-23 Kyokuto Kaihatsu Kogyo Co Ltd Auxiliary device for opening and closing rear stand door
JPS6223836A (ja) * 1985-07-24 1987-01-31 Kyokuto Kaihatsu Kogyo Co Ltd 貨物自動車における荷役装置
JPH09240352A (ja) * 1996-03-06 1997-09-16 Kyokuto Kaihatsu Kogyo Co Ltd 荷受台昇降装置における荷受台開閉補助装置
JP2002114075A (ja) * 2000-10-06 2002-04-16 Kyokuto Kaihatsu Kogyo Co Ltd 荷受台昇降装置
JP2003080998A (ja) * 2001-09-11 2003-03-19 Toyota Auto Body Co Ltd 荷物昇降装置
JP2003175760A (ja) * 2001-12-10 2003-06-24 Nippon Lift Kk 床下格納式昇降装置

Patent Citations (6)

* Cited by examiner, † Cited by third party
Publication number Priority date Publication date Assignee Title
JPS537025A (en) * 1976-07-07 1978-01-23 Kyokuto Kaihatsu Kogyo Co Ltd Auxiliary device for opening and closing rear stand door
JPS6223836A (ja) * 1985-07-24 1987-01-31 Kyokuto Kaihatsu Kogyo Co Ltd 貨物自動車における荷役装置
JPH09240352A (ja) * 1996-03-06 1997-09-16 Kyokuto Kaihatsu Kogyo Co Ltd 荷受台昇降装置における荷受台開閉補助装置
JP2002114075A (ja) * 2000-10-06 2002-04-16 Kyokuto Kaihatsu Kogyo Co Ltd 荷受台昇降装置
JP2003080998A (ja) * 2001-09-11 2003-03-19 Toyota Auto Body Co Ltd 荷物昇降装置
JP2003175760A (ja) * 2001-12-10 2003-06-24 Nippon Lift Kk 床下格納式昇降装置

Also Published As

Publication number Publication date
JP5160348B2 (ja) 2013-03-13

Similar Documents

Publication Publication Date Title
JP4250165B2 (ja) 昇降装置付車両及び昇降装置
JP5160348B2 (ja) 回転格納式荷受台昇降装置
JP5161721B2 (ja) 車両用昇降装置
JP4818897B2 (ja) 貨物自動車用突入防止装置、およびこれを備える貨物自動車
JP4037399B2 (ja) 格納式荷受台昇降装置
JP2010137712A (ja) 荷受台昇降装置
JP2003112559A (ja) 荷受台昇降装置の配線構造
JP6202737B2 (ja) 荷受台昇降装置
JP3965405B2 (ja) ストッパ装置、これを用いた荷受台及び荷受台昇降装置
JP4177636B2 (ja) 荷受台昇降装置
JP3409839B2 (ja) 荷受台昇降装置
JP6202736B2 (ja) 荷受台昇降装置
JP3131617B2 (ja) 昇降装置
JP4083535B2 (ja) 荷受台昇降装置
JP6285262B2 (ja) 貨物自動車用バンパ装置およびこれを備える貨物自動車
JP5546393B2 (ja) 荷受台昇降装置
JP3110457U (ja) 格納式荷受台昇降装置における荷受台格納装置
JP4188656B2 (ja) 荷受台昇降装置
JP4038500B2 (ja) 車両の荷役装置
JP4322862B2 (ja) 格納式荷受台昇降装置を備えた車両
JP4172989B2 (ja) 荷受台昇降装置
JP3110634U (ja) 格納式荷受台昇降装置におけるスライド駆動装置
JP3110271U (ja) 格納式荷受台昇降装置における折畳み式荷受台
JP4108520B2 (ja) 荷受台昇降装置
JP4188660B2 (ja) 荷受台昇降装置

Legal Events

Date Code Title Description
A521 Written amendment

Free format text: JAPANESE INTERMEDIATE CODE: A523

Effective date: 20110207

A621 Written request for application examination

Free format text: JAPANESE INTERMEDIATE CODE: A621

Effective date: 20110329

A977 Report on retrieval

Free format text: JAPANESE INTERMEDIATE CODE: A971007

Effective date: 20120928

A131 Notification of reasons for refusal

Free format text: JAPANESE INTERMEDIATE CODE: A131

Effective date: 20121002

A521 Written amendment

Free format text: JAPANESE INTERMEDIATE CODE: A523

Effective date: 20121120

TRDD Decision of grant or rejection written
A01 Written decision to grant a patent or to grant a registration (utility model)

Free format text: JAPANESE INTERMEDIATE CODE: A01

Effective date: 20121211

A61 First payment of annual fees (during grant procedure)

Free format text: JAPANESE INTERMEDIATE CODE: A61

Effective date: 20121212

R150 Certificate of patent or registration of utility model

Ref document number: 5160348

Country of ref document: JP

Free format text: JAPANESE INTERMEDIATE CODE: R150

Free format text: JAPANESE INTERMEDIATE CODE: R150

FPAY Renewal fee payment (event date is renewal date of database)

Free format text: PAYMENT UNTIL: 20151221

Year of fee payment: 3

FPAY Renewal fee payment (event date is renewal date of database)

Free format text: PAYMENT UNTIL: 20151221

Year of fee payment: 3

R250 Receipt of annual fees

Free format text: JAPANESE INTERMEDIATE CODE: R250

R250 Receipt of annual fees

Free format text: JAPANESE INTERMEDIATE CODE: R250

R250 Receipt of annual fees

Free format text: JAPANESE INTERMEDIATE CODE: R250

LAPS Cancellation because of no payment of annual fees