JP2010052492A - 車両用パワーユニット - Google Patents

車両用パワーユニット Download PDF

Info

Publication number
JP2010052492A
JP2010052492A JP2008217191A JP2008217191A JP2010052492A JP 2010052492 A JP2010052492 A JP 2010052492A JP 2008217191 A JP2008217191 A JP 2008217191A JP 2008217191 A JP2008217191 A JP 2008217191A JP 2010052492 A JP2010052492 A JP 2010052492A
Authority
JP
Japan
Prior art keywords
gear
shaft
shifter
transmission mechanism
crankshaft
Prior art date
Legal status (The legal status is an assumption and is not a legal conclusion. Google has not performed a legal analysis and makes no representation as to the accuracy of the status listed.)
Granted
Application number
JP2008217191A
Other languages
English (en)
Other versions
JP5129695B2 (ja
Inventor
Shinichiro Keyaki
真一郎 欅
Hitoshi Yokoya
仁 横谷
Current Assignee (The listed assignees may be inaccurate. Google has not performed a legal analysis and makes no representation or warranty as to the accuracy of the list.)
Honda Motor Co Ltd
Original Assignee
Honda Motor Co Ltd
Priority date (The priority date is an assumption and is not a legal conclusion. Google has not performed a legal analysis and makes no representation as to the accuracy of the date listed.)
Filing date
Publication date
Application filed by Honda Motor Co Ltd filed Critical Honda Motor Co Ltd
Priority to JP2008217191A priority Critical patent/JP5129695B2/ja
Publication of JP2010052492A publication Critical patent/JP2010052492A/ja
Application granted granted Critical
Publication of JP5129695B2 publication Critical patent/JP5129695B2/ja
Expired - Fee Related legal-status Critical Current
Anticipated expiration legal-status Critical

Links

Images

Landscapes

  • Arrangement Of Transmissions (AREA)
  • Cylinder Crankcases Of Internal Combustion Engines (AREA)
  • Structure Of Transmissions (AREA)

Abstract

【課題】エンジンケースに、メインシャフトおよびカウンタシャフト間に設けられる歯車変速機構が収容されるとともに、出力軸が歯車変速機構からの動力が伝達されるようにして回転自在に支承され、クランクシャフトの軸方向一方でエンジンケース内に形成される作動室にクラッチまたはトルクコンバータが収容される車両用パワーユニットにおいて、副変速機構の配置によっても良好な重量バランスが得られるようにする。
【解決手段】カウンタシャフト46および出力軸102間に設けられる一対の歯車列GA,GBと、両歯車列GA,GBを択一的に確立すべく両歯車列GA,GB間に配置されるシフター108とを有して変速比を2段階で切換えることを可能とした副変速機構13が、クランクシャフトの軸方向他方側に配設される。
【選択図】 図3

Description

本発明は、クランクシャフトを回転自在に支承するエンジンケースに、前記クランクシャフトと平行な軸線を有して前記エンジンケースに回転自在に支承されるメインシャフトおよびカウンタシャフト間に択一的に確立可能な複数変速段の歯車列が設けられて成る歯車変速機構が収容されるとともに、前記クランクシャフトと平行な軸線を有する出力軸が前記歯車変速機構からの動力が伝達されるようにして回転自在に支承され、前記クランクシャフトの軸方向一方で前記エンジンケース内に形成される作動室に、前記クランクシャフトおよび前記メインシャフト間に介設されるクラッチまたはトルクコンバータが収容される車両用パワーユニットに関する。
クランクシャフトと、歯車変速機構のメインシャフトおよびカウンタシャフト、出力軸とが相互に平行な軸線を有してエンジンケースに回転自在に支承され、出力軸の一端がエンジンケースから突出されるようにした車両用パワーユニットが、特許文献1等で既に知られている。
特開2007−146816号公報
ところで、このような車両用ユニットにおいて、歯車変速機構から出力される動力をさらに変速して出力軸に伝達する副変速機構を装着する場合、その副変速機構の配置によってパワーユニットの重量バランスが一方に偏ることは避けたい。
本発明は、かかる事情に鑑みてなされたものであり、副変速機構の配置によっても良好な重量バランスが得られるようにした車両用パワーユニットを提供することを目的とする。
上記目的を達成するために、請求項1記載の発明は、クランクシャフトを回転自在に支承するエンジンケースに、前記クランクシャフトと平行な軸線を有して前記エンジンケースに回転自在に支承されるメインシャフトおよびカウンタシャフト間に択一的に確立可能な複数変速段の歯車列が設けられて成る歯車変速機構が収容されるとともに、前記クランクシャフトと平行な軸線を有する出力軸が前記歯車変速機構からの動力が伝達されるようにして回転自在に支承され、前記クランクシャフトの軸方向一方で前記エンジンケース内に形成される作動室に、前記クランクシャフトおよび前記メインシャフト間に介設されるクラッチまたはトルクコンバータが収容される車両用パワーユニットにおいて、前記カウンタシャフトおよび前記出力軸間に設けられる一対の歯車列と、前記カウンタシャフトおよび前記出力軸の軸線に沿う方向に移動して前記両歯車列を択一的に確立すべく前記両歯車列間に配置されるシフターとを有して変速比を2段階で切換えることを可能とした副変速機構を備え、該副変速機構が前記クランクシャフトの軸方向他方側に配設されることを特徴とする。
また請求項2記載の発明は、請求項1記載の発明の構成に加えて、前記メインシャフトおよび前記カウンタシャフトの軸線間の距離よりも大きな半径を有する前記クラッチが、前記メインシャフトと同軸にして前記作動室に収容され、前記クランクシャフトの軸方向他方で前記カウンタシャフトに前記シフターが支承されることを特徴とする。
請求項3記載の発明は、請求項1または2記載の発明の構成に加えて、前記カウンタシャフトに、前記歯車変速機構および前記副変速機構に潤滑油を導く油孔が同軸に穿設されることを特徴とする。
請求項4記載の発明は、請求項1〜3のいずれかに記載の発明の構成に加えて、前記副変速機構の前記シフターを抱持する副変速機構用シフトフォークが、前記メインシャフトおよび前記カウンタシャフトと平行な軸線を有するとともに軸方向移動可能なシフター軸に固定され、該シフター軸に設けられたラックに、前記シフター軸の軸線と直交する平面に回転軸線を配置したピニオンが噛合されることを特徴とする。
請求項5記載の発明は、請求項4記載の発明の構成に加えて、前記ピニオンが、前記クランクシャフトおよび前記カウンタシャフトの軸線に直交する平面への投影図上で、前記クランクシャフトおよび前記カウンタシャフトの軸線を結ぶ直線の上方に配置されることを特徴とする。
請求項6記載の発明は、請求項1〜5のいずれかに記載の発明の構成に加えて、前記副変速機構が備える一対の前記歯車列の一部をそれぞれ構成する歯車に、それらの歯車の外周よりも外方に配置される被係合部が設けられ、該被係合部に係合し得るドッグが前記シフターに設けられることを特徴とする。
さらに請求項7記載の発明は、請求項4記載の発明の構成に加えて、前記歯車変速機構は、後進歯車列の一部を構成する後進アイドル歯車を備え、前記カウンタシャフトの軸方向に移動可能なシフターを抱持する前記副変速機構用シフトフォークが固定される前記シフター軸が、その軸方向から見て前記後進アイドル歯車と重なる位置に配置されることを特徴とする。
請求項1記載の発明によれば、クランクシャフトの軸方向一方でクランクシャフトおよびメインシャフト間にクラッチまたはトルクコンバータが介設され、クランクシャフトの軸方向他方でカウンタシャフトおよび出力軸間に副変速機構が介設されるので、クランクシャフトの軸方向一方および他方に、クラッチまたはトルクコンバータと、副変速機構とを振り分けて配置するようにしてパワーユニットの重量バランスを良好なものとすることができる。
また請求項2記載の発明によれば、クランクシャフトの軸方向一方側の作動室に、メインシャフトおよびカウンタシャフトの軸線間の距離よりも大きな半径を有するクラッチが収容され、クランクシャフトの軸方向他方でカウンタシャフトに副変速機構のシフターが支承されるので、クラッチおよび副変速機構の干渉を回避しつつパワーユニットの重量バランスを良好なものとすることができる。
請求項3記載の発明によれば、歯車変速機構および副変速機構に潤滑油を導く油孔がカウンタシャフトに同軸に穿設されるので、油路構成を簡素化することができる。
請求項4記載の発明によれば、シフターを抱持する副変速機構用シフトフォークが軸方向移動可能なシフター軸に固定され、該シフター軸に設けられたラックに、シフター軸の軸線と直交する平面に回転軸線を配置したピニオンが噛合されるので、副変速機構を変速作動せしめる機構の簡素化を図るとともにエンジンケースからの突出を避けることができる。
請求項5記載の発明によれば、シフター軸のラックに噛合するピニオンが、クランクシャフトおよびカウンタシャフトの軸線に直交する平面への投影図上で、クランクシャフトおよびカウンタシャフトの軸線を結ぶ直線の上方に配置されるので、ピニオンの地上高を高くし、飛び石等からピニオンを保護することができる。
請求項6記載の発明によれば、シフターに設けられるドッグに係合する被係合部が、歯車列の一部をそれぞれ構成する歯車の外周よりも外方に配置されるようにして前記歯車に設けられるので、前記歯車を小型化しつつ、ドッグおよび被係合部の係合、当接面積を前記歯車の半径方向で大きくしてトルク伝達を良好にするとともに、前記歯車の軸方向での副変速機構の長さを短くすることができる。
さらに請求項7記載の発明によれば、歯車変速機構が備える後進歯車列の一部を構成する後進アイドル歯車と、カウンタシャフトの軸方向に移動可能なシフターを抱持する副変速機構用シフトフォークが固定されるシフター軸とが軸方向から見て重なる位置に配置されるので、シフター軸を、メインシャフトおよびカウンタシャフトとの干渉を避けるようにしつつカウンタシャフトに近接して配置することができる。
以下、本発明の実施の形態を、添付の図面に示した本発明の実施例に基づいて説明する。
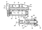
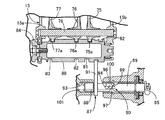
図1〜図8は本発明の第1実施例を示すものであり、図1はエンジン本体の縦断面図であって図2の1−1線に沿う断面図、図2は図1の2矢視方向から見たエンジン本体の後面図、図3は図1の歯車変速機構の一部を拡大して示す断面図、図4は歯車変速機構のうち後進歯車列の構成を示すための図2の4−4線に沿う断面図、図5はシフトドラムの外周面の展開図、図6は図1のシフトドラム付近を拡大して示す断面図、図7はシフト規制機構が後進歯車列の確立を許容する状態にあるときの図6に対応した断面図、図8は図3の8−8線拡大断面図である。
先ず図1および図2において、たとえば荒地走行用車両に搭載されるパワーユニットは、エンジンEと、該エンジンEにおけるエンジン本体11のクランクケース15内に収容される歯車変速機構12および副変速機構13とを備える。
前記エンジン本体11は、軸線を車幅方向(図1の紙面に平行な方向ならびに図2の紙面に垂直な方向)に沿わせたクランクシャフト14を回転自在に支承するクランクケース15と、該クランクケース15の上部に結合されるシリンダブロック16と、該シリンダブロック16の上部に結合されるシリンダヘッド17と、シリンダヘッド17の上部に結合されるヘッドカバー18とを備え、シリンダブロック16のシリンダボア19に摺動可能に嵌合されるピストン20が、前記クランクシャフト14にコネクティングロッド21およびクランクピン22を介して連接される。
前記クランクケース15は、前部ケース半体15aと、後部ケース半体15bとが前記クランクシャフト14の回転軸線に直交する平面で結合されて成る。前部ケース半体15aには、前部ケース半体15aから前方に延びる前部延長ケース23が結合され、該前部延長ケース23の前端開放部は前部カバー24で閉じられる。また後部ケース半体15bには、後方側に突出する後部延長ケース25が結合され、この後部延長ケース25の開放端を塞ぐ後部カバー26が後部延長ケース25に結合される。而してクランクケース15、前部延長ケース23、前部カバー24、後部延長ケース25および後部カバー26がエンジンケース27を構成する。
前記前部ケース半体15a、前部延長ケース23および前部カバー24内には作動室28が形成され、クランクケース15の前部ケース半体15aから突出したクランクシャフト14の一端は前部カバー24で回転自在に支承され、前部カバー24に近接した位置でクランクシャフト14の一端部には、前記作動室28に収容される遠心クラッチ29が一方向クラッチ30を介して装着される。
クランクケース15から突出したクランクシャフト14の他端部には、発電機31のアウターロータ32が固定され、アウターロータ32内に同時期に配置されるインナーステータ33が後部延長ケース25に固定される。また後部延長ケース25の上部外面には、スタータモータ34が取付けられており、このスタータモータ34の動力を伝達する歯車列35と前記アウターロータ32との間に一方向クラッチ36が介装される。
前記遠心クラッチ29は、クランクシャフト14に固定されるドライブプレート38と、クランクシャフト14に相対回転可能に装着された駆動歯車39とともに回転するようにして前記ドライブプレート38を同軸に覆う椀状のクラッチハウジング40と、クランクシャフト14の回転に伴う遠心力の作用に応じてクラッチハウジング40の内周に摩擦係合することを可能としてドライブプレート38に回動可能に軸支されるクラッチウエイト41とを備えるものであり、一方向クラッチ30が、駆動歯車39からクランクシャフト14への動力伝達を可能とすべくクラッチハウジング40およびドライブプレート38間に設けられる。
図3を併せて参照して、歯車変速機構12は、同一軸線まわりの相対回転を可能として同軸に配置されるとともにクランクシャフト14の回転軸線と平行な軸線まわりの回転を可能としてクランクケース15に支承される第1および第2メインシャフト44,45と、第1および第2メインシャフト44,45と平行な軸線を有して前記クランクケース15および後部カバー26に回転自在に支承されるカウンタシャフト46との間に、選択的な確立を可能とした複数変速段の歯車列が設けられて成るものであり、この実施例では、第1メインシャフト44およびカウンタシャフト46間に、第1速歯車列G1、第3速歯車列G3および第5速歯車列G5が設けられ、第2メインシャフト45およびカウンタシャフト46間に、第2速歯車列G2、第4速歯車列G4および後進歯車列GRが設けられる。
第1メインシャフト44は、クランクケース15の前部ケース半体15aに一対のボールベアリング47…を介して回転自在に支承される第2メインシャフト45を、相対回転可能として同軸に貫通するものであり、第1メインシャフト44の一端部は前部カバー24にローラベアリング54を介して回転自在に支承され、第1メインシャフト44の他端部はクランクケース15の後部ケース半体15bにボールベアリング55を介して回転自在に支承される。また第2メインシャフト45および第1メインシャフト44間には複数のニードルベアリング48…が介装される。
作動室28内で第1メインシャフト44には、伝動筒軸49が相対回転可能に装着されており、該伝動筒軸49には、クランクシャフト14に相対回転可能に装着された前記駆動歯車39、該駆動歯車39に噛合する被動歯車50およびラバーダンパ51を介して動力が伝達される。
また伝動筒軸49および第1メインシャフト44間には第1油圧クラッチ52が設けられ、伝動筒軸49および第2メインシャフト45間には第2油圧クラッチ53が設けられる。すなわち遠心クラッチ29と、第1および第2油圧クラッチ52,53とは、クランクシャフト14と、第1および第2メインシャフト44、45との間に介設されるようにして作動室28に収容されるものであり、第1および第2油圧クラッチ52,53は、第1および第2メインシャフト44,45の軸線と、カウンタシャフト46の軸線との間の距離よりも大きな半径を有して前記作動室28に収容される。
而して第1油圧クラッチ52が動力伝達状態にあって第1メインシャフト44にクランクシャフト14から動力が伝達されているときには、第1、第3および第5速歯車列G1,G3,G5のうち択一的に確立した歯車列を介して第1メインシャフト44からカウンタシャフト46に動力が伝達され、第2油圧クラッチ53が動力伝達状態にあって第2メインシャフト45にクランクシャフト14から動力が伝達されているときには、第2、第4および後進歯車列G2,G4,GRのうち択一的に確立した歯車列を介して第2メインシャフト45からカウンタシャフト46に動力が伝達される。
第1速歯車列G1は、軸方向位置を一定として第1メインシャフト44に相対回転可能に支承される第1速用駆動歯車57と、カウンタシャフト46に相対回転不能に結合されるとともに第1速用駆動歯車57に噛合する第1速用被動歯車58とから成り、第3速歯車列G3は、軸方向位置を一定として第1メインシャフト44に相対回転可能に支承される第3速用駆動歯車59と、前記カウンタシャフト46に相対回転不能に結合されるとともに第3速用駆動歯車59に噛合する第3速用被動歯車60とから成る。また第5速歯車列G5は、軸方向のスライド作動を可能として第1および第3速用駆動歯車57,59間に配置されて第1メインシャフト44に相対回転不能に結合される第5速用駆動歯車61と、軸方向位置を一定としてカウンタシャフト46に相対回転可能に支承されるとともに第5速用駆動歯車61に噛合する第5速用被動歯車62とから成る。
第2速歯車列G2は、第2メインシャフト45に一体に設けられる第2速用駆動歯車63と、軸方向位置を一定としてカウンタシャフト46に回転自在に支承されるとともに第2速用駆動歯車63に噛合する第2速用被動歯車64とから成り、第4速歯車列G4は、第2メインシャフト45に一体に設けられる第4速用駆動歯車65と、軸方向位置を一定としてカウンタシャフト46に相対回転可能に支承されるとともに第4速用駆動歯車65に噛合する第4速用被動歯車66とから成る。
図4において、前記後進歯車列GRは、第2速用駆動歯車63と、第2速用駆動歯車63に噛合する第1後進アイドル歯車67と、第1後進アイドル歯車67と一体に形成される第2後進アイドル歯車68と、軸方向位置を一定としてカウンタシャフト46に相対回転可能に支承されるとともに第2後進アイドル歯車68に噛合する後進用被動歯車69とから成り、一体の第1および第2後進アイドル歯車67,68は、第1メインシャフト44、第2メインシャフト45およびカウンタシャフト46と平行な軸線を有してクランクケース15に両端部が支持された後進アイドル軸70で回転自在に支承されている。
第1速用駆動歯車57および第3速用駆動歯車59間で第1メインシャフト44には、第1シフタ72が相対回転不能かつ軸方向スライド可能に支承されており、第5速用駆動歯車61は第1シフタ72に一体に設けられる。この第1シフタ72は、第1速用駆動歯車57に係合して第1速歯車列G1を確立する位置と、第3速用駆動歯車59に係合して第3速歯車列G3を確立する位置と、第1および第3速用駆動歯車57,59のいずれにも係合しない中間位置(ニュートラル状態)とを切換えて第1メインシャフト44の軸方向にスライド可能である。
また第3速歯車列G3の第3速用被動歯車60は、第5速用被動歯車62および後進用被動歯車69間でカウンタシャフト46に相対回転不能かつ軸方向スライド可能に支承される第2シフタ73に一体に設けられており、第2シフタ73は第3速用駆動歯車59および第3速用被動歯車60の噛合状態を保持しつつ、第5速用被動歯車62に係合する位置ならびに後進用被動歯車69に係合する位置間でカウンタシャフト46の軸方向にスライド可能である。而して第1シフタ72が中間位置にある状態で第2シフタ73が第5速用被動歯車62に係合すると第5速歯車列G5が確立する。
さらに第2速用被動歯車64および第4速用被動歯車66間でカウンタシャフト46には、第3シフタ74が相対回転不能かつ軸方向スライド可能に支承されており、この第3シフタ74は、第2速用被動歯車64に係合して第2速歯車列G2を確立する位置と、第4速用被動歯車66に係合して第4速歯車列G4を確立する位置と、第2および第4速用被動歯車64,66のいずれにも係合しない中間位置(ニュートラル状態)とを切換えてカウンタシャフト46の軸方向にスライド可能である。而して第1および第3シフタ72,74が中間位置にある状態で第2シフタ73が後進用被動歯車69に係合すると後進歯車列GRが確立する。
図1で示すように、第1〜第3シフタ72,73,74は、第1〜第3シフトフォーク75,76,77で回転自在に保持されており、それらのシフトフォーク75〜77は、第1および第2メインシャフト44,45ならびにカウンタシャフト46と平行な軸線を有してクランクケース15に支持されたシフトフォーク軸78で、該シフトフォーク軸78の軸方向にスライド可能に支承される。またクランクケース15には、第1および第2メインシャフト44,45ならびにカウンタシャフト46と平行な軸線を有するシフトドラム80が軸線まわりに回動することを可能として支承されており、このシフトドラム80の外周面に設けられる第1〜第3のリード溝81,82,83に第1〜第3シフトフォーク75〜77に突設されたシフトピン75a,76a,77aがそれぞれ係合され、シフトドラム80が回動すると第1〜第3のリード溝81〜83のパターンに応じて第1〜第3シフトフォーク75〜77が軸方向にスライド作動する。
図5において、第1のリード溝81は、第1シフタ72を保持する第1シフトフォーク75のスライド作動をガイドするためのものであり、第1速用駆動歯車57に第1シフタ72を係合させるようにしてシフトドラム80の周方向に延びる第1速用歯車列確立部81aと、第3速用駆動歯車59に第1シフタ72を係合させるようにして第1速用歯車列確立部81aとはシフトドラム80の軸線方向にオフセットした位置で該シフトドラム80の周方向に延びる第3速用歯車列確立部81bと、第1および第3速用歯車列確立部81a,81b間を結ぶ連絡部81cと、第1シフタ72を中間位置に保持するための中間位置部81dとを有してシフトドラム80の全周にわたって設けられ、前記連絡部81cの中央部には、第1および第3速用駆動歯車57,59への係合を解除する位置に第1シフタ72を保持するニュートラル部81eが、前記シフトドラム80の周方向にわずかに延びて形成される。
また第2のリード溝82は、第2シフタ73を保持する第2シフトフォーク76のスライド作動をガイドするためのものであり、後進用被動歯車69に第2シフタ73を係合させるようにしてシフトドラム80の周方向に延びる後進用歯車列確立部82aと、第5速用被動歯車62に第2シフタ73を係合させるようにして後進用歯車列確立部82aとはシフトドラム80の軸線方向にオフセットした位置で該シフトドラム80の周方向に延びる第5速用歯車列確立部82bと、第2シフタ73を中間位置に保持するための中間位置部82cとを有してシフトドラム80の1周未満の外周に設けられ、後進用歯車列確立部82aおよび第5速用歯車列確立部82bは第2のリード溝82の両端に配置される。
さらに第3のリード溝83は、第3シフタ74を保持する第3シフトフォーク77のスライド作動をガイドするためのものであり、第2速用被動歯車64に第3シフタ74を係合させるようにしてシフトドラム80の周方向に延びる第2速用歯車列確立部83aと、第4速用被動歯車66に第3シフタ74を係合させるようにして第2速用歯車列確立部83aとはシフトドラム80の軸線方向にオフセットした位置で該シフトドラム80の周方向に延びる第4速用歯車列確立部83bと、第2および第4速用歯車列確立部83a,83b間を結ぶ連絡部83cと、第3シフタ74を中間位置に保持するための中間位置部83dとを有してシフトドラム80の全周にわたって設けられ、前記連絡部83cの中央部には、第2および第4速用被動歯車64,66への係合を解除する位置に第3シフタ74を保持するニュートラル部83eが、前記シフトドラム80の周方向にわずかに延びて形成される。
ところでシフトドラム80には、後進位置PR 、ニュートラル位置PN 、第1および第2速位置P1-2 、第2および第3速位置P2-3 、第3および第4速位置P3-4 、第4および第5速位置P4-5 、第5速位置P5 の各位置が間隔をあけて順次設定されている。
而して後進位置PR では、第1および第3のリード溝81,83の中間位置部81d,83dに第1および第3シフトフォーク75,77のシフトピン75a,77aを係合させるとともに第2のリード溝82の後進用歯車列確立部82aに第2シフトフォーク76のシフトピン76aを係合させて後進歯車列GRを確立する。またニュートラル位置PN では、第1〜第3のリード溝81〜83の中間位置部81d,82c,83dに第1〜第3シフトフォーク75〜77のシフトピン75a〜77aを係合させて各歯車列G1〜G5,GRのいずれをも未確立の状態とする。第1および第2速位置P1-2 では、第1のリード溝81の第1速用歯車列確立部81aに第1シフトフォーク75のシフトピン75aを係合し、第2のリード溝82の中間位置部82cに第2シフトフォーク76のシフトピン76aを係合し、第3のリード溝83の第2速用歯車列確立部83aに第3シフトフォーク77のシフトピン77aを係合して、第1および第2速歯車列G1,G2をともに確立する。第2および第3速位置P2-3 では、第1のリード溝81の第3速用歯車列確立部81bに第1シフトフォーク75のシフトピン75aを係合し、第2のリード溝82の中間位置部82cに第2シフトフォーク76のシフトピン76aを係合し、第3のリード溝83の第2速用歯車列確立部83aに第3シフトフォーク77のシフトピン77aを係合して、第2および第3速歯車列G2,G3をともに確立する。第3および第4速位置P3-4 では、第1のリード溝81の第3速用歯車列確立部81bに第1シフトフォーク75のシフトピン75aを係合し、第2のリード溝82の中間位置部82cに第2シフトフォーク76のシフトピン76aを係合し、第3のリード溝83の第4速用歯車列確立部83bに第3シフトフォーク77のシフトピン77aを係合して、第3および第4速歯車列G3,G4をともに確立する。第4および第5速位置P4-5 では、第1のリード溝81の中間位置部81dに第1シフトフォーク75のシフトピン75aを係合し、第2のリード溝82の第5速用歯車列確立部82bに第2シフトフォーク76のシフトピン76aを係合し、第3のリード溝83の第4速用歯車列確立部83bに第3シフトフォーク77のシフトピン77aを係合して、第4および第5速歯車列G4,G5をともに確立する。第5速位置P5 では、第1のリード溝81の中間位置部81dに第1シフトフォーク75のシフトピン75aを係合し、第2のリード溝82の第5速用歯車列確立部82bに第2シフトフォーク76のシフトピン76aを係合し、第3のリード溝83の中間位置部83dに第3シフトフォーク77のシフトピン77aを係合して第5速歯車列G5だけを確立する。
すなわちシフトアップ時には、高速段への切換前に高速段側の歯車列を予め確立することができ、シフトダウン時には、低速段への切換前に低速段側の歯車列を予め確立することができ、最も頻度の高い第5速での走行時には第5速歯車列G5だけが確立されている。
図1で示すように、シフトドラム80の一端には、該シフトドラム80とともに回動するシフトドラムセンター84が同軸に固定される。このシフトドラムセンター84は、送り機構85で所定角度ずつ間欠的に回動駆動されるものであり、この送り機構85は、シフトドラム80と平行な軸線を有してクランクケース15に回転自在に支承されるチェンジ軸86を有し、図示しない電動モータから伝達される動力で前記チェンジ軸86が回転するのに応じて、シフトドラム80が、上記後進位置PR 、ニュートラル位置PN 、第1および第2速位置P1-2 、第2および第3速位置P2-3 、第3および第4速位置P3-4 、第4および第5速位置P4-5 、第5速位置P5 の各位置を順次経過するように間欠駆動される。
前記シフトドラム80は、後進歯車列GRを確立する前には、シフト規制機構87によって、第1〜第5速歯車列G1〜G5および後進歯車列GRを非確立状態とするニュートラル位置PN に回動位置が規制される。
図6において、シフト規制機構87は、軸方向移動を可能とするとともに軸線まわりの回動を不能として前記シフトドラム80の軸線と平行に配置される第1インヒビタロッド88と、乗員の操作に応じて軸線まわりに回動することを可能として第1インヒビタロッド88と同軸に対向、配置される第2インヒビタロッド89と、第2インヒビタロッド89の回動に応じて第1インヒビタロッド88を軸方向に駆動するようにして第1および第2インヒビタロッド88,89間に設けられるカム機構90と、前記シフトドラム80の軸線に直交する平面内に配置されるとともに基端部が第1インヒビタロッド88に固着されるインヒビタアーム91と、該インヒビタアーム91の先端部を係合させるようにして前記シフトドラム80の外周に設けられるインヒビタ溝92とを備える。
図5に注目して、前記インヒビタ溝92は、第1〜第5速歯車列G1〜G5の確立時に前記インヒビタアーム91の先端部を係合させる前進溝部92aと、前記シフトドラム80の軸方向で前記前進溝部92aから前方側(図5の左側)にずれた位置に配置されるとともに前記後進歯車列GRの確立時に前記インヒビタアーム91の先端部を係合させる後進溝部92bと、ニュートラル位置PN に前記シフトドラム80が在るときに前記インヒビタアーム91の先端部を係合させるようにして前記前進溝部92aおよび前記後進溝部92b間を連結するニュートラル溝部92cとから成る。
しかも前記前進溝部92aおよび前記後進溝部92bは、前記シフトドラム80の周方向に延びて該シフトドラム80の外周に設けられており、前記ニュートラル溝部92cは、前進溝部92aおよび後進溝部92bに直角に連なるようにシフトドラム80の軸方向に延びて該シフトドラム80の外周に設けられる。
第1インヒビタロッド88の一端部はクランクケース15に設けられた有底の摺動孔93に摺動可能に嵌合される。また後部延長ケース26には、第2インヒビタロッド89の他端部を摺動自在に嵌合させる支持孔94が設けられ、一端を第1インヒビタロッド88の他端に同軸に対向させた第2インヒビタロッド89は、軸方向位置を一定として前記支持孔94に回動可能に嵌合され、後部延長ケース26から突出した第2インヒビタロッド89の他端部に、操作ケーブル96が連結されたレバー95が固定される。
すなわち乗員の操作に応じた回動力を第2インヒビタロッド89に入力すべく第2インヒビタロッド89の他端すなわち外端に固着されるレバー95は、荒地走行用車両に搭載されるエンジン本体11の後面に後方から対向して配置されることになる。
前記カム機構90は、第1および第2インヒビタロッド88,89の対向端面の一方(この実施例では第2インヒビタロッド89側)に設けられる軸芯部97と、第1および第2インヒビタロッド88,89の対向端面の他方(この実施例では第1インヒビタロッド88側)に設けられて前記軸芯部97を嵌合せしめる支持凹部98と、第1および第2インヒビタロッド88,89の対向端面の両方にそれぞれ設けられて相互に接触するとともに第1および第2インヒビタロッド88,89の軸線と斜めに交差するように傾斜して前記軸芯部および前記支持凹部を囲繞するカム面99,100とを備える。
また前記摺動孔93の閉塞端および第1インヒビタロッド88の一端間にはばね101が縮設されており、第1インヒビタロッド88は前記ばね101が発揮するばね力によって、カム面99,100を相互に接触する側に付勢される。
前記インヒビタアーム91は、第2インヒビタロッド89の非操作状態では前記インヒビタ溝92の前進溝部92aに先端部を係合させるようにして第1インヒビタロッド88に固定されており、操作ケーブル96から伝達される回動操作力がレバー95および第2インヒビタロッド89に入力されると、カム機構90は、図7で示すように、第1インヒビタロッド88を軸方向に前進せしめ、インヒビタアーム91の先端部は、インヒビタ溝92のニュートラル溝部92c内を後進溝部92bに移動し得る位置まで前進し、この状態でシフトドラム80が後進位置PR に回動することが許容される。
図1および図3で示すように、図示しない駆動輪に連結されるとともに前記クランクシャフト14の回転軸線と平行な軸線を有する出力軸102が、クランクケース15の前部ケース半体15aにボールベアリング103を介して回転自在に支承されるとともに、後部カバー26にボールベアリング104を介して回転自在に支承されており、この出力軸102の両端は前部延長ケース23および後部カバー26を液密にかつ回転自在に貫通して外方に突出する。
一方、カウンタシャフト46は、クランクケース15の後部ケース半体15bを回転自在に貫通するものであり、カウンタシャフト46の一端部はボールベアリング105を介してクランクケース15の前部ケース半体15aに回転自在に支承され、カウンタシャフト46の他端部はボールベアリング106を介して後部カバー26に回転自在に支承され、クランクケース15の後部ケース半体15bおよびカウンタシャフト46の中間部間にはボールベアリング107が介装される。
前記クランクシャフト14の軸方向に沿って前記作動室28とは反対側で、前記カウンタシャフト46および前記出力軸102間には、図1および図3で示すように副変速機構13が介設されており、この副変速機構13は、前記カウンタシャフト46および前記出力軸102間に設けられる一対の第1および第2歯車列GA,GBと、前記カウンタシャフト46および前記出力軸102の軸線に沿う方向に移動して第1および第2歯車列GA,GBを択一的に確立すべく第1および第2歯車列GA,GB間に配置されるシフター108とを備えており、カウンタシャフト46および出力軸102間の変速比を2段階で切換えることが可能である。
第1歯車列GAは、カウンタシャフト46に相対回転自在に支承される第1駆動歯車109と、出力軸102に相対回転不能に装着される第1被動歯車110とから成り、第2歯車列GBは、カウンタシャフト46に相対回転自在に支承される第2駆動歯車111と、出力軸102に相対回転不能に装着される第2被動歯車112とから成り、第1歯車列GAによる減速比よりも第2歯車列GBによる減速比の方が大きく設定されている。したがって第2歯車列GBの確立時は所謂スーパーロー状態となる。
前記シフター108は、第1駆動歯車109および第2駆動歯車111間でカウンタシャフト46に相対回転不能に装着されたスリーブ113を同軸に囲繞するものであり、相対回転を不能とするものの軸方向にスライドすることを可能としてスリーブ113に支承される。而してスリーブ113およびシフター108間には、シフター108の軸方向スライド動作を軽快なものとするとともに、相対回転を阻止するための複数のボール114…が介装される。
而して第1および第2メインシャフト44、45と同軸である第1および第2油圧クラッチ52,53が、第1および第2メインシャフト44、45の軸線とカウンタシャフト46の軸線と間の距離よりも大きな外径を有しつつクランクシャフト14の軸方向一方側の前記作動室28に収容されるとともに遠心クラッチ29が前記作動室28に収容されるのに対して、前記シフター108は、クランクシャフト14の軸方向他方側でカウンタシャフト46にスリーブ113を介して支承されることになる。
第1歯車列GAにおける第1駆動歯車109の前記シフター108側には第1被係合部材115が固着され、第2歯車列GBにおける第2駆動歯車111の前記シフター108側には第2被係合部材116が固着されており、第1被係合部材115の前記シフター108側には第1駆動歯車109の外周よりも外方に配置される複数の被係合部115a…が設けられ、第2被係合部材116の前記シフター108側には第2駆動歯車111の外周よりも外方に配置される複数の被係合部116a…が設けられる。
一方、前記シフター108の第1駆動歯車109側の外周には第1被係合部材115の被係合部115a…に係合可能な複数のドッグ117…が突設され、前記シフター108の第2駆動歯車111側の外周には第2被係合部材116の被係合部116a…に係合可能な複数のドッグ118…が突設される。
図8を併せて参照して、前記シフター108は副変速機構用シフトフォーク120で抱持されており、この副変速機構用シフトフォーク120は、第1および第2メインシャフト44,45ならびにカウンタシャフト46と平行な軸線を有するシフター軸119に固定される。而してシフター軸119の一端部が、クランクケース15における後部ケース半体15bに設けられた支持筒部121に軸方向摺動可能に嵌合され、後部カバー26には、シフター軸119を摺動可能に貫通せしめる支持孔122が設けられる。
、後部カバー26およびシフター軸119間には環状のシール部材123が介装される。
前記支持孔122内で前記シフター軸119の一端部には軸方向に延びるラック124が一体に設けられており、このラック124にはピニオン125が噛合する。ところで前記後部カバー26には、前記シフター軸119の軸線と直交する平面に回転軸線を配置した回転軸127が回転自在に支承されており、この回転軸127に前記ピニオン125が設けられる。しかも図2で示すように、ピニオン125は、クランクシャフト14およびカウンタシャフト46の軸線に直交する平面への投影図上で、前記クランクシャフト14および前記カウンタシャフト46の軸線を結ぶ直線Lの上方に配置される。
また前記シフター軸119は、歯車変速機構12が備える後進歯車列GRの一部を構成する第1および第2後進アイドル歯車67,68に、軸方向から見て前記後進アイドル歯車と重なる位置に配置されており、この実施例では、前記シフター軸119と、第1および第2後進アイドル歯車67,68を支承する後進アイドル軸70とが同軸に配置される。
而して前記回転軸127の一端部は前記後部カバー26から突出しており、この後部カバー26からの前記回転軸127の突出端部および前記ピニオン125間で、回転軸127および後部カバー26間には環状のシール部材123が介装される。また前記ラック124および前記ピニオン125の噛合部を覆うようにして蓋部材126が前記後部カバー26に螺合される。
図8において、前記シフター軸119と、前記後部カバー26との間にはクリック機構131が設けられており、このクリック機構131は、軸方向に間隔をあけてシフター軸119の外周に設けられる第1および第2環状凹部132,133と、シフター軸119の軸線と直交する方向で前記後部カバー26に設けられた摺動孔136に摺動自在に嵌合されるとともにシフター軸119側を閉じた有底円筒状に形成される係合部材134と、該係合部材134の閉塞端をシフター軸119の外周に当接させる側に付勢するクリックばね135とを備える。
前記後部カバー26には、前記摺動孔136と同軸にして外方に突出する筒部137が摺動孔136よりも大径にして一体に設けられ、前記係合部材134の開放端は筒部137内に収容され、筒部137の外端を気密に閉じるようにして該筒部137に取付けられる蓋部材138および前記係合部材134間にクリックばね135が縮設される。
前記摺動孔136は、第1およぶ第2歯車列GA,GBのいずれもが非確立状態にあるとときには係合部材134の閉塞端が第1および第2環状凹部132,133間の中央部でシフター軸119の外周に当接する位置で後部カバー26に設けられており、第1歯車列GAを確立する側にシフター軸119が移動したときには第1環状凹部132に係合部材134の閉塞端が弾発嵌合し、第2歯車列GBを確立する側にシフター軸119が移動したときには第2環状凹部133に係合部材134の閉塞端が弾発嵌合する。
また後部カバー26には、前記シフター軸119が第1歯車列GAを確立する側に移動したことを検出する第1検出スイッチ139と、前記シフター軸119が第2歯車列GBを確立する側に移動したことを検出する第2検出スイッチ140とが取付けられており、第1および第2検出スイッチ139,140はシフター軸119側に突出する検出子139a,140aを備える。
一方、シフター軸119の外周には、該シフター軸119が第1および第2歯車列GA,GBのいずれをも非確立状態とした中立位置にあるときに、突出状態にある第1および第2検出子139a,140aを収容する溝141,142が軸方向に延びるようにして設けられる。而して前記シフター軸119が第1歯車列GAを確立する側に図8の左側に移動したときには検出子139aが溝141からシフター軸119の外周に乗り上げることで押し込まれ、それによって第1歯車列GAの確立が第1検出スイッチ139で検出され、また前記シフター軸119が第2歯車列GBを確立する側に図8の右側に移動したときには検出子140aが溝142からシフター軸119の外周に乗り上げることで押し込まれ、それによって第2歯車列GBの確立が第2検出スイッチ140で検出される。
図1、図3および図4において、前記カウンタシャフト46には同軸に油孔144が穿設されており、前記歯車変速機構12および前記副変速機構13には、前記油孔144から潤滑油が導かれる。
次にこの実施例の作用について説明すると、歯車変速機構12の後進歯車列GRを確立する前に、シフトドラム80の回動位置は、シフト規制機構87によって第1〜第5速歯車列G1〜G5および後進歯車列GRを非確立状態とするニュートラル位置PN に規制されるものであり、このシフト規制機構87は、軸方向移動を可能とするとともに軸線まわりの回動を不能としてシフトドラム80の軸線と平行に配置される第1インヒビタロッド88と、乗員の操作に応じて軸線まわりに回動することを可能として第1インヒビタロッド88と同軸に対向、配置される第2インヒビタロッド89と、第2インヒビタロッド89の回動に応じて第1インヒビタロッド88を軸方向に駆動するようにして第1および第2インヒビタロッド88,89間に設けられるカム機構90と、シフトドラム80の軸線に直交する平面内に配置されるとともに基端部が第1インヒビタロッド88に固着されるインヒビタアーム91と、該インヒビタアーム91の先端部を係合させるようにして前記シフトドラム80の外周に設けられるインヒビタ溝92とを備えており、そのインヒビタ溝92が、第1〜第5速歯車列G1〜G5の確立時にインヒビタアーム91の先端部を係合させる前進溝部92aと、シフトドラム80の軸方向で前進溝部92aからずれた位置に配置されるとともに後進歯車列GRの確立時にインヒビタアーム91の先端部を係合させる後進溝部92bと、ニュートラル位置PN にシフトドラム80が在るときにインヒビタアーム91の先端部を係合させるようにして前進溝部92aおよび後進溝部92b間を連結するニュートラル溝部92cとから成るものである。
このようなシフト規制機構87によれば、第1および第2インヒビタロッド88,89ならびに両インヒビタロッド88,89間に設けられるカム機構90の配置に必要なスペースは小さくてすみ、シフト規制機構87の配置に必要なスペースを小さくするとともに、シフト規制機構87の軽量化を図ることができる。
また前進溝部92aおよび後進溝部92bが、シフトドラム80の周方向に延びて該シフトドラム80の外周に設けられ、ニュートラル溝部92cは、前進溝部92aおよび後進溝部92bに直角に連なってシフトドラム80の軸方向に延びるものであるので、ニュートラル位置PN ではインヒビタアーム91の先端部がニュートラル溝部92cに係合しており、後進歯車列GRを確立する側にシフトドラム80が回動するのを確実に阻止することができる。
また第1および第2インヒビタロッド88,89間に設けられるカム機構90は、第1および第2インヒビタロッド88,89の対向端面の一方(この実施例では第2インヒビタロッド89側)に設けられる軸芯部97と、第1および第2インヒビタロッド88,89の対向端面の他方(この実施例では第1インヒビタロッド88側)に設けられて前記軸芯部97を摺動可能に嵌合せしめる支持凹部98と、第1および第2インヒビタロッド88,89の対向端面の両方にそれぞれ設けられて相互に接触するとともに第1および第2インヒビタロッド88,89の軸線と斜めに交差するように傾斜して前記軸芯部97および前記支持凹部98を囲繞するカム面99,100とを備えるものであり、このようなカム機構90によれば、両カム面99,100を相互に接触させるようにした簡単な構造でカム機構90を構成することができる。
また乗員の操作に応じた回動力を第2インヒビタロッド89に入力すべく第2インヒビタロッド89の外端に固着されるレバー95が、エンジン本体11の後面に後方から対向して配置されるので、車両の走行に伴う飛び石等から前記レバー95を保護することができる。
またクランクシャフト14の軸方向一方でエンジンケース27内に形成される作動室28に、クランクシャフト14と第1および第2メインシャフト44,45との間に介設される遠心クラッチ29ならびに第1および第2油圧クラッチ52,53が収容され、クランクシャフト14の軸方向他方でカウンタシャフト46および出力軸102間に、カウンタシャフト46および出力軸102間に設けられる一対の歯車列GA,GBと、カウンタシャフト46および出力軸102の軸線に沿う方向に移動して前記両歯車列GA,GBを択一的に確立すべく前記両歯車列GA,GB間に配置されるシフター108とを備える副変速機構13が、変速比を2段階で切換えることを可能として介設されるので、クランクシャフト14の軸方向一方および他方に、遠心クラッチ29ならびに第1および第2油圧クラッチ52,53と、副変速機構13とを振り分けて配置するようにしてパワーユニットPの重量バランスを良好なものとすることができる。
また第1および第2メインシャフト44,45の軸線およびカウンタシャフト46の軸線間の距離よりも大きな半径を有する第1および第2油圧クラッチ52,53が、第1および第2メインシャフト44,45と同軸にして作動室28に収容され、クランクシャフト14の軸方向他方でカウンタシャフト46にシフター108が支承されるので、第1および第2油圧クラッチ52、53と、副変速機構13との干渉を回避しつつパワーユニットPの重量バランスを良好なものとすることができる。
またカウンタシャフト46に、歯車変速機構12および副変速機構13に潤滑油を導く油孔144が同軸に穿設されるので、油路構成を簡素化することができる。
また副変速機構13のシフター108を抱持する副変速機構用シフトフォーク120が、第1および第2メインシャフト44,45ならびにカウンタシャフト46と平行な軸線を有するとともに軸方向移動可能なシフター軸119に固定され、該シフター軸119に設けられたラック124に、前記シフター軸119の軸線と直交する平面に回転軸線を配置したピニオン125が噛合されるので、副変速機構13を変速作動せしめる機構の簡素化を図るとともにエンジンケース27からの突出を避けることができる。
またピニオン125が、クランクシャフト14およびカウンタシャフト46の軸線に直交する平面への投影図上で、クランクシャフト14およびカウンタシャフト46の軸線を結ぶ直線Lの上方に配置されるので、ピニオン125の地上高を高くし、飛び石等からピニオン125を保護することができる。
また副変速機構13が備える第1および第2歯車列GA,GBの一部をそれぞれ構成する第1および第2駆動歯車109,111に、それらの歯車109,111の外周よりも外方に配置される被係合部115a,116aが設けられ、それらの被係合部115a,116aに係合し得るドッグ117,118が前記シフター108に設けられるので、第1および第2駆動歯車109,111を小型化しつつ、ドッグ117,118および被係合部115a,116aの係合、当接面積を第1および第2駆動歯車109,111の半径方向で大きくしてトルク伝達を良好にするとともに、第1および第2駆動歯車109,111の軸方向での副変速機構13の長さを短くすることができる。
さらに歯車変速機構12は、後進歯車列GRの一部を構成する第1および第2後進アイドル歯車67,68を備え、前記カウンタシャフト46の軸方向に移動可能なシフター108を抱持する副変速機構用シフトフォーク120が固定されるシフター軸119が、その軸方向から見て第1および第2後進アイドル歯車67,68と重なる位置に配置されるので、シフター軸119を、第1および第2メインシャフト44,45ならびにカウンタシャフト46との干渉を避けるようにしつつカウンタシャフト46に近接して配置することができる。
図9は本発明の第2実施例を示すものであって第1実施例の図3に対応した断面図であり、第1実施例に対応する部分には同一の参照符号を付して図示するのみとし、詳細な説明は省略する。
カウンタシャフト46および前記出力軸102間には副変速機構153が介設されており、この副変速機構153は、前記カウンタシャフト46および前記出力軸102間に設けられる一対の第1および第2歯車列GC,GDと、前記カウンタシャフト46および前記出力軸102の軸線に沿う方向に移動して第1および第2歯車列GC,GDを択一的に確立すべく第1および第2歯車列GC,GD間に配置されるシフター154とを備えており、カウンタシャフト46および出力軸102間の変速比を2段階で切換えることが可能である。
第1歯車列GCは、カウンタシャフト46に相対回転自在に支承される第1駆動歯車155と、出力軸102に相対回転不能に装着される第1被動歯車156とから成り、第2歯車列GDは、カウンタシャフト46に相対回転自在に支承される第2駆動歯車157と、出力軸102に相対回転不能に装着される第2被動歯車158とから成り、第1歯車列GCによる減速比よりも第2歯車列GDによる減速比の方が大きく設定されている。したがって第2歯車列GDの確立時は所謂スーパーロー状態となる。
第1駆動歯車155および第2駆動歯車157間で前記カウンタシャフト46には円筒状のスペーサ159が介装される。また前記シフター154は、第1被動歯車156および第2被動歯車158間で出力軸102に相対回転不能に装着されたスリーブ160を同軸に囲繞するものであり、相対回転を不能とするものの軸方向にスライドすることを可能としてスリーブ160に支承される。而してスリーブ160およびシフター154間には、シフター154の軸方向スライド動作を軽快なものとするとともに、相対回転を阻止するための複数のボール161…が介装される。
第1歯車列GCにおける第1被動歯車156の前記シフター154側には複数の被係合部156a…が設けられ、第2歯車列GDにおける第2被動歯車158の前記シフター154側には複数の被係合部158a…が設けられる。一方、前記シフター154の第1被動歯車156側には被係合部156a…に係合可能な複数のドッグ161…が突設され、前記シフター154の第2被動歯車158側には被係合部158a…に係合可能な複数のドッグ162…が突設される。
またシフター154は副変速機構用シフトフォーク120で抱持されており、この副変速機構用シフトフォーク120は、第1および第2メインシャフト44,45ならびにカウンタシャフト46と平行な軸線を有するシフター軸119に固定され、このシフター軸119は、該シフター軸119に一体に設けられたラック124と、該ラック124に噛合するピニオン125とで軸方向に駆動される。
この第2実施例においても、クランクシャフト14(第1実施例参照)の軸方向一方側に遠心クラッチ29(第1実施例参照)と、第1および第2油圧クラッチ52,53(第1実施例参照)とが配置され、クランクシャフト14の軸方向他方側に、カウンタシャフト46および出力軸102間に設けられる一対の歯車列GC,GDと、カウンタシャフト46および出力軸102の軸線に沿う方向に移動して前記両歯車列GC,GDを択一的に確立すべく前記両歯車列GC,GD間に配置されるシフター154とを備えて変速比を2段階で切換えることを可能とした副変速機構153が配設されるので、クランクシャフト14の軸方向両側に、第1および第2油圧クラッチ52,53と、副変速機構153とを振り分けて配置するようにして重量バランスを良好なものとすることができる。
図10は本発明の第3実施例を示すものであって第1実施例の図8に対応した断面図であり、第1実施例に対応した部分には同一の参照符号を付して図示するのみとし、詳細な説明は省略する。
シフター軸119の一端部は、クランクケース15における後部ケース半体15b(第1実施例参照)に設けられた支持筒部121に軸方向摺動可能に嵌合され、後部カバー26′には、シフター軸119を摺動可能に貫通せしめる支持孔122が設けられ、後部カバー26′およびシフター軸119間には環状のシール部材123が介装される。
前記シフター軸119の前記後部カバー26′からの突出部にはシフター軸119の軸線と直交する軸線を有するピン165が設けられる。また後部カバー26′からのシフター軸119の突出部を覆うケース166が後部カバー26′に複数のボルト167…で締結されており、前記ピン165と平行な軸線を有して前記ケース166に回動可能に支承される回動軸168にレバー169の基端部が固定され、このレバー169の先端部に前記ピン165に係合する係合凹部170が設けられる。
而して回動軸168が回動することによって、副変速機構用シフトフォーク120が固定される前記シフター軸119が軸方向に駆動されることになる。
このような構成でシフター軸119を軸方向に駆動するようにしても、上記第1および第2実施例と同様の効果を奏することができる。
以上、本発明の実施例を説明したが、本発明は上記実施例に限定されるものではなく、特許請求の範囲に記載された本発明を逸脱することなく種々の設計変更を行うことが可能である。
たとえばクラッチである、遠心クラッチ29、第1および第2油圧クラッチ52,53に代えてトルクコンバータが作動室28に収容されるようにしたパワーユニットにも本発明を適用することができる。また歯車変速機構が備える単一のメインシャフトおよびクランクシャフト間にクラッチが設けられるパワーユニットにも本発明を適用可能である。
第1実施例のエンジン本体の縦断面図であって図2の1−1線に沿う断面図である。 図1の2矢視方向から見たエンジン本体の後面図である。 図1の歯車変速機構の一部を拡大して示す断面図である。 歯車変速機構のうち後進歯車列の構成を示すための図2の4−4線に沿う断面図である。 シフトドラムの外周面の展開図である。 図1のシフトドラム付近を拡大して示す断面図である。 シフト規制機構が後進歯車列の確立を許容する状態にあるときの図6に対応した断面図である。 図3の8−8線拡大断面図である。 第2実施例を示すものであって第1実施例の図3に対応した断面図である。 第3実施例を示すものであって第1実施例の図8に対応した断面図である。
符号の説明
12・・・歯車変速機構
13,153・・・副変速機構
14・・・クランクシャフト
27・・・エンジンケース
28・・・作動室
29・・・遠心クラッチ
44・・・第1メインシャフト
45・・・第2メインシャフト
46・・・カウンタシャフト
52,53・・・油圧クラッチ
67,68・・・後進アイドル歯車
102・・・出力軸
108,154・・・シフター
109,111・・・歯車
115a,116a・・・被係合部
117,118・・・ドッグ
119・・・シフター軸
120・・・副変速機構用シフトフォーク
124・・・ラック
125・・・ピニオン
144・・・油孔
G1〜G5,GA,GB,GC,GD,GR,・・・歯車列
P・・・パワーユニット

Claims (7)

  1. クランクシャフト(14)を回転自在に支承するエンジンケース(27)に、前記クランクシャフト(14)と平行な軸線を有して前記エンジンケース(27)に回転自在に支承されるメインシャフト(44,45)およびカウンタシャフト(46)間に択一的に確立可能な複数変速段の歯車列(G1〜G5,GR)が設けられて成る歯車変速機構(12)が収容されるとともに、前記クランクシャフト(14)と平行な軸線を有する出力軸(102)が前記歯車変速機構(12)からの動力が伝達されるようにして回転自在に支承され、前記クランクシャフト(14)の軸方向一方で前記エンジンケース(27)内に形成される作動室(28)に、前記クランクシャフト(14)および前記メインシャフト(44,45)間に介設されるクラッチ(29,52,53)またはトルクコンバータが収容される車両用パワーユニットにおいて、前記カウンタシャフト(46)および前記出力軸(102)間に設けられる一対の歯車列(GA,GB;GC,GD)と、前記カウンタシャフト(46)および前記出力軸(102)の軸線に沿う方向に移動して前記両歯車列(GA,GB;GC,GD)を択一的に確立すべく前記両歯車列(GA,GB)間に配置されるシフター(108,154)とを有して変速比を2段階で切換えることを可能とした副変速機構(13,153)を備え、該副変速機構(13,153)が前記クランクシャフト(14)の軸方向他方側に配設されることを特徴とする車両用パワーユニット。
  2. 前記メインシャフト(44,45)および前記カウンタシャフト(46)の軸線間の距離よりも大きな半径を有する前記クラッチ(52,53)が、前記メインシャフト(44,45)と同軸にして前記作動室(28)に収容され、前記クランクシャフト(14)の軸方向他方で前記カウンタシャフト(46)に前記シフター(108)が支承されることを特徴とする請求項1記載の車両用パワーユニット。
  3. 前記カウンタシャフト(46)に、前記歯車変速機構(12)および前記副変速機構(13,153)に潤滑油を導く油孔(144)が同軸に穿設されることを特徴とする請求項1または2記載の車両用パワーユニット。
  4. 前記副変速機構(13)の前記シフター(108)を抱持する副変速機構用シフトフォーク(120)が、前記メインシャフト(44,45)および前記カウンタシャフト(46)と平行な軸線を有するとともに軸方向移動可能なシフター軸(119)に固定され、該シフター軸(119)に設けられたラック(124)に、前記シフター軸(119)の軸線と直交する平面に回転軸線を配置したピニオン(125)が噛合されることを特徴とする請求項1〜3のいずれかに記載の車両用パワーユニット。
  5. 前記ピニオン(125)が、前記クランクシャフト(14)および前記カウンタシャフト(46)の軸線に直交する平面への投影図上で、前記クランクシャフト(14)および前記カウンタシャフト(46)の軸線を結ぶ直線の上方に配置されることを特徴とする請求項4記載の車両用パワーユニット。
  6. 前記副変速機構(13)が備える一対の前記歯車列(GA,GB)の一部をそれぞれ構成する歯車(109,111)に、それらの歯車(109,111)の外周よりも外方に配置される被係合部(115a,116a)が設けられ、該被係合部(115a,116a)に係合し得るドッグ(117,118)が前記シフター(108)に設けられることを特徴とする請求項1〜5のいずれかに記載の車両用パワーユニット。
  7. 前記歯車変速機構(12)は、後進歯車列(GR)の一部を構成する後進アイドル歯車(67,68)を備え、前記カウンタシャフト(46)の軸方向に移動可能なシフター(108)を抱持する前記副変速機構用シフトフォーク(120)が固定される前記シフター軸(119)が、その軸方向から見て前記後進アイドル歯車(67,68)と重なる位置に配置されることを特徴とする請求項4記載の車両用パワーユニット。
JP2008217191A 2008-08-26 2008-08-26 車両用パワーユニット Expired - Fee Related JP5129695B2 (ja)

Priority Applications (1)

Application Number Priority Date Filing Date Title
JP2008217191A JP5129695B2 (ja) 2008-08-26 2008-08-26 車両用パワーユニット

Applications Claiming Priority (1)

Application Number Priority Date Filing Date Title
JP2008217191A JP5129695B2 (ja) 2008-08-26 2008-08-26 車両用パワーユニット

Publications (2)

Publication Number Publication Date
JP2010052492A true JP2010052492A (ja) 2010-03-11
JP5129695B2 JP5129695B2 (ja) 2013-01-30

Family

ID=42068875

Family Applications (1)

Application Number Title Priority Date Filing Date
JP2008217191A Expired - Fee Related JP5129695B2 (ja) 2008-08-26 2008-08-26 車両用パワーユニット

Country Status (1)

Country Link
JP (1) JP5129695B2 (ja)

Cited By (2)

* Cited by examiner, † Cited by third party
Publication number Priority date Publication date Assignee Title
JP2014189232A (ja) * 2013-03-28 2014-10-06 Honda Motor Co Ltd 車両用駆動力伝達構造
CN114467375A (zh) * 2022-01-27 2022-05-13 重庆华世丹农业装备制造有限公司 田园管理机

Families Citing this family (1)

* Cited by examiner, † Cited by third party
Publication number Priority date Publication date Assignee Title
JPH07116562B2 (ja) 1987-03-30 1995-12-13 日立金属株式会社 電磁石用部材

Citations (7)

* Cited by examiner, † Cited by third party
Publication number Priority date Publication date Assignee Title
JPS61263828A (ja) * 1985-05-17 1986-11-21 Suzuki Motor Co Ltd 鞍乗型車両の動力伝達装置
JPS6220936A (ja) * 1985-07-19 1987-01-29 Yamaha Motor Co Ltd 鞍乗型車輛の変速装置
JPS62209267A (ja) * 1986-03-06 1987-09-14 Yamaha Motor Co Ltd 車輛用変速装置の潤滑装置
JPS62251234A (ja) * 1986-04-25 1987-11-02 Yamaha Motor Co Ltd 車輛用変速装置
JP2003136984A (ja) * 2001-11-07 2003-05-14 Honda Motor Co Ltd 内燃機関の変速装置
JP2003276462A (ja) * 2002-03-22 2003-09-30 Aisin Seiki Co Ltd トランスファー用切替装置
JP2007231964A (ja) * 2006-02-27 2007-09-13 Honda Motor Co Ltd パワーユニット

Patent Citations (7)

* Cited by examiner, † Cited by third party
Publication number Priority date Publication date Assignee Title
JPS61263828A (ja) * 1985-05-17 1986-11-21 Suzuki Motor Co Ltd 鞍乗型車両の動力伝達装置
JPS6220936A (ja) * 1985-07-19 1987-01-29 Yamaha Motor Co Ltd 鞍乗型車輛の変速装置
JPS62209267A (ja) * 1986-03-06 1987-09-14 Yamaha Motor Co Ltd 車輛用変速装置の潤滑装置
JPS62251234A (ja) * 1986-04-25 1987-11-02 Yamaha Motor Co Ltd 車輛用変速装置
JP2003136984A (ja) * 2001-11-07 2003-05-14 Honda Motor Co Ltd 内燃機関の変速装置
JP2003276462A (ja) * 2002-03-22 2003-09-30 Aisin Seiki Co Ltd トランスファー用切替装置
JP2007231964A (ja) * 2006-02-27 2007-09-13 Honda Motor Co Ltd パワーユニット

Cited By (2)

* Cited by examiner, † Cited by third party
Publication number Priority date Publication date Assignee Title
JP2014189232A (ja) * 2013-03-28 2014-10-06 Honda Motor Co Ltd 車両用駆動力伝達構造
CN114467375A (zh) * 2022-01-27 2022-05-13 重庆华世丹农业装备制造有限公司 田园管理机

Also Published As

Publication number Publication date
JP5129695B2 (ja) 2013-01-30

Similar Documents

Publication Publication Date Title
CN101153658B (zh) 车辆用变速器的变速控制装置
US8365621B2 (en) Arrangement structure of shifting actuator of internal combustion engine mounted on motorcycle
KR101088277B1 (ko) 변속 제어 장치를 구비한 차량용 변속기
CN105531516B (zh) 车辆用动力单元
JP2008089062A5 (ja)
US20190301540A1 (en) Transmission
JP2012197853A (ja) 鞍乗り型車両用変速装置
JP5129695B2 (ja) 車両用パワーユニット
JP4970099B2 (ja) 車両用変速機
JP4890185B2 (ja) 車両用変速機
JP2008089059A (ja) 車両用変速機
JP2008089056A5 (ja)
JP2008089063A (ja) 変速装置
JP4773201B2 (ja) 変速装置
JP2011073591A (ja) 自動変速装置
JP5037454B2 (ja) 車両の変速装置
JP4890186B2 (ja) 車両用変速機
JP2012197811A (ja) 車両用パワーユニット
JP2008089057A5 (ja)
JP2006307955A (ja) トラクタの動力伝達装置
JP2009243562A (ja) 前後進切替機構
CN107869580B (zh) 动力传递装置
JP2008089055A5 (ja)
JP2008089055A (ja) 車両用変速機
JP2015190547A (ja) 車両用リバース付き変速機

Legal Events

Date Code Title Description
A621 Written request for application examination

Free format text: JAPANESE INTERMEDIATE CODE: A621

Effective date: 20101126

A977 Report on retrieval

Free format text: JAPANESE INTERMEDIATE CODE: A971007

Effective date: 20120222

A131 Notification of reasons for refusal

Free format text: JAPANESE INTERMEDIATE CODE: A131

Effective date: 20120229

A521 Written amendment

Free format text: JAPANESE INTERMEDIATE CODE: A523

Effective date: 20120427

A131 Notification of reasons for refusal

Free format text: JAPANESE INTERMEDIATE CODE: A131

Effective date: 20120711

A521 Written amendment

Free format text: JAPANESE INTERMEDIATE CODE: A523

Effective date: 20120910

TRDD Decision of grant or rejection written
A01 Written decision to grant a patent or to grant a registration (utility model)

Free format text: JAPANESE INTERMEDIATE CODE: A01

Effective date: 20121017

A01 Written decision to grant a patent or to grant a registration (utility model)

Free format text: JAPANESE INTERMEDIATE CODE: A01

A61 First payment of annual fees (during grant procedure)

Free format text: JAPANESE INTERMEDIATE CODE: A61

Effective date: 20121102

R150 Certificate of patent or registration of utility model

Free format text: JAPANESE INTERMEDIATE CODE: R150

Ref document number: 5129695

Country of ref document: JP

Free format text: JAPANESE INTERMEDIATE CODE: R150

FPAY Renewal fee payment (event date is renewal date of database)

Free format text: PAYMENT UNTIL: 20151109

Year of fee payment: 3

R250 Receipt of annual fees

Free format text: JAPANESE INTERMEDIATE CODE: R250

LAPS Cancellation because of no payment of annual fees