JP2010052450A - 電池温度制御装置 - Google Patents

電池温度制御装置 Download PDF

Info

Publication number
JP2010052450A
JP2010052450A JP2008216426A JP2008216426A JP2010052450A JP 2010052450 A JP2010052450 A JP 2010052450A JP 2008216426 A JP2008216426 A JP 2008216426A JP 2008216426 A JP2008216426 A JP 2008216426A JP 2010052450 A JP2010052450 A JP 2010052450A
Authority
JP
Japan
Prior art keywords
battery
air
cabin
temperature
warm
Prior art date
Legal status (The legal status is an assumption and is not a legal conclusion. Google has not performed a legal analysis and makes no representation as to the accuracy of the status listed.)
Granted
Application number
JP2008216426A
Other languages
English (en)
Other versions
JP5146201B2 (ja
Inventor
Shigeki Kinomura
茂樹 木野村
Takashi Amano
貴士 天野
Yukio Kobayashi
幸男 小林
Naoto Yumizashi
直人 弓指
Tamotsu Kameshima
保 亀嶋
Current Assignee (The listed assignees may be inaccurate. Google has not performed a legal analysis and makes no representation or warranty as to the accuracy of the list.)
Toyota Motor Corp
Original Assignee
Toyota Motor Corp
Priority date (The priority date is an assumption and is not a legal conclusion. Google has not performed a legal analysis and makes no representation as to the accuracy of the date listed.)
Filing date
Publication date
Application filed by Toyota Motor Corp filed Critical Toyota Motor Corp
Priority to JP2008216426A priority Critical patent/JP5146201B2/ja
Publication of JP2010052450A publication Critical patent/JP2010052450A/ja
Application granted granted Critical
Publication of JP5146201B2 publication Critical patent/JP5146201B2/ja
Active legal-status Critical Current
Anticipated expiration legal-status Critical

Links

Images

Classifications

    • YGENERAL TAGGING OF NEW TECHNOLOGICAL DEVELOPMENTS; GENERAL TAGGING OF CROSS-SECTIONAL TECHNOLOGIES SPANNING OVER SEVERAL SECTIONS OF THE IPC; TECHNICAL SUBJECTS COVERED BY FORMER USPC CROSS-REFERENCE ART COLLECTIONS [XRACs] AND DIGESTS
    • Y02TECHNOLOGIES OR APPLICATIONS FOR MITIGATION OR ADAPTATION AGAINST CLIMATE CHANGE
    • Y02TCLIMATE CHANGE MITIGATION TECHNOLOGIES RELATED TO TRANSPORTATION
    • Y02T10/00Road transport of goods or passengers
    • Y02T10/60Other road transportation technologies with climate change mitigation effect
    • Y02T10/70Energy storage systems for electromobility, e.g. batteries

Landscapes

  • Air-Conditioning For Vehicles (AREA)
  • Secondary Cells (AREA)
  • Electric Propulsion And Braking For Vehicles (AREA)

Abstract

【課題】専用の湿度センサを用いずに、電池の暖機を適切に行うことが可能な電池温度制御装置を提供する。
【解決手段】電池温度制御装置は、キャビンの空気を電池に供給することで電池の暖機を行うと共に、キャビンの空気の温度に基づいて電池の暖気を行うか否かを決定する。具体的には、電池暖機判定手段は、キャビンの空調設定に応じて電池の暖機を行うか否かを決定する。これにより、キャビンの湿度を検出する専用の湿度センサなどを用いずに、電池の暖気を行うか否かを適切に決定することができる。よって、専用の湿度センサなどを用いる場合と比較して、コストを低減することが可能となる。更に、専用の湿度センサを用いずに、飽和水蒸気量などに基づいて電池の暖気を行うか否かを決定する場合と比較して、電池の暖機を行う機会を増加させることが可能となる。
【選択図】図1

Description

本発明は、車両に搭載された電池の温度を制御する技術分野に関する。
従来から、キャビン(車室)の空気をブロアなどにて電池に送風することによって、電池を暖機する技術が提案されている。例えば、特許文献1には、電池温度とキャビン温度との差及び、飽和水蒸気量又はブロアが送る空気の湿度から求められる結露温度に基づいて、電池の暖機を行うか否かを決定する技術が提案されている。こうすることによって、電池表面における結露現象の回避を図っている。また、特許文献2には、電池側空気の絶対湿度がキャビン内の絶対湿度よりも大きい場合に、電池ファンを作動させて電池温度を上昇させることが提案されている。更に、特許文献3には、キャビン内の絶対温度が所定値以上の場合に、電動ファンを作動させて電池温度を上昇させることが提案されている。
特開2007−335121号公報 特開2007−159267号公報 特開2007−287618号公報
しかしながら、上記した特許文献1に記載された技術では、専用の湿度センサが必要なため、コストが高くなる傾向にあった。また、このような湿度センサを用いない場合には、飽和水蒸気量などに基づいて電池の暖気を行うか否かの判定を行うことが考えられるが、こうした場合には、電池の暖機を適切に行うことができない場合があった。例えば、電気暖機の機会が少なくなってしまう傾向にあった。一方、特許文献2及び3には、専用の湿度センサを用いずに、適切に電池の暖機を行うことについては記載されていない。
本発明は、上記のような課題を解決するためになされたものであり、専用の湿度センサを用いずに、電池の暖機を適切に行うことが可能な電池温度制御装置を提供することを目的とする。
本発明の1つの観点では、キャビンの空気を電池に供給することで前記電池の暖機を行うと共に、前記キャビンの空気の温度に基づいて前記電池の暖気を行うか否かを決定する電池温度制御装置は、前記キャビンにおける空調設定に応じて、前記電池の暖機を行うか否かを決定する電池暖機判定手段を備える。
上記の電池温度制御装置は、キャビンの空気を電池に供給することで電池の暖機を行うために利用される。この場合、電池温度制御装置は、キャビンの空気の温度に基づいて電池の暖気を行うか否かを決定する。より具体的には、電池暖機判定手段は、キャビンの空調設定に応じて電池の暖機を行うか否かを決定する。これにより、キャビンの湿度を検出する専用の湿度センサなどを用いずに、電池の暖気を行うか否かの決定を適切に行うことができる。よって、専用の湿度センサなどを用いる場合と比較して、コストを低減することが可能となる。更に、専用の湿度センサを用いずに、飽和水蒸気量などに基づいて電池の暖気を行うか否かを決定する場合と比較して、上記の電池温度制御装置によれば、キャビンの湿度を適切に推定することができるため、電池の暖機を行う機会を増加させることが可能となる。
上記の電池温度制御装置の一態様では、前記キャビンの空気の湿度が前記電池の暖機を許可できる湿度となるように、前記空調設定を変更する空調設定変更手段を更に備える。この態様によれば、電池の暖機を行う機会を更に増加させることが可能となる。
上記の電池温度制御装置において好適には、前記空調設定変更手段は、前記空調設定が自動で空調制御を行うオート設定にされている場合において、前記キャビンの空気の温度が第1の所定温度未満である場合には、空調におけるコンプレッサを作動状態にして、外気導入するように前記空調設定を変更し、前記キャビンの空気の温度が前記第1の所定温度以上である場合には、前記コンプレッサを作動状態にして、内気循環するように前記空調設定を変更する。
また、好適には、前記空調設定変更手段は、前記空調設定変更手段は、前記空調設定が自動で空調制御を行うオート設定にされていない場合において、前記キャビンの空気の温度が第2の所定温度未満である場合には、空調におけるコンプレッサを非作動状態にして、外気導入するように前記空調設定を変更し、前記キャビンの空気の温度が前記第2の所定温度以上である場合には、前記空調設定を変更しない。
好ましくは、前記電池暖機判定手段は、前記空調設定として空調におけるコンプレッサが作動状態であるか又は非作動状態であるかに基づいて、前記電池の暖機を行うか否かを決定する。また、前記電池暖機判定手段は、前記空調設定として外気導入であるか又は内気循環であるかに基づいて、前記電池の暖機を行うか否かを決定する。
本発明の他の観点では、キャビンの空気を電池に供給することで前記電池の暖機を行うと共に、前記キャビンの空気の温度に基づいて前記電池の暖気を行うか否かを決定する電池温度制御装置は、乗員数に応じて、前記電池の暖機を行うか否かを決定する電池暖機判定手段を備える。これによっても、キャビンの湿度を検出する専用の湿度センサなどを用いずに、電池の暖気を行うか否かの決定を適切に行うことができるため、センサコストを低減することが可能となる。
上記の電池温度制御装置において好適には、前記電池暖機判定手段は、前記電池の温度が前記キャビンの空気の温度以上である場合、前記電池の暖気を禁止する。
また、好適には、前記電池暖機判定手段は、前記電池の温度が暖機目標温度以上である場合、前記電池の暖気を禁止する。
以下、図面を参照して本発明の好適な実施の形態について説明する。
[第1実施形態]
まず、本発明の第1実施形態について説明する。
(装置構成)
図1は、第1実施形態に係る電池温度制御装置100の概略構成図を示す。なお、図中の実線矢印はガスの流れを示し、破線矢印は信号の入出力を示している。
電池温度制御装置100は、主に、空気吸入口1と、電池ブロア2と、電池3と、電池温度センサ4と、キャビン温度センサ5と、着座センサ6と、エアコンECU9と、電池ECU(Electronic Control Unit)10と、を備える。電池温度制御装置100は、例えば、ハイブリッド車両(HV車)や電気自動車(EV車)などに搭載される。
電池ブロア2は、キャビン(車室)の空気を空気吸入口1から吸入して、当該空気を電池3に対して送風可能に構成されている。電池ブロア2は、電池ECU10から供給される制御信号S2によって動作などが制御される。電池3は、二次電池などで構成され、車両内の構成要素における電源として機能する。電池温度センサ4は、電池3の温度(電池温度)を検出可能に構成されたセンサであり、検出した電池温度に対応する検出信号S4を電池ECU10に供給する。
キャビン温度センサ5は、キャビンの空気の温度(以下、単に「キャビン温度」と呼ぶ。)を検出可能に構成されたセンサであり、検出したキャビン温度に対応する検出信号S5を電池ECU10に供給する。着座センサ6は、車両内の乗員数を検出可能に構成されたセンサであり、検出した乗員数に対応する検出信号S6を電池ECU10に供給する。なお、上記のようにキャビン温度を検出するキャビン温度センサ5を用いる代わりに、電池3へ送風される空気の温度を検出するセンサを用いても良い。例えば、当該センサは、空気吸入口1付近に設けられる。
エアコンECU9は、図示しないCPU(Central Processing Unit)、ROM(Read Only Memory)及びRAM(Random Access Memory)などを備え、主に、車両に設けられたエアコン(空調)に対する制御を行う。例えば、エアコンECU9は、エアコン内のコンプレッサのオン/オフの切り替えや、外気導入/内気循環の切り替えなどを行う。また、エアコンECU9は、エアコンのコンプレッサがオン(動作状態)であるか又はオフ(非動作状態)であるかや、エアコンがオート設定になっているか否かや、外気導入であるか又は内気循環であるかなどに関する情報を信号S9として電池ECU10に供給する。
なお、上記したエアコンのコンプレッサがオンであるか又はオフであるかや、エアコンがオート設定になっているか否かや、外気導入であるか又は内気循環であるかなどの設定は、本発明における空調設定に対応し、以下では、このような情報(信号S9に対応する)を「エアコン情報」と呼ぶ。また、本明細書において、エアコンの「オート設定」とは、エアコン側が自動的に温度や風量や風向などを決めて空調制御を行うような設定を意味するものとする。
電池ECU10は、図示しないCPU、ROM及びRAMなどを備えて構成され、主に、キャビンの空気を電池3に送風することで電池3の暖機が行われるように、電池ブロア2に対して制御を行う(即ち、電池ブロア2に対して制御信号S2を供給する)。この場合、電池ECU10は、電池温度センサ4、キャビン温度センサ5、及び着座センサ6から供給される検出信号S4、S5、S6、並びにエアコンECU9から供給される信号S9に基づいて、電池3の暖機を行うか否かの決定を行う。具体的には、電池ECU10は、これらの情報に基づいてキャビンの空気の湿度(以下、単に「キャビン湿度」と呼ぶ。)を推定し、推定された湿度に基づいて、電池3の暖機を行った場合に電池3における結露が問題ないレベルに抑えられるか否かを判定する。そして、電池ECU10は、推定された湿度より、電池3の結露が問題ないレベルであると判定された場合に、電池3の暖機を実行することについての許可を出す。このように、電池ECU10は、本発明における電池暖機判定手段として機能する。
(第1実施形態における処理)
次に、第1実施形態において、電池ECU10が行う処理について具体的に説明を行う。第1実施形態では、電池ECU10は、電池3の性能向上(入出力向上による、動力性能向上や、燃費向上や、ドライバビリティ向上など)のために、キャビンの空気を電池ブロア2によって電池3に送風することで、電池3を暖機するための処理を行う。この場合において、電池ECU10は、前述した各種センサから取得されるキャビン温度、乗員数、及びにエアコン情報に基づいてキャビン湿度を推定し、推定されたキャビン湿度に基づいて電池3の暖機を行うか否かを決定する。このような湿度の推定を行っているのは、キャビン湿度は、エアコン設定(エアコンのコンプレッサのオン/オフや、外気導入/内気循環)や、乗員の呼気や、乗員による雪・雨の持ち込みなどに影響されるからである。
より具体的には、電池ECU10は、上記のように推定されたキャビン湿度に基づいて、電池3の暖機を行った場合に電池3における結露が問題ないレベルに抑えられるか否かを判定することで、電池3の暖機を行うか否かを決定する。この場合、電池ECU10は、電池3における結露が問題ないレベルに抑えられると判定した場合にのみ、電池3の暖機の実行を許可する。こうしているのは、暖機のためにキャビンの空気を電池3に供給した場合に、キャビンの空気に含まれる水蒸気により電池3が結露して、電池3が腐食してしまうことを防止するためである。
以上の第1実施形態に係る処理によれば、キャビン湿度を検出可能な湿度センサなどを用いずに、キャビン湿度を適切に推定し、当該キャビン湿度に基づいて電池3の結露が問題ないレベルであるか否かを適切に判定することができる。したがって、第1実施形態によれば、専用の湿度センサなどを用いる場合と比較して、センサコストを低減することが可能となる。一方、キャビン湿度を検出する専用の湿度センサを用いない場合には、飽和水蒸気量などに基づいて電池3の結露が問題ないレベルであるか否かを判定する方法(具体的には、キャビン温度に対応する飽和水蒸気量(湿度100%)において、結露が問題ないレベルであるか否かを判定する方法)が考えられるが、このような方法を用いる場合と比較して、第1実施形態に係る方法によれば、キャビン湿度を適切に推定することができるので、電池3の暖機を行う機会を増加させることが可能となる。
次に、図2乃至図4を参照して、第1実施形態における処理を具体的に説明する。
図2は、第1実施形態において、電池3の暖機を行うか否かを判定するための処理、即ち電池ブロア2のオンを許可しても良いか否かを判定する処理(以下、「電池ブロアオン許可判定処理」と呼ぶ。)を示すフローチャートである。この処理は、電池ECU10によって、所定の周期で繰り返し実行される。
まず、ステップS101では、電池ECU10は、電池温度、キャビン温度、及び乗員数、並びにエアコン情報を取得する。具体的には、電池ECU10は、電池温度センサ4、キャビン温度センサ5、及び着座センサ6、並びにエアコンECU9から、それぞれ電池温度、キャビン温度、及び乗員数、並びにエアコン情報を取得する。そして、処理はステップS102に進む。
ステップS102では、電池ECU10は、ステップS101で取得されたキャビン温度、乗員数、及びエアコン情報に基づいて、キャビン湿度の推定を行う。そして、処理はステップS103に進む。
ここで、図3を参照して、ステップS102におけるキャビン湿度の推定方法について具体的に説明する。図3は、キャビン温度、乗員数、及びエアコン情報(コンプレッサのオン/オフや、外気導入/内気循環)に対して、キャビン湿度(推定値)が対応付けられたマップの一例を示している。具体的には、図3(a)は、コンプレッサがオンであり外気導入時のマップの一例を示しており、図3(b)は、コンプレッサがオンであり内気循環時のマップの一例を示しており、図3(c)は、コンプレッサがオフであり外気導入時のマップの一例を示しており、図3(d)は、コンプレッサがオフであり内気循環時のマップの一例を示している。図示のように、乗員数が多くなるほど、若しくはキャビン温度が高くなるほど、キャビン湿度が高くなる傾向が見て取れ、このような傾向がエアコン情報に応じて細かくマップに規定されている。また、コンプレッサがオンのときはコンプレッサがオフのときよりもキャビン湿度が低くなる傾向が見て取れる。これは、コンプレッサがオンのときは除湿効果が得られるからである。電池ECU10は、このようなマップを参照することで、上記したステップS101で得られたキャビン温度、乗員数、及びエアコン情報に対応するキャビン湿度を決定する。なお、このようなマップは、予め実験などすることにより得られる。
図2に戻って、ステップS103以降の処理について説明を行う。ステップS103では、電池ECU10は、ステップS102で推定されたキャビン湿度などに基づいて、電池3における結露が問題ないレベルに抑えられるか否かを判定する。この場合、電池3の結露が問題ないレベルとは、例えば、電池3の結露に起因する腐食が発生しないようなレベルである。1つの例では、電池ECU10は、検出された電池温度及びキャビン温度、並びに推定されたキャビン湿度などからキャビンの空気中の水蒸気量を計算し、当該水蒸気量に基づいて電池3の結露が問題ないレベルであるか否かの判定を行う。他の例では、電池ECU10は、事前の適合に基づいて、これらの電池温度、キャビン温度、及びキャビン湿度などから、電池3の結露が問題ないレベルであるか否かの判定を行う。
電池3の結露が問題ないレベルである場合(ステップS103;Yes)、処理はステップS104に進む。この場合には、電池ECU10は、電池3の暖機を実行すべく、電池ブロア2のオンを許可する(ステップS104)。そして、処理は終了する。これに対して、電池3の結露が問題ないレベルでない場合(ステップS103;No)、処理はステップS105に進む。この場合には、電池3の暖機を禁止すべく、電池ブロア2のオンを禁止する(ステップS105)。そして、処理は終了する。
次に、図4は、第1実施形態において、電池ブロア2を作動させる際に行われる処理(以下、「電池ブロア作動処理」と呼ぶ。)を示すフローチャートである。この電池ブロア作動処理は、上記した電池ブロアオン許可判定処理の後に実行される。また、電池ブロア作動処理も、電池ECU10によって繰り返し実行される。
まず、ステップS201では、電池ECU10は、電池温度及びキャビン温度を取得する。具体的には、電池ECU10は、電池温度センサ4及びキャビン温度センサ5から、それぞれ電池温度及びキャビン温度を取得する。そして、処理はステップS202に進む。
ステップS202では、電池ECU10は、電池温度がキャビン温度未満であるか否かを判定する。電池温度がキャビン温度未満である場合(ステップS202;Yes)、処理はステップS203に進む。これに対して、電池温度がキャビン温度以上である場合(ステップS202;No)、処理はステップS206に進む。この場合には、キャビンの空気を電池3に送風すべきでないため、電池ブロア2をオフに設定する(ステップS206)。そして、処理は終了する。
ステップS203では、電池ECU10は、電池温度が暖機目標温度未満であるか否かを判定する。暖機目標温度は、電池3を暖機する際の目標温度であり、予め定められている。電池温度が暖機目標温度未満である場合(ステップS203;Yes)、処理はステップS204に進む。これに対して、電池温度が暖機目標温度以上である場合(ステップS203;No)、処理はステップS206に進む。この場合には、キャビンの空気を電池3に送風する必要はないため、電池ブロア2をオフに設定する(ステップS206)。そして、処理は終了する。
ステップS204では、電池ECU10は、電池ブロア2のオンが許可されているか否かを判定する。具体的には、電池ブロア2のオンが許可されているか、又は電池ブロア2のオンが禁止されているかを判定する。このような許可/禁止は、前述した電池ブロアオン許可判定処理(図2参照)にて決定される。
電池ブロア2のオンが許可されている場合(ステップS204;Yes)、処理はステップS205に進み、電池ECU10は、電池ブロア2をオンに制御する。これに対して、電池ブロア2のオンが許可されていない場合(ステップS204;No)、つまり電池ブロア2のオンが禁止されている場合、処理はステップS206に進み、電池ECU10は、電池ブロア2をオフに制御する。以上のステップS205、S206の処理後、処理は終了する。
以上説明した第1実施形態によれば、キャビン湿度を適切に推定し、当該キャビン湿度に基づいて電池3の結露が問題ないレベルであるか否かを適切に判定することができる。したがって、電池3の結露に起因する腐食を防止しつつ、電池3の暖機を適切に行うことができる。また、第1実施形態によれば、キャビン湿度を検出する専用の湿度センサなどを用いる必要がないため、センサコストを低減することが可能となる。更に、第1実施形態によれば、飽和水蒸気量に基づいて電池3の結露が問題ないか否かなどを判定して暖機を行う場合と比較して、電池3の暖機を行う機会を増加させることが可能となる。
[第2実施形態]
次に、本発明の第2実施形態について説明を行う。第2実施形態でも、前述した第1実施形態と同様に、キャビン湿度を推定して、当該キャビン湿度に基づいて電池3の結露が問題ないレベルであるか否かを判定することで、電池3の暖機を行うか否かを決定する。しかしながら、第2実施形態では、キャビン湿度が電池3の暖機を許可できる湿度となるようにエアコン設定(空調設定)を変更する点で、第1実施形態と異なる。
このようにエアコン設定を変更する理由は、以下の通りである。キャビン湿度は、エアコン設定(エアコンのコンプレッサのオン/オフや、外気導入/内気循環)に依存するものと考えられる。例えば、キャビン温度が「0℃」未満である際において、エアコンのコンプレッサがオフで内気循環である場合、キャビン湿度が高くなる傾向にある。これは、氷点下では、外気よりも内気のほうが湿度が高くなる傾向にあるからである。また、例えば、キャビン温度が「0℃」より高い際において、エアコンのコンプレッサがオフで外気導入である場合、キャビン湿度が高くなる場合がある。これは、例えば雨天時の場合、内気よりも外気のほうが湿度が高くなる傾向にあるからである。
したがって、第2実施形態では、電池3の暖機を行う機会を増加させるべく、キャビン湿度が電池3の暖機を許可できる湿度となるようにエアコン設定を変更する。例えばキャビン湿度が低くなるように、エアコンのコンプレッサのオン/オフの切り替えや、外気導入/内気循環の切り替えなどを行う。
(装置構成)
図5は、第2実施形態に係る電池温度制御装置100aの概略構成図を示す。なお、図1に示す構成要素と同一の構成要素については同一の符号を付し、その説明を省略するものとする。
電池温度制御装置100aは、エアコンECU9及び電池ECU10の代わりに、エアコンECU9a及び電池ECU10aを有する点で、電池温度制御装置100と異なる。電池ECU10aは、基本的には電池ECU10と同様の処理を行うが、キャビン湿度が電池3の暖機を許可できる湿度となるようにエアコン設定を変更する処理を行う点で、電池ECU10と異なる。具体的には、電池ECU10aは、現在のキャビン温度やエアコン設定などに基づいて、キャビン湿度が電池3の暖機を許可できるような湿度となるように、エアコンのコンプレッサのオン/オフの切り替えや、外気導入/内気循環の切り替えなどを行う。この場合、電池ECU10aは、エアコン設定の変更要求に対応する信号S9aを、エアコンECU9aに対して供給する。エアコンECU9aは、電池ECU10aからエアコン設定の変更要求に対応する信号S9aを取得した場合、信号S9aに応じて、エアコン設定の変更を行う。このように、電池ECU10aは、本発明における電池暖機判定手段及び空調設定変更手段として機能する。
(第2実施形態における処理)
次に、図6乃至図8を参照して、第2実施形態における処理を具体的に説明する。
図6は、第2実施形態における電池ブロアオン許可判定処理を示すフローチャートである。この処理は、電池ECU10aによって、所定の周期で繰り返し実行される。なお、ステップS301及びステップS303〜S306の処理は、それぞれ、第1実施形態における電池ブロアオン許可判定処理におけるステップS101及びステップS102〜S105の処理(図2参照)と同様であるため、その説明を省略する。ここでは、ステップS302の処理についてのみ説明を行う。
ステップS302では、電池ECU10aは、ステップS301で取得されたキャビン温度やエアコン情報に基づいて、エアコン設定の変更要求について仮決定を行う処理(以下、「エアコン設定変更要求仮決定処理」と呼ぶ。)を実行する。そして、処理はステップS303に進む。この後、前述した第1実施形態における電池ブロアオン許可判定処理と同様の処理を行う。詳しくは、ステップS303では、電池ECU10aは、ステップS302で仮決定された変更要求に応じたエアコン設定に変更した場合でのキャビン湿度を推定する。
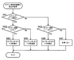
図7は、ステップS302で行われるエアコン設定変更要求仮決定処理を示すフローチャートである。この処理も、電池ECU10aによって繰り返し実行される。
まず、ステップS401では、電池ECU10aは、エアコンECU9aから取得されたエアコン情報(信号S9に対応する)に基づいて、エアコンがオート設定にされているか否かを判定する。つまり、乗員によって、エアコン側が自動的に温度や風量や風向などを決めて空調制御を行うような設定にされているか否かを判定する。オート設定である場合(ステップS401;Yes)、処理はステップS402に進む。これに対して、オート設定でない場合(ステップS401;No)、処理はステップS403に進む。
ステップS402では、電池ECU10aは、キャビン温度が「0℃」未満であるか否かを判定する。なお、ステップS402の判定で用いる「0℃」は、第1の所定温度に対応する。キャビン温度が「0℃」未満である場合(ステップS402;Yes)、処理はステップS404に進む。ステップS404では、電池ECU10aは、キャビン湿度を低下させるべく、エアコンのコンプレッサをオン(作動状態)にして外気導入するように、エアコン設定の変更要求について仮決定を行う。詳しくは、コンプレッサがオフとなっている場合にコンプレッサがオフからオンに変更されるように仮決定を行うと共に、内気循環している場合に内気循環から外気導入に変更されるように仮決定を行う。そして、処理は終了する。これに対して、キャビン温度が「0℃」以上である場合(ステップS402;No)、処理はステップS405に進む。ステップS405では、電池ECU10aは、キャビン湿度を低下させるべく、エアコンのコンプレッサをオン(作動状態)にして内気循環するように、エアコン設定の変更要求について仮決定する。詳しくは、コンプレッサがオフとなっている場合にコンプレッサがオフからオンに変更されるように仮決定を行うと共に、外気導入している場合に外気導入から内気循環に変更されるように仮決定を行う。そして、処理は終了する。
次に、ステップS403では、電池ECU10aは、キャビン温度が「−15℃」未満であるか否かを判定する。なお、ステップS402の判定で用いる「−15℃」は、第2の所定温度に対応する。キャビン温度が「−15℃」未満である場合(ステップS403;Yes)、処理はステップS406に進む。ステップS406では、電池ECU10aは、エアコンのコンプレッサをオフ(非作動状態)にして外気導入するように、エアコン設定の変更要求について仮決定を行う。詳しくは、コンプレッサがオンとなっている場合(具体的には、この場合にはエアコンがオート設定にはされていないが、乗員によってエアコンのスイッチがオンにされている場合が該当する)にコンプレッサがオンからオフに変更されるように仮決定を行うと共に、内気循環している場合に内気循環から外気導入に変更されるように仮決定を行う。この場合には、電池極低温時のため電池3の暖機要求が高いと考えられるので、エアコンがオート設定ではないが、エアコン設定の変更について許可を出す。そして、処理は終了する。これに対して、キャビン温度が「−15℃」以上である場合(ステップS403;No)、処理はステップS407に進む。ステップS407では、電池ECU10aは、エアコン設定を変更しないと仮決定する。そして、処理は終了する。
次に、図8は、第2実施形態における電池ブロア作動処理を示すフローチャートである。この電池ブロア作動処理は、上記した電池ブロアオン許可判定処理(図6参照)の後に実行される。また、電池ブロア作動処理も、電池ECU10aによって繰り返し実行される。なお、ステップS501〜S504及びステップS506、S507の処理は、それぞれ、第1実施形態における電池ブロア作動処理におけるステップS201〜S204及びステップS205、S206の処理(図4参照)と同様であるため、その説明を省略する。ここでは、ステップS505の処理についてのみ説明を行う。
ステップS505の処理は、電池ブロア2のオンが許可されている場合(ステップS504;Yes)に行われる。ステップS505では、電池ECU10aは、前述したエアコン設定変更要求仮決定処理において仮決定されたエアコン設定の変更要求に応じて、エアコン設定を変更する処理を行う。具体的には、電池ECU10aは、エアコン設定の変更要求に対応する信号S9aを、エアコンECU9aに対して供給する。そして、エアコンECU9aは、供給された信号S9aに応じて、エアコン設定の変更を行う。以上の処理が終了すると、処理はステップS506に進む。この後、電池ブロア2がオンに制御される(ステップS506)。なお、電池ブロア2のオンが許可されていない場合(ステップS504;No)には、電池ブロア2をオフにするため(ステップS507)、つまり電池3を暖機するための制御を行わないため、電池ECU10aは、エアコン設定を変更しない。
以上説明した第2実施形態によれば、キャビン湿度が電池3の暖機を許可できる湿度となるように適切にエアコン設定を変更することができるため、電池3の暖機を行う機会を増加させることが可能となる。
[変形例]
上記では、エアコン情報(空調設定)及び乗員数の両方に基づいて電池3の暖機を行うか否かを決定する実施形態を示したが、これに限定はされない。他の例では、エアコン情報及び乗員数のいずれか一方のみに基づいて、電池3の暖機を行うか否かを決定することができる。つまり、乗員数を用いずにエアコン情報に基づいてキャビン湿度を推定して暖機を行うか否かを決定しても良いし、エアコン情報を用いずに乗員数に基づいてキャビン湿度を推定して暖機を行うか否かを決定しても良い。
第1実施形態における電池温度制御装置の概略構成図を示す。 第1実施形態における電池ブロアオン許可判定処理を示すフローチャートである。 キャビン湿度の推定方法を説明するための図である。 第1実施形態における電池ブロア作動処理を示すフローチャートである。 第2実施形態における電池温度制御装置の概略構成図を示す。 第2実施形態における電池ブロアオン許可判定処理を示すフローチャートである。 エアコン設定変更要求仮決定処理を示すフローチャートである。 第2実施形態における電池ブロア作動処理を示すフローチャートである。
符号の説明
1 空気吸入口
2 電池ブロア
3 電池
4 電池温度センサ
5 キャビン温度センサ
6 着座センサ
9、9a エアコンECU
10、10a 電池ECU
100、100a 電池温度制御装置

Claims (9)

  1. キャビンの空気を電池に供給することで前記電池の暖機を行うと共に、前記キャビンの空気の温度に基づいて前記電池の暖気を行うか否かを決定する電池温度制御装置であって、
    前記キャビンにおける空調設定に応じて、前記電池の暖機を行うか否かを決定する電池暖機判定手段を備えることを特徴とする電池温度制御装置。
  2. 前記キャビンの空気の湿度が前記電池の暖機を許可できる湿度となるように、前記空調設定を変更する空調設定変更手段を更に備える請求項1に記載の電池温度制御装置。
  3. 前記空調設定変更手段は、前記空調設定が自動で空調制御を行うオート設定にされている場合において、
    前記キャビンの空気の温度が第1の所定温度未満である場合には、空調におけるコンプレッサを作動状態にして、外気導入するように前記空調設定を変更し、
    前記キャビンの空気の温度が前記第1の所定温度以上である場合には、前記コンプレッサを作動状態にして、内気循環するように前記空調設定を変更する請求項2に記載の電池温度制御装置。
  4. 前記空調設定変更手段は、前記空調設定が自動で空調制御を行うオート設定にされていない場合において、
    前記キャビンの空気の温度が第2の所定温度未満である場合には、空調におけるコンプレッサを非作動状態にして、外気導入するように前記空調設定を変更し、
    前記キャビンの空気の温度が前記第2の所定温度以上である場合には、前記空調設定を変更しない請求項2又は3に記載の電池温度制御装置。
  5. 前記電池暖機判定手段は、前記空調設定として空調におけるコンプレッサが作動状態であるか又は非作動状態であるかに基づいて、前記電池の暖機を行うか否かを決定する請求項1乃至4のいずれか一項に記載の電池温度制御装置。
  6. 前記電池暖機判定手段は、前記空調設定として外気導入であるか又は内気循環であるかに基づいて、前記電池の暖機を行うか否かを決定する請求項1乃至5のいずれか一項に記載の電池温度制御装置。
  7. キャビンの空気を電池に供給することで前記電池の暖機を行うと共に、前記キャビンの空気の温度に基づいて前記電池の暖気を行うか否かを決定する電池温度制御装置であって、
    乗員数に応じて、前記電池の暖機を行うか否かを決定する電池暖機判定手段を備えることを特徴とする電池温度制御装置。
  8. 前記電池暖機判定手段は、前記電池の温度が前記キャビンの空気の温度以上である場合、前記電池の暖気を禁止する請求項1乃至7のいずれか一項に記載の電池温度制御装置。
  9. 前記電池暖機判定手段は、前記電池の温度が暖機目標温度以上である場合、前記電池の暖気を禁止する請求項1乃至8のいずれか一項に記載の電池温度制御装置。
JP2008216426A 2008-08-26 2008-08-26 電池温度制御装置 Active JP5146201B2 (ja)

Priority Applications (1)

Application Number Priority Date Filing Date Title
JP2008216426A JP5146201B2 (ja) 2008-08-26 2008-08-26 電池温度制御装置

Applications Claiming Priority (1)

Application Number Priority Date Filing Date Title
JP2008216426A JP5146201B2 (ja) 2008-08-26 2008-08-26 電池温度制御装置

Publications (2)

Publication Number Publication Date
JP2010052450A true JP2010052450A (ja) 2010-03-11
JP5146201B2 JP5146201B2 (ja) 2013-02-20

Family

ID=42068839

Family Applications (1)

Application Number Title Priority Date Filing Date
JP2008216426A Active JP5146201B2 (ja) 2008-08-26 2008-08-26 電池温度制御装置

Country Status (1)

Country Link
JP (1) JP5146201B2 (ja)

Cited By (3)

* Cited by examiner, † Cited by third party
Publication number Priority date Publication date Assignee Title
WO2012014392A1 (ja) * 2010-07-29 2012-02-02 パナソニック株式会社 電池昇温回路および電池昇温装置
JP2013209086A (ja) * 2013-05-15 2013-10-10 Mitsubishi Electric Corp 車両用駆動電源装置
WO2014122880A1 (ja) * 2013-02-11 2014-08-14 株式会社デンソー 温調装置

Citations (6)

* Cited by examiner, † Cited by third party
Publication number Priority date Publication date Assignee Title
JPH10252467A (ja) * 1997-03-14 1998-09-22 Toyota Motor Corp 電動車両搭載電池温度調整装置
JP2000059917A (ja) * 1998-08-10 2000-02-25 Toyota Motor Corp 電動車両搭載電池温度調整装置
JP2005100694A (ja) * 2003-09-22 2005-04-14 Denso Corp 燃料電池の暖機システム
JP2006120334A (ja) * 2004-10-19 2006-05-11 Toyota Motor Corp バッテリ温度管理装置およびそれを備える自動車
JP2006172931A (ja) * 2004-12-16 2006-06-29 Toyota Motor Corp 充放電制御装置および車両
JP2007287618A (ja) * 2006-04-20 2007-11-01 Toyota Motor Corp 車両用電池温度制御装置

Patent Citations (6)

* Cited by examiner, † Cited by third party
Publication number Priority date Publication date Assignee Title
JPH10252467A (ja) * 1997-03-14 1998-09-22 Toyota Motor Corp 電動車両搭載電池温度調整装置
JP2000059917A (ja) * 1998-08-10 2000-02-25 Toyota Motor Corp 電動車両搭載電池温度調整装置
JP2005100694A (ja) * 2003-09-22 2005-04-14 Denso Corp 燃料電池の暖機システム
JP2006120334A (ja) * 2004-10-19 2006-05-11 Toyota Motor Corp バッテリ温度管理装置およびそれを備える自動車
JP2006172931A (ja) * 2004-12-16 2006-06-29 Toyota Motor Corp 充放電制御装置および車両
JP2007287618A (ja) * 2006-04-20 2007-11-01 Toyota Motor Corp 車両用電池温度制御装置

Cited By (6)

* Cited by examiner, † Cited by third party
Publication number Priority date Publication date Assignee Title
WO2012014392A1 (ja) * 2010-07-29 2012-02-02 パナソニック株式会社 電池昇温回路および電池昇温装置
US8884588B2 (en) 2010-07-29 2014-11-11 Panasonic Corporation Battery warming circuit and battery warming apparatus
WO2014122880A1 (ja) * 2013-02-11 2014-08-14 株式会社デンソー 温調装置
JP2014151802A (ja) * 2013-02-11 2014-08-25 Denso Corp 温調装置
CN105073458A (zh) * 2013-02-11 2015-11-18 株式会社电装 温度调节装置
JP2013209086A (ja) * 2013-05-15 2013-10-10 Mitsubishi Electric Corp 車両用駆動電源装置

Also Published As

Publication number Publication date
JP5146201B2 (ja) 2013-02-20

Similar Documents

Publication Publication Date Title
JP5607576B2 (ja) 車両用空調制御装置、車両用空調制御方法、及び車両用空調制御プログラム
US20140144998A1 (en) Air conditioner for vehicle
EP2241463A1 (en) Vehicle air conditioner
JP2008273332A (ja) 空調制御装置
US9562933B2 (en) Diagnostic method for multiple speed relay-controlled electric fan
CN108040476B (zh) 发动机控制装置
JP5146201B2 (ja) 電池温度制御装置
EP3650252A1 (en) Vehicle air-conditioning method and vehicle air-conditioning device
US20080104979A1 (en) Dehumidifying method of airconditioning system for automotive windshield
JP6528534B2 (ja) 車両用空調制御装置
JP2010101250A (ja) エンジン自動始動停止制御装置及びその制御方法
JP2010030549A (ja) 車両用空調制御装置、車両用空調制御方法、及び車両用空調制御プログラム
CN110290954B (zh) 车辆用空调装置
JP2016096658A5 (ja)
JP2018090083A (ja) 車両用空調装置
JP6583245B2 (ja) 車両用空調装置
JP5472024B2 (ja) 車両用空調装置
KR20160035639A (ko) 차량용 공조장치
KR102037250B1 (ko) 차량용 공조장치
JP4670797B2 (ja) 車両用電池冷却装置
JP2016147544A (ja) 車両用空調装置
JP2016141333A (ja) 車両用空調装置
KR20150111025A (ko) 차량의 공조 제어방법 및 그 장치
KR101659879B1 (ko) 차량용 공조장치의 제어방법
JP6156004B2 (ja) 車両用空調制御装置

Legal Events

Date Code Title Description
A621 Written request for application examination

Free format text: JAPANESE INTERMEDIATE CODE: A621

Effective date: 20101122

A977 Report on retrieval

Free format text: JAPANESE INTERMEDIATE CODE: A971007

Effective date: 20120511

A131 Notification of reasons for refusal

Free format text: JAPANESE INTERMEDIATE CODE: A131

Effective date: 20120515

A521 Written amendment

Free format text: JAPANESE INTERMEDIATE CODE: A523

Effective date: 20120619

TRDD Decision of grant or rejection written
A01 Written decision to grant a patent or to grant a registration (utility model)

Free format text: JAPANESE INTERMEDIATE CODE: A01

Effective date: 20121030

A61 First payment of annual fees (during grant procedure)

Free format text: JAPANESE INTERMEDIATE CODE: A61

Effective date: 20121112

R151 Written notification of patent or utility model registration

Ref document number: 5146201

Country of ref document: JP

Free format text: JAPANESE INTERMEDIATE CODE: R151

FPAY Renewal fee payment (event date is renewal date of database)

Free format text: PAYMENT UNTIL: 20151207

Year of fee payment: 3