JP2010052010A - 溶湯供給装置 - Google Patents

溶湯供給装置 Download PDF

Info

Publication number
JP2010052010A
JP2010052010A JP2008220033A JP2008220033A JP2010052010A JP 2010052010 A JP2010052010 A JP 2010052010A JP 2008220033 A JP2008220033 A JP 2008220033A JP 2008220033 A JP2008220033 A JP 2008220033A JP 2010052010 A JP2010052010 A JP 2010052010A
Authority
JP
Japan
Prior art keywords
molten metal
hot water
rotating shaft
pot
pan
Prior art date
Legal status (The legal status is an assumption and is not a legal conclusion. Google has not performed a legal analysis and makes no representation as to the accuracy of the status listed.)
Granted
Application number
JP2008220033A
Other languages
English (en)
Other versions
JP5419253B2 (ja
Inventor
Atsusato Sofue
篤吏 祖父江
Takeo Yamashita
雄生 山下
Eiichi Ohashi
栄一 大橋
Yasushi Oba
靖史 大庭
Nobumasa Takaoka
伸正 高岡
Current Assignee (The listed assignees may be inaccurate. Google has not performed a legal analysis and makes no representation or warranty as to the accuracy of the list.)
Daihatsu Motor Co Ltd
Original Assignee
Daihatsu Motor Co Ltd
Priority date (The priority date is an assumption and is not a legal conclusion. Google has not performed a legal analysis and makes no representation as to the accuracy of the date listed.)
Filing date
Publication date
Application filed by Daihatsu Motor Co Ltd filed Critical Daihatsu Motor Co Ltd
Priority to JP2008220033A priority Critical patent/JP5419253B2/ja
Publication of JP2010052010A publication Critical patent/JP2010052010A/ja
Application granted granted Critical
Publication of JP5419253B2 publication Critical patent/JP5419253B2/ja
Active legal-status Critical Current
Anticipated expiration legal-status Critical

Links

Images

Landscapes

  • Casting Support Devices, Ladles, And Melt Control Thereby (AREA)

Abstract

【課題】簡易かつ安全な方法で配湯可能な溶湯供給装置を提供する。
【解決手段】溶湯鍋10の回転軸22に溶湯の配湯路40を設ける。これにより、溶湯鍋10の回転に関わらず、溶湯鍋10の配湯路40を定位置に保つことができる。従って、リフトや車両の運転を要することなく、溶湯鍋10の傾倒のみで定位置から配湯することができるため、作業効率が向上するとともに安全性も高められる。
【選択図】図4

Description

本発明は、溶湯鍋に収容した溶湯を、鋳造機等の手許炉に供給するための溶湯供給装置に関する。
従来の溶湯供給装置の溶湯鍋を図6および図7に示す。この溶湯鍋100は、注ぎ口101および回転軸102を有する。この溶湯鍋100を、回転軸102を中心に図6の矢印に示す方向に回転させ、注ぎ口101が下方に移動するように溶湯鍋100を傾倒させることにより、溶湯鍋100の内部の溶湯が注ぎ口101から手許炉(図示省略)に配湯される。このとき、溶湯鍋100の注ぎ口101は、円弧を描きながら移動する(図7の一点鎖線参照)。すなわち、溶湯鍋は、注ぎ口101を図7の左右方向にX、上下方向にYで示す範囲内で移動させながら傾倒する。手許炉の開口部に正確に配湯するためには、上記のような注ぎ口101の移動を補完する必要がある。従来は、溶湯鍋が設置されるフォークリフトを上昇させたり、フォークリフト車両自体の運転により溶湯鍋を手許炉に寄せることにより、注ぎ口101を定位置に保つ方法が一般的であった。しかし、フォークリフトの上昇や車両の運転による注ぎ口の位置調整は非常に高度な技術であるため、より簡易な方法が求められている。
例えば、特許文献1に示されているように、溶湯鍋の回転軸を注ぎ口の近くに設ければ、溶湯鍋の傾倒による注ぎ口の移動を抑えることができる。
特開平9−24459号公報
しかし、特許文献1の方法でも、溶湯鍋の注ぎ口の移動が完全に解消されるわけではなく、やはりフォークリフトの高度な運転技術が必要となる。
本発明の課題は、簡易かつ安全な方法で配湯可能な溶湯供給装置を提供することにある。
前記課題を解決するために、本発明は、内部に溶湯を収容可能な溶湯鍋と、溶湯鍋に設けられた回転軸と、溶湯鍋を回転軸周りに傾倒させる駆動手段とを有する溶湯供給装置において、溶湯鍋の回転軸に、溶湯の配湯路を設けたことを特徴とする。
このように、本発明は、溶湯鍋の回転軸に溶湯の配湯路を設けている。図6及び7に示す従来の溶湯鍋では、回転軸と直交する方向に配湯路を設けていたため、溶湯鍋の回転に伴って注ぎ口が移動していたが、本発明のように溶湯鍋の回転軸に配湯路を設けることで、溶湯鍋の回転中でも溶湯鍋の注ぎ口を定位置に保つことができる。従って、フォークリフトの上昇や車両の移動を要することなく、溶湯鍋の傾倒のみで定位置から配湯することができるため、作業効率が向上するとともに安全性も高められる。
例えば、溶湯鍋の回転軸を中空に形成し、この回転軸の内孔を配湯路とすれば、上記のような溶湯供給装置を得ることができる。
溶湯鍋が、回転軸付近に中心を有する断面円弧状の曲面部と、曲面部の一端から曲面部の半径方向に延びた平面部とを有し、曲面部と平面部とで囲まれた扇形の空間に溶湯を収容可能とすれば、溶湯鍋の回転速度で配湯量を制御することができる。すなわち、回転軸付近に中心を有する扇形の空間に溶湯を収容することで、溶湯鍋の回転角度と配湯量とが比例するため、溶湯鍋を回転軸周りに一定速度で回転させることにより、定量配湯を容易に実現することができる。
ところで、溶湯鍋の回転軸(配湯路)が短いと、すなわち溶湯鍋からの回転軸の突出量が小さいと、溶湯鍋を手許炉になるべく近接させる必要が生じるため、溶湯鍋の運搬が難しくなる。一方、回転軸を溶湯鍋から大きく突出させると、溶湯鍋を手許炉に近接させる精度は緩和されるが、溶湯鍋の運搬中に突出した回転軸が周辺の設備と干渉する恐れがある。そこで、溶湯鍋の回転軸に設けた配湯路を延長する配湯樋を設け、この配湯樋を、溶湯鍋の回転軸と直行する中心軸周りに回転可能とすれば、配湯時には配湯路を延長して手許炉から離れた位置からでも配湯可能とし、溶湯鍋を運搬するときは、配湯樋を回転させて溶湯鍋側に収容することで、配湯樋と周辺設備との干渉を回避することができる。
以上のように、本発明の溶湯供給装置によれば、簡易かつ安全な方法で配湯することができる。
以下、本発明の実施形態を図面に基づいて説明する。
図1に、本発明の実施形態にかかる溶湯供給装置1を示す。溶湯供給装置1は、溶融炉から出湯された溶湯を鋳造機等の各設備まで運搬し、各設備の手許炉に配湯するものである。溶湯供給装置1は、運搬用の台車2に載置され、溶湯鍋10と、溶湯鍋10に設けられた回転軸20と、溶湯鍋10を回転軸20周りに回転させる駆動手段30とを主に備える。尚、以下では、説明の便宜上、台車2の進行方向前方(図1の左側)を前側、後方(図1の右側)を後側と言い、進行方向と直交する水平方向(図1の紙面と直交する方向)を幅方向と言う。
溶湯鍋10は、上端を開口し、内部に溶湯を収容可能に形成される。本実施形態では、図2および図3に示すように、前方壁11と、後方壁12と、側壁13・14と、蓋部15とを有する。前方壁11は、下方に向けて肉厚が少しずつ増した略平板状に形成され、詳しくは、図2に示す状態において、前方壁11の外側面11aは垂直方向(鉛直方向)に延び、内側面11bは下方へ向けて後方に傾斜している。図示例では、内側面11bが垂直方向に対して5度傾斜している。後方壁12は、前方壁11の下端から後上方に延びた断面円弧状を成し、その肉厚は全域に亘って一定に形成される。後方壁12の外側面12aおよび内側面12bは、共に回転軸20付近に設けられた点O12を曲率中心としている。側壁13・14は平板状を成し、前方壁11および後方壁12の幅方向両端部に設けられる。前方壁11の内側面11b(平面部)と、後方壁12の内側面12b(曲面部)と、両側壁13・14とで囲まれた断面扇形の空間Pに、溶湯が収容される。蓋部15は、前方壁11、後方壁12、および側壁13・14の上端に設けられる。蓋部15には上方開口部15aが形成され、溶湯路から出湯された溶湯が開口部15aから内部空間Pに注入される。こうして、溶湯が収容される内部空間Pの上方開口部に蓋部15を設けることで、溶湯の放熱を妨げ、溶湯の温度低下を抑えることができる。
溶湯鍋10には回転軸20が設けられる。具体的には、図3に示すように、溶湯鍋10の一方の側壁13側に設けられた中実の第1回転軸21と、他方の側壁14側に設けられた中空の第2回転軸22とで、回転軸20が構成される。第1回転軸21は、一方の側壁13の外側面13aにボルト等の適宜の手段で固定される。第2回転軸22は他方の側壁14と一体に成形される。詳しくは、セラミック等で形成されたパイプ材22aと、パイプ材22aの外周を覆い、溶湯鍋10の側壁14と一体成形された外周部22bとで、第2回転軸22が構成される。パイプ材22aは、他方の側壁14の内側面14aから第2回転軸22の先端部まで達している。第2回転軸22には溶湯の配湯路が設けられ、図示例では中空の第2回転軸22の内孔(パイプ材22aの内孔)で、溶湯鍋10の他方の側壁14を貫通する配湯路40が構成される。
第1回転軸21および第2回転軸22は、溶湯鍋10の後方壁12の曲率中心付近で同一回転軸上に配され、例えば、後方壁12の曲率中心O12が、第1回転軸21および第2回転軸22の外周面の径方向領域内に含まれる位置に配される。本実施形態では、後方壁12の曲率中心O12が、第1回転軸21の外周面上で、且つ、前方壁11の内側面11b上に設けられる。第1回転軸21および第2回転軸22の外周面は、それぞれ軸受23・24で回転自在に支持されている。
駆動手段30は、例えばシリンダ31および加圧装置32とを有し(図1参照)、溶湯鍋10の幅方向両側に設けられる。シリンダ31の一端は溶湯鍋10の側壁13・14に固定され、他端は台座50に固定される。図示例では、シリンダ31の一端が、溶湯鍋10の側壁13・14のうち、回転軸20とほぼ同じ高さで、且つ、前後方向略中央部に固定される。駆動手段30の構成は特に限定されないが、溶湯は非常に高温であるため、火災等を防止するために油圧式以外の構成(例えば電動式)を採用することが好ましい。この加圧装置32でシリンダ31に圧力を加えてシリンダ31を伸長させることにより、溶湯鍋10の後側が持ち上げられ、溶湯鍋10が回転軸20を中心に回転する。このように、溶湯鍋10を回転させることにより、溶湯鍋10の内部に収容した溶湯を、第2回転軸22の配湯路40を介して手許炉(図示省略)に配湯することができる。
溶湯鍋10の回転による配湯方法を、図4を用いて詳しく説明する。図4の実線で示す溶湯鍋10は、シリンダ31を伸長させない状態、すなわち溶湯鍋10の回転角度が0度の状態を示す。ここでの説明では、回転角度0度の状態で、溶湯が第2回転軸22の配湯路40の直下まで(すなわち、Lの位置まで)満たされていると仮定する。シリンダ31を伸長し、溶湯鍋10を例えば図4の時計周りに15度回転させると、溶湯鍋10の前方壁11の内側面11bがLからLの位置まで移動する。これにより、図中のLとLとで囲まれた空間の容積分の溶湯が配湯路40から配湯される。続いて、シリンダ31を伸長させて溶湯鍋10をさらに15度回転させると、溶湯鍋10の前方壁11の内側面11bがLの位置まで移動し、LとLとで囲まれた空間の容積分の溶湯が配湯路40から配湯される。その後、同様にシリンダ31を伸長させると、前方壁11の内側面11bがL〜Lのように移動し、各直線間の空間の容積分だけ配湯される。シリンダ31を最大まで伸長させると、溶湯鍋10は図4の点線で示す位置まで回転し、前方壁11の内側面11bがLの位置に達する。これにより、溶湯鍋10の内部の溶湯が全て手許炉に配湯される。
図4に示す配湯工程において、溶湯鍋10の回転中、第2回転軸22(配湯路40)は常に定位置にある。従って、溶湯鍋10から手許炉に配湯する際、溶湯鍋10をリフトアップしたり台車2を移動させたりする必要はなく、シリンダ31の伸長動作のみで簡単に配湯することができる。また、溶湯鍋10を回転軸20を車両の幅方向に設けることにより、配湯中における溶湯鍋10の幅方向における重心位置が変わらないため、配湯時の溶湯鍋10の幅方向の重心を安定させることができる。
また、溶湯を収容する空間Pを扇形とし、この扇形の円弧部(後方壁12の内側面12b)の中心付近に設けた回転軸周りに溶湯鍋を回転させることで、配湯量を容易に制御することができる。すなわち、溶湯を収容する空間Pが扇形を成すことにより、等角度で配された各直線L〜L間の容積は一定となる(図4参照)。従って、溶湯鍋10の所定の角度だけ回転させれば、すなわちシリンダ31を所定の長さ伸長させれば、所定量の溶湯を配湯することができる。また、溶湯鍋10の回転速度(すなわちシリンダ31の伸長速度)で配湯量を制御することができ、例えば、溶湯鍋10を一定速度で回転させれば、単位時間あたり一定量の溶湯を配湯することができる。
ところで、溶湯鍋10の回転軸20を、側壁13・14の角部付近に設けたことにより、溶湯鍋10の回転角度が90度を越えると、溶湯鍋10が自重により図4の点線位置からさらに時計回りに回転しようとし、シリンダ31に過剰な負荷が加わる等の不具合が生じる恐れがある。上記のように、溶湯鍋10の前方壁11の内側面11bを傾斜させて設ければ、溶湯鍋10の回転角度が90度となる手前(本実施形態では85度)で、内側面11bが水平位置(図4のL)となる。従って、溶湯鍋10の回転角度を90度にする手前で内部の溶湯を全て配湯することができるため、上記の不具合を回避することができる。
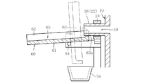
また、溶湯供給装置1には、図5に示すように、溶湯鍋10の配湯路40を延長する配湯樋60が設けられる。この配湯樋60は、細長板状の底部61と、底部61の両長辺部から立ち上がった側壁62と、底部61の一方の短辺部から立ち上がった係止壁63とを有する。係止壁63は、第2回転軸22の下部と当接可能に設けられ、図示例では、係止壁63に、第2回転軸22の外周面形状に倣った凹部63aが形成される。配湯樋60は、回転軸64を中心に回転可能に設けられる。回転軸64は、溶湯鍋10の回転軸20と直交する方向に延び、且つ、第2回転軸22の先端部よりも幅方向外側(図5で左側)に設けられる。
溶湯鍋10の配湯路40を延長する場合は、配湯樋60は図5の実線で示すように、幅方向外側へ向けて若干下方に傾斜した状態で配される。図示例では、配湯樋60の係止壁63の凹部63aと、溶湯鍋10の第2回転軸22とが当接することで位置決めされる。これにより、配湯樋60の底部61および側壁62で囲まれた延長配湯路65が構成され、溶湯鍋10の配湯路40から排出された溶湯が、延長配湯路65を介して手許炉に配湯される。このように配湯樋60を設けて配湯路を延長することで、溶湯供給装置1を手許炉にそれ程近接させる必要がなくなる。従って、例えば台車2を直線的にのみ運転させ、手許炉の位置まで来たら台車2を停止させ、配湯樋60を配湯路延長位置に配することで、配湯することができる。一方、溶湯供給装置1から配湯しないとき、すなわち溶湯の運搬中は、配湯樋60の先端部を上方に回転させて溶湯鍋10側に収容することにより(図5に一点鎖線で示す)、配湯樋60が溶湯供給装置1(あるいは台車2)の側方に突出せず、他の設備と干渉することを防止できる。
配湯樋60を、図5に実線で示す略水平位置から、一点鎖線で示す略垂直位置に回転させる際、配湯樋60や第2回転軸22に付着した溶湯が垂れることがある。図示例では、配湯樋60および第2回転軸22の下方、具体的には配湯樋60を溶湯鍋10側に収容した状態(図5に一点鎖線で示す状態)で、配湯樋60および第2回転軸22の先端部の下方に、上方を開口した容器70を配している。これにより、垂れた溶湯を容器70で受けることができるため、周辺の汚染を防止できると共に、容器70で回収した溶湯を再利用することで材料の無駄を減らすことができる。
溶湯供給装置の側面図である。 溶湯鍋の回転軸直交方向の断面図である。 溶湯鍋の回転軸方向の断面図である。 溶湯鍋による配湯方法を示す断面図である。 配湯樋の動作を示す断面図である。 従来の溶湯鍋を示す正面図である。 従来の溶湯鍋を示す正面図である。
符号の説明
1 溶湯供給装置
2 台車
10 溶湯鍋
11 前方壁
11b 内側面(平面部)
12 後方壁
12b 内側面(曲面部)
13・14 側壁
20 回転軸
21 第1回転軸
22 第2回転軸
30 駆動手段
40 配湯路
50 台座
60 配湯樋
70 容器
P 内部空間

Claims (4)

  1. 内部に溶湯を収容可能な溶湯鍋と、溶湯鍋に設けられた回転軸と、溶湯鍋を回転軸周りに回転させる駆動手段とを有する溶湯供給装置において、
    溶湯鍋の回転軸に、溶湯の配湯路を設けたことを特徴とする溶湯供給装置。
  2. 溶湯鍋の回転軸を中空に形成し、この回転軸の内孔を配湯路とした請求項1記載の溶湯供給装置。
  3. 溶湯鍋が、回転軸付近に曲率中心を有する断面円弧状の曲面部と、曲面部の一端から曲面部の半径方向に延びた平面部とを有し、曲面部と平面部とで囲まれた断面扇形の空間に溶湯を収容可能とした請求項1記載の溶湯供給装置。
  4. 溶湯鍋の回転軸に設けた配湯路を延長する配湯樋を設け、この配湯樋を、溶湯鍋の回転軸と直行する中心軸周りに回転可能とした請求項1記載の溶湯供給装置。
JP2008220033A 2008-08-28 2008-08-28 溶湯供給装置 Active JP5419253B2 (ja)

Priority Applications (1)

Application Number Priority Date Filing Date Title
JP2008220033A JP5419253B2 (ja) 2008-08-28 2008-08-28 溶湯供給装置

Applications Claiming Priority (1)

Application Number Priority Date Filing Date Title
JP2008220033A JP5419253B2 (ja) 2008-08-28 2008-08-28 溶湯供給装置

Publications (2)

Publication Number Publication Date
JP2010052010A true JP2010052010A (ja) 2010-03-11
JP5419253B2 JP5419253B2 (ja) 2014-02-19

Family

ID=42068489

Family Applications (1)

Application Number Title Priority Date Filing Date
JP2008220033A Active JP5419253B2 (ja) 2008-08-28 2008-08-28 溶湯供給装置

Country Status (1)

Country Link
JP (1) JP5419253B2 (ja)

Citations (7)

* Cited by examiner, † Cited by third party
Publication number Priority date Publication date Assignee Title
JPS5561371A (en) * 1978-10-30 1980-05-09 Sintokogio Ltd Continuous type automatic pouring device
JPS58107263U (ja) * 1982-01-19 1983-07-21 アサヒ機工株式会社 扇形トリベの転倒防止装置
JPS60257965A (ja) * 1984-06-04 1985-12-19 Shinko Electric Co Ltd 電磁注湯装置
JPS61129270A (ja) * 1984-11-28 1986-06-17 Hitachi Metals Ltd 自動注湯装置
JPS61152378U (ja) * 1985-03-08 1986-09-20
JPS62106285A (ja) * 1985-11-02 1987-05-16 日本碍子株式会社 溶融金属の精製保持炉
JP2004301388A (ja) * 2003-03-31 2004-10-28 Sukaiemusu Gijutsu Shien Center:Kk 溶湯容器の回転トルク推定方式および溶湯容器内湯面高さ推定方法

Patent Citations (7)

* Cited by examiner, † Cited by third party
Publication number Priority date Publication date Assignee Title
JPS5561371A (en) * 1978-10-30 1980-05-09 Sintokogio Ltd Continuous type automatic pouring device
JPS58107263U (ja) * 1982-01-19 1983-07-21 アサヒ機工株式会社 扇形トリベの転倒防止装置
JPS60257965A (ja) * 1984-06-04 1985-12-19 Shinko Electric Co Ltd 電磁注湯装置
JPS61129270A (ja) * 1984-11-28 1986-06-17 Hitachi Metals Ltd 自動注湯装置
JPS61152378U (ja) * 1985-03-08 1986-09-20
JPS62106285A (ja) * 1985-11-02 1987-05-16 日本碍子株式会社 溶融金属の精製保持炉
JP2004301388A (ja) * 2003-03-31 2004-10-28 Sukaiemusu Gijutsu Shien Center:Kk 溶湯容器の回転トルク推定方式および溶湯容器内湯面高さ推定方法

Also Published As

Publication number Publication date
JP5419253B2 (ja) 2014-02-19

Similar Documents

Publication Publication Date Title
JP4266235B2 (ja) 傾動式自動注湯方法および取鍋用傾動制御プログラムを記憶した記憶媒体
JP3079018B2 (ja) 自動注湯方法及び装置
US6619371B1 (en) Method and device for controlling the movement of the teeming ladle having a low teeming height in a teeming installation device
US7736415B2 (en) Rotary lance
JP5419253B2 (ja) 溶湯供給装置
JPH01244960A (ja) 冶金移送容器の移送車
KR102163212B1 (ko) 용강 레이들용 슬래그 제거장치
KR101300702B1 (ko) 탈가스 장치
JP2003501611A (ja) 冶金用の溶解容器を傾倒により空にするための方法及び装置
JP2006231389A (ja) 容器
JP7590250B2 (ja) タンディッシュカー、および連続鋳造設備
JP2018020865A (ja) 容器リフター
CA2023891A1 (en) Method and apparatus for the dosed removal of molten metal out of a melt vessel
JPH07112270A (ja) 自動注湯方法及び装置
JP2003266163A (ja) 遠心鋳造設備における注湯方法及び注湯システム
KR102239248B1 (ko) 경동 장치 및 용융물 처리 방법
JP7261283B1 (ja) スラグ除去装置及びめっき設備
KR20100124518A (ko) 세미노즐용 홀더의 높이 조정장치
JP2018532599A (ja) 鋳造設備及び鋳造方法
JP2009056475A (ja) コンビネーション溶解システム
KR20220029716A (ko) 야금 용기의 주둥이에서 교체 장치의 캐스팅 튜브를 조작하기 위한 장치
JP2016137500A (ja) 取鍋蓋搬送装置
JP5406754B2 (ja) 溶湯供給装置及び溶湯貯留方法
JP2024011587A (ja) 注湯装置
GB2229384A (en) Molten metal holding and pouring box and pouring nozzle

Legal Events

Date Code Title Description
A621 Written request for application examination

Free format text: JAPANESE INTERMEDIATE CODE: A621

Effective date: 20110627

A977 Report on retrieval

Free format text: JAPANESE INTERMEDIATE CODE: A971007

Effective date: 20130225

A131 Notification of reasons for refusal

Free format text: JAPANESE INTERMEDIATE CODE: A131

Effective date: 20130306

A521 Request for written amendment filed

Free format text: JAPANESE INTERMEDIATE CODE: A523

Effective date: 20130410

A131 Notification of reasons for refusal

Free format text: JAPANESE INTERMEDIATE CODE: A131

Effective date: 20130628

A521 Request for written amendment filed

Free format text: JAPANESE INTERMEDIATE CODE: A523

Effective date: 20130820

TRDD Decision of grant or rejection written
A01 Written decision to grant a patent or to grant a registration (utility model)

Free format text: JAPANESE INTERMEDIATE CODE: A01

Effective date: 20131118

A61 First payment of annual fees (during grant procedure)

Free format text: JAPANESE INTERMEDIATE CODE: A61

Effective date: 20131118

R150 Certificate of patent or registration of utility model

Ref document number: 5419253

Country of ref document: JP

Free format text: JAPANESE INTERMEDIATE CODE: R150

R250 Receipt of annual fees

Free format text: JAPANESE INTERMEDIATE CODE: R250

R250 Receipt of annual fees

Free format text: JAPANESE INTERMEDIATE CODE: R250

R250 Receipt of annual fees

Free format text: JAPANESE INTERMEDIATE CODE: R250

R250 Receipt of annual fees

Free format text: JAPANESE INTERMEDIATE CODE: R250

R250 Receipt of annual fees

Free format text: JAPANESE INTERMEDIATE CODE: R250

R250 Receipt of annual fees

Free format text: JAPANESE INTERMEDIATE CODE: R250

R250 Receipt of annual fees

Free format text: JAPANESE INTERMEDIATE CODE: R250

R250 Receipt of annual fees

Free format text: JAPANESE INTERMEDIATE CODE: R250

R250 Receipt of annual fees

Free format text: JAPANESE INTERMEDIATE CODE: R250

R250 Receipt of annual fees

Free format text: JAPANESE INTERMEDIATE CODE: R250