JP2010051874A - 大型クラゲの洋上処理システム - Google Patents

大型クラゲの洋上処理システム Download PDF

Info

Publication number
JP2010051874A
JP2010051874A JP2008217950A JP2008217950A JP2010051874A JP 2010051874 A JP2010051874 A JP 2010051874A JP 2008217950 A JP2008217950 A JP 2008217950A JP 2008217950 A JP2008217950 A JP 2008217950A JP 2010051874 A JP2010051874 A JP 2010051874A
Authority
JP
Japan
Prior art keywords
jellyfish
storage tank
entrance
net
processing system
Prior art date
Legal status (The legal status is an assumption and is not a legal conclusion. Google has not performed a legal analysis and makes no representation as to the accuracy of the status listed.)
Granted
Application number
JP2008217950A
Other languages
English (en)
Other versions
JP5028362B2 (ja
Inventor
Toshiyuki Sakamukai
利行 坂向
Osamu Kubo
治 久保
Kazuhiko Mitsuta
和彦 三ツ田
Yoshinari Komura
佳成 小村
Yasushi Nakajo
靖史 中條
Current Assignee (The listed assignees may be inaccurate. Google has not performed a legal analysis and makes no representation or warranty as to the accuracy of the list.)
Kanden Plant Corp
Original Assignee
Kanden Plant Corp
Priority date (The priority date is an assumption and is not a legal conclusion. Google has not performed a legal analysis and makes no representation as to the accuracy of the date listed.)
Filing date
Publication date
Application filed by Kanden Plant Corp filed Critical Kanden Plant Corp
Priority to JP2008217950A priority Critical patent/JP5028362B2/ja
Priority to KR1020080108841A priority patent/KR20100025447A/ko
Publication of JP2010051874A publication Critical patent/JP2010051874A/ja
Application granted granted Critical
Publication of JP5028362B2 publication Critical patent/JP5028362B2/ja
Expired - Fee Related legal-status Critical Current
Anticipated expiration legal-status Critical

Links

Images

Classifications

    • AHUMAN NECESSITIES
    • A01AGRICULTURE; FORESTRY; ANIMAL HUSBANDRY; HUNTING; TRAPPING; FISHING
    • A01KANIMAL HUSBANDRY; AVICULTURE; APICULTURE; PISCICULTURE; FISHING; REARING OR BREEDING ANIMALS, NOT OTHERWISE PROVIDED FOR; NEW BREEDS OF ANIMALS
    • A01K69/00Stationary catching devices
    • AHUMAN NECESSITIES
    • A01AGRICULTURE; FORESTRY; ANIMAL HUSBANDRY; HUNTING; TRAPPING; FISHING
    • A01KANIMAL HUSBANDRY; AVICULTURE; APICULTURE; PISCICULTURE; FISHING; REARING OR BREEDING ANIMALS, NOT OTHERWISE PROVIDED FOR; NEW BREEDS OF ANIMALS
    • A01K79/00Methods or means of catching fish in bulk not provided for in groups A01K69/00 - A01K77/00, e.g. fish pumps; Detection of fish; Whale fishery
    • EFIXED CONSTRUCTIONS
    • E02HYDRAULIC ENGINEERING; FOUNDATIONS; SOIL SHIFTING
    • E02BHYDRAULIC ENGINEERING
    • E02B1/00Equipment or apparatus for, or methods of, general hydraulic engineering, e.g. protection of constructions against ice-strains
    • E02B1/006Arresting, diverting or chasing away fish in water-courses or water intake ducts, seas or lakes, e.g. fish barrages, deterrent devices ; Devices for cleaning fish barriers

Landscapes

  • Life Sciences & Earth Sciences (AREA)
  • Environmental Sciences (AREA)
  • Engineering & Computer Science (AREA)
  • General Engineering & Computer Science (AREA)
  • Animal Husbandry (AREA)
  • Biodiversity & Conservation Biology (AREA)
  • Mechanical Engineering (AREA)
  • Civil Engineering (AREA)
  • Structural Engineering (AREA)
  • Marine Sciences & Fisheries (AREA)
  • Catching Or Destruction (AREA)
  • Processing Of Solid Wastes (AREA)

Abstract

【課題】一旦捕獲した大型クラゲがクラゲ貯留槽から流出するのを防止して、効率よく大型クラゲをクラゲ貯留槽に貯留することができ、大型クラゲを確実に処理することができる大型クラゲの洋上処理システムを提供する。
【解決手段】大型クラゲを貯留するクラゲ貯留槽1と、捕獲した大型クラゲを生かしたままクラゲ貯留槽1に搬送するクラゲ搬送手段2とを備え、クラゲ貯留槽1に大型クラゲを貯留することにより、大型クラゲが衰弱して死滅し、その死骸が自然消滅するように網状部材3を備えた大型クラゲの洋上処理システムである。クラゲ貯留槽1は、出入口10が開状態のときに、クラゲ搬送手段2のクラゲ貯留槽1への進入を許容しつつ、出入口10からの大型クラゲの流出を防止するクラゲ流出防止機構11を設けた。
【選択図】図1

Description

本発明は、発電所等の海水の取水口に進入するクラゲを処理するシステムに関し、特に、処理対象である大型クラゲを陸揚げすることなく洋上で処理する大型クラゲの洋上処理システムに関する。
近年、地球温暖化等の影響により、クラゲ類の大量(異常)漂着が深刻化している。特に、大型クラゲ(エチゼンクラゲ)の大量漂着が頻発しており、その規模は次第に拡大していく傾向にある。このような環境変化の中、火力・原子力発電所では、クラゲ類の大量来襲により、たびたび取水量を制限し、出力を調整しての運転を強いられるなどの被害が発生している。
その対処として、クラゲの回収作業を実施することが必要となる。回収作業としては、例えば以下の方法がとられていた。すなわち、図6に示すように、クラゲが漂着するクラゲ回収範囲A、Bで人が海中に潜ってクラゲを網103に捕獲し、この網103を搬送船101に固定する。そして、搬送船101は矢印に示すようなルートにて、クラゲが捕獲された網103を陸102に搬送し、重機にて網103を陸揚げして、廃棄物として処理していた。
しかしながら、陸上でクラゲを処理するためには、多大な労力とコストを要する。それに加えて、廃棄物処理場の許容量も限界に近く、廃棄物排水量の低減が望まれる。また、大型クラゲは毒性が強いため、陸揚げすると風の影響で毒が飛散し、人体に悪影響を及ぼすという問題もあった。
そこで、クラゲを陸揚げすることなく海上で処理する方法が提案されている(特許文献1)。特許文献1のものは、網地で構成されたクラゲ貯留槽の出入口に、回収したクラゲをクラゲ貯留槽に吸引するパイプを設け、このパイプにてクラゲを生きたままクラゲ貯留槽に誘導する。クラゲ貯留槽は、取水口付近の海水の流れのあるところに設置されるので、貯留されたクラゲは運動を続けて減量し、やがては網地に張り付いて損壊し、海水に溶けて消滅する。
特開2006−104125号公報
前記特許文献1に記載のものは、クラゲをパイプにて誘導するものであるため、小型クラゲの処理には適している。しかしながら、直径1m程度の大型クラゲの回収に適用すると大型のパイプが必要となって、装置が大型化したり、高コストとなったりする。また、特許文献1に記載のようなパイプにて大型クラゲを吸引するためには大きな吸引力が必要となり、大型クラゲの処理には適さない。従って、特許文献1に記載の装置を用いて大型クラゲを処理する場合には、パイプを介してクラゲを吸引することができず、クラゲを確保した網を、搬送船によってクラゲ貯留槽にまで搬送する必要がある。
クラゲ貯留槽には、搬送船がクラゲ貯留槽内に出入りするための開閉自在の出入口が設けられており、搬送船がクラゲ貯留槽内に出入りする際は、出入口は開状態となる。このように出入口が開状態となった場合、クラゲ貯留槽内のクラゲ(特に、損壊の少ないクラゲ)が、クラゲ貯留槽外に流出するという問題があった。
そこで、本発明は、上記課題に鑑みて、一旦捕獲した大型クラゲがクラゲ貯留槽から流出するのを防止して、効率よく大型クラゲをクラゲ貯留槽に貯留することができ、大型クラゲを確実に処理することができる大型クラゲの洋上処理システムを提供する。
本発明の大型クラゲの洋上処理システムは、大型クラゲを貯留するクラゲ貯留槽と、捕獲した大型クラゲを生かしたままクラゲ貯留槽に搬送するクラゲ搬送手段とを備え、前記クラゲ貯留槽に大型クラゲを貯留することにより、大型クラゲが衰弱して死滅し、その死骸が自然消滅するように網状部材を備えた大型クラゲの洋上処理システムにおいて、前記クラゲ貯留槽は、出入口が開状態のときに、クラゲ搬送手段のクラゲ貯留槽への進入を許容しつつ、出入口からの大型クラゲの流出を防止するクラゲ流出防止機構を設けたものである。ここで、大型クラゲとは、傘径が約0.5m〜2m程度の大きさを有するクラゲをいう。
本発明の大型クラゲの洋上処理システムでは、クラゲ貯留槽の出入口にクラゲ流出防止機構を設けたので、クラゲ貯留槽の出入口が開状態となってクラゲ搬送手段がクラゲ貯留槽へ進入する場合であっても、一旦捕獲した大型クラゲが出入口から流出することを防止できる。しかも、クラゲ流出防止手段は、クラゲ搬送手段がクラゲ貯留槽へ進入するのを妨げることがない。
前記クラゲ流出防止機構は、前記出入口にバブリングにより生じた気泡により構成することができる。大型クラゲは、海水中に気泡が発生すると、気泡から離れようとする習性がある。このため、出入口に気泡を発生させると、大型クラゲは気泡から離れる方向、つまり出入口から離れる方向に移動する。
前記クラゲ流出防止機構は、出入口が閉状態のときにも気泡を発生させるものとすることができる。これにより、常時大型クラゲは出入口から離れた場所に位置することになる。
前記クラゲ搬送手段は、大型クラゲを確保する網と、この網をクラゲ貯留槽に搬送する搬送船とからなり、前記網は、一つの開口部を有し、開口部を吊上げ状態とする吊上用ロープと、この吊上用ロープと180度反対方向に連結される排出用ロープとを備え、搬送中は、前記開口部が閉じた状態で吊上用ロープが搬送船に固定されて牽引され、クラゲ貯留槽内では、排出用ロープを搬送船に固定して、開口部の締付状態を解除するとともに、吊上用ロープの搬送船の固定を解除するものである。これにより、網の開口部が反転して、網内の大型クラゲをクラゲ貯留槽に排出することができる。
前記クラゲ貯留槽内に、底面から所定位置の高さに維持する浮きを設け、この浮きから目盛を設置し、この目盛の沈みこみ量を測定することができる。これにより、大型クラゲの堆積に伴って、浮き及び目盛が下降して沈み込み、目盛の沈みこみ量を測定することにより、クラゲ貯留槽内の大型クラゲ堆積量をモニタリングすることができて、クラゲ貯留槽内の空き容量を認識することができる。
前記クラゲ貯留槽を、大型クラゲが大量漂着する場所の近傍に設けることができる。大型クラゲが大量に漂着する場所においては、大型クラゲの捕獲作業が頻繁に発生し、クラゲ貯留槽との搬送回数が増える。このため、クラゲ貯留槽を大型クラゲが大量漂着する場所の近傍に設けると、クラゲ搬送手段の搬送距離を小とすることができる。
本発明の大型クラゲの洋上処理システムによれば、クラゲ貯留槽の出入口が開状態となってクラゲ搬送手段がクラゲ貯留槽へ進入する場合であっても、一旦捕獲した大型クラゲが出入口から流出することを防止できる。このため、効率よく大型クラゲをクラゲ貯留槽に貯留することができ、一旦捕獲した大型クラゲを確実に処理することができる。しかも、クラゲ流出防止手段は、クラゲ搬送手段がクラゲ貯留槽へ進入するのを妨げることがないので、クラゲ搬送手段はスムーズに出入口を通過することができる。
クラゲ貯留槽の出入口に気泡を発生させると、大型クラゲが気泡から離れる方向、つまり出入口から離れる方向に移動することになって、大型クラゲの出入口からの流出を効果的に防止することができる。しかも、クラゲ流出防止機構としては、複雑なものとならず、装置の大型化及び高コスト化を防止できる。
前記クラゲ流出防止機構は、出入口が閉状態のときにも気泡を発生させるものとすると、常時大型クラゲは出入口から離れた場所に位置することになって、大型クラゲの出入口からの流出を一層効果的に防止することができる。
前記クラゲ搬送手段を構成する網として、開口部を吊上げ状態とする吊上用ロープと、この吊上用ロープと180度反対方向に連結される排出用ロープとを備えると、網を安定して搬送することができる。また、網の開口部が反転して、網内の大型クラゲをクラゲ貯留槽に排出することができ、簡単な方法で大型クラゲをクラゲ貯留槽に排出することができる。
浮きの沈みこみ量を測定することにより、クラゲ貯留槽内の大型クラゲ堆積量をモニタリングすると、クラゲ貯留槽の空き容量を認識して、空き容量がない場合には、他のクラゲ貯留槽に搬送する等の対策を講じることができるため、効率良く大型クラゲをクラゲ貯留槽に搬送することができる。
クラゲ貯留槽を大型クラゲが大量漂着する場所の近傍に設けると、クラゲ搬送手段の搬送距離を小とすることができて、一層効率よく処理することができる。
以下、本発明を実施するための最良の形態について説明する。
本発明の大型クラゲの洋上処理システムは、図1に示すように、大型クラゲを貯留するクラゲ貯留槽1と、捕獲した大型クラゲを生かしたままクラゲ貯留槽1に搬送するクラゲ搬送手段2とを備え、大型クラゲを陸揚げすることなく洋上で処理するものである。すなわち、図1のクラゲ回収範囲A、Bにおいて人が海水に潜って大型クラゲを捕獲し、捕獲した大型クラゲをクラゲ搬送手段2にてクラゲ貯留槽1まで搬送する。そして、大型クラゲが衰弱して死滅し、その死骸が自然消滅する。なお、大型クラゲとは、傘径が約0.5m〜2m程度の大きさを有するクラゲをいう。
クラゲ貯留槽1は、捕獲した大型クラゲを貯留するためのもので、洋上に設けられる。図1において、クラゲ回収範囲Aは、特に大型クラゲが大量漂着しやすい場所であり、クラゲ回収範囲Bは、クラゲ回収範囲Aと比較して大型クラゲの漂着が少量である範囲を示している。クラゲ貯留槽1は、大型クラゲが大量漂着するクラゲ回収範囲Aの近傍に設けている。すなわち、クラゲが大量に漂着する場所においては、大型クラゲの捕獲作業が頻繁に発生し、クラゲ貯留槽1との搬送回数が増える。このため、クラゲ貯留槽1をクラゲ回収範囲Aの近傍に設け、クラゲ回収範囲Aからの搬送ルートSを短くしている。一方、大型クラゲの漂着が比較的少量であるクラゲ回収範囲Bにおいては、大型クラゲの捕獲作業が頻繁に発生することがなく、クラゲ貯留槽1との搬送回数は多くはない。このため、クラゲ回収範囲Bからの搬送ルートLは搬送ルートSよりも長い。これにより、クラゲ搬送手段2の搬送距離を全体として小とすることができる。
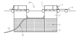
クラゲ貯留槽1は、図2や図3に示すように、正八角形状の枠体(足場板)4と、この枠体4に沿って所定深さまで設けられ、クラゲ貯留槽1の周壁を構成するシート5と、このシート5の下方に所定深さまで設けられ、底面6を有する網状部材3とを備える。枠体4は、その一辺が欠如して7つの辺にて構成されており、辺が欠如している部位にはシート5は設けられていない。このため、クラゲ貯留槽1には、正八角形の一辺が開口する開口部7が形成され、開口部7にてクラゲ搬送手段2が出入する出入口10とすることができる。この出入口10には、出入口10を開閉自在とする扉8が設けられている。扉8は、一端部が枠体4に接続され、この接続部を中心に揺動することによって出入口10を開閉自在としている。
また、クラゲ貯留槽1には、図3に示すように、クラゲ流出防止機構11が設けられている。すなわち、先端部が出入口10の近傍に配置されるエアー供給ホース12と、エアー源(図示省略)とを備え、エアー源から供給されたエアーを、エアー供給ホース12を介して出入口10の近傍に供給する。そして、出入口10にバブリングにより生じた気泡にて、クラゲ流出防止機構11とすることができる。これは、海水中に気泡が発生すると、大型クラゲは気泡から離れようとする習性を利用したものである。すなわち、出入口10に気泡を発生させると、大型クラゲは気泡から離れる方向、つまり出入口10から離れる方向に移動する。このため、出入口10が開状態となっても、一旦捕獲した大型クラゲが出入口10から流出することを防止できる。
クラゲ流出防止機構11は、出入口10が閉状態のときにも気泡を発生させるのが好ましい。これにより、常時大型クラゲは出入口10から離れた場所に位置することになって、大型クラゲが流出するのを一層防止することができる。
クラゲ貯留槽内の網状部材3の底面6には、図2や図4に示すように、浮き13と、この浮き13に設けられる目盛14を設置している。すなわち、浮き13は、網状部材3の底面6から所定位置の高さに維持されており、浮き13から上方に所定長さ突出する目盛14が設けられている。また、正八角形の各頂点から浮き13に延びる補助ワイヤー15を設けている。補助ワイヤー15は、網状部材3の底面6よりも下方に設けられている。これにより、補助ワイヤー15にて網状部材3の底面6を支えることができる。この補助ワイヤー15にて浮き13を固定することにより、浮き13がクラゲ貯留槽1の略中央部に位置することができる。この場合、搬送船21が浮き13に衝突しても、浮き13がクラゲ貯留槽1の中央部から移動して、搬送船21の進路を妨げることがない。また、衝突により浮き13がクラゲ貯留槽1の中央部から移動しても、暫くすると浮き13は再びクラゲ貯留槽1の中央部に位置することになる。そして、クラゲ貯留槽1に大型クラゲの死骸が堆積していくと、網状部材3の底面6の位置が下降する。この場合、網状部材3の底面6に設けられた浮き13も、網状部材3の下降に伴って下降して沈み込む。このため、浮き13に設けられた目盛14の沈みこみ量を測定することにより、クラゲ貯留槽内の大型クラゲ堆積量をモニタリングすることになる。これにより、クラゲ貯留槽内の空き容量を認識することができるため、空き容量がない場合には、他のクラゲ貯留槽1に捕獲した大型クラゲを搬送する等の対策を講じることができる。
前記クラゲ搬送手段2は、図1に示すように、大型クラゲを捕獲する網20と、この網20をクラゲ貯留槽1に搬送する搬送船21とから構成されている。網20は、図5に示すように、一つの開口部22を有し、開口部22を塞ぐ締付用ロープ23と、開口部22を吊上げ状態とする4本の吊上用ロープ26と、この吊上用ロープ26と180度反対方向に、補強部25を介して連結される排出用ロープ24とを備える。搬送中は、開口部22が締付用ロープ23にて閉じた状態で吊上用ロープ26が搬送船21に固定されて牽引される。
次に、本発明のクラゲの洋上処理システムを用いてクラゲ(特に、エチゼンクラゲ等の大型クラゲ)を処理する方法を説明する。まず、図1のクラゲ回収範囲A、Bにおいて、搬送船21のスクリュー(図示省略)による回転力にて発生した推力を利用して、網20の開口部22に大型クラゲを追い込んで、網内に大型クラゲを捕獲する。そして、締付用ロープ23にて開口部22を絞ることにより、開口部22を塞いで網20から大型クラゲが流出するのを防止できる。そして、開口部22が閉じた状態で吊上用ロープ26を搬送船21に固定し、搬送船21は図1の矢印に示すルートSにて網20を搬送する。これにより、搬送船21は、大型クラゲが捕獲された網20を、クラゲ貯留槽1にまで牽引する。
搬送船21がクラゲ貯留槽1の出入口10まで到達すると、扉8を開状態として、搬送船21のクラゲ貯留槽1への進入を許容する。この場合、出入口10にはクラゲ流出防止機構11にてバブリングにより気泡を発生させている。これにより、大型クラゲは気泡から離れる方向、つまり出入口10から離れる方向に移動して、前回までの搬送でクラゲ貯留槽1に貯留している大型クラゲが出入口10から流出することを防止できる。
搬送船21が出入口10を通過してクラゲ貯留槽1の内部に進入すると、扉8は閉状態となる。そして、排出用ロープ24を搬送船21に固定し、締付用ロープ23を自由状態として開口部22の締付状態を解除するとともに、吊上用ロープ26の搬送船21の固定を解除する。これにより、網20の開口部22が反転して、網内の大型クラゲをクラゲ貯留槽1に排出することができる。
その後、搬送船21はクラゲ貯留槽1から退出する。すなわち、扉8は再び開状態となって、搬送船21は出入口10を通過する。この場合も、出入口10にはクラゲ流出防止機構11にてバブリングにより気泡を発生させているため、一旦捕獲した大型クラゲが出入口10から流出することを防止できる。
このような搬送を繰り返し行って、海中に大量漂着する大型クラゲを、クラゲ貯留槽1に搬送する。クラゲ貯留槽内の大型クラゲは衰弱して死滅し、その死骸が自然消滅する。
クラゲ回収範囲Bに漂着する大型クラゲも、前記と同様の方法にてクラゲ貯留槽1に搬送する。この場合、搬送船21は図1の矢印に示すルートLにて網20を搬送する。
クラゲ貯留槽1に大型クラゲの死骸が堆積していくと、網状部材3の底面6の位置が下降する。そこで、前記したように、クラゲ貯留槽内の大型クラゲ堆積量をモニタリングすることになり、空き容量がある場合には、クラゲ貯留槽内に引き続きクラゲを搬送し、空き容量がない場合には、他のクラゲ貯留槽1に捕獲した大型クラゲを搬送する等の対策を講じる。
このように、本発明の大型クラゲの洋上処理システムは、クラゲ貯留槽1の出入口10が開状態となって、クラゲ搬送手段2がクラゲ貯留槽1へ進入する場合であっても、一旦捕獲した大型クラゲが出入口10から流出することを防止できる。このため、効率よく大型クラゲをクラゲ貯留槽1に貯留することができ、一旦捕獲した大型クラゲを確実に処理することができる。しかも、クラゲ流出防止手段11は、クラゲ搬送手段2がクラゲ貯留槽1へ進入するのを妨げることがないので、クラゲ搬送手段2はスムーズに出入口10を通過することができる。
クラゲ貯留槽1の出入口10に気泡を発生させると、大型クラゲは気泡から離れる方向、つまり出入口10から離れる方向に移動することになって、大型クラゲの出入口10からの流出を効果的に防止することができる。しかも、クラゲ流出防止機構11としては、複雑なものとならず、装置の大型化及び高コスト化を防止できる。
前記クラゲ流出防止機構11は、出入口10が閉状態のときにも気泡を発生させるものとすると、常時大型クラゲは出入口10から離れた場所に位置することになって、大型クラゲの出入口10からの流出を一層効果的に防止することができる。
前記クラゲ搬送手段2を構成する網20として、開口部22を吊上げ状態とする吊上用ロープ26と、この吊上用ロープ26と180度反対方向に連結される排出用ロープ24とを備えると、網20を安定して搬送することができる。また、網20の開口部22が反転して、網内の大型クラゲをクラゲ貯留槽1に排出することができ、簡単な方法で大型クラゲをクラゲ貯留槽1に排出することができる。
浮き13の沈みこみ量を測定することにより、クラゲ貯留槽内の大型クラゲ堆積量をモニタリングすると、クラゲ貯留槽1の空き容量を認識することができる。これにより、空き容量がない場合には、他のクラゲ貯留槽1に搬送する等の対策を講じることができるため、効率良く大型クラゲをクラゲ貯留槽1に搬送することができる。
クラゲ貯留槽1を大型クラゲが大量漂着する場所の近傍に設けると、クラゲ搬送手段2の搬送距離を小とすることができて、一層効率よく処理することができる。
以上、本発明の実施形態につき説明したが、本発明は前記実施形態に限定されることなく種々の変形が可能であって、例えば、クラゲ貯留槽1の形状としては、平面視正八角形に限られず、三角形、四角形、多角形、菱形、円形、楕円形等種々の形状を採用することができる。また、出入口10は、1箇所に限らず、2箇所以上設けてもよい。この場合、夫々の出入口10に、クラゲ流出防止機構11を設けることができる。網20に取付けられる吊上用ロープ26の数は任意に設定することができる。バブリングの方法は、他の方法であってもよく、例えば、超音波により気泡を発生させる等種々の方法を採用することができる。また、クラゲ流出防止機構11としては、出入口10からクラゲ貯留槽1の内部に向かって海水を流通させる、つまり、大型クラゲが流出する方向とは逆の方向に流通させることにより、強制的に大型クラゲをクラゲ貯留槽1の内部に逆流させるような機構であってもよい。また、大型クラゲを逆流させる機構と、バブリングによる機構とを併用してもよい。
本発明の実施形態を示す大型クラゲの洋上処理システムの概略構成図である。 本発明の実施形態を示す大型クラゲの洋上処理システムに使用されるクラゲ貯留槽の簡略平面図である。 本発明の実施形態を示す大型クラゲの洋上処理システムに使用されるクラゲ貯留槽の簡略側面図である。 本発明の実施形態を示す大型クラゲの洋上処理システムに使用されるクラゲ貯留槽の一部側面図である。 本発明の実施形態を示す大型クラゲの洋上処理システムに使用される網の斜視図である。 従来のクラゲの洋上処理システムの概略構成図である。
符号の説明
1 クラゲ貯留槽
2 クラゲ搬送手段
3 網状部材
10 出入口
11 クラゲ流出防止機構
13 浮き
20 網
21 搬送船
22 開口部
24 排出用ロープ
26 吊上用ロープ

Claims (6)

  1. 大型クラゲを貯留するクラゲ貯留槽と、捕獲した大型クラゲを生かしたままクラゲ貯留槽に搬送するクラゲ搬送手段とを備え、前記クラゲ貯留槽に大型クラゲを貯留することにより、大型クラゲが衰弱して死滅し、その死骸が自然消滅するように網状部材を備えた大型クラゲの洋上処理システムにおいて、
    前記クラゲ貯留槽は、出入口が開状態のときに、クラゲ搬送手段のクラゲ貯留槽への進入を許容しつつ、出入口からの大型クラゲの流出を防止するクラゲ流出防止機構を設けたことを特徴とする大型クラゲの洋上処理システム。
  2. 前記クラゲ流出防止機構は、前記出入口にバブリングにより生じた気泡により構成したことを特徴とする請求項1の大型クラゲの洋上処理システム。
  3. 前記クラゲ流出防止機構は、出入口が閉状態のときにも気泡を発生させるものであることを特徴とする請求項1又は請求項2の大型クラゲの洋上処理システム。
  4. 前記クラゲ搬送手段は、大型クラゲを確保する網と、この網をクラゲ貯留槽に搬送する搬送船とからなり、
    前記網は、一つの開口部を有し、開口部を吊上げ状態とする吊上用ロープと、この吊上用ロープと180度反対方向に連結される排出用ロープとを備え、
    搬送中は、前記開口部が閉じた状態で吊上用ロープが搬送船に固定されて牽引され、
    クラゲ貯留槽内では、排出用ロープを搬送船に固定して、開口部の締付状態を解除するとともに、吊上用ロープの搬送船の固定を解除することを特徴とする請求項1〜請求項3のいずれか1項の大型クラゲの洋上処理システム。
  5. 前記クラゲ貯留槽内に、底面から所定位置の高さに維持する浮きを設け、この浮きから目盛を設置し、この目盛の沈みこみ量を測定することにより、クラゲ貯留槽内の大型クラゲ堆積量をモニタリングすることを特徴とする請求項1〜請求項4のいずれか1項の大型クラゲの洋上処理システム。
  6. 前記クラゲ貯留槽を、大型クラゲが大量漂着する場所の近傍に設けたことを特徴とする請求項1〜請求項5のいずれか1項の大型クラゲの洋上処理システム。
JP2008217950A 2008-08-27 2008-08-27 大型クラゲの洋上処理システム Expired - Fee Related JP5028362B2 (ja)

Priority Applications (2)

Application Number Priority Date Filing Date Title
JP2008217950A JP5028362B2 (ja) 2008-08-27 2008-08-27 大型クラゲの洋上処理システム
KR1020080108841A KR20100025447A (ko) 2008-08-27 2008-11-04 대형 해파리의 해상 처리 시스템

Applications Claiming Priority (1)

Application Number Priority Date Filing Date Title
JP2008217950A JP5028362B2 (ja) 2008-08-27 2008-08-27 大型クラゲの洋上処理システム

Publications (2)

Publication Number Publication Date
JP2010051874A true JP2010051874A (ja) 2010-03-11
JP5028362B2 JP5028362B2 (ja) 2012-09-19

Family

ID=42068367

Family Applications (1)

Application Number Title Priority Date Filing Date
JP2008217950A Expired - Fee Related JP5028362B2 (ja) 2008-08-27 2008-08-27 大型クラゲの洋上処理システム

Country Status (2)

Country Link
JP (1) JP5028362B2 (ja)
KR (1) KR20100025447A (ja)

Cited By (1)

* Cited by examiner, † Cited by third party
Publication number Priority date Publication date Assignee Title
WO2013015359A1 (ja) * 2011-07-28 2013-01-31 東北電力株式会社 クラゲの洋上処理システム

Families Citing this family (1)

* Cited by examiner, † Cited by third party
Publication number Priority date Publication date Assignee Title
CN117113796B (zh) * 2023-10-24 2024-02-27 国家海洋局北海预报中心((国家海洋局青岛海洋预报台)(国家海洋局青岛海洋环境监测中心站)) 一种考虑自主运动的大型水母中期漂移集合预报方法

Citations (6)

* Cited by examiner, † Cited by third party
Publication number Priority date Publication date Assignee Title
JPH10245834A (ja) * 1997-03-06 1998-09-14 Mitsubishi Heavy Ind Ltd クラゲ流入防止装置
JP2004016118A (ja) * 2002-06-17 2004-01-22 Mitsubishi Heavy Ind Ltd 水中生物捕獲装置
JP2004081119A (ja) * 2002-08-27 2004-03-18 Ebara Corp 水生生物の除去及び付着防止方法
JP2004278144A (ja) * 2003-03-17 2004-10-07 Japan Atom Power Co Ltd:The クラゲ流入防止装置
JP2007160154A (ja) * 2005-12-09 2007-06-28 Tohoku Electric Power Co Inc クラゲの洋上処理システム
JP2008167707A (ja) * 2007-01-13 2008-07-24 Yukio Hirose クラゲ捕獲脱水方法および装置

Patent Citations (6)

* Cited by examiner, † Cited by third party
Publication number Priority date Publication date Assignee Title
JPH10245834A (ja) * 1997-03-06 1998-09-14 Mitsubishi Heavy Ind Ltd クラゲ流入防止装置
JP2004016118A (ja) * 2002-06-17 2004-01-22 Mitsubishi Heavy Ind Ltd 水中生物捕獲装置
JP2004081119A (ja) * 2002-08-27 2004-03-18 Ebara Corp 水生生物の除去及び付着防止方法
JP2004278144A (ja) * 2003-03-17 2004-10-07 Japan Atom Power Co Ltd:The クラゲ流入防止装置
JP2007160154A (ja) * 2005-12-09 2007-06-28 Tohoku Electric Power Co Inc クラゲの洋上処理システム
JP2008167707A (ja) * 2007-01-13 2008-07-24 Yukio Hirose クラゲ捕獲脱水方法および装置

Cited By (2)

* Cited by examiner, † Cited by third party
Publication number Priority date Publication date Assignee Title
WO2013015359A1 (ja) * 2011-07-28 2013-01-31 東北電力株式会社 クラゲの洋上処理システム
JPWO2013015359A1 (ja) * 2011-07-28 2015-02-23 東北電力株式会社 クラゲの洋上処理システム

Also Published As

Publication number Publication date
KR20100025447A (ko) 2010-03-09
JP5028362B2 (ja) 2012-09-19

Similar Documents

Publication Publication Date Title
JP6923547B2 (ja) 半潜水型養殖システム
KR101047978B1 (ko) 심해 설치선
EP4152921B1 (en) Fish farming system
US11445708B2 (en) Floating marine plant for containing marine organisms
CN109068617B (zh) 具有死物捕捉装置的水产养殖鱼围栏
CN102065683A (zh) 捕鱼系统和相应使用方法
CA2821053C (en) Construction of a pumping system and uses thereof
KR20160090716A (ko) 부유식 어류 포획장치
JP6840484B2 (ja) 給餌装置、養殖装置および給餌方法
DK202470246A1 (en) Fish farming systems
JP5028362B2 (ja) 大型クラゲの洋上処理システム
KR101335173B1 (ko) 해파리의 해상 처리 시스템
NO329812B1 (no) Anordning ved bunnring for oppdrettsmerd
JP5752230B2 (ja) 異物洋上処理システム
NO20220268A1 (en) Fish farming system
CN102410786B (zh) 单船拖曳网袋式水中悬漂物拦截装置
KR101411946B1 (ko) 정선장비
TWM464401U (zh) 撈救結構
KR20170055631A (ko) 침몰 선박을 인양하는 방법
KR102043509B1 (ko) 해파리 수거, 인양 및 저장 장치
JP4202226B2 (ja) 取水口への異物流入防止装置
JP2009197547A (ja) 網場
JP2010189923A (ja) クラゲ排除具
JP4832551B2 (ja) くらげ放流システム及びくらげ放流方法
JP2000245293A (ja) 生簀装置

Legal Events

Date Code Title Description
A621 Written request for application examination

Free format text: JAPANESE INTERMEDIATE CODE: A621

Effective date: 20110817

A977 Report on retrieval

Free format text: JAPANESE INTERMEDIATE CODE: A971007

Effective date: 20120305

A131 Notification of reasons for refusal

Free format text: JAPANESE INTERMEDIATE CODE: A131

Effective date: 20120406

A521 Request for written amendment filed

Free format text: JAPANESE INTERMEDIATE CODE: A523

Effective date: 20120604

TRDD Decision of grant or rejection written
A01 Written decision to grant a patent or to grant a registration (utility model)

Free format text: JAPANESE INTERMEDIATE CODE: A01

Effective date: 20120619

A01 Written decision to grant a patent or to grant a registration (utility model)

Free format text: JAPANESE INTERMEDIATE CODE: A01

A61 First payment of annual fees (during grant procedure)

Free format text: JAPANESE INTERMEDIATE CODE: A61

Effective date: 20120625

FPAY Renewal fee payment (event date is renewal date of database)

Free format text: PAYMENT UNTIL: 20150629

Year of fee payment: 3

R150 Certificate of patent or registration of utility model

Ref document number: 5028362

Country of ref document: JP

Free format text: JAPANESE INTERMEDIATE CODE: R150

Free format text: JAPANESE INTERMEDIATE CODE: R150

R250 Receipt of annual fees

Free format text: JAPANESE INTERMEDIATE CODE: R250

R250 Receipt of annual fees

Free format text: JAPANESE INTERMEDIATE CODE: R250

R250 Receipt of annual fees

Free format text: JAPANESE INTERMEDIATE CODE: R250

R250 Receipt of annual fees

Free format text: JAPANESE INTERMEDIATE CODE: R250

LAPS Cancellation because of no payment of annual fees