JP2010051573A - 背負い式バックの背当て部材及びその製造方法 - Google Patents

背負い式バックの背当て部材及びその製造方法 Download PDF

Info

Publication number
JP2010051573A
JP2010051573A JP2008220129A JP2008220129A JP2010051573A JP 2010051573 A JP2010051573 A JP 2010051573A JP 2008220129 A JP2008220129 A JP 2008220129A JP 2008220129 A JP2008220129 A JP 2008220129A JP 2010051573 A JP2010051573 A JP 2010051573A
Authority
JP
Japan
Prior art keywords
portions
skin material
ventilation
backpack
elastic bodies
Prior art date
Legal status (The legal status is an assumption and is not a legal conclusion. Google has not performed a legal analysis and makes no representation as to the accuracy of the status listed.)
Granted
Application number
JP2008220129A
Other languages
English (en)
Other versions
JP5292022B2 (ja
Inventor
Osamu Daimaru
修 大丸
Current Assignee (The listed assignees may be inaccurate. Google has not performed a legal analysis and makes no representation or warranty as to the accuracy of the list.)
Daiyu Shoji KK
Original Assignee
Daiyu Shoji KK
Priority date (The priority date is an assumption and is not a legal conclusion. Google has not performed a legal analysis and makes no representation as to the accuracy of the date listed.)
Filing date
Publication date
Application filed by Daiyu Shoji KK filed Critical Daiyu Shoji KK
Priority to JP2008220129A priority Critical patent/JP5292022B2/ja
Publication of JP2010051573A publication Critical patent/JP2010051573A/ja
Application granted granted Critical
Publication of JP5292022B2 publication Critical patent/JP5292022B2/ja
Active legal-status Critical Current
Anticipated expiration legal-status Critical

Links

Images

Landscapes

  • Portable Outdoor Equipment (AREA)
  • Purses, Travelling Bags, Baskets, Or Suitcases (AREA)

Abstract

【課題】 背負い式バックの背当て部材と背中との加圧により該背当て部材の凸部を変形させて使用者の背中に均一に密着させる。
【解決手段】 背負い式バックに使用される背当て部材であって、バックを背負ったときに使用者の背中に当たるシート状の表皮材1と、表皮材1に設けた複数の凸部11〜14の裏面側凹部11a〜14a内に直接発泡体樹脂を注入してモールド内発泡し、各弾性体を連結する連結部21a〜21eに設けた通気路22a〜22eで連通してエアーポンプ機能を有する通気凹部20a〜20dを有した弾性体2〜5を設け、該弾性体のポンプ作用により前記凸部11〜14を変形させて使用者の背中に均一に密着させる。各通気凹部と外気を連通する小孔23を該弾性体の下面に接着した下地ボードに複数設けてある。
【選択図】 図7

Description

本発明は、使用者の背中に密着させるように表皮材の裏面に装着させた弾性体の形状を変更可能にする機能を設けた背負い式バックの背当て部材及びその製造方法に関する。
ランドセルやリュックサック等の背負い式バックには、バック使用者の背中に当たる部分に背当て部材(背板)が設けられている。この種の背当て部材としては、従来は例えば厚さ10〜30mm程度のクッション機能を有した平板状のポリウレタンフォーム等からなる発泡体を所定形状に裁断し、一定の形状及び厚さに形成した弾性材からなる弾性芯材を、合成樹脂材、厚紙などの芯材用途の下地ボードに載置して該弾性芯材の表面に人工皮革・合成皮革・天然皮革などからなるシート状の表皮材を被せ、該表皮材の周縁部や中間部を前記下地ボードに縫製、接着して構成したものが使用されている。
このように従来の表皮材の周縁部以外の所定箇所を下地ボード(硬質芯材)に縫製や接着することで、バック使用者の背中の凹凸形状に対応する凹凸部を背当て部材に成形する方法が用いられている。そして、該表皮材に設けた凸部はその裏面側(内部)にクッション機能を有する弾性芯材を収容してクッション性を付与し、さらに、各凸部の間に凹部を設けて該表皮材の表面に通気溝を有している。
実開平7−18623号 特開平5−337005号
上記した従来手法によると、表皮材で弾性芯材の表面を被いその周囲を押し潰して縫製することで凹凸部を成形しているが、弾性芯材のクッション感は表皮材の伸度または該表皮材の凸部裏面側の凹部内に収容した弾性芯材の反発力に依存しており、表皮材の表面に成形された凹凸形状は一定形状である。そのため、経時的に弾性芯材の材質が劣化すると保形性の低下にともないクッション感が変化し、クッション機能が低下するという問題点を有している。
ランドセルなどの背負い式バックは、使用者が着用して歩行あるいは走行時の振動及び振幅によってバックが上下左右に動くことにより、背負い式バックの重量の数倍の負担が使用者の背中に衝撃となって作用する。この衝撃を軽減させるには、使用者の体を背負い式バッグで包み込むように背中にフィットさせることにより、歩行及び走行によるバックの振動及び振幅を抑えることが必要となる。
使用者の背中の湾曲した凹凸形状とランドセル等の背負い式バックの背中への接着面の形状とが、互いに密着するように合わせることによって使用者の歩行及び走行の際に生じる前記バックの振動及び振幅を抑えることが可能である。しかし、背中の形状は人によって異なり複雑な形状を持っているため、従来の方法で製造される背当て部材では複雑な凹凸形状をした立体構造を再現することは不可能であった。
上記した従来の手法は、使用者の背中の形状に合わせて成形した表皮材の凸部裏面側の凹部内に収容可能に成形した弾性体を作成し、該凹部内に接着固定させた後に下地ボードに縫製または接着して背負い式バックの背当て部材としている。この場合、弾性体はポリウレタン、EVA(エチレンー酢酸ビニル共重合体)、ポリエチレン等の発泡体を原料とし、これらの原料をブロック発泡させた後に、プロファイル加工、くり貫き加工、熱圧縮加工、発泡成形加工等により表皮材の凹部に合致させる形状に加工して接着剤で固着している。
さらに本発明者が先に行った発明は、背負い式バックにおいて着用者の歩行及び走行時の安定性を考慮した背当て部材およびその製造方法に関するものであるが、本発明はこれをさらに改良したものである。
特願2008−1134号
本発明は、表皮材に設けた複数の凸部の裏面側凹部内に密着させて形成した弾性体のクッション機能を高めるため、各弾性体に設けた通気凹部を互いに連結してポンプ作用を具備させ、該弾性体自体のクッション機能および背中からの圧力によって作用する弾性体のポンプ機能により背当て部材の表面形状が、使用者の背中面に密着するように変形させて使用者の背中を均一に包み込むようにすることを目的とする。
上記課題を解決するために本発明は、背負い式バックに使用される背当て部材であって、前記バックを背負ったときに使用者の背中に当たる複数の凸部11〜14を有したシート状の表皮材1と、前記表皮材の凸部裏面側凹部11a〜14a内に設けたクッション機能を有した弾性体2〜5とからなり、前記表皮材及び弾性体が、使用者の背中との圧着により変形可能に設けたことを特徴とする。
使用者が背負い式バックを背負って歩行および走行する場合の安定性を高めるためには、背当て部材の形状が使用者の背中を包み込むようにフィットさせ、前記背負い式のバックの振動及び振幅を抑える必要がある。使用者の背中に対するフィット性を向上させるには、背当て部材が使用者の背中に接した状態で、使用者の背中の湾曲した凹凸形状に合わせる必要がある。このため、表皮材に設けた複数の凸部の裏面側凹部内に発泡体樹脂を直接注入して発泡させ、0〜50mm程度の高さを有した凸部(凹凸形状)の内部に弾性体を成型することが必要となる。
前記弾性体2〜5は、クッション機能を有すると共にエアーポンプ機能を具えた通気凹部20a〜20dを設けたことを特徴とする。また、前記弾性体2〜5は、表面を前記表皮材1で被うと共に、裏面に下地ボード9を一体に取付け、各弾性体に設けた通気凹部20a〜20dをそれぞれ密封してなることを特徴とする。さらに、前記弾性体2〜5は、それぞれ内部に設けた通気凹部20a〜20dを連結する通気路22a〜22eを有した連結部21a〜21eでそれぞれ一体に連結し、前記通気凹部と外気とを連通する少なくとも1以上の小孔23を下地ボード9に設けてなることを特徴とする。さらにまた、前記弾性体2〜5及び連結部21a〜21eは、前記表皮材の凸部裏面側に設けた凹部11a〜14a内及び前記凸部間に有した平坦部15〜17に形成した突出部18a〜18e内にそれぞれ発泡樹脂体を注入して発泡させて一体に成型したことを特徴とする。
前記弾性体2〜5は、発泡時には上金型の金型により使用者の背中面の形状に合わせて形成し、該弾性体内に深さ0〜30mmの通気凹部20a〜20dをそれぞれ設けてある。この通気凹部は、下金型に収容されている前記表皮材に複数設けた凸部11〜14の裏面側凹部11a〜14a内に発泡体樹脂を直接注入しモールド内発泡させて弾性体の内部、好ましくは裏面側に形成してある。そして、各弾性体は0〜50mmの高さを有して各凹部11a〜14a内にブロック発泡させて前記表皮材に密着してある。このように、
従来の手法で製造された弾性体を表皮材の凸部裏面側の凹部に合わせた形状に加工する手間が省け、さらに、接着剤を用いていちいち接着させる作業工程が必要ないことから作業性及び環境対応性に優れ、作業能率を一段と向上させることができる。
前記弾性体2〜5は、前記表皮材の平坦部に上方に突設して設けた突出部18a〜18e内に位置させて形成した連結部21a〜21eで一体に連結され、該連結部に設けた通気路22a〜22eによって各弾性体内の通気凹部20a〜20dを連結してエアーポンプ機能を設けてあり、バッグ使用者の着用時に背中との圧着により各弾性体2〜5がエアーポンプ効果を発揮するものである。
各弾性体の通気凹部20a〜20eが、背中により圧着されてポンプ効果、即ち、着用時に背中と弾性体2〜5との圧着による空気の移動によって着用者の背中の凹凸形状に合致させる表皮材の内部に有した前記凸部11〜14を弾性体と共に変形させることができる。之に対し、従来の手法では、弾性体のクッション機能は該弾性体の材質や形状による一定構造のため、複雑な背中の凹凸形状に合致するように変形させてフィットさせることが困難である。しかも、弾性体は経年変化により弾力性が劣化するという欠点がある。本発明は、弾性体自体が有するクッション性に、さらにポンプ作用を加えて弾力性を維持すると共に安定性およびクッション性を一段と向上させることができる。
前記発泡体樹脂はポリウレタン等からなり、比重0.1〜0.4という範囲内により軽量性、また、均一発泡により硬度のバラつきが軽減されて優れたクッション性が得られる。比重は発泡倍率により変えることができ、それにより必要に応じてクッション性を適度に変えることが可能である。
弾性体2〜5は、前記表皮材の凸部の裏面側凹部11a〜14a内に直接発泡体樹脂を注入してモールド内発泡させることで形成される。金型の形状により2次加工によるクッション感の変化、例えば、比重の異なる弾性体を積層させたり、所定箇所に衝撃吸収性あるいは高反発性などの異なる機能素材を配置することが可能である。さらに、注入される発泡体樹脂に各種の機能剤、例えば、吸湿剤、抗菌剤、消臭剤等を混入することで、多種の機能性に優れた背当て部材を提供することもできる。
前記弾性体2〜5は、上記の他に、クッション機能を有する柔軟な合成樹脂材で形成し、後加工によって前記表皮材の凸部の裏面側凹部11a〜14a内に収容して固着してもよい。即ち弾性体は、エアーポンプ機能を有しているため、経時的に材質が劣化しても前記ポンプ作用により背中の形状に合わせて変形して密着させることができる。この場合、該弾性体は接着剤などで前記凹部内に接着固定するための作業が必要となる。
通気凹部20a〜20eを有した弾性体2〜5は、それぞれ通気路22a〜22eを有した連結部21a〜21eで一体に連結してあり、エアーポンプ機能を有した各弾性体の表面を表皮材1で被い、その裏面に下地ボード9を接着させて前記通気凹部及び通気路の下面を密封してある。この通気凹部20a〜20e内の空気量が不足するとポンプ機能が発揮できにくくなる場合がある。そのため、不足する空気を大気中から取り入れられるように、各通気凹部と外気とを連通するために1又は複数の小孔23、23を下地ボード9に貫通して設けてある。
即ち、いずれかの通気凹部内の空気が不足する場合に備えて、該通気凹部内と外気とを連通する小孔23を通して外気を取り込めるようにしてある。また、加圧された弾性体に設けた通気凹部内の圧力が上昇すると、通気路を介して圧力の低い他の通気凹部内に空気を移動させると共に、該通気凹部に連通した小孔23から大気中に空気を排出して弾性体の圧力を下げることができ、ポンプ作用を的確に行うことができる。
本発明によれば、上記の構成を有する背当て部材10を下地ボード9に固着して背負い式バックが提供されるが、この種の背負い式バックは、例えば、ランドセルでもよいしリュックサックでもよいものである。
以上の如く、本発明に係る背当て部材は、使用者の背中形状に対応して密着するように変形する背当て部材を提供するもので、使用者の歩行及び走行の際の背負い式バックの振動および振幅により各弾性体2〜5に設けた通気凹部20a〜20dのポンプ作用により表皮材の内部にそれぞれ弾性体を有した背当て部材の凸部11〜14が使用者の背中に均一に当たるように変形して使用者の背中を包み込むように密着することができる。また、各通気凹部はそれぞれ外気に連通する小孔23を設けてあるので、不足したり一時的に多すぎる空気は、通気路22a〜22eを介して他の通気凹部に空気を移動させると共に、必要に応じて前記小孔23,23から外気を取り込んだり排出したりするポンプ作用を行うことができる作用を有するものである。
本発明を図面に基づいて説明すると、図1は本発明に係る実施形態の製造方法により製造された表皮材の平面図、図2は図1のA−A線端面図、図3は本発明の実施形態の製造方法により製造された弾性体の平面図、図4は図3の底面図、図5は図4のB−B線断面図、図6は本発明に係る背当て部材の表面側からの斜視図、図7は下地ボードを裏面から見た説明図、図8は使用者の背中が背当て部材の表面の一部に当接した状態の図6のC−C線断面図、図9は使用者の背中が背当て部材の表面の全部に当接した状態の図6のC−C線断面図、図10は使用者の背中が背当て部材の表面の一部に当接した状態の図6のD−D線断面図、図11は背当て部材を用いたランドセルの前面(使用者の背中側)の高度差を濃淡で表した説明図である。
以下の実施形態は、本発明に係るランドセル用の背当て部材を製造するためのもので、図1に示すように、所要の三次元立体形状に成型するため、極細繊維を用いた不織布素材からなりポリウレタン樹脂を含浸させた人工皮革を熱プレス成型することで、任意形状をして複数の凸部11〜14を表面側に有した成型品であるシート状の表皮材1を得ることができる。この表皮材は柔軟で多少の伸縮性を有している。なお、人工皮革に代えて、成型保持性のある材料、例えば、熱可塑性プラスチック樹脂などからなるフイルム、シート等を用いない合成皮革あるいは天然皮革を用いることはもちろん可能である。
表皮材1に設けた各凸部11〜14について説明すると、略方形をした表皮材の表面側の両側に位置して使用者の背中の両側部分に当たるように中間部を空けて上下にやや長く形成し、該凸部の外側部分を略垂直状に立上げて表面がなだらかで中央部分に向かってなだらかな下り勾配にして第1、2凸部11、12を形成してある。両凸部11、12の間に位置する中央部分には、前記両凸部11、12より高さの低い第3凸部13を設け、さらに前記第1、2、3凸部11〜13の下側に位置して前記第1、2凸部と略同じ高さか又はそれよりやや高く形成した第4凸部14を設けてある。該第4凸部の外側(下部側)部分も同様に略垂直状に立上げ、表面がなだらかで中央部方向に向かって緩やかな下り勾配を有している。
各凸部11〜14の間にはそれぞれ細巾の第1、2、3平端部15、16、17を形成してある。各凸部11〜14は熱プレスにより加工するため、表皮材の表面側に設けた各凸部の裏面側凹部11a〜14aの頂上部(表面側)は、必要に応じて平坦状、円弧状、凹入円弧状、さらには複雑な凹凸形状に成型することが可能である。
表皮材1に設けた第1、2凸部11、12と第3凸部13との間に位置して設けた細巾の平坦部15、16の表面側であって上方に突出させて第1、2突出部18a、18bを形成し、また、中央部に位置した第3凸部13とその下側に位置した第4凸部14との間に位置する細巾の平坦部17にも表面側上方に突出させた第3突出部18cを形成し、さらに、前記第1、2凸部11、12と第4凸部14との間の前記平坦部15、16にも表面側上方に突出させた第4、5突出部18d、18eをそれぞれ形成してある。
この第1〜5突出部18a〜18eの裏面側には、後記する各弾性体の連結部21a〜21eを収容する空間部をそれぞれ設けてあり、各突出部は前記凸部の高さより低く形成し、使用者の背中表面と表皮材1の各凸部とが当接した場合でも各平坦部15〜17及び各突出部18a〜18eを有した表皮材1の表面上方に空気の流通することができる外気通路19を有するように設け、使用者の背中に汗をかきにくくしてある。
表皮材1の第1〜4凸部の裏面側凹部11a〜14a内に発泡体樹脂を直接注入し、該凹部の上面を上金型で蓋した状態で前記発泡体樹脂を発泡させてクッション性を有する第1〜4弾性体2〜5をそれぞれ形成する。図3、4において、第1、2弾性体2、3とその中間に位置する第3弾性体4の両側を第1、2連結部21a、21bで一体に連結し、また、第3弾性体4とその下方の第4弾性体5を第3連結部21cで一体に連結し、さらに、第1、2弾性体2、3の下方と第4弾性体5の両側とを第4、5連結部21d、21eで一体に連結して第1〜4弾性体2〜5を一体に形成してある。
各連結部21a〜21e内には、それぞれ通気凹部を互いに連通する通気路22a〜22eを設け、各弾性体と各連結部は発泡体樹脂で一体に形成してあり、その表面側を前記表皮材1で被って密着させ、下面側に下地ボード9を密着してある。それ故、表皮材1に設けた凸部の裏面側凹部11a〜11eおよび突出部18a〜18e内に、弾性体2〜5及び連結部21a〜21eを接着剤を用いて接着固定する作業が不要となり、作業性が一段と向上する。
各弾性体2〜5の内部、好ましくは裏面にはそれぞれ通気凹部20a〜20dを形成してあり、且つ、各通気凹部は前記通気路22a〜22eで一体に連結してあり、クッション性を有する弾性体2〜5が外部から加圧されると、高圧側の通気凹部内の空気を低圧側に移動させ、また、低圧側から高圧側に負圧によって空気を移動させるエアーポンプ機能を有している。
各通気凹部20a〜20dは、その内部の空気が不足するとポンプ作用が弱まるので、これを防止するため各通気凹部と外気とを連通する小孔23、23を下地ボード9設けてある。この小孔23は1〜4mm、好ましくは約3mmの小径な孔であって、下地ボード9に少なくとも1以上、通常は2〜4個程度設けてある。この小孔23は、各通気凹部20a〜20dを連通する通気路22a〜22eの口径より小径に形成してある。
外気を前記通気凹部内に出し入れするために小孔23、23を下地ボード9に設けたことにより、いずれかの通気凹部が押圧されて凹んで早急に復帰させる場合には、通気路を介して他の通気凹部から空気を取り込むが、短時間に他の通気凹部から空気を取り込めない場合には、不足する空気を大気中の外気を前記小孔23を通して直接取り込むことにより内部の圧力が低下して凹んだ弾性体を迅速に復帰させる作用を有する。このように、一体に連結した通気凹部内の空気ばかりでなく、通気凹部内に外気を出し入れする少孔23を有したことにより、各通気凹部の有するポンプ効果は確実に作用することができる。
上記の手順により、表皮材1の各凸部11〜14の裏面側凹部内に一体に設けた弾性体2〜5は連結部21a〜21eで一体に形成してあり、その裏面に硬質ボードである下地ボード9を接着や融着することで完成品の背当て部材10となる。その際、表皮材1と下地ボード9の周辺部は必要に応じて縫製して一体に形成してある。また、表皮材の周囲部分を長く形成して、該下地ボード9を包み込むようにしてもよい。この完成品の背当て部材10は、図10に示すように、ランドセルに縫製により組み付けられる。
各通気凹部20a〜20dが外気と連通する小孔23、23は、図7に示すように、下地ボード9にそれぞれ貫通して設けてあり、各通気凹部に連通する小孔23、23は、それぞれ1又は2〜4個程度設けてある。しかも前記通気路22a〜22eの口径より小さく、例えば、3mm程度の小径に形成してある。図4は、下地ボード9にそれぞれ貫通して設けた小孔23、23と各通気凹部との位置関係を示したもので、各小孔3は下地ボードに形成してあるが、それ以外の場所に設けても良いものである。
使用者が背中にランドセルを背負って歩行および走行する場合の安定性を高めるには、ランドセルの背当て部材10の表面の凹凸形状を使用者の背中から伝わる圧力により、背当て部材の表皮材の凸部の裏面側凹部11a〜14a内に一体に設けた各弾性体2〜5は、一次的にはクッション機能で調整する。ついで、各通気凹部20a〜20dを連通したエアーポンプ作用により使用者の背中を包み込むようにフィットさせることで、歩行及び走行する際のランドセルの振動及び振幅を抑える。フィット性を向上させるには、ランドセルの背当て部材10が使用者の背中に接することができる状態において、使用者の背中の湾曲した形状に、背当て部材10の形状を変形して合わせる。このためには、表皮材1や弾性体2〜5を0〜50mmの高さを有した凹凸形状に成型することが必要となる。この高さの範囲で着用者の背中の湾曲形状に沿った高低差のある凹凸形状を有するように表皮材1や弾性体2〜5を成型してある。
従来構造の背当て部材は、ランドセルを背中に装着した状態において、使用者の背中と背当て部材は平面状に大きな面積で接するが、表皮材に設けた凸部は背中の湾曲形状に合わせた一定形状のため、着用者の年齢、体格を問わず万人に適応した形状を保つことは不可能である。之に対し、図6に示した背当て部材10は、ランドセルを背中面が背当て部材10の表面に接すると第1、2、4凸部11、12、14が使用者の背中に接するが、第3凸部13はまだ背中に接していない(図8、10)。
背当て部材10の表面からの圧力が第1、2、4凸部に加わると、第1、2、4凸部は押圧されて高さが低くなるように変形し、該凸部11、12、14の裏面側凹部11a〜14a内の弾性体2、3、5に設けた通気凹部20a、20b、20dのポンプ作用により、その他の低加圧状態の凸部13内の弾性体に設けた通気凹部22dに連通する連結部に設けた通気路22aと22bおよび22dと22eと22cとを通って空気を移動させて第2の弾性体4の通気凹部20c内に進入させ、第3凸部13の高さを高く変形させて使用者の背中に密着させることにより各凸部を均一に背中に当接させて密着度が増す構造になっている(図9)。この場合、前記したように通気路を介して加圧された空気通路20a、20bからの空気の移動が間に合わないため空気が不足した低圧状態の通気凹部20c内には、小孔23から外気を取り込むことで弾性体の高さを上昇させてポンプ効果を発揮する。
前記構造は、エアーポンプ効果、すなわち、背負い式バックの背当て部材10は、着用時に背中との圧着による空気の移動によって変形することで均一に密着し、着用者の年齢、体格を問わず万人に適応した背中へのフィット感が向上し、歩行及び走行時の衝撃を抑えることで安定感が得られる。このようにだい1〜4弾性体2〜5は、それぞれ大気中の外気に連通する小孔23を有した通気凹部20a〜20dがポンプ作用を行って体圧の分散性が向上することで、従来構造の背当て部材で発生した一定箇所への加圧による着用時の負担が軽減され、適度なクッション感を付与することができる。これは各弾性体の通気凹部内に外気が出し入れできるように下地ボードに設けた小孔23を通して外気を取り入れることができるのでポンプ作用を適格に行うことができる。
次に、本発明に係る背当て部材の製造には、次の方法が用いられる。
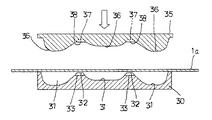
下金型30と上金型35とからなり常温の上下金型(モールド)の間に、シート状素材1aを配し、上下金型を熱プレス加工によって図1に示した形状の表皮材1を成型する。ここで、シート状素材1aは、7/1000デニール等の極細繊維を用いた不織布素材にポリウレタン樹脂を含浸させ、特に仕上り層(表面)をポリウレタン樹脂で形成した人工皮革を熱プレス成型することで任意形状をした複数の凸部11〜14を表面側に有した表皮材1を得ることができる。
この場合、下金型30には前記凸部を形成する凹状型31を有し、上金型35にはシート状素材を該下金型の凹状型31内にプレスするため、該シート状素材の略肉厚分程度小さくした凸状型36を有している。この下金型30は主として用いられるポリウレタン樹脂などの成型可能温度領域、例えば、130〜180℃、好ましくは140〜160℃に設定してある。また、上金型35は前記表皮材の表面に設けた表面意匠が溶融や熱プレスで損傷しない低温領域、例えば、0〜40℃、好ましくは25〜30℃前後の室温の温度範囲に設定し、下金型30と上金型35との間に温度差を設けてある。この場合、上下金型には必要に応じて加温又は冷却温度を調整できるように公知の温度調整機構を有することが好ましい。
尚、表皮材に設けた前記平坦部15〜17はそれぞれ表面側に突出部18a〜18eを形成するため、下金型30には平坦部用の浅受型32と突出部用の深受部33を設けてある。また、上金型35にも前記浅受型32に合致する低段部37および前記深受型33に合致する中段部38を設け、該浅受型32と低段部37および深受型33と中段部38とで前記表皮材1の各平坦部に、内部に空間部を有した突出部18a〜18eをそれぞれ上方に突出させて形成してある。
ついで、表皮材を下金型と上金型でプレスするため、下金型30はほぼ室温程度にし、上金型35はポリウレタン樹脂などの発泡体樹脂を加熱成型するため約150℃位に加熱して凸部を有して凹部形状を設けた表皮材1を成型し、熱プレス加工の終了後に、上金型35を下金型30から取り外し、下金型内に位置させて凹凸形状を具えた表皮材の凸部の裏面側凹部11a〜14aを表面(上側)に位置させる(図12)。この下金型30を30℃程度の室温に設定した後、各凹部11a〜14aおよび中段部38内に発泡体樹脂を直接注入し、ついで、第2の上金型35aで下金型30の上面を閉じて8分程度の時間放置することで前記発泡体樹脂を発泡させて設けた連結部21a〜21eでそれぞれ連結した弾性体2〜5を形成する。また、注入する発泡体樹脂は、発泡後の比重が0.1〜0.4の範囲になるようなポリウレタン樹脂を用いたが、これに限るものではない。
下金型30の上面を閉じる第2の上金型35aは、下金型に収容されている表皮材の凹部11a〜14a内に注入して発泡させた発泡体樹脂からなる各弾性体の各上面(背面側)に形成される通気凹部20a〜20dを形成する通気凹部用の金型39を設けてあり、各弾性体を連結する各連結部21a〜21eの上面(背面側)にそれぞれ設けた通気路用の金型40を前記上金型35aに一体に設けてある。この上金型35aに設けた通気路用の金型は0〜30mm程度の高さに形成し、その形状は任意に形成することができる。
上記の手順で複数の凸部11〜14を設けた表皮材1と、表皮材1の凸部の裏面側凹部内で発泡させて設けた弾性体2〜5を連結部21a〜21eで一体に形成したものが、図3、4に示してある。そして、その裏面に硬質ボードである下地ボード9を位置して接着や融着することで、背当て部材10を設けてある。その際、表皮材1と下地ボード9の周辺部は必要に応じて縫製される。また、前記したように表皮材の周囲部分を長く形成して下地ボード9を包み込むようにしてもよい。この背当て部材10は、図11に示す如く、ランドセルに縫着して組み付けられるものである。
本発明に係る実施形態の製造方法により製造された表皮材の平面図である。 図1のA−A線端面図である。 本発明の実施形態の製造方法により製造された弾性体の平面図である。 図3の底面図である。 図4のB−B線断面図である。 本発明に係る背当て部材の表面側からの斜視図である。 下地ボードを裏面から見た説明図である。 使用者の背中が背当て部材の表面の一部に当接した状態の図6のC−C線断面図である。 使用者の背中が背当て部材の表面の全部に当接した状態の図6のC−C線断面図である。 使用者の背中が背当て部材の表面の一部に当接した状態の図6のD−D線断面図である。 背当て部材を用いたランドセルの前面(使用者の背中側)の高度差を濃淡で表した説明図である。 本発明に係る実施形態の製造方法に用いる上金型と下金型との間にシート状素材を配して表皮材を成型加工する前の状態を示す断面図である。 表皮材を加熱成型加工後に上金型を下金型から脱型した状態の端面図である。 図12に示した下金型内の表皮材の凸部の裏面側凹部内に発泡体樹脂を注入し、第2の上金型で蓋して発泡させた状態を示す断面図である。
符号の説明
1 表皮材
2〜5 弾性体
9 下地ボード
10 背当て部材
11〜14 凸部
11a〜14a 凹部
15〜17 平坦部
18a〜18e 突出部
19 外気通路
20a〜20d 通気凹部
21a〜21e 連結部
22a〜22e 通気路
23 小孔
30 下金型
35 上金型
35a 第2の上金型

Claims (7)

  1. 背負い式バックに使用される背当て部材であって、前記バックを背負ったときに使用者の背中に当たる複数の凸部(11〜14)を有したシート状の表皮材(1)と、前記表皮材の凸部裏面側凹部(11a〜14a)内に設けた弾性体(2〜5)とからなり、前記表皮材及び弾性体が、使用者の背中との圧着により変形可能に設けたことを特徴とする背負い式バックの背当て部材。
  2. 前記弾性体(2〜5)は、クッション機能と共にエアーポンプ機能を有した通気凹部
    (20a〜20d)を設けたことを特徴とする請求項1記載の背負い式バックの背当て部材。
  3. 前記弾性体(2〜5)は、表面を前記表皮材(1)で被うと共に、裏面に下地ボード(9)を一体に接着して各弾性体の通気凹部(20a〜20d)をそれぞれ密封してなることを特徴とする請求項1又は2記載の背負い式バックの背当て部材。
  4. 前記弾性体(2〜5)は、それぞれ内部に設けた通気凹部(20a〜20d)を連通する通気路(22a〜22e)を有した連結部(21a〜21e)でそれぞれ一体に連結すると共に、前記通気凹部(20a〜20d)と外気とを連通する少なくとも1以上の小孔(23)を下地ボード(9)に設けたことを特徴とする請求項1から3のいずれか1記載の背負い式バックの背当て部材。
  5. 前記弾性体(2〜5)及び連結部(21a〜21e)は、前記表皮材の凸部裏面側に設けた凹部(11a〜14a)内及び前記凸部間の平坦部(15〜17)に形成した突出部
    (18a〜18e)内にそれぞれ発泡樹脂体を注入して発泡させて一体に成型したことを特徴とする請求項1から4のいずれか1記載の背負い式バックの背当て部材。
  6. 前記弾性体(2〜5)を連結する連結部(21a〜21e)は、前記表皮材の平坦部(15〜17)に設けた突出部(18a〜18e)内に位置させ、該弾性体を内部に設ける前記凸部(11〜14)の高さより低く形成し、前記連結部を内部に有した突出部(18a〜18e)の上方に外気通路(19)を設けたことを特徴とする請求項1から5のいずれか1記載の背負い式バックの背当て部材。
  7. 背負い式バックに使用される背当て部材の製造方法であって、
    前記バックを背負ったとき背中に当たるシート状部材(1a)を、互いに合致する凹凸形状を具えた下金型(30)と上金型(35)とで熱プレス加工により複数の凸部(11〜14)を有した表皮材(1)を形成し、
    前記下金型内に位置した表皮材の前記凸部の裏面側凹部(11a〜14a)内に発泡体樹脂を直接注入し、
    前記通気凹部及び通気路成型用の金型を有した第2の上金型(35a)を前記下金型に合致させて前記下金型内に注入した発泡体樹脂を発泡させて設けた各弾性体(2〜5)を連結部(21a〜21e)で一体に連結し、
    前記弾性体(2〜5)に設けた通気凹部(20a〜20d)を通気路(22a〜22e)で連結すると共に、前記弾性体の下面に前記通気凹部と外気を連通する複数の小孔(23,23)を設けた下地ボード(9)を接着して、前記弾性体内の通気凹部にエアーポンプ機能を設けてなることを特徴とする背当部材の製造方法。
JP2008220129A 2008-08-28 2008-08-28 背負い式バックの背当て部材及びその製造方法 Active JP5292022B2 (ja)

Priority Applications (1)

Application Number Priority Date Filing Date Title
JP2008220129A JP5292022B2 (ja) 2008-08-28 2008-08-28 背負い式バックの背当て部材及びその製造方法

Applications Claiming Priority (1)

Application Number Priority Date Filing Date Title
JP2008220129A JP5292022B2 (ja) 2008-08-28 2008-08-28 背負い式バックの背当て部材及びその製造方法

Publications (2)

Publication Number Publication Date
JP2010051573A true JP2010051573A (ja) 2010-03-11
JP5292022B2 JP5292022B2 (ja) 2013-09-18

Family

ID=42068119

Family Applications (1)

Application Number Title Priority Date Filing Date
JP2008220129A Active JP5292022B2 (ja) 2008-08-28 2008-08-28 背負い式バックの背当て部材及びその製造方法

Country Status (1)

Country Link
JP (1) JP5292022B2 (ja)

Cited By (3)

* Cited by examiner, † Cited by third party
Publication number Priority date Publication date Assignee Title
CN103040589A (zh) * 2012-12-28 2013-04-17 赵荣 用于实现背部指压按摩功能的电动气压装置
JP2015065960A (ja) * 2013-10-01 2015-04-13 株式会社シマノ 釣用容器
JP2023110217A (ja) * 2022-01-28 2023-08-09 株式会社セイバン 背負い鞄の背当ての製造方法および背負い鞄の製造方法

Families Citing this family (1)

* Cited by examiner, † Cited by third party
Publication number Priority date Publication date Assignee Title
CN104665192A (zh) * 2015-03-03 2015-06-03 浙江理工大学 一种弹性背包垫

Citations (2)

* Cited by examiner, † Cited by third party
Publication number Priority date Publication date Assignee Title
JPH05337006A (ja) * 1992-06-11 1993-12-21 Kyowa:Kk ランドセルの製造方法
JPH0739539U (ja) * 1993-12-29 1995-07-18 株式会社協和 ランドセル

Patent Citations (2)

* Cited by examiner, † Cited by third party
Publication number Priority date Publication date Assignee Title
JPH05337006A (ja) * 1992-06-11 1993-12-21 Kyowa:Kk ランドセルの製造方法
JPH0739539U (ja) * 1993-12-29 1995-07-18 株式会社協和 ランドセル

Cited By (3)

* Cited by examiner, † Cited by third party
Publication number Priority date Publication date Assignee Title
CN103040589A (zh) * 2012-12-28 2013-04-17 赵荣 用于实现背部指压按摩功能的电动气压装置
JP2015065960A (ja) * 2013-10-01 2015-04-13 株式会社シマノ 釣用容器
JP2023110217A (ja) * 2022-01-28 2023-08-09 株式会社セイバン 背負い鞄の背当ての製造方法および背負い鞄の製造方法

Also Published As

Publication number Publication date
JP5292022B2 (ja) 2013-09-18

Similar Documents

Publication Publication Date Title
CN1894317B (zh) 具有内腔结构的交联泡沫及其形成方法
TWI565617B (zh) Bicycle seat cushion body with auxiliary function sheet and manufacturing method thereof
KR100642662B1 (ko) 신발용 완충장치
MX2011005352A (es) Plantilla de zapato aislada moldeada y metodo de hacer una plantilla aislada.
WO2005009158A3 (en) Molded breast pad
JP5292022B2 (ja) 背負い式バックの背当て部材及びその製造方法
KR20040004293A (ko) 각 개인의 발모양 및 운동 특성에 맞는 피팅 인솔 및 그 제조방법
US20200400963A1 (en) Cushion assembly for head-mounted device and manufacturing method thereof
JP2009160253A (ja) 背当て部材およびその製造方法並びに背負い式バック
CN205075937U (zh) 具有辅助功能片的自行车座垫本体
JP2009189690A (ja) 靴および靴の製造方法
CN204292338U (zh) 凹凸鞋面结构
TW508295B (en) Foamed shoe welt making method for an integrated 3D shoe welt
JP6494315B2 (ja) 背負い鞄の背当ておよび背負い鞄
JP2020121551A (ja) プレス成形体、車両用シートバックボード、およびプレス成形体製造方法
KR200299378Y1 (ko) 봉제선없는 성형모자
JP3093555U (ja) 立体成型生地
CN106037146A (zh) 一种减震透气鞋垫
JP7692852B2 (ja) 背負い鞄の背当ての製造方法および背負い鞄の製造方法
CN206252006U (zh) 气压式后踵定型外模的气袋
KR20150112255A (ko) 몰드형 브래지어 컵 제조방법과 그 브래지어컵
JPH05131550A (ja) クツシヨン体の製造方法
TW580424B (en) Method of manufacturing abrasive-resistant stereoscopic foamed objects
TW200530023A (en) Method of making insole without using heat pressing and products made thereby
JP3080125U (ja) 中敷およびその中敷を用いた靴

Legal Events

Date Code Title Description
A621 Written request for application examination

Free format text: JAPANESE INTERMEDIATE CODE: A621

Effective date: 20110524

A977 Report on retrieval

Free format text: JAPANESE INTERMEDIATE CODE: A971007

Effective date: 20130214

A131 Notification of reasons for refusal

Free format text: JAPANESE INTERMEDIATE CODE: A131

Effective date: 20130219

A521 Request for written amendment filed

Free format text: JAPANESE INTERMEDIATE CODE: A523

Effective date: 20130408

TRDD Decision of grant or rejection written
A01 Written decision to grant a patent or to grant a registration (utility model)

Free format text: JAPANESE INTERMEDIATE CODE: A01

Effective date: 20130514

A61 First payment of annual fees (during grant procedure)

Free format text: JAPANESE INTERMEDIATE CODE: A61

Effective date: 20130610

R150 Certificate of patent or registration of utility model

Ref document number: 5292022

Country of ref document: JP

Free format text: JAPANESE INTERMEDIATE CODE: R150

R250 Receipt of annual fees

Free format text: JAPANESE INTERMEDIATE CODE: R250

R250 Receipt of annual fees

Free format text: JAPANESE INTERMEDIATE CODE: R250

R250 Receipt of annual fees

Free format text: JAPANESE INTERMEDIATE CODE: R250

R250 Receipt of annual fees

Free format text: JAPANESE INTERMEDIATE CODE: R250

R250 Receipt of annual fees

Free format text: JAPANESE INTERMEDIATE CODE: R250

R250 Receipt of annual fees

Free format text: JAPANESE INTERMEDIATE CODE: R250

R250 Receipt of annual fees

Free format text: JAPANESE INTERMEDIATE CODE: R250

R250 Receipt of annual fees

Free format text: JAPANESE INTERMEDIATE CODE: R250

R250 Receipt of annual fees

Free format text: JAPANESE INTERMEDIATE CODE: R250

R250 Receipt of annual fees

Free format text: JAPANESE INTERMEDIATE CODE: R250