JP2010050847A - 光伝送用並列直列変換器、光伝送システム、及び電子機器 - Google Patents

光伝送用並列直列変換器、光伝送システム、及び電子機器 Download PDF

Info

Publication number
JP2010050847A
JP2010050847A JP2008214605A JP2008214605A JP2010050847A JP 2010050847 A JP2010050847 A JP 2010050847A JP 2008214605 A JP2008214605 A JP 2008214605A JP 2008214605 A JP2008214605 A JP 2008214605A JP 2010050847 A JP2010050847 A JP 2010050847A
Authority
JP
Japan
Prior art keywords
signal
optical transmission
parallel
input terminal
input
Prior art date
Legal status (The legal status is an assumption and is not a legal conclusion. Google has not performed a legal analysis and makes no representation as to the accuracy of the status listed.)
Granted
Application number
JP2008214605A
Other languages
English (en)
Other versions
JP4609552B2 (ja
Inventor
Tetsuya Nosaka
哲也 野坂
Kentaro Hamana
建太郎 濱名
Naru Yasuda
成留 安田
Hayami Hosokawa
速美 細川
Current Assignee (The listed assignees may be inaccurate. Google has not performed a legal analysis and makes no representation or warranty as to the accuracy of the list.)
Omron Corp
Original Assignee
Omron Corp
Omron Tateisi Electronics Co
Priority date (The priority date is an assumption and is not a legal conclusion. Google has not performed a legal analysis and makes no representation as to the accuracy of the date listed.)
Filing date
Publication date
Application filed by Omron Corp, Omron Tateisi Electronics Co filed Critical Omron Corp
Priority to JP2008214605A priority Critical patent/JP4609552B2/ja
Priority to US13/055,746 priority patent/US8467689B2/en
Priority to PCT/JP2009/053438 priority patent/WO2010021164A1/ja
Priority to EP09808100.3A priority patent/EP2317655B1/en
Priority to CN200980128884.6A priority patent/CN102106089B/zh
Priority to KR1020107026393A priority patent/KR101194451B1/ko
Publication of JP2010050847A publication Critical patent/JP2010050847A/ja
Application granted granted Critical
Publication of JP4609552B2 publication Critical patent/JP4609552B2/ja
Expired - Fee Related legal-status Critical Current
Anticipated expiration legal-status Critical

Links

Images

Classifications

    • GPHYSICS
    • G02OPTICS
    • G02BOPTICAL ELEMENTS, SYSTEMS OR APPARATUS
    • G02B6/00Light guides; Structural details of arrangements comprising light guides and other optical elements, e.g. couplings
    • G02B6/24Coupling light guides
    • G02B6/42Coupling light guides with opto-electronic elements
    • G02B6/43Arrangements comprising a plurality of opto-electronic elements and associated optical interconnections
    • HELECTRICITY
    • H03ELECTRONIC CIRCUITRY
    • H03MCODING; DECODING; CODE CONVERSION IN GENERAL
    • H03M9/00Parallel/series conversion or vice versa
    • HELECTRICITY
    • H04ELECTRIC COMMUNICATION TECHNIQUE
    • H04BTRANSMISSION
    • H04B10/00Transmission systems employing electromagnetic waves other than radio-waves, e.g. infrared, visible or ultraviolet light, or employing corpuscular radiation, e.g. quantum communication
    • H04B10/80Optical aspects relating to the use of optical transmission for specific applications, not provided for in groups H04B10/03 - H04B10/70, e.g. optical power feeding or optical transmission through water
    • H04B10/801Optical aspects relating to the use of optical transmission for specific applications, not provided for in groups H04B10/03 - H04B10/70, e.g. optical power feeding or optical transmission through water using optical interconnects, e.g. light coupled isolators, circuit board interconnections

Landscapes

  • Physics & Mathematics (AREA)
  • Engineering & Computer Science (AREA)
  • General Physics & Mathematics (AREA)
  • Optics & Photonics (AREA)
  • Theoretical Computer Science (AREA)
  • Electromagnetism (AREA)
  • Computer Networks & Wireless Communication (AREA)
  • Signal Processing (AREA)
  • Optical Communication System (AREA)
  • Optical Couplings Of Light Guides (AREA)

Abstract

【課題】コスト及びサイズの増加なしに、簡単な構成で、コーディング機能がない信号発生源であってもビットの連続防止を実現する。
【解決手段】本発明のシリアライザー15は、複数の2値信号がそれぞれ並列に入力される複数の入力端子15a・15bを備え、入力された複数の2値信号を、直列の2値信号に変換し、光伝送モジュール1へ伝送するものであり、複数の入力端子15a・15bには、直列の2値信号について、同一の値が所定のビット数連続しないように、“1”信号または“0”信号を挿入するためのビット連続防止用入力端子15aが割り当てられているので、コスト及びサイズの増加なしに、簡単な構成で、ビットの連続防止を実現できる。
【選択図】図1

Description

本発明は、光伝送用並列直列変換器、光伝送システム、及び電子機器に関するものである。
近年、携帯電話のLCD(Liquid Crystal Display)の高精細化にともない、LCDとアプリケーションプロセッサとの間のデータの伝送速度の高速化が要求されている。また、携帯電話の薄型化が進むにつれ、データ伝送のための配線の数の削減が要求されている。このような背景のもと、LCDとアプリケーションプロセッサとの間のデータの伝送方式として、従来のパラレル伝送に代わり、シリアル伝送が広く普及され始めている。しかしながら、従来の電気配線では、配線の小スペース化、電磁輻射(EMI;Electromagnetic interference)が顕著化するため、伝送速度の高速化には限界がある。そこで、このような問題を解決するため、LCDとアプリケーションプロセッサとを光導波路などの光伝送路で接続し、データ信号を光信号として伝送する方法が試みられている。
光導波路は、コアと呼ばれる芯とそれを覆うクラッドと呼ばれる鞘の二重構造になっており、クラッドよりもコアの屈折率が高くなっている。これにより、コアに入射した光信号は、コア内部で全反射を繰り返すことによって伝搬される。
ここで、光伝送路を備えた光伝送モジュールの概略構成について、図面を用いて以下に示す。図18は、光伝送モジュールを内蔵した折り畳み式携帯電話機における、光伝送モジュールが適用されている部分のブロック図である。
光伝送モジュール100は、主制御基板(マスター側基板)20と、アプリケーション回路基板(スレーブ側基板)30とを備えている。主制御基板20には、CPU29が搭載されている。また、アプリケーション回路基板30には、LCD(Liquid Crystal Display)、LCDを駆動制御するLCDドライバ39、カメラモジュール等の各種アプリケーションが搭載されている。
主制御基板20には、光源駆動回路(発光駆動部)及び発光部(発光素子;VCSEL(Vertical Cavity-Surface Emitting Laser))を含む光送信処理部2が接続されている。また、スレーブ側基板30には、受光部(受光素子;PD(Photo-Diode))及び受信(アンプ)ICを含む光受信処理部3が接続されている。そして、光ファイバや高屈曲の光導波路などの光伝送路4が、光送信処理部2及び光受信処理部3との間を接続し、光信号を伝送している。
次に、光伝送モジュールに100おける光伝送の仕組みについて簡単に説明する。まず、主制御基板20からインターフェイス回路(以下、I/F回路とする)21を介して入力される電気信号に基づいて、発光駆動部(ドライバ)22が発光部33の発光を駆動し、発光部23が光伝送路4の光入射面に対して光を照射する。そして、光伝送路4の光入射面に照射された光は、光伝送路4内に導入され、光伝送路4の光出射面から出射される。そして、光伝送路4の光出射面から出射された光は、受光部31により受光され、検出回路32にて受光が検出された後、電気信号に変換される。変換された電気信号は、増幅部(アンプ)33により所望の値に増幅され、I/F回路34を介して、アプリケーション回路基板30の例えばLCDドライバ39に入力される。
このような光伝送モジュールを用いることによって、例えば携帯電話機内に搭載される主制御基板からアプリケーション回路基板への高速かつ大容量のデータ伝送が可能になる。このように、光伝送モジュールは、データ伝送モジュールとして非常に優れたものである。
ところが、上記の構成のように、既存の携帯電話向け電気配線用I/F回路に光伝送モジュールを適用した場合、光伝送モジュールの特性上、低域の信号を伝送しにくいという問題がある。特に、伝送される信号のビットの連続長が長くなると、伝送信号の低域特性が延びる。それゆえ、従来の電気配線によるシリアル伝送にそのまま光伝送路を導入することには課題がある。
例えば特許文献1には、光伝送システムにおいて、伝送信号のビット連続を防止する(低域信号の伝送を防止する)ために、CPU29に出力信号を符号化する符号部を設け、コーディング機能を付加した構成が開示されている。また、コーディング機能としては、8B10B変換が一般的に知られている。この8B10B変換とは、8ビットの情報を10ビットのシンボル(伝送キャラクタ)で表現するデータ伝送符号化のアルゴリズムである。この8B10B変換により、伝送信号に一定数以上、“0”の値が連続しないようになる。
特開2001−230678号公報(平成13(2001)年 8月24日公開)
しかしながら、コーディング機能を付加したCPU29は、消費電力、サイズ、及びコストが増大するという問題がある。それゆえ、上記特許文献1に開示された構成は、実用に供し得ない。
また、コーディング機能のみを有するIC市販品が数少ないため、コーディング機能がないCPU29を光伝送システムに採用することが困難である。また、コーディング機能のみを有するIC市販品を、コーディング機能を付加しないCPU29を光伝送システムに採用した場合、光通信用ICの消費電力の増大、信号波形特性劣化、シーケンスタイミングの調整といった数々の問題があり、実用に供し得ないという問題がある。
本発明は、上記の問題点に鑑みてなされたものであり、その目的は、コスト及びサイズを増加させることなく、簡単な構成で、コーディング機能がない信号発生源(CPU)であってもビットの連続を防止することができる光伝送用並列直列変換器、光伝送システム、及び電子機器を実現することにある。
本発明の光伝送用並列直列変換器は、上記の課題を解決するために、複数の2値信号がそれぞれ並列に入力される複数の入力端子を備え、入力された複数の2値信号を、直列の2値信号に変換し、光伝送モジュールへ伝送する光伝送用並列直列変換器であって、上記複数の入力端子には、上記直列の2値信号について、同一の値が所定のビット数連続しないように、“1”信号または“0”信号を挿入するためのビット連続防止用入力端子が割り当てられていることを特徴としている。
上記の構成によれば、予め、光伝送用並列直列変換器における、複数の2値信号がそれぞれ並列に入力される複数の入力端子に、ビット連続防止用入力端子が割り当てられている。そして、このビット連続防止用入力端子は、光伝送モジュールへ伝送する直列の2値信号について、同一の値が所定のビット数連続しないように、“1”信号または“0”信号を挿入するようになっている。これにより、上記の構成によれば、直列の2値信号は、同一ビットの連続数が制限され、連続ビットの問題が解決される。
また、上記の構成では、光伝送用並列直列変換器の複数の入力端子に、ビット連続防止用入力端子を割り当てるだけで連続ビットの問題を解決しているので、特許文献1のように符号部を設けた構成と比較して、コスト、サイズ、及び消費電力を増加させることなく、簡易な構成で連続ビットを回避することができる。
本発明の光伝送用並列直列変換器では、上記光伝送モジュールの信号伝送レートの最小値をfminとし、上記直列の2値信号の信号伝送レートをRとしたとき、上記所定のビット数nは、下記式(1)
n<R/fmin …(1)
を満たすものであることが好ましい。
光伝送システムにおいて、光伝送用並列直列変換器に入力される並列信号の数と光伝送用並列直列変換器の入力端子数の関係上、割り当て可能なビット連続防止用入力端子の数に制限がある場合がある。このような場合、上記のようにビット連続数nを制限することにより、適切に、ビット連続防止用入力端子の割り当て数を確保することができる。
また、ビット連続防止用入力端子の割り当て数が比較的多くなると、画像データの伝送に必要なシリアル信号に、ビット連続防止用入力端子からの信号が付加することになる。そして、この付加された信号分だけ、光伝送モジュールの信号伝送レートが増加し、結果として、消費電力が増大する。上記のようにビット連続数nを制限することにより、ビット連続防止用入力端子からの信号分の消費電力の増大を防ぐことができる。
本発明の光伝送用並列直列変換器では、上記ビット連続防止用入力端子として、“0”の値が所定のビット数連続しないように“1”信号を挿入するための第1のビット連続防止用入力端子、または、“1”の値が所定のビット数連続しないように“0”信号を挿入するための第2のビット連続防止用入力端子が割り当てられていることが好ましい。
上記の構成によれば、上記ビット連続防止用入力端子として、“0”の値が所定のビット数連続しないように“1”信号を挿入するための第1のビット連続防止用入力端子、または、“1”の値が所定のビット数連続しないように“0”信号を挿入するための第2のビット連続防止用入力端子が割り当てられているので、コスト、サイズ、及び消費電力を増加させることなく、簡易な構成で連続ビットを回避することができる。
本発明の光伝送用並列直列変換器では、上記第1のビット連続防止用入力端子、及び上記第2のビット連続防止用入力端子の両方が割り当てられていることが好ましい。
上記の構成によれば、上記第1のビット連続防止用入力端子、及び上記第2のビット連続防止用入力端子の両方が割り当てられているので、光伝送モジュールを伝送する直列の2値信号は、“0”の値及び“1”の値が交互に周期的に挿入された信号になる。これにより最小のビット連続防止用入力端子の割り当て数で、直列の2値信号の“0”の値または“1”の値の連続ビット数を小さくすることができる。
本発明の光伝送用並列直列変換器では、上記複数の入力端子において、上記第1のビット連続防止用入力端子、及び上記第2のビット連続防止用入力端子は、互いに等間隔であり、かつ交互になるように割り当てられていることが好ましい。
上記の構成によれば、上記複数の入力端子において、上記第1のビット連続防止用入力端子、及び上記第2のビット連続防止用入力端子は、互いに等間隔であり、かつ交互になるように割り当てられているので、特に光伝送用並列直列変換器の入力端子数と入力される2値信号の数との関係上、ビット連続防止用入力端子の割り当て数に限りがある場合、効果的に、直列の2値信号の“0”の値または“1”の値の連続ビット数を小さくすることができる。
本発明の光伝送用並列直列変換器では、上記第1のビット連続防止用入力端子、及び上記第2のビット連続防止用入力端子が隣接していることが好ましい。
上記の構成によれば、上記第1のビット連続防止用入力端子、及び上記第2のビット連続防止用入力端子が隣接しているので、光伝送モジュールを伝送する直列の2値信号は、“0”の値及び“1”の値の連続が周期的に挿入された信号になる。それゆえ、確実に直列の2値信号の“0”の値または“1”の値の連続ビット数を小さくすることができる。
本発明の光伝送用並列直列変換器では、上記第1のビット連続防止用入力端子には、電源電圧が入力されており、上記第2のビット連続防止用入力端子には、接地電圧が入力されていることが好ましい。
上記の構成によれば、上記第1のビット連続防止用入力端子には、電源電圧が入力されており、上記第2のビット連続防止用入力端子には、接地電圧が入力されているという簡易な構成で、光伝送モジュールを伝送する直列の2値信号の“0”の値または“1”の値の連続ビット数を小さくすることができる。
本発明の光伝送用並列直列変換器では、電源用端子及び接地用端子をさらに備えており、上記第1のビット連続防止用入力端子は、上記電源用端子に近接して配置されて接続されており、上記第2のビット連続防止用入力端子は、上記接地用端子に近接して配置されて接続されていることが好ましい。
上記の構成によれば、電源用端子及び接地用端子をさらに備えており、上記第1のビット連続防止用入力端子は、上記電源用端子に近接して配置されて接続されているので、光伝送用並列直列変換器の実装基板面における、第1のビット連続防止用入力端子の電源用端子への配線引き回しが容易になり、電源電圧の入力が容易になる。また、上記の構成によれば、上記第2のビット連続防止用入力端子は、上記接地用端子に近接して配置されて接続されているので、第2のビット連続防止用入力端子の接地用端子への配線の引き回しが容易になり、接地電圧の入力が容易になる。
本発明の光伝送用並列直列変換器では、大部分の期間“0”の値となる上記2値信号が入力される端子を、上記第2のビット連続防止用入力端子として割り当て、大部分の期間“1”の値となる上記2値信号が入力される端子を、上記第1のビット連続防止用入力端子として割り当てることが好ましい。
光伝送システムの構成・仕様によっては、光伝送モジュールを伝送すべき2値信号の中に、大部分の期間“0”の値となる2値信号、または大部分の期間“1”の値となる2値信号が存在することがある。上記の構成によれば、大部分の期間“0”の値となる上記2値信号が入力される端子を、上記第2のビット連続防止用入力端子として割り当て、大部分の期間“1”の値となる上記2値信号が入力される端子を、上記第1のビット連続防止用入力端子として割り当てるので、確実にビット連続を防止することができる。
本発明の光伝送用並列直列変換器では、上記複数の入力端子には、データ信号が入力されるデータ信号入力端子が割り当てられており、上記ビット連続防止用入力端子には、クロック信号が入力されていることが好ましい。
上記の構成によれば、上記複数の入力端子には、データ信号が入力されるデータ信号入力端子が割り当てられており、上記ビット連続防止用入力端子には、クロック信号が入力されているので、光伝送用並列直列変換器から出力した直列の2値信号は、一定の間隔で“0”の値及び“1”の値が挿入された信号になり、ビット連続を防止することができる。
本発明の光伝送用並列直列変換器では、上記クロック信号が、上記データ信号よりも低速であることが好ましい。
本発明の光伝送用並列直列変換器では、上記クロック信号が、上記データ信号よりも高速もしくは同速であることが好ましい。
上記の構成によれば、光伝送用並列直列変換器から出力された直列の2値信号は、データ信号にクロック信号が挿入された信号になる。つまり、所定ビット数のデータ信号毎に、“0”の値及び“1”の値が交互に変わって、挿入された信号になる。このような直列の2値信号が、光伝送モジュールを伝送することで、信号のビット連続が防止される。
本発明の光伝送用並列直列変換器では、上記複数の入力端子には、上記クロック信号の反転信号がさらに入力されていることが好ましい。これにより、確実に信号のビット連続が防止される。
本発明の光伝送システムは、上記の課題を解決するために、複数の2値信号をそれぞれ並列に出力する信号発生部と、上記複数の2値信号を入力し、直列の2値信号に変換する、上述の光伝送用並列直列変換器と、上記光伝送用並列直列変換器から出力した直列の2値信号を光信号に変換する光変換器を有し、該光変換器により変換された光信号を、光伝送路を介して伝送させる光伝送モジュールとを備えたことを特徴としている。
これにより、特許文献1のように符号部を設けた構成と比較して、コスト、サイズ、及び消費電力を増加させることなく、簡易な構成で連続ビットを回避することができる光伝送システムを実現できる。
本発明の光伝送システムでは、上記信号発生部から出力されるデータ信号に対し、該信号発生部から出力されるクロック信号に基づいて制御を行う制御部を備え、上記信号発生部は、上記データ信号及びクロック信号を、並列の2値信号として出力し、上記クロック信号を上記信号発生部から上記制御部に伝送する電気信号線をさらに備えており、上記光伝送用並列直列変換器は、上記電気信号線からの上記クロック信号が上記ビット連続防止用入力端子に入力されていることが好ましい。
上記の構成により、光伝送路を伝送する直列の2値信号は、データ信号にクロック信号が挿入された信号になるので、簡易な構成で連続ビットを回避することができる。
本発明の光伝送システムでは、上記信号発生部から出力されるデータ信号に対し、該信号発生部から出力されるクロック信号に基づいて制御を行う制御部を備え、上記信号発生部は、上記データ信号及びクロック信号を、並列の2値信号として出力し、上記光伝送モジュールは、上記光変換器により、少なくともクロック信号を光信号に変換し、該光信号を、光伝送路を介して伝送させ、上記制御部へ出力することが好ましい。
上記の構成によれば、上記信号発生部から出力されるデータ信号に対し、該信号発生部から出力されるクロック信号に基づいて制御を行う制御部を備え、上記信号発生部は、上記データ信号及びクロック信号を、並列の2値信号として出力し、上記光伝送モジュールは、上記光変換器により、少なくともクロック信号を光信号に変換し、該光信号を、光伝送路を介して伝送させ、上記制御部へ出力するので、光伝送路を伝送する直列の2値信号は、データ信号にクロック信号が挿入された信号になり、パラレル変換後、上記制御部へ出力することになる。それゆえ、上記の構成によれば、クロック信号を伝送する媒体としての電気信号線を削減できる光伝送システムを実現することができる。
本発明の電子機器は、上記の課題を解決するために、上述の光伝送システムを備えたことを特徴としている。
これにより、特許文献1のように符号部を設けた構成と比較して、コスト、サイズ、及び消費電力を増加させることなく、連続ビットを回避することができる。さらには、簡易な構成で光伝送モジュールによる光伝送システムを電子機器に適用することができる。また、電子機器に本発明の光伝送システムを適用することで、電子機器内の実装基板の配線引き回しの簡易化、電子機器内部の省スペース化を実現することができる。
本発明の光伝送用並列直列変換器は、以上のように、上記複数の入力端子には、上記直列の2値信号について、同一の値が所定のビット数連続しないように、“1”信号または“0”信号を挿入するためのビット連続防止用入力端子が割り当てられている構成である。
本発明の光伝送システムは、以上のように、複数の2値信号をそれぞれ並列に出力する信号発生部と、上記複数の2値信号を入力し、直列の2値信号に変換する、上記光伝送用並列直列変換器と、上記光伝送用並列直列変換器から出力した直列の2値信号を光信号に変換する光変換器を有し、該光変換器により変換された光信号を、光伝送路を介して伝送させる光伝送モジュールとを備えた構成である。
本発明の電子機器は、以上のように、上記光伝送システムを備えた構成である。
それゆえ、特許文献1のように符号部を設けた構成と比較して、コスト、サイズ、及び消費電力を増加させることなく、連続ビットを回避することができる。さらには、簡易な構成で光伝送モジュールによる光伝送システムを電子機器に適用することができる。また、電子機器に本発明の光伝送システムを適用することで、電子機器内の実装基板の配線引き回しの簡易化、電子機器内部の省スペース化を実現することができる。
本発明の一実施形態について図1ないし図17に基づいて説明すると以下の通りである。
すなわち、本実施形態では、操作キーを備える本体部と、表示画面を備える蓋部と、上記本体部に上記蓋部を回転可能に接続するヒンジ部とからなる折り畳み式携帯電話機において、上記本体部及び上記蓋部の間での情報(データ)伝送を上記ヒンジ部内に設けられた光伝送モジュールを介して行う構成を例に挙げて説明する。
図1は、本実施形態の折り畳み携帯電話機40内に設けられた光伝送システム1の概略構成を示すブロック図である。図2(a)は本実施形態の光伝送モジュール1を内蔵した折り畳み式携帯電話機40の外観を示す斜視図である。図2(b)は、図2(a)におけるヒンジ部41(破線で囲んだ部分)の透視平面図である。
図1及び図2(a)・(b)に示すように、本実施の形態に係る折り畳み式携帯電話機40(以下、単に携帯電話機40と示す)は、本体部42と、本体部42の一端に設けられたヒンジ部41と、ヒンジ部41を軸として回転可能に設けられた蓋部43とから構成されている。
本体部42は、携帯電話機40を操作するための操作キー44を備えるとともに、その内部に主制御基板20を備えている。蓋部43は、外部に表示画面45及びカメラ(図示せず)を備えるとともに、内部にアプリケーション回路基板30を備えている。ドライバ39などが搭載されている。
上述のような構成を有する携帯電話機40において、主制御基板20とアプリケーション回路基板との間の情報(データ)伝送は、光伝送モジュール1を介して行われる。
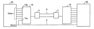
図1に示されるように、本体部42側の主制御基板20は、自基板20に搭載される各素子(図示せず)を統括制御するCPU(信号発生部)29と、シリアル/パラレル変換器としてのシリアライザー15とを備えている。このシリアライザー(P/S変換器)15は、パラレル(並列)の信号(以下、パラレル信号と記す)をシリアル(直列)の信号(以下、シリアル信号と記す)に変換する。
アプリケーション回路基板30は、CPU29から転送される画像データ(2値信号)に基づいて画像を表示するLCD(Liquid Crystal Display)(図示せず)、LCDを駆動制御する駆動部としてのLCDドライバ(制御部)39と、シリアル/パラレル変換器としてのデシリアライザー16とを備えている。このデシリアライザー16は、シリアル信号をパラレル信号に変換する。
(光伝送モジュールの構成)
次に図1及び図3を参照して上記光伝送モジュール1の構成について説明する。図3は、本実施の形態に係る携帯電話機40における、光伝送モジュール1の概略構成を示すブロック図である。
図1及び図3に示すように、光伝送モジュール1は、CPU29を搭載する主制御基板20に接続される光送信処理部2と、LCDドライバ39などのアプリケーション回路を搭載するアプリケーション回路基板30に接続される光受信処理部3と、光送信処理部2及び光受信処理部3同士を接続する光配線となる光伝送路4とを備えてなる構成である。
上記光伝送路4は、発光部23から出射されるデータ信号としての光信号を受光部31まで伝送する媒体である。光伝送路4の詳細については後述する。
図3に示すように光送信処理部2は、インターフェイス回路(以下、I/F回路と記す)21、発光駆動部(光変換器)22、及び発光部23を備えてなる構成である。
上記I/F回路21は、外部から周波数レベルの異なる信号を受信するための回路である。このI/F回路21は、外部から光伝送モジュール1内に入力される電気信号の電気配線と発光駆動部22との間に設けられている。
上記発光駆動部22は、I/F回路21を介して外部から光伝送モジュール1内に入力された電気信号に基づいて発光部23の発光を駆動するものである。この発光駆動部22は、例えば発光駆動用のIC(Integrated Circuit)によって構成することができる。
発光部23は、発光駆動部22による駆動制御に基づいて発光するものである。この発光部23は、例えばVCSEL(Vertical Cavity-Surface Emitting Laser)などの発光素子によって構成することができる。この発光部23から発せられた光は、光信号として光伝送路4の光入射側端部に照射される。
このように、光送信処理部2は、該光送信処理部2に入力される電気信号を、該電気信号に応じた光信号に変換して、光伝送路4に出力する。
次に、光受信処理部3は、受光部31、検出回路32、増幅部(アンプ)33、及びI/F回路34を備えてなる構成である。
上記受光部31は、光伝送路4の光出射側端部から出射された光信号としての光を受光し、光電変換によって電気信号を出力するものである。この受光部31は、例えばPD(Photo-Diode)などの受光素子によって構成することができる。また、検出回路32は、受光部31が光信号を受信したか否かを判断する。
増幅部33は、受光部31・検出回路32から出力された電気信号を所望の値に増幅して外部に出力するものである。この増幅部33は、例えば増幅用のICによって構成することができる。
I/F回路34は、増幅部33により増幅された電気信号を光伝送モジュール1の外部へ出力するための回路である。I/F回路34は、外部へ電気信号を伝送する電気配線と接続しており、増幅部32とこの電気配線との間に設けられる。
このように、光受信処理部3は、光伝送路4を通じて光送信処理部2から出力される光信号を受信して、該光信号に応じた電気信号に変換した後、所望の信号値に増幅して外部に出力することができる。
(光伝送路の構成)
次に、光伝送路4の詳細について図4(a)及び図4(b)を用いて説明する。図4(a)は、光伝送路4の側面図を示している。同図に示すように、光伝送路4は、光伝送方向を軸とする柱状形状のコア部4αと、コア部4αの周囲を囲むように設けられたクラッド部4βとを備えた構成となっている。コア部4α及びクラッド部4βは透光性を有する材料によって構成されているとともに、コア部4αの屈折率は、クラッド部4βの屈折率よりも高くなっている。これにより、コア部4αに入射した光信号は、コア部4α内部で全反射を繰り返すことによって光伝送方向に伝送される。
コア部4α及びクラッド部4βを構成する材料としては、ガラスやプラスチックなどを用いることが可能であるが、十分な可撓性を有する光伝送路4を構成するためには、アクリル系、エポキシ系、ウレタン系、及びシリコーン系等の樹脂材料を使用することが好ましい。また、クラッド部4βを空気などの気体で構成してもよい。さらに、クラッド部4βをコア部4αよりも屈折率の小さい液体の雰囲気下において使用しても同様の効果が得られる。
次に、光伝送路4による光伝送の仕組みについて図4(b)を用いて説明する。図4(b)は、光伝送路4における光伝送の状態を模式的に示している。同図に示すように、光伝送路4は可撓性を有する柱状形状の部材によって構成される。また、光伝送路4の光入射側端部には光入射面4Aが設けられているとともに、光出射側端部には光出射面4Bが設けられている。
発光部23から出射された光は、光伝送路4の光伝送方向に対して直角または略直角となる方向から、光伝送路4の光入射側端部に入射される。入射された光は、光入射面4Aにおいて反射されることによって光伝送路4内に導入されコア部4α内を進行する。光伝送路4内を進行して光出射側端部に到達した光は、光出射面4Bにおいて反射されることによって、光伝送路4の光伝送方向に対して直角または略直角となる方向へ出射される。出射された光は、受光部31に照射され、受光部31において光電変換が行われる。
このような構成によれば、光伝送路4における光伝送方向に対して直角または略直角となる方向に、光源としての発光部23を配置する構成とすることが可能となる。よって、例えば基板面に平行に光伝送路4を配置することが必要とされる場合に、光伝送路4と基板面との間に、該基板面の法線方向に光を出射するように発光部23を設置すればよいことになる。このような構成は、例えば発光部23を基板面に平行に光を出射するように設置する構成よりも、実装が容易であり、また、構成としてもよりコンパクトにすることができる。これは、発光部23の一般的な構成が、光を出射する方向のサイズよりも、光を出射する方向に直角な方向のサイズの方が大きくなっていることによるものである。さらに同一面内に電極と発光部23がある平面実装向け発光素子を使用する構成にも適用が可能である。
なお、同図に示す光伝送路4は、上述のように、光入射面4A及び光出射面4Bが傾斜している構成であるが、本実施形態における光伝送路4は、両端面が光伝送方向に対して直交する構成であってもよい。すなわち、光伝送路4の外形が、直方体状に形成されていてもよい。
(光伝送システム100)
次に、本体部42と蓋部43との間、すなわち主制御基板20とアプリケーション回路基板30との間での情報伝送について、図1、図3を用いて説明すれば、以下の通りである。
光伝送モジュール1を介した光伝送システム100では、CPU29、LCDドライバ39で、パラレル信号(並列の2値信号)のデータ通信が行われ、光伝送路4で、シリアル信号(直列の2値信号)のデータ通信が行われる。ここでは、データ通信の一例として、CPU29が、図示しないLCDに画像を表示させるために、画像データをLCDドライバ39へ転送する場合について説明する。CPU29は、LCDで表示させる画像の画像データ信号をパラレル信号で出力する。CPU29から出力された画像データ信号は、シリアライザー(光伝送用並列直列変換器)15に入力される。
シリアライザー15は、CPU29から出力された画像データ信号(data)をシリアル信号(直列の2値信号)に変換し、光送信処理部2へ出力する。シリアル信号化された画像データ信号(data)は、光送信処理部2のI/F回路21を介して、発光駆動部22に入力される。そして、発光駆動部22が発光部23を駆動させることにより、発光部23が発光する。発光部23から出射された光は、光伝送路4を介して、光受信処理部3に伝送される。
光受信処理部3の受光部31は、光伝送路4を介して伝送された、画像データ信号(data)の光信号の光を受光し、光電変換により電気信号に変換し、この電気信号を検出回路32に出力する。検出回路32は、この電気信号に基づき、受光部31が光信号を受信したか否かを判断し、画像データ信号(data)の電気信号を増幅部33へ出力する。増幅部33は、画像データ信号(data)の電気信号を増幅した後、I/F回路34を介して、デシリアライザー16へ出力する。
デシリアライザー16は、主制御基板20側から伝送されたシリアル信号である、画像データ信号(data)をパラレル信号に変換し、LCDドライバ39に入力する。
なお、光受信処理部3は、上記のような、シリアル信号を受信できる処理部に限定されない。光受信処理部3は、パラレル信号でしか受信できないものであってもよい。この場合、光受信処理部3内または光受信処理部3外に、光伝送路4を介して伝送されたシリアル信号をパラレル信号に変換するデシリアライザーを備えた構成が挙げられる。
LCDドライバ39は、画像データ信号(data)に基づき、画像データの書き込みを行い、LCD(図示せず)の表示制御を行う。また、LCD(図示せず)は、LCDドライバ39の制御により、CPU29から伝送された画像データに基づいた画像を表示する。
本実施形態における光伝送システム100は、CPU29から出力されたパラレル信号のシリアライザー15を介したシリアル信号化に特徴がある。図5は、光伝送モジュールの光伝送路を伝送するシリアル信号の信号パターンを示す概念図であり、図5(a)は、従来の光伝送システムにおけるシリアル信号パターンを示し、図5(b)は、本実施形態の光伝送システム100におけるシリアル信号パターンを示す。
図5(a)及び図5(b)に示される「?」は、シリアライザー15に入力されるパラレル信号に応じて、“0”の値または“1”の値となり、異なる値の信号が入力される。ここで、シリアライザー15に入力されるパラレル信号の入力端子数がb個である場合、光伝送路を伝送するシリアル信号は、nビット(n≧b)の信号パターンが繰り返される。つまり、パラレル信号の入力端子数がb個である場合においても、シリアライザー15によっては、シリアライザー15から出力される信号は、パリティーチェック機能などの信号を付加され、nビットとなる。
図5(a)に示されるように、従来の光伝送システムでは、光伝送路を伝送するシリアル信号は、入力されるパラレル信号に応じて異なるnビットの信号パターンが繰り返される。このため、信号パターンによっては、“0”の値または“1”の値が無限に連続するという連続ビットが発生するおそれがある。この連続ビットの問題を解決するため、例えば特許文献1の技術では、光伝送路を伝送するシリアル信号を符号化する符号化部が設けられている。
これに対し、本実施形態の光伝送システム100では、予め、シリアライザー15の入力端子にビット連続防止用入力端子(ダミービット)15aが割り当てられている。それゆえ、光伝送路を伝送するシリアル信号は、図5(b)に示されるように、所定のビット(nビット)毎に“0”の値及び“1”の値の連続(“10”または“01”)が挿入されることになる。これにより、シリアル信号は、同一ビットの連続数が制限され、連続ビットの問題が解決される。
光伝送システム100では、上記のように、光伝送路を伝送するシリアル信号について、予め所定ビット毎に“0”の値及び“1”の値の連続が割り当てられている。それゆえ、特許文献1のように符号部を設けた構成と比較して、コスト、サイズ、及び消費電力を増加させることなく、簡易な構成で連続ビットを回避することができる。
(光伝送路を伝送するシリアル信号のビット連続の制限数の定義)
光伝送モジュール1の信号伝送は、該モジュールに搭載される光通信用IC(IF回路21、発光駆動部22、検出回路32、増幅部33、I/F回路34)の帯域特性の制約を受けており、信号伝送レートの限界値(以下、伝送可能レートfminとする)が存在する。仕様以外の伝送レートよりも低い、すなわち、光伝送モジュール1の信号伝送レートが伝送可能レートfmin以下である場合、図6に示されるような不具合が生じる。図6は、光伝送モジュール1における、信号伝送レートとエラーレートとの関係を示したグラフである。なお、同図に示された波形図は、光伝送モジュール1の光受信処理部3から出力される信号の波形を示し、6角形で示した領域がエラーレートの規格を示す。すなわち、波形図に示された波形が、上記6角形の領域に重複すると、伝送規格のエラーレート仕様を満たさず、信号伝送レートが悪化することになる。なお、このエラーレートの規格を示す領域は、マスクパターンといわれている。また、マスクパターンは、図6に示される6角形に限定されず、エラーレートの規格に応じて適宜設定されうる。例えば、マスクパターンとしては、図6に示す6角形以外に、ひし形などが挙げられる。
同図に示されるように、光伝送モジュール1の信号伝送レートが伝送可能レートfmin以下である場合、光受信処理部3から出力される信号の波形が、上記6角形の領域に重複しているか、一部重複しており、エラーレートが上昇している。一方、信号伝送レートが伝送可能レートfminよりも大きい場合、光受信処理部3から出力される信号の波形が、上記6角形の領域に重複しておらず、伝送規格のエラーレート仕様を満たし、エラーレートが減少している。
また、光伝送モジュール1の信号伝送レートが同じであっても、モジュールに“0”信号または“1”信号が連続して入力された場合、結果として、モジュールに低域信号が入力されたことを同等になる。このため、モジュールに“0”信号または“1”信号が連続して入力された場合においても、エラーレートが上昇する。
光伝送システム100では、光伝送路4を伝送するシリアル信号の連続ビット数nは、伝送可能レートfminに基づき定義される。また、上記のモジュールに“0”信号または“1”信号が連続して入力された場合を考慮すると、光伝送モジュールの信号伝送レートfをR/nとする(ただし、Rは、シリアライザー15から出力されるシリアル信号の信号伝送レート)。
すなわち、光伝送システム100においては、光伝送モジュール1の信号伝送レートの最小値をfminとし、シリアライザー15から出力されるシリアル信号の信号伝送レートをRとしたとき、光伝送路4を伝送するシリアル信号について、ビット連続数nが下記式(1)
n<R/fmin …(1)
を満たすように、シリアライザー15の入力端子部分にビット連続防止用入力端子が割り当てられている。
以下、上記式(1)に基づき算出した、ビット連続の制限数R/fminについて検証実験を行った結果について、説明する。この検証実験における、信号伝送レートR、伝送可能レートfminの条件は、以下の通りである。
信号伝送レートR;450Mbit/s
伝送可能レートfmin;30Mbit/s(低域カットオフ周波数;6MHz)
なお、伝送可能レートfminは、光伝送モジュール1の低域カットオフ周波数の表現で仕様化される場合がある。この伝送可能レートfminと低域カットオフ周波数との関連については、後述する。
信号伝送レートR、伝送可能レートfminの条件で算出される、ビット連続の制限数は、15bitである。そこで、実際に連続ビットの連続数nが、15(制限数)よりも小さい場合、伝送規格のエラーレート仕様を満たすか否かを検証した。その検証結果を図7に示す。
連続ビット数が7,9,11,13,15である信号が光伝送モジュール1に入力されるとき、光受信処理部3から出力される信号の波形が伝送規格のエラーレート仕様を満たすか否かを検証した。図7に示されるように、連続ビット数が13よりも小さい信号が光伝送モジュール1に入力されるとき、伝送規格のエラーレート仕様を満たし、光伝送モジュール1による信号伝送が成り立つことがわかる。一方、連続ビット数が15である信号が光伝送モジュール1に入力されるとき、伝送規格のエラーレート仕様を満たさず、信号伝送レートが悪化していることがわかる。
以上の検証結果より、ビット連続数nが下記式(1)
n<R/fmin …(1)
を満たすように制限されると、伝送規格のエラーレート仕様を満たし、光伝送モジュール1による信号伝送が成り立つことがわかる。
光伝送システム100において、CPU29から出力されたパラレル信号の数とシリアライザー15の入力端子数の関係上、割り当て可能なビット連続防止用入力端子の数に制限がある場合がある。このような場合、上記のようにビット連続数nを制限することにより、適切に、ビット連続防止用入力端子の割り当て数を確保することができる。
また、ビット連続防止用入力端子の割り当て数が比較的多くなると、画像データの伝送に必要なシリアル信号に、ビット連続防止用入力端子からの信号が付加することになる。そして、この付加された信号分だけ、光伝送モジュール1の信号伝送レートが増加し、結果として、消費電力が増大する。上記のようにビット連続数nを制限することにより、ビット連続防止用入力端子からの信号分の消費電力の増大を防ぐことができる。
上述したように、伝送可能レートfminは、光伝送モジュール1の低域カットオフ周波数の表現で仕様化される場合がある。ここでは、この伝送可能レートfminと低域カットオフ周波数との関連について、図8に基づいて説明する。図8は、光伝送モジュール1における利得の周波数特性を示し、周波数と利得との関係を示したグラフである。
同図において、低域カットオフ周波数は、周波数特性がフラットな部分(周波数に依存せず一定になった部分)と比較して、低域周波数側で、利得が−3dB変化したときの周波数として定義される。
光伝送モジュール1の伝送可能レートfminと低域カットオフ周波数との関係は、以下の式(2)で示される。
伝送可能レートfmin=低域カットオフ周波数×m
ここで、mは、光伝送モジュール1に搭載される光通信用ICにおける、低域カットオフ周波数特性を決定するフィルタ構成により決定される。
フィルタ構成が1次であるとき、m≒5となり、mが最も大きくなる。なお、多くの光通信用ICは、1次のフィルタ構成を採用している。このような場合、連続ビットの制限数が最も大きくなる。一方、フィルタ構成が2次であるとき、m>5となり、周波数に対する利得の傾きが急峻になる。なお、少数の光通信用ICは、2次のフィルタ構成を採用している。
以下、シリアライザー15に割り当てられたビット連続防止用入力端子の具体的な構成について、図1に基づいて説明する。
図1に示されるように、シリアライザー15の入力端子部分には、ビット連続防止用入力端子15a、及び入力端子15bが設けられている。入力端子15bは、入力信号線18と接続している。入力信号線18は、CPU29からシリアライザー15へパラレル伝送するための信号線である。ビット連続防止用入力端子15aは、入力端子15bとは別に割り当てられている。ビット連続防止用入力端子15aには、常に電圧レベルがLOWレベルの信号が入力されるか、もしくは、常に電圧レベルがHIGHレベルの信号が入力される。そして、ビット連続防止用入力端子15aに入力される信号の電圧レベル応じて、入力信号が“0”信号または“1”信号であるか決定される。
このような構成により、例えば、シリアライザー15に入力されるパラレル信号の入力数がmである場合、光伝送路4を伝送するシリアル信号は、mビット毎に、“0”信号、または“1”信号が繰り返された信号になり、連続ビットを回避することができる。
また、光伝送路4を伝送するシリアル信号は、デシリアライザー16にてパラレル信号に変換される。このとき、デシリアライザー16の端子16aに、ビット連続防止用入力端子15aからの信号が入力されるようになっている。図1に示されるように、端子16aとLCDドライバ39との間は、接続されておらず、ビット連続防止用入力端子15aからの信号がLCDドライバ39に入力されないようになっている。
ここで、ビット連続防止用入力端子15aの数は、シリアライザー15の入力端子部分に割り当てられている入力端子15bの数、光伝送システム100の設計などに応じて、適宜設定されうる。
また、シリアライザー15の入力端子部分には、ビット連続防止用入力端子15aとして、常に“1”の値の信号が入力される第1のビット連続防止用入力端子、及び常に“0”の値の信号が入力される第2のビット連続防止用入力端子の両方が割り当てられていてもよい。図9(a)は、第1のビット連続防止用入力端子、及び第2のビット連続防止用入力端子の両方が割り当てられた構成を示すブロック図であり、図9(b)は、第1のビット連続防止用入力端子、及び第2のビット連続防止用入力端子の両方が割り当てられた場合におけるシリアル信号パターンとを示す概念図である。
図9(a)に示されるように、シリアライザー15の入力端子部分には、ビット連続防止用入力端子151a(第1のビット連続防止用入力端子)、及びビット連続防止用入力端子152a(第2のビット連続防止用入力端子)の両方が割り当てられている。このような構成により、図9(b)に示されるように、光伝送路4を伝送するシリアル信号は、“0”の値及び“1”の値が交互に周期的に挿入された信号になる。これにより、最小のビット連続防止用入力端子の割り当て数で、シリアル信号の“0”の値または“1”の値の連続ビット数を小さくすることができる。
なお、図9(a)では、第1のビット連続防止用入力端子151a、及び第2のビット連続防止用入力端子152aが隣接している構成としている。しかしながら、第1のビット連続防止用入力端子151a、及び第2のビット連続防止用入力端子152aは、図9(a)の構成に限定されず、両者が離間していてもよい。
また、シリアライザー15の入力端子数と入力されるパラレル信号の数との関係上、ビット連続防止用入力端子151a・152aの割り当て数に限りがある場合、ビット連続防止用入力端子151a・152aは、互いに等間隔であり、かつ交互になるように割り当てられていることが好ましい。例えば、シリアライザー15の入力端子数が30であり、ビット連続防止用入力端子151a・152aの割り当て可能な端子数が3である場合、ビット連続防止用入力端子151a・152aは、1番目、11番目、及び21番目の入力端子に交互に割り当てられていることが好ましい。このような構成とすることにより、効果的に、シリアル信号の“0”の値または“1”の値の連続ビット数を小さくすることができる。
また、ビット連続防止用入力端子を多く割り当てると、割り当てた分だけシリアル信号の伝送レートが増大し、結果として消費電力が増大する。上記の構成によれば、ビット連続防止用入力端子151a・152aを過度に割り当てることなく、効果的にシリアル信号の連続ビット数を小さくすることができるので、消費電力の増大を防ぐことができる。
図10は、第1のビット連続防止用入力端子、及び第2のビット連続防止用入力端子の具体例を示したブロック図である。
同図に示されるように、ビット連続防止用入力端子151aは、電源電圧(V)が入力されるV(1)端子になっている。また、ビット連続防止用入力端子152aは、接地電圧が入力されるGND(0)端子になっている。また、V(1)端子には、“1”の値を認識する範囲の信号が入力される。
このような構成により、例えば、シリアライザー15に入力されるパラレル信号の入力数がmである場合、光伝送路4を伝送するシリアル信号は、mビット毎に、“0”の値、または“1”の値が繰り返された信号になり、連続ビットを回避することができる。
さらに、光伝送システム100は、シリアライザー15の入力端子部分にGND(0)端子またはV(1)端子が割り当てられた簡易な構成であるので、符号部を設けた構成と比較して、コスト、サイズ、及び消費電力の増加を無くすことができる。また、現在、符号部を備えていない(コーディング機能を有していない)シリアライザーが市販されているが、このようなシリアライザーに対しても、簡易な構成で、光伝送モジュール1の信号伝送を実現することができる。
また、シリアライザー15は、上記のように、入力端子部分にGND(0)端子及びV(1)端子が割り当てられた構成であればよく、CPU29内に設けられていても、CPU29外に設けられていてもよい。
また、光伝送路4を伝送するシリアル信号に、“0”の値及び“1”の値を割り当てるに際し、V(1)端子またはGND(0)端子に接続する信号線の構成をフローティング構成とすることが可能である。この場合、フローティング構成となった信号線からの信号は、シリアライザー15に搭載されたIC回路により、“0”、もしくは“1”と認識される。
(変形例1)
本実施形態の光伝送システム100の構成において、図1、及び図8に示す構成の他の変形例について説明する。
光伝送システムの構成・仕様によっては、CPU29から出力されるパラレル信号の中に、大部分の期間“0”の値、または“1”の値となる2値信号(以下、固定信号と記す)が存在することがある。すなわち、入力信号線18の中には、固定信号をシリアライザー15へ出力する信号線が存在する。
光伝送システム100の変形例として、上記のような固定信号を考慮して、シリアライザー15にビット連続防止用入力端子151aまたは152aを割り当てることができる。図11(a)は、この変形例1として光伝送システム100における、CPU29とシリアライザー15との間の信号線の配置を模式的に示したブロック図である。
図11(a)に示されるように、データ入力信号線18の中には、固定信号を出力する信号線18’が配されている。そして、シリアライザー15には、この信号線18’と接続するデータ入力端子15b’が設けられている。また、V(1)端子及びGND(0)端子は、データ入力端子15b’とは別に割り当てられている。
図11(b)は、変形例1としての光伝送システム100におけるシリアル信号パターンを示す概念図である。同図に示されるように、シリアライザー15に入力されるパラレル信号の入力数がmである場合、データ入力端子15b’からの信号(図10(b)中四角で囲った固定信号)は、mビット毎に繰り返される。そして、データ入力端子15b’からの信号とは別に、V(1)端子及びGND(0)端子からの信号が、mビット毎に繰り返される。変形例1では、シリアル信号パターンのmビット内に、“0”信号及び“1”信号が挿入される位置が2つ存在するので、確実にビット連続を防止することができる。
また、変形例1では、CPU29から出力されるパラレル信号のうち、固定信号を利用して、連続ビットを防止している(固定信号を入力する端子をビット連続防止用端子として利用する)ので、シリアライザー15の入力端子部分でのビット連続防止用入力端子の割り当て数を少なく確保することができる。特に、CPU29から出力される信号数とシリアライザー15の入力端子数との関係上、ビット連続防止用入力端子の割り当て数が制限されている場合、変形例1の構成は、特に有効である。
また、ビット連続防止用入力端子を多く割り当てると、割り当てた分だけシリアル信号の伝送レートが増大し、結果として消費電力が増大する。変形例1では、ビット連続防止用入力端子の割り当て数を少なく確保することができるので、消費電力の増大を防ぐことができる。
なお、上記固定信号としては、大部分の期間“0”の値、または“1”の値となる(CPU29から出力されるデータ信号に対し変化する周波数が十分に長い)信号を利用することができる。この固定信号は、データ信号の伝送中常に“0”の値、または“1”の値となる信号、または、1データビット毎に信号の値が異なる信号であってもよい。例えば、CPU29から出力されるデータ信号を制御するための制御信号(垂直同期信号等)を、上記固定信号として利用することができる。また、光伝送システムの構成によっては、チップセレクト信号、アドレス/データセレクター入力信号等を、上記固定信号として利用することができる。
(ビット連続防止用入力端子の割り当てについて)
以下、ビット連続防止用入力端子の割り当ての一例について、説明する。
シリアライザー15の入力ポート(入力端子の割り当て部分)には、CPU29からのパラレル信号を入力するための入力端子以外に、シリアライザー15の電源電圧が入力される電源用端子、接地電圧が入力される接地用端子が割り当てられている。
図12は、シリアライザー15の入力ポートの一例を示した模式図である。この図に示された例は、BGAタイプ(Flip chip)の入力ポートである。なお、シリアライザー15の入力ポートの構成は、図12に示された構成に限定されるものではない。例えば、BGAタイプ以外に、SMDタイプであっても、シリアライザー15の入力ポートとして適用可能である。
同図に示した「V」は、電源用端子の割り当て位置を示す。また、「G」は、接地用端子の割り当て位置を示す。また、四角で囲まれた領域Cは、IC回路の構成上、シリアル化すべき信号の入力端子のために割り当てられた領域を示す。
シリアライザー15では、電源用端子「V」に近接したポートAにV(1)端子が割り当てられていることが好ましい。また、接地用端子「G」に近接したポートBにGND(0)端子が割り当てられていることが好ましい。このように割り当てることにより、シリアライザー15の実装基板面における、V(1)端子の電源用端子「V」への配線引き回しが容易になる。また、GND(0)端子の接地用端子「G」への配線の引き回しが容易になる。これにより、シリアライザー15に“0”信号及び“1”信号を入力することが容易になる。
(変形例2)
本実施形態の光伝送システム100の構成において、図1、及び図8に示す構成の他の変形例について説明する。図13は、この変形例2の光伝送システムに備えられたシリアライザー15の構成を示すブロック図である。
同図に示されるように、シリアライザー15の入力端子部分には、データ信号、及びクロック信号が入力されている。データ信号及びクロック信号のうち、データ信号入力には、入力端子15bが割り当てられている。一方、クロック信号入力には、ビット連続防止用入力端子15aが割り当てられている。クロック信号は、“0”の値と“1”の値とが、一定の周期で繰り返された信号であり、ビット連続防止用入力端子15aに入力される信号として利用することができる。すなわち、シリアライザー15から出力されたシリアル信号は、一定の間隔で“0”信号及び“1”信号が挿入された信号になり、ビット連続を防止することができる。
以下、変形例2のシリアライザー15を備えた光伝送システム100について、説明する。図14は、変形例2の光伝送システム100の構成を示したブロック図である。
同図に示されるように、光伝送システム100は、CPU29とLCDドライバ39との間を接続する電気伝送路5を備えている。電気伝送路5は、光伝送路4と並行して設けられ、CPU29から出力されるクロック信号を伝送する媒体である。一方、光伝送路4は、上述のように、CPU29から出力されるデータ信号を伝送する媒体である。
変形例2の光伝送システム100では、電気伝送路5に分岐したクロック信号配線18aが配されている。そして、このクロック信号配線18aを介して、シリアライザー15のビット連続防止用入力端子18bにクロック信号が入力されるようになっている。これにより、シリアライザー15から出力されたシリアル信号は、クロック信号が挿入された信号になる。そして、このようなシリアル信号が光伝送路4を伝送するので、ビット連続を防止することができる。
図14に示された構成は、シリアライザー15の入力端子にダミービットとしてのビット連続防止用入力端子18bが設けられ、このダミービットにクロック信号が入力した構成であった。しかしながら、変形例2の光伝送システム100は、この構成に限定されるものではない。
図15(a)は、変形例2の光伝送システム100の他の構成を示したブロック図であり、図15(b)は、図15(a)に示す光伝送システム100を伝送するクロック信号がデータ信号よりも低速である場合の信号波形図であり、図15(c)は、図15(a)に示す光伝送システム100を伝送するクロック信号が高速である(データ信号と同速である)場合の信号波形図である。なお、図15(b)・(c)では、光伝送システム100を伝送する信号を差動信号としている。
図15(a)に示されるように、シリアライザー15は、CPU29から出力された画像データ信号及びクロック信号をシリアル信号に変換し、光送信処理部2へ出力する。シリアル信号化された画像データ信号及びクロック信号は、光送信処理部2にて光信号に変換される。そして、変換された光信号は、光伝送路4を介して、光受信処理部3に伝送される。
光受信処理部3は、光伝送路4を介して伝送された、画像データ信号及びクロック信号の光信号の光を受光し、光電変換により電気信号に変換し、この電気信号を増幅し、デシリアライザー16へ出力する。
デシリアライザー16は、主制御基板20側から伝送されたシリアル信号である、画像データ信号及びクロック信号をパラレル信号に変換し、LCDドライバ39に入力する。
図15(b)・(c)の(I)に示される信号は、CPU29から出力されるパラレル信号を示す。また、図15(b)・(c)の(II)に示される信号は、シリアライザー15と光送信処理部2との間、及び光受信処理部3とデシリアライザー16との間を伝送するシリアル信号を示す。また、図15(b)・(c)の(III)に示される信号は、デシリアライザー16から出力されるパラレル信号を示す。
クロック信号がデータ信号よりも低速である場合、図15(b)の(II)に示されるように、シリアライザー15と光送信処理部2との間を伝送するシリアル信号は、画像データ信号にクロック信号が挿入された信号、すなわち、1データビット毎に“0”の値及び“1”の値のそれぞれが挿入される。そして、挿入される“0”の値及び“1”の値は、所定のデータビット毎(図15においては2データビット毎)に交互に変わる。
一方、クロック信号が高速である(データ信号と同速である)場合、図15(c)の(II)に示されるように、シリアライザー15と光送信処理部2との間を伝送するシリアル信号は、1データビット毎に、“0”の値または“1”の値が交互に変わって、挿入された信号になる。
このようなシリアル信号が、光伝送路4を伝送することで、信号のビット連続が防止される。
また、図15(a)〜(c)に示される構成は、光伝送路4を介して伝送された、画像データ信号及びクロック信号の光信号を、デシリアライザー16にてパラレル信号に変換し、LCDドライバ39に入力する構成になっている。すなわち、クロック信号を伝送する電気伝送路5を必要としない構成になっている。それゆえ、図15(a)〜(c)に示される構成は、図14に示された光伝送システム100と比較して、クロック伝送分の電気配線を削減できるという効果を奏する。
また、クロック信号が高速である(データ信号と同速である)場合、シリアル信号は、1データビット毎に、“0”の値または“1”の値が、1データビット毎に交互に変わる。このため、クロック信号がデータ信号よりも低速である場合と比較して、ビット連続長が長くならず、確実にビット連続を防止することができる。さらには、光伝送モジュール1の信号伝送レート特性(低域カットオフ特性)が厳しく設定されていても、図15(c)の構成は対応可能になる。
なお、図15(a)〜(c)の構成では、光伝送システム100を伝送する信号を差動信号としている。しかし、光伝送システム100を伝送する信号は、この種の信号に限定されず、シングルエンド信号であっても、同様の効果を奏する。
また、クロック信号がデータ信号よりも低速である場合、シリアライザー15の入力端子部分に、別途、クロック信号の反転信号が入力される入力端子が割り当てられていてもよい。これにより、光伝送路4を伝送するシリアル信号のビット連続長を確実に低減することができる。また、クロック信号がデータ信号よりも低速である場合、光伝送システム100において、クロック信号は、例えば30MHz程度であればよい。
さらに、シリアライザー15、及びデシアライザー16は、位相同期回路(PLL)を備えた構成であってもよい。
(応用例)
なお、本実施形態の光伝送システム100は、例えば以下のような応用例に適用することが可能である。上述した実施形態では、応用例として携帯電話機40に適用した例を用いて説明したが、これに限定されるものではなく、折り畳み式PHS(Personal Handyphone System)、折り畳み式PDA(Personal Digital Assistant)、折り畳み式ノートパソコン等の折り畳み式の電子機器のヒンジ部等にも適用することができる。
光伝送システム100を、これらの折り畳み式電子機器に適用することにより、限られた空間で高速、大容量の通信を実現できる。したがって、例えば、折り畳み式液晶表示装置などの、高速、大容量のデータ通信が必要であって、小型化が求められる機器に特に好適である。
さらなる応用例として、光伝送システム100は、印刷装置(電子機器)におけるプリンタヘッドやハードディスク記録再生装置における読み取り部など、駆動部を有する装置にも適用できる。
図16(a)〜図16(c)は、光伝送システム100を印刷装置50に適用した例を示している。図16(a)は、印刷装置50の外観を示す斜視図である。この図に示すように、印刷装置50は、用紙54の幅方向に移動しながら用紙54に対して印刷を行うプリンタヘッド51を備えており、このプリンタヘッド51に光伝送モジュール1の一端が接続されている。
図16(b)は、印刷装置50における、光伝送システム100が適用されている部分のブロック図である。この図に示すように、光伝送システム100の一端部はプリンタヘッド51に接続されており、他端部は印刷装置50における本体側基板に接続されている。なお、この本体側基板には、印刷装置50の各部の動作を制御する制御手段などが備えられる。
図16(c)及び図16(d)は、印刷装置50においてプリンタヘッド51が移動(駆動)した場合の、光伝送路4の湾曲状態を示す斜視図である。この図に示すように、光伝送路4をプリンタヘッド51のような駆動部に適用する場合、プリンタヘッド51の駆動によって光伝送路4の湾曲状態が変化するとともに、光伝送路4の各位置が繰り返し湾曲される。
したがって、本実施形態にかかる光伝送システム100は、これらの駆動部に好適である。また、光伝送システム100をこれらの駆動部に適用することにより、駆動部を用いた高速、大容量通信を実現できる。
図17は、光伝送システム100をハードディスク記録再生装置60に適用した例を示している。
この図に示すように、ハードディスク記録再生装置60は、ディスク(ハードディスク)61、ヘッド(読み取り、書き込み用ヘッド)62、基板導入部63、駆動部(駆動モータ)64、光伝送モジュール1を備えている。
駆動部64は、ヘッド62をディスク61の半径方向に沿って駆動させるものである。ヘッド62は、ディスク61上に記録された情報を読み取り、また、ディスク61上に情報を書き込むものである。なお、ヘッド62は、光伝送モジュール1を介して基板導入部63に接続されており、ディスク61から読み取った情報を光信号として基板導入部63に伝搬させ、また、基板導入部63から伝搬された、ディスク61に書き込む情報の光信号を受け取る。
このように、光伝送モジュール1をハードディスク記録再生装置60におけるヘッド62のような駆動部に適用することにより、高速、大容量通信を実現できる。
本実施形態の光伝送システム100は、上記の応用例に加え、ビデオカメラ、ノートパソコン等の情報端末や基板間の信号伝送にも利用可能である。
本発明は上述した実施形態に限定されるものではなく、請求項に示した範囲で種々の変更が可能であり、実施形態にそれぞれ開示された技術的手段を適宜組み合わせて得られる実施形態についても本発明の技術的範囲に含まれる。
本発明は、各種機器間の光通信路にも適用可能であるとともに、小型、薄型の民生機器内に搭載される機器内配線としてのフレキシブルな光配線にも適用可能である。
本実施形態の折り畳み携帯電話機内に設けられた光伝送システムの概略構成を示すブロック図である。 (a)は本実施形態の光伝送モジュール1を内蔵した折り畳み式携帯電話機40の外観を示す斜視図である。(b)は、(a)におけるヒンジ部(破線で囲んだ部分)の透視平面図である。 本実施の形態に係る携帯電話機における、光伝送モジュールの概略構成を示すブロック図である。 (a)は、光伝送路の側面図であり、(b)は、光伝送路における光伝送の状態を模式的に示した斜視図である。 光伝送モジュールの光伝送路を伝送するシリアル信号の信号パターンを示す概念図であり、(a)は、従来の光伝送システムにおけるシリアル信号パターンを示し、(b)は、本実施形態の光伝送システム100におけるシリアル信号パターンを示す。 光伝送モジュールにおける、信号伝送レートとエラーレートとの関係を示したグラフである。 連続ビットの連続数が、15(制限数)よりも小さい場合、伝送規格のエラーレート仕様を満たすか否かを検証した結果を示す図である。 光伝送モジュールにおける利得の周波数特性を示し、周波数と利得との関係を示したグラフである。 (a)は、第1のビット連続防止用入力端子、及び第2のビット連続防止用入力端子の両方が割り当てられた構成を示すブロック図であり、(b)は、第1のビット連続防止用入力端子、及び第2のビット連続防止用入力端子の両方が割り当てられた場合におけるシリアル信号パターンとを示す概念図である。 第1のビット連続防止用入力端子、及び第2のビット連続防止用入力端子の具体例を示したブロック図である。 (a)は、変形例1として光伝送システムにおける、CPUとシリアライザーとの間の入力信号線の配置を模式的に示したブロック図であり、(b)は、変形例1としての光伝送システムにおけるシリアル信号パターンを示す概念図である。 シリアライザーの入力ポートの一例を示した模式図である。 変形例2の光伝送システムに備えられたシリアライザーの構成を示すブロック図である。 変形例2の光伝送システムの構成を示したブロック図である。 (a)は、変形例2の光伝送システムの他の構成を示したブロック図であり、(b)は、(a)に示す光伝送システムを伝送するクロック信号がデータ信号よりも低速である場合の信号波形図であり、(c)は、(a)に示す光伝送システム100を伝送するクロック信号が高速である(データ信号と同速である)場合の信号波形図である。 (a)は、本実施形態の光伝送システムを備えた印刷装置の外観を示す斜視図であり、(b)は、(a)に示した印刷装置の主要部を示すブロック図であり、(c)および(d)は、印刷装置においてプリンタヘッドが移動(駆動)した場合の、光伝送路の湾曲状態を示す斜視図である。 本実施形態の光伝送システムを備えたハードディスク記録再生装置の外観を示す斜視図である。 光伝送モジュールを内蔵した折り畳み式携帯電話機における、光伝送モジュールが適用されている部分のブロック図である。
符号の説明
1 光伝送モジュール
2 光送信処理部
21 I/F回路
22 発光駆動部(光変換器)
23 発光部
29 CPU(信号発生部)
3 光受信処理部
31 受光部
32 検出回路
33 増幅部
34 I/F回路
4 光伝送路
5 電気伝送路(電気信号線)
15 シリアライザー(光伝送用並列直列変換器。)
15a ビット連続防止用入力端子
15b データ入力端子
16 デシリアライザー
100 光伝送システム

Claims (17)

  1. 複数の2値信号がそれぞれ並列に入力される複数の入力端子を備え、入力された複数の2値信号を、直列の2値信号に変換し、光伝送モジュールへ伝送する光伝送用並列直列変換器であって、
    上記複数の入力端子には、
    上記直列の2値信号について、同一の値が所定のビット数連続しないように、“1”信号または“0”信号を挿入するためのビット連続防止用入力端子が割り当てられていることを特徴とする光伝送用並列直列変換器。
  2. 上記光伝送モジュールの信号伝送レートの最小値をfminとし、上記直列の2値信号の信号伝送レートをRとしたとき、
    上記所定のビット数nは、下記式(1)
    n<R/fmin …(1)
    を満たすものであることを特徴とする請求項1に記載の光伝送用並列直列変換器。
  3. 上記ビット連続防止用入力端子として、
    “0”の値が所定のビット数連続しないように“1”信号を挿入するための第1のビット連続防止用入力端子、または、
    “1”の値が所定のビット数連続しないように“0”信号を挿入するための第2のビット連続防止用入力端子が割り当てられていることを特徴とする請求項1に記載の光伝送用並列直列変換器。
  4. 上記第1のビット連続防止用入力端子、及び上記第2のビット連続防止用入力端子の両方が割り当てられていることを特徴とする請求項3に記載の光伝送用並列直列変換器。
  5. 上記複数の入力端子において、上記第1のビット連続防止用入力端子、及び上記第2のビット連続防止用入力端子は、互いに等間隔であり、かつ交互になるように割り当てられていることを特徴とする請求項4に記載の光伝送用並列直列変換器。
  6. 上記第1のビット連続防止用入力端子、及び上記第2のビット連続防止用入力端子が隣接していることを特徴とする請求項4に記載の光伝送用並列直列変換器。
  7. 上記第1のビット連続防止用入力端子には、電源電圧が入力されており、
    上記第2のビット連続防止用入力端子には、接地電圧が入力されていることを特徴とする請求項3に記載の光伝送用並列直列変換器。
  8. 電源用端子及び接地用端子をさらに備えており、
    上記第1のビット連続防止用入力端子は、上記電源用端子に近接して配置されて接続されており、
    上記第2のビット連続防止用入力端子は、上記接地用端子に近接して配置されて接続されていることを特徴とする請求項7に記載の光伝送用並列直列変換器。
  9. 大部分の期間“0”の値となる上記2値信号が入力される端子を、上記第2のビット連続防止用入力端子として割り当て、
    大部分の期間“1”の値となる上記2値信号が入力される端子を、上記第1のビット連続防止用入力端子として割り当てることを特徴とする請求項3に記載の光伝送用並列直列変換器。
  10. 上記複数の入力端子には、データ信号が入力されるデータ信号入力端子が割り当てられており、
    上記ビット連続防止用入力端子には、クロック信号が入力されていることを特徴とする請求項1に記載の光伝送用並列直列変換器。
  11. 上記クロック信号が、上記データ信号よりも低速であることを特徴とする請求項10に記載の光伝送用並列直列変換器。
  12. 上記クロック信号が、上記データ信号よりも高速または同速であることを特徴とする請求項10に記載の光伝送用並列直列変換器。
  13. 上記複数の入力端子には、上記クロック信号の反転信号がさらに入力されていることを特徴とする請求項10に記載の光伝送用並列直列変換器。
  14. 複数の2値信号をそれぞれ並列に出力する信号発生部と、
    上記複数の2値信号を入力し、直列の2値信号に変換する、請求項1に記載の光伝送用並列直列変換器と、
    上記光伝送用並列直列変換器から出力した直列の2値信号を光信号に変換する光変換器を有し、該光変換器により変換された光信号を、光伝送路を介して伝送させる光伝送モジュールとを備えたことを特徴とする光伝送システム。
  15. 上記信号発生部から出力されるデータ信号に対し、該信号発生部から出力されるクロック信号に基づいて制御を行う制御部を備え、
    上記信号発生部は、上記データ信号及びクロック信号を、並列の2値信号として出力し、
    上記クロック信号を上記信号発生部から上記制御部に伝送する電気信号線をさらに備えており、
    上記光伝送用並列直列変換器は、上記電気信号線からの上記クロック信号が上記ビット連続防止用入力端子に入力されていることを特徴とする請求項14に記載の光伝送システム。
  16. 上記信号発生部から出力されるデータ信号に対し、該信号発生部から出力されるクロック信号に基づいて制御を行う制御部を備え、
    上記信号発生部は、上記データ信号及びクロック信号を、並列の2値信号として出力し、
    上記光伝送モジュールは、上記光変換器により、少なくともクロック信号を光信号に変換し、該光信号を、光伝送路を介して伝送させ、上記制御部へ出力することを特徴とする請求項14に記載の光伝送システム。
  17. 請求項14に記載の光伝送システムを備えた電子機器。
JP2008214605A 2008-08-22 2008-08-22 光伝送用並列直列変換器、光伝送システム、及び電子機器 Expired - Fee Related JP4609552B2 (ja)

Priority Applications (6)

Application Number Priority Date Filing Date Title
JP2008214605A JP4609552B2 (ja) 2008-08-22 2008-08-22 光伝送用並列直列変換器、光伝送システム、及び電子機器
US13/055,746 US8467689B2 (en) 2008-08-22 2009-02-25 Parallel-serial converter for optical transmission, optical transmission system, and electronic apparatus
PCT/JP2009/053438 WO2010021164A1 (ja) 2008-08-22 2009-02-25 光伝送用並列直列変換器、光伝送システム、及び電子機器
EP09808100.3A EP2317655B1 (en) 2008-08-22 2009-02-25 Parallel-serial converter for optical transmission, optical transmission system, and electronic apparatus
CN200980128884.6A CN102106089B (zh) 2008-08-22 2009-02-25 用于光传输的并行串行变换器、光传输系统以及电子设备
KR1020107026393A KR101194451B1 (ko) 2008-08-22 2009-02-25 광전송용 병렬직렬 변환기, 광전송 시스템, 및 전자 기기

Applications Claiming Priority (1)

Application Number Priority Date Filing Date Title
JP2008214605A JP4609552B2 (ja) 2008-08-22 2008-08-22 光伝送用並列直列変換器、光伝送システム、及び電子機器

Publications (2)

Publication Number Publication Date
JP2010050847A true JP2010050847A (ja) 2010-03-04
JP4609552B2 JP4609552B2 (ja) 2011-01-12

Family

ID=41707047

Family Applications (1)

Application Number Title Priority Date Filing Date
JP2008214605A Expired - Fee Related JP4609552B2 (ja) 2008-08-22 2008-08-22 光伝送用並列直列変換器、光伝送システム、及び電子機器

Country Status (6)

Country Link
US (1) US8467689B2 (ja)
EP (1) EP2317655B1 (ja)
JP (1) JP4609552B2 (ja)
KR (1) KR101194451B1 (ja)
CN (1) CN102106089B (ja)
WO (1) WO2010021164A1 (ja)

Cited By (7)

* Cited by examiner, † Cited by third party
Publication number Priority date Publication date Assignee Title
JP2014522204A (ja) * 2011-08-16 2014-08-28 シリコン・ライン・ゲー・エム・ベー・ハー 回路装置および信号を送信するための方法
JP2014524698A (ja) * 2011-08-16 2014-09-22 シリコン・ライン・ゲー・エム・ベー・ハー 回路装置および信号を送信するための方法
JP2014524697A (ja) * 2011-08-16 2014-09-22 シリコン・ライン・ゲー・エム・ベー・ハー 回路装置および信号を送信するための方法
JP2014524699A (ja) * 2011-08-16 2014-09-22 シリコン・ライン・ゲー・エム・ベー・ハー 回路装置および信号を送信するための方法
JP2014524700A (ja) * 2011-08-16 2014-09-22 シリコン・ライン・ゲー・エム・ベー・ハー 送信装置および信号を送信するための方法
JP2014526211A (ja) * 2011-08-16 2014-10-02 シリコン・ライン・ゲー・エム・ベー・ハー 回路装置および信号を送信するための方法
JP2014529932A (ja) * 2011-08-16 2014-11-13 シリコン・ライン・ゲー・エム・ベー・ハー 回路装置および信号を送信するための方法

Families Citing this family (6)

* Cited by examiner, † Cited by third party
Publication number Priority date Publication date Assignee Title
US8578222B2 (en) * 2011-02-17 2013-11-05 Qualcomm Incorporated SerDes power throttling as a function of detected error rate
JP2013050651A (ja) * 2011-08-31 2013-03-14 Omron Corp 光導波路、光伝送モジュールおよび電子機器
CN103454734A (zh) * 2012-06-05 2013-12-18 鸿富锦精密工业(深圳)有限公司 光传输模组及其传输组件
CN102707226A (zh) * 2012-07-06 2012-10-03 电子科技大学 一种红外焦平面读出电路的行控制电路的检测电路
WO2014065544A1 (ko) 2012-10-22 2014-05-01 Lee Moon Key 차분 카메라를 이용한 영상처리 장치
RU2568341C1 (ru) * 2014-06-05 2015-11-20 Акционерное общество "Концерн радиостроения "Вега" Способ образования канала для передачи оптического сигнала между компонентами электронного модуля

Citations (4)

* Cited by examiner, † Cited by third party
Publication number Priority date Publication date Assignee Title
JP2001268039A (ja) * 2000-03-22 2001-09-28 Mitsubishi Electric Corp Sdh伝送システム
JP2005064888A (ja) * 2003-08-13 2005-03-10 Fuji Xerox Co Ltd 誤り訂正符号付き信号伝送システム
JP2005311523A (ja) * 2004-04-19 2005-11-04 Fuji Electric Systems Co Ltd 光通信制御装置
JP2006114987A (ja) * 2004-10-12 2006-04-27 Seiko Epson Corp トランシーバ、データ転送制御装置及び電子機器

Family Cites Families (7)

* Cited by examiner, † Cited by third party
Publication number Priority date Publication date Assignee Title
JPH09307457A (ja) * 1996-05-14 1997-11-28 Sony Corp パラレルシリアル変換回路
US6081360A (en) 1997-08-20 2000-06-27 Fujitsu Limited Method and apparatus for optimizing dispersion in an optical fiber transmission line in accordance with an optical signal power level
JP3497435B2 (ja) * 2000-02-18 2004-02-16 日本電信電話株式会社 データ伝送誤り監視システム、データ送信装置、データ受信装置およびデータ伝送誤り監視方法
US7170870B2 (en) * 2002-05-07 2007-01-30 Microsoft Corporation Data packet transmission for channel-sharing collocated wireless devices
JP4192802B2 (ja) * 2003-08-07 2008-12-10 セイコーエプソン株式会社 デジタル映像通信装置
EP1545011B1 (en) * 2003-12-17 2008-07-09 Alcatel Lucent Optimized interleaving of digital signals
ES2545905T3 (es) * 2004-04-16 2015-09-16 Thine Electronics, Inc. Circuito de transmisión, circuito de recepción, método y sistema de transmisión de datos

Patent Citations (4)

* Cited by examiner, † Cited by third party
Publication number Priority date Publication date Assignee Title
JP2001268039A (ja) * 2000-03-22 2001-09-28 Mitsubishi Electric Corp Sdh伝送システム
JP2005064888A (ja) * 2003-08-13 2005-03-10 Fuji Xerox Co Ltd 誤り訂正符号付き信号伝送システム
JP2005311523A (ja) * 2004-04-19 2005-11-04 Fuji Electric Systems Co Ltd 光通信制御装置
JP2006114987A (ja) * 2004-10-12 2006-04-27 Seiko Epson Corp トランシーバ、データ転送制御装置及び電子機器

Cited By (7)

* Cited by examiner, † Cited by third party
Publication number Priority date Publication date Assignee Title
JP2014522204A (ja) * 2011-08-16 2014-08-28 シリコン・ライン・ゲー・エム・ベー・ハー 回路装置および信号を送信するための方法
JP2014524698A (ja) * 2011-08-16 2014-09-22 シリコン・ライン・ゲー・エム・ベー・ハー 回路装置および信号を送信するための方法
JP2014524697A (ja) * 2011-08-16 2014-09-22 シリコン・ライン・ゲー・エム・ベー・ハー 回路装置および信号を送信するための方法
JP2014524699A (ja) * 2011-08-16 2014-09-22 シリコン・ライン・ゲー・エム・ベー・ハー 回路装置および信号を送信するための方法
JP2014524700A (ja) * 2011-08-16 2014-09-22 シリコン・ライン・ゲー・エム・ベー・ハー 送信装置および信号を送信するための方法
JP2014526211A (ja) * 2011-08-16 2014-10-02 シリコン・ライン・ゲー・エム・ベー・ハー 回路装置および信号を送信するための方法
JP2014529932A (ja) * 2011-08-16 2014-11-13 シリコン・ライン・ゲー・エム・ベー・ハー 回路装置および信号を送信するための方法

Also Published As

Publication number Publication date
CN102106089B (zh) 2013-03-20
KR20110009176A (ko) 2011-01-27
EP2317655A1 (en) 2011-05-04
EP2317655B1 (en) 2014-05-07
CN102106089A (zh) 2011-06-22
US8467689B2 (en) 2013-06-18
EP2317655A4 (en) 2012-06-20
JP4609552B2 (ja) 2011-01-12
US20110123201A1 (en) 2011-05-26
KR101194451B1 (ko) 2012-10-25
WO2010021164A1 (ja) 2010-02-25

Similar Documents

Publication Publication Date Title
JP4609552B2 (ja) 光伝送用並列直列変換器、光伝送システム、及び電子機器
JP4968330B2 (ja) 光伝送モジュールおよび電子機器
JP5136374B2 (ja) 光伝送システム及びそれを備えた電子機器
CN101675612B (zh) 光传输模块
CN102193154B (zh) 光传输模块、电子设备
KR20120091320A (ko) 반도체 장치 및 메모리 시스템
EP2056143B1 (en) Optical transmission module and electronic device
US10761282B2 (en) Optical-electrical hybrid module
CN102855850A (zh) 电子装置和液晶显示模组
CN209590345U (zh) 光学收发组件及光纤缆线模块
KR102586479B1 (ko) 디스플레이를 위한 데이터 구동 장치
JP5135804B2 (ja) フィルム光導波路、フィルム光導波路モジュール、および電子機器
JP2007212899A (ja) 光伝送路、光伝送モジュール、および電子機器
KR20090121334A (ko) 광전송 시스템 및 전자 기기
HK40092350A (zh) 信号调制方法、芯片、系统、设备及存储介质
CN117746771A (zh) 显示面板、其控制方法及显示装置
JP2003069654A (ja) データ伝送方法
JP2013109108A (ja) 表示装置モジュールおよび電子機器

Legal Events

Date Code Title Description
A02 Decision of refusal

Free format text: JAPANESE INTERMEDIATE CODE: A02

Effective date: 20100511

A521 Written amendment

Free format text: JAPANESE INTERMEDIATE CODE: A523

Effective date: 20100722

A911 Transfer to examiner for re-examination before appeal (zenchi)

Free format text: JAPANESE INTERMEDIATE CODE: A911

Effective date: 20100818

TRDD Decision of grant or rejection written
A01 Written decision to grant a patent or to grant a registration (utility model)

Free format text: JAPANESE INTERMEDIATE CODE: A01

Effective date: 20100914

A01 Written decision to grant a patent or to grant a registration (utility model)

Free format text: JAPANESE INTERMEDIATE CODE: A01

A61 First payment of annual fees (during grant procedure)

Free format text: JAPANESE INTERMEDIATE CODE: A61

Effective date: 20100927

FPAY Renewal fee payment (event date is renewal date of database)

Free format text: PAYMENT UNTIL: 20131022

Year of fee payment: 3

R150 Certificate of patent or registration of utility model

Free format text: JAPANESE INTERMEDIATE CODE: R150

LAPS Cancellation because of no payment of annual fees
RD02 Notification of acceptance of power of attorney

Free format text: JAPANESE INTERMEDIATE CODE: R3D02

RD04 Notification of resignation of power of attorney

Free format text: JAPANESE INTERMEDIATE CODE: R3D04