JP2010046646A - 媒体攪拌型粉体処理装置 - Google Patents
媒体攪拌型粉体処理装置 Download PDFInfo
- Publication number
- JP2010046646A JP2010046646A JP2008215717A JP2008215717A JP2010046646A JP 2010046646 A JP2010046646 A JP 2010046646A JP 2008215717 A JP2008215717 A JP 2008215717A JP 2008215717 A JP2008215717 A JP 2008215717A JP 2010046646 A JP2010046646 A JP 2010046646A
- Authority
- JP
- Japan
- Prior art keywords
- container
- medium
- stirring
- gas
- classification
- Prior art date
- Legal status (The legal status is an assumption and is not a legal conclusion. Google has not performed a legal analysis and makes no representation as to the accuracy of the status listed.)
- Granted
Links
Images
Classifications
-
- B—PERFORMING OPERATIONS; TRANSPORTING
- B02—CRUSHING, PULVERISING, OR DISINTEGRATING; PREPARATORY TREATMENT OF GRAIN FOR MILLING
- B02C—CRUSHING, PULVERISING, OR DISINTEGRATING IN GENERAL; MILLING GRAIN
- B02C17/00—Disintegrating by tumbling mills, i.e. mills having a container charged with the material to be disintegrated with or without special disintegrating members such as pebbles or balls
- B02C17/16—Mills in which a fixed container houses stirring means tumbling the charge
-
- B—PERFORMING OPERATIONS; TRANSPORTING
- B02—CRUSHING, PULVERISING, OR DISINTEGRATING; PREPARATORY TREATMENT OF GRAIN FOR MILLING
- B02C—CRUSHING, PULVERISING, OR DISINTEGRATING IN GENERAL; MILLING GRAIN
- B02C13/00—Disintegrating by mills having rotary beater elements ; Hammer mills
- B02C13/10—Disintegrating by mills having rotary beater elements ; Hammer mills with horizontal rotor shaft and axial flow
- B02C13/12—Disintegrating by mills having rotary beater elements ; Hammer mills with horizontal rotor shaft and axial flow with vortex chamber
-
- B—PERFORMING OPERATIONS; TRANSPORTING
- B02—CRUSHING, PULVERISING, OR DISINTEGRATING; PREPARATORY TREATMENT OF GRAIN FOR MILLING
- B02C—CRUSHING, PULVERISING, OR DISINTEGRATING IN GENERAL; MILLING GRAIN
- B02C13/00—Disintegrating by mills having rotary beater elements ; Hammer mills
- B02C13/14—Disintegrating by mills having rotary beater elements ; Hammer mills with vertical rotor shaft, e.g. combined with sifting devices
- B02C13/18—Disintegrating by mills having rotary beater elements ; Hammer mills with vertical rotor shaft, e.g. combined with sifting devices with beaters rigidly connected to the rotor
-
- B—PERFORMING OPERATIONS; TRANSPORTING
- B02—CRUSHING, PULVERISING, OR DISINTEGRATING; PREPARATORY TREATMENT OF GRAIN FOR MILLING
- B02C—CRUSHING, PULVERISING, OR DISINTEGRATING IN GENERAL; MILLING GRAIN
- B02C13/00—Disintegrating by mills having rotary beater elements ; Hammer mills
- B02C13/26—Details
- B02C13/28—Shape or construction of beater elements
-
- B—PERFORMING OPERATIONS; TRANSPORTING
- B02—CRUSHING, PULVERISING, OR DISINTEGRATING; PREPARATORY TREATMENT OF GRAIN FOR MILLING
- B02C—CRUSHING, PULVERISING, OR DISINTEGRATING IN GENERAL; MILLING GRAIN
- B02C17/00—Disintegrating by tumbling mills, i.e. mills having a container charged with the material to be disintegrated with or without special disintegrating members such as pebbles or balls
- B02C17/16—Mills in which a fixed container houses stirring means tumbling the charge
- B02C17/161—Arrangements for separating milling media and ground material
-
- B—PERFORMING OPERATIONS; TRANSPORTING
- B02—CRUSHING, PULVERISING, OR DISINTEGRATING; PREPARATORY TREATMENT OF GRAIN FOR MILLING
- B02C—CRUSHING, PULVERISING, OR DISINTEGRATING IN GENERAL; MILLING GRAIN
- B02C17/00—Disintegrating by tumbling mills, i.e. mills having a container charged with the material to be disintegrated with or without special disintegrating members such as pebbles or balls
- B02C17/18—Details
- B02C17/183—Feeding or discharging devices
- B02C17/186—Adding fluid, other than for crushing by fluid energy
-
- B—PERFORMING OPERATIONS; TRANSPORTING
- B02—CRUSHING, PULVERISING, OR DISINTEGRATING; PREPARATORY TREATMENT OF GRAIN FOR MILLING
- B02C—CRUSHING, PULVERISING, OR DISINTEGRATING IN GENERAL; MILLING GRAIN
- B02C17/00—Disintegrating by tumbling mills, i.e. mills having a container charged with the material to be disintegrated with or without special disintegrating members such as pebbles or balls
- B02C17/18—Details
- B02C17/24—Driving mechanisms
Landscapes
- Engineering & Computer Science (AREA)
- Food Science & Technology (AREA)
- Crushing And Grinding (AREA)
Abstract
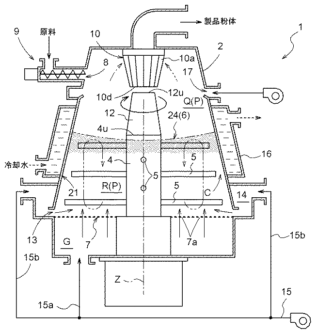
【解決手段】撹拌軸4から一段又は複数段に亘って径方向外向きに突出する、縦軸周りに回転自在に設けられた攪拌部材5を備え、攪拌部材5により容器2内で被処理原料を媒体6とともに攪拌して処理する媒体攪拌型粉体処理装置1であって、容器2の内壁が、上部ほど中心側に変位する傾斜面21を有するとともに、傾斜面21が、最上段の攪拌部材5の高さ位置又はそれよりも下方から上方に向けて形成されている。
【選択図】図1
Description
なお、「攪拌部材の高さ位置」とは、攪拌部材の上端部の高さに相当する位置をいう。
まず、底板7の位置から上部ほど中心側に変位する傾斜面21が形成された容器(以下、円錐型容器)と、全体が直胴に形成された容器(以下、円筒型容器)とを用いて、分級回転数と回収された微細粉体の粒子径及び処理能力との関係を調べた。円錐型容器の傾斜面21は傾きが11度とされ、円錐型容器及び円筒型容器はいずれも底板7の直径が600mmのものを用いた。また、媒体6として直径5.0mmのスチールボールを用い、重質炭酸カルシウム(比表面積換算径:1.0μm)を粉砕原料として、流動気体、噴出気体、流入気体の総量である処理風量10m3/min、攪拌部材の回転数120rpmの運転条件で連続処理を行った。なお、分級ロータ10の分級回転数は3000rpm及び7000rpmとし、比表面積換算径はBET法により測定して求めるとともに、処理能力は単位時間当たりの処理量として求めた。その結果を表1に示す。
次に、底板7の直径が600mmの円錐型容器を用い、傾斜面21の傾きを鉛直方向に対して0度から35度の間で変化させて、傾斜面21の傾斜角度と粉砕効率との関係を調べた。なお、傾斜面21の傾きが0度のものは、比較例としての円筒型容器に相当する。媒体6として直径3mmのジルコニアボールを用い、タルク(平均粒子径:13μm)を粉砕原料として、処理風量10m3/min、攪拌部材の回転数120rpm、分級回転数7000rpmの運転条件で連続処理を行った。平均粒子径はレーザー回折散乱法により測定して求めるとともに、処理能力は単位時間当たりの処理量として求めた。また、粉砕効率は、処理能力を粉砕処理に要した動力の大きさで除して求めた。その結果を図4及び表2に示す。なお、表2においては、傾斜面21の傾きが0度の場合における粉砕効率に対する各傾斜角度での粉砕効率を粉砕効率比として示している。
次に、底板7の直径が600mmの円錐型容器を用い、攪拌軸4の上端面4uから分級ロータ10の下端面10dまでの空間に介挿部材12を設けたものと、設けないものとについて、分級回転数と回収された微細粉体の平均粒子径及び処理能力との関係を調べた。ここで、介挿部材12を設けない場合の攪拌軸4の上端面4uから分級ロータ10の下端面10dまでの距離Hは約300mmであり、介挿部材12を設ける場合には当該距離は同様とし、分級ロータ10の下端面10dと介挿部材12との隙間を約10mmとした。また、媒体6として直径5.0mmのジルコニアボールを用い、ガラス粉(平均粒子径:33μm)を粉砕原料として、処理風量10m3/min、攪拌部材の回転数130rpmの運転条件で連続処理を行った。なお、分級ロータ10の分級回転数は3000rpm及び7000rpmとし、平均粒子径はレーザー回折散乱法により測定して求めるとともに、処理能力は単位時間当たりの処理量として求めた。その結果を表3に示す。
(1)上記の実施形態においては、傾斜面21が容器2内の底板7の位置から形成されており、全ての攪拌部材5の高さ位置における容器2の内壁が傾斜面21とされる場合を例として説明した。しかし、本発明の実施形態はこれに限定されない。すなわち、傾斜面21は、最上段の攪拌部材5の高さ位置よりも少なくとも下方から上方に向けて形成されるように構成されていれば、複数段のうちの中間部における攪拌部材5の高さ位置から形成されていても良い。例えば、図5に示すように、容器2の形状を、容器2の底面から所定の高さ位置まで、底面に直交する垂直面22とした直胴部を有する構成とすることができる。また、図6に示すように、容器2の内壁が、上部ほど中心側に変位する傾斜面21(これを第一の傾斜面とする)に加えて、上部ほど外側に変位する第二の傾斜面23を底板7から最上段の攪拌部材5より下部のいずれかの高さ位置にまで至る構成としても良い。
これらの場合にあっては、傾斜面21が容器2内の底板7の位置から形成される場合と比較して、容器2を大容量として処理能力を増大させることができるという利点がある。また、傾斜面21が底板7の位置から形成される場合と比較して、媒体6の浮き上がり抑制効果は多少低下するものの、媒体6や粉砕原料の滞留が比較的生じやすい容器2の底部の隅部において、媒体6の循環を促進することができるという利点がある。
また、分級機としては、サイクロンや分級ロータ10を用いないその他の分級機を用いても良い。
また、介挿部材12を攪拌軸4や分級ロータ10に連結させず、容器2から支持部材を用いて支持する構成としても良い。また、上記の実施形態においては、介挿部材12は上部ほど外径が小さくなる形状としているが、攪拌軸4の外径と分級ロータ10の外径に応じて、又は搬送気体の上昇速度をより速めるため、介挿部材12の外径を上部ほど大きくする、又は上下同径となる円筒状にするなど、適宜変更しても良い。
この場合における分級回転数と回収された製品粉体の平均粒子径及び処理能力との関係を表4に示す。なお、実験条件は上記の実験3におけるものと同様である。
攪拌軸4の上端面4uから分級ロータ10の下端面10dまでの距離(H)を変え、回収された製品粉体に混入した45μm以上の粗大粒子の個数と処理能力との関係を調べた。底板7の直径が600mmの円錐型容器を用い、媒体6として直径5.0mmのジルコニアボールを用い、ジルコンサンド(平均粒子径:20μm)を粉砕原料として、処理風量10m3/min、攪拌部材の回転数130rpm、分級回転数3500rpmの運転条件で連続処理を行った。処理能力は単位時間当たりの処理量として求めた。45μm以上の粗大粒子(45μm on品)は、製品粉体200gを45μmで篩い分けした後、篩上に残った粉体をレーザー顕微鏡により観察し、その個数を数えた。その結果を表5に示す。なお、本例においては、分級ロータ10の下端面10d近傍高さ位置までは容器2を傾斜させ、それより上部は直胴とした。
2 容器
4 攪拌軸
5 攪拌部材
6 媒体
7 底板(底面)
10 分級ロータ(分級機)
12 介挿部材
13 気体噴出口
14 環状流路
21 傾斜面
Z 回転軸芯
Claims (4)
- 撹拌軸から一段又は複数段に亘って径方向外向きに突出する、縦軸周りに回転自在に設けられた攪拌部材を備え、
前記攪拌部材により容器内で被処理原料を媒体とともに攪拌して処理する媒体攪拌型粉体処理装置であって、
前記容器の内壁が、上部ほど中心側に変位する傾斜面を有するとともに、
前記傾斜面が、最上段の前記攪拌部材の高さ位置又はそれよりも下方から上方に向けて形成されている媒体攪拌型粉体処理装置。 - 前記攪拌部材は、前記撹拌軸に対して複数段に亘って設けられ、
前記攪拌軸の軸芯からの、最上段における前記攪拌部材の先端部までの長さが、その一段下の段における前記攪拌部材の先端部までの長さよりも短く設定されている請求項1に記載の媒体攪拌型粉体処理装置。 - 前記容器の側面に周方向に沿って設けられ、径方向内向きに気体を噴出する気体噴出口を備えた請求項1又は2に記載の媒体攪拌型粉体処理装置。
- 前記容器内の上部に分級機を備え、
前記攪拌軸の上端面と前記分級機の下端面との間に介挿部材を備えた請求項1から3のいずれか一項に記載の媒体攪拌型粉体処理装置。
Priority Applications (6)
| Application Number | Priority Date | Filing Date | Title |
|---|---|---|---|
| JP2008215717A JP5451006B2 (ja) | 2008-08-25 | 2008-08-25 | 媒体攪拌型粉体処理装置 |
| PCT/JP2009/061930 WO2010024038A1 (ja) | 2008-08-25 | 2009-06-30 | 媒体攪拌型粉体処理装置 |
| EP20090809693 EP2351616A4 (de) | 2008-08-25 | 2009-06-30 | Medienschüttelvorrichtung zur verarbeitung von pulver |
| CN2009801324081A CN102131586A (zh) | 2008-08-25 | 2009-06-30 | 介质搅拌型粉体处理装置 |
| KR1020137023295A KR101431045B1 (ko) | 2008-08-25 | 2009-06-30 | 매체 교반형 분체 처리 장치 |
| KR1020117005546A KR20110065460A (ko) | 2008-08-25 | 2009-06-30 | 매체 교반형 분체 처리 장치 |
Applications Claiming Priority (1)
| Application Number | Priority Date | Filing Date | Title |
|---|---|---|---|
| JP2008215717A JP5451006B2 (ja) | 2008-08-25 | 2008-08-25 | 媒体攪拌型粉体処理装置 |
Publications (2)
| Publication Number | Publication Date |
|---|---|
| JP2010046646A true JP2010046646A (ja) | 2010-03-04 |
| JP5451006B2 JP5451006B2 (ja) | 2014-03-26 |
Family
ID=41721212
Family Applications (1)
| Application Number | Title | Priority Date | Filing Date |
|---|---|---|---|
| JP2008215717A Active JP5451006B2 (ja) | 2008-08-25 | 2008-08-25 | 媒体攪拌型粉体処理装置 |
Country Status (5)
| Country | Link |
|---|---|
| EP (1) | EP2351616A4 (ja) |
| JP (1) | JP5451006B2 (ja) |
| KR (2) | KR101431045B1 (ja) |
| CN (1) | CN102131586A (ja) |
| WO (1) | WO2010024038A1 (ja) |
Cited By (6)
| Publication number | Priority date | Publication date | Assignee | Title |
|---|---|---|---|---|
| WO2014057851A1 (ja) * | 2012-10-10 | 2014-04-17 | ホソカワミクロン株式会社 | 気流乾燥装置 |
| JP2014231036A (ja) * | 2013-05-29 | 2014-12-11 | 日本コークス工業株式会社 | 乾式メディア撹拌型粉砕機 |
| CN108568237A (zh) * | 2018-04-16 | 2018-09-25 | 合肥图腾龙机械设计有限公司 | 一种饲料粉碎混合装置 |
| JP2023030602A (ja) * | 2021-08-23 | 2023-03-08 | 新東工業株式会社 | 処理装置及び処理方法 |
| WO2024135115A1 (ja) * | 2022-12-19 | 2024-06-27 | 株式会社トクヤマ | 攪拌方法、攪拌伝熱装置、及び反応装置 |
| JP2025501030A (ja) * | 2022-01-04 | 2025-01-16 | ロエシェ ゲーエムベーハー | 竪型ローラミル用の分級装置 |
Families Citing this family (11)
| Publication number | Priority date | Publication date | Assignee | Title |
|---|---|---|---|---|
| EP2846917B1 (en) * | 2012-05-10 | 2019-09-18 | Belmonte Investments Limited | Attritor mill and process for using it |
| CN104056694B (zh) * | 2014-06-20 | 2016-08-24 | 重庆环德科技有限公司 | 一种可实现精密分散的砂磨机 |
| PL3819575T3 (pl) * | 2014-11-19 | 2024-05-13 | Minex Crc Ltd | Urządzenie do suszenia |
| CN106732949B (zh) * | 2016-12-27 | 2018-09-18 | 安徽杨柳青钙业科技股份有限公司 | 一种增压动流式干粉搅拌粉碎装置 |
| DE202017003318U1 (de) | 2017-06-23 | 2017-08-01 | Hosokawa Alpine Aktiengesellschaft | Rotor für Rührwerksmühlen |
| CN109225465A (zh) * | 2018-10-11 | 2019-01-18 | 甘肃驰奈生物能源系统有限公司 | 一种餐厨垃圾破碎、筛分、风选一体设备 |
| CN109759184B (zh) * | 2019-02-19 | 2021-09-28 | 徐金涛 | 一种利用废旧成品皮革提取胶原纤维的方法及设备 |
| CN112297269B (zh) * | 2020-10-09 | 2022-05-13 | 青岛汇天隆工程塑料有限公司 | 一种环保轻量化工程塑料制备工艺 |
| CN112691629A (zh) * | 2020-10-16 | 2021-04-23 | 卫红红 | 一种涂料加工用高温催化反应釜 |
| KR102386275B1 (ko) * | 2021-11-19 | 2022-04-14 | 안태철 | 기류식 하부이동식 분급분쇄기 |
| CN115011232B (zh) * | 2022-06-02 | 2023-05-16 | 无锡市英波化工有限公司 | 一种脂肪族聚氨酯高级面漆及其工艺系统 |
Citations (3)
| Publication number | Priority date | Publication date | Assignee | Title |
|---|---|---|---|---|
| JPS63107737U (ja) * | 1986-12-29 | 1988-07-12 | ||
| JPH04193360A (ja) * | 1990-11-27 | 1992-07-13 | Hosokawa Micron Corp | 乾式媒体ミル |
| JP2005270780A (ja) * | 2004-03-24 | 2005-10-06 | Mitsui Mining Co Ltd | 乾式メディア攪拌型粉砕機 |
Family Cites Families (5)
| Publication number | Priority date | Publication date | Assignee | Title |
|---|---|---|---|---|
| DE1188913B (de) * | 1961-01-25 | 1965-03-11 | Draiswerke Ges Mit Beschraenkt | Ruehrwerksmuehle |
| JPS59102452A (ja) | 1982-11-30 | 1984-06-13 | 大久保 敏之 | 竪型ボ−ルミル |
| IT1208868B (it) * | 1987-04-15 | 1989-07-10 | Antonio Pelizza | Mulino verticale a microsfere perfezionato particolarmente per la dispersione di pigmenti in veicolo fluido |
| JP4010833B2 (ja) * | 2002-03-18 | 2007-11-21 | 三井鉱山株式会社 | 乾式メディア撹拌型粉砕機 |
| JP2005199124A (ja) | 2004-01-13 | 2005-07-28 | Mitsui Mining Co Ltd | メディア攪拌型粉砕機 |
-
2008
- 2008-08-25 JP JP2008215717A patent/JP5451006B2/ja active Active
-
2009
- 2009-06-30 KR KR1020137023295A patent/KR101431045B1/ko not_active Expired - Fee Related
- 2009-06-30 CN CN2009801324081A patent/CN102131586A/zh active Pending
- 2009-06-30 EP EP20090809693 patent/EP2351616A4/de not_active Withdrawn
- 2009-06-30 WO PCT/JP2009/061930 patent/WO2010024038A1/ja not_active Ceased
- 2009-06-30 KR KR1020117005546A patent/KR20110065460A/ko not_active Ceased
Patent Citations (3)
| Publication number | Priority date | Publication date | Assignee | Title |
|---|---|---|---|---|
| JPS63107737U (ja) * | 1986-12-29 | 1988-07-12 | ||
| JPH04193360A (ja) * | 1990-11-27 | 1992-07-13 | Hosokawa Micron Corp | 乾式媒体ミル |
| JP2005270780A (ja) * | 2004-03-24 | 2005-10-06 | Mitsui Mining Co Ltd | 乾式メディア攪拌型粉砕機 |
Cited By (9)
| Publication number | Priority date | Publication date | Assignee | Title |
|---|---|---|---|---|
| WO2014057851A1 (ja) * | 2012-10-10 | 2014-04-17 | ホソカワミクロン株式会社 | 気流乾燥装置 |
| JP5898330B2 (ja) * | 2012-10-10 | 2016-04-06 | ホソカワミクロン株式会社 | 気流乾燥装置 |
| EP2908077A4 (en) * | 2012-10-10 | 2016-07-13 | Hosokawa Micron Kk | AIR FLOW DRYING DEVICE |
| JP2014231036A (ja) * | 2013-05-29 | 2014-12-11 | 日本コークス工業株式会社 | 乾式メディア撹拌型粉砕機 |
| CN108568237A (zh) * | 2018-04-16 | 2018-09-25 | 合肥图腾龙机械设计有限公司 | 一种饲料粉碎混合装置 |
| JP2023030602A (ja) * | 2021-08-23 | 2023-03-08 | 新東工業株式会社 | 処理装置及び処理方法 |
| JP7707747B2 (ja) | 2021-08-23 | 2025-07-15 | 新東工業株式会社 | 処理装置及び処理方法 |
| JP2025501030A (ja) * | 2022-01-04 | 2025-01-16 | ロエシェ ゲーエムベーハー | 竪型ローラミル用の分級装置 |
| WO2024135115A1 (ja) * | 2022-12-19 | 2024-06-27 | 株式会社トクヤマ | 攪拌方法、攪拌伝熱装置、及び反応装置 |
Also Published As
| Publication number | Publication date |
|---|---|
| KR20110065460A (ko) | 2011-06-15 |
| EP2351616A4 (de) | 2013-03-06 |
| EP2351616A1 (de) | 2011-08-03 |
| WO2010024038A1 (ja) | 2010-03-04 |
| KR101431045B1 (ko) | 2014-08-21 |
| KR20130111643A (ko) | 2013-10-10 |
| CN102131586A (zh) | 2011-07-20 |
| JP5451006B2 (ja) | 2014-03-26 |
Similar Documents
| Publication | Publication Date | Title |
|---|---|---|
| JP5451006B2 (ja) | 媒体攪拌型粉体処理装置 | |
| CN105536957A (zh) | 一种叶轮及超细粉磨机、超细粉磨系统 | |
| JP2009028707A (ja) | 媒体型粉体処理装置 | |
| JP4811713B2 (ja) | セメントクリンカの粉砕設備 | |
| JP2014100674A (ja) | メディア撹拌式分級機内蔵型粉砕機 | |
| JPH0889832A (ja) | 横型ミルによる粉砕方法 | |
| JP4989059B2 (ja) | 粉砕装置 | |
| JP4010833B2 (ja) | 乾式メディア撹拌型粉砕機 | |
| JP6172577B2 (ja) | 竪型粉砕機 | |
| JP5177610B2 (ja) | セメントクリンカの粉砕設備 | |
| JP6808212B2 (ja) | メディア循環型粉砕機 | |
| JP2005270780A (ja) | 乾式メディア攪拌型粉砕機 | |
| JP4614132B2 (ja) | 分級装置 | |
| JP2003181316A (ja) | 媒体撹拌粉砕装置およびこの装置を有する粉砕処理システム | |
| JP6248718B2 (ja) | 竪型粉砕機 | |
| JP6071758B2 (ja) | メディア攪拌式粉砕機 | |
| JP2008149208A (ja) | メディア撹拌ミル | |
| JP6409172B2 (ja) | メディア撹拌式分級機内蔵型粉砕機 | |
| JP2012179535A (ja) | 湿式媒体撹拌ミル | |
| JPH11276920A (ja) | 竪型ミルによる粒状原料の粉砕・分級方法および装置 | |
| KR100728534B1 (ko) | 밀링시스템 | |
| JP2868099B2 (ja) | 竪型粉砕機 | |
| JP2867009B2 (ja) | 粉体処理装置 | |
| JP2790228B2 (ja) | 遠心流動粉砕装置のバッチ運転方法 | |
| JPH08131859A (ja) | 粉体処理装置及びそのためのスリット部材の製造方法 |
Legal Events
| Date | Code | Title | Description |
|---|---|---|---|
| A621 | Written request for application examination |
Free format text: JAPANESE INTERMEDIATE CODE: A621 Effective date: 20110610 |
|
| A131 | Notification of reasons for refusal |
Free format text: JAPANESE INTERMEDIATE CODE: A131 Effective date: 20130411 |
|
| TRDD | Decision of grant or rejection written | ||
| A01 | Written decision to grant a patent or to grant a registration (utility model) |
Free format text: JAPANESE INTERMEDIATE CODE: A01 Effective date: 20131205 |
|
| A61 | First payment of annual fees (during grant procedure) |
Free format text: JAPANESE INTERMEDIATE CODE: A61 Effective date: 20131226 |
|
| R150 | Certificate of patent or registration of utility model |
Ref document number: 5451006 Country of ref document: JP Free format text: JAPANESE INTERMEDIATE CODE: R150 |
|
| R250 | Receipt of annual fees |
Free format text: JAPANESE INTERMEDIATE CODE: R250 |
|
| R250 | Receipt of annual fees |
Free format text: JAPANESE INTERMEDIATE CODE: R250 |
|
| R250 | Receipt of annual fees |
Free format text: JAPANESE INTERMEDIATE CODE: R250 |
|
| R250 | Receipt of annual fees |
Free format text: JAPANESE INTERMEDIATE CODE: R250 |
|
| R250 | Receipt of annual fees |
Free format text: JAPANESE INTERMEDIATE CODE: R250 |
|
| R250 | Receipt of annual fees |
Free format text: JAPANESE INTERMEDIATE CODE: R250 |
|
| R250 | Receipt of annual fees |
Free format text: JAPANESE INTERMEDIATE CODE: R250 |
|
| R250 | Receipt of annual fees |
Free format text: JAPANESE INTERMEDIATE CODE: R250 |
|
| R250 | Receipt of annual fees |
Free format text: JAPANESE INTERMEDIATE CODE: R250 |
|
| R250 | Receipt of annual fees |
Free format text: JAPANESE INTERMEDIATE CODE: R250 |
