JP2010044959A - 電磁調理器 - Google Patents

電磁調理器 Download PDF

Info

Publication number
JP2010044959A
JP2010044959A JP2008208385A JP2008208385A JP2010044959A JP 2010044959 A JP2010044959 A JP 2010044959A JP 2008208385 A JP2008208385 A JP 2008208385A JP 2008208385 A JP2008208385 A JP 2008208385A JP 2010044959 A JP2010044959 A JP 2010044959A
Authority
JP
Japan
Prior art keywords
coil
chamber
induction heating
upstream
downstream
Prior art date
Legal status (The legal status is an assumption and is not a legal conclusion. Google has not performed a legal analysis and makes no representation as to the accuracy of the status listed.)
Granted
Application number
JP2008208385A
Other languages
English (en)
Other versions
JP5127629B2 (ja
Inventor
Hiroshi Chiba
博 千葉
Shigetoshi Ipposhi
茂俊 一法師
Takashi Sunaga
隆司 須永
Yuji Yokoikawa
裕司 横井川
Ichiro Masuda
一郎 増田
Masayuki Moro
政行 茂呂
Satoshi Enozono
聰 榎園
Takeshi Kawamura
武志 川村
Current Assignee (The listed assignees may be inaccurate. Google has not performed a legal analysis and makes no representation or warranty as to the accuracy of the list.)
Mitsubishi Electric Home Appliance Co Ltd
Mitsubishi Electric Corp
Original Assignee
Mitsubishi Electric Home Appliance Co Ltd
Mitsubishi Electric Corp
Priority date (The priority date is an assumption and is not a legal conclusion. Google has not performed a legal analysis and makes no representation as to the accuracy of the date listed.)
Filing date
Publication date
Application filed by Mitsubishi Electric Home Appliance Co Ltd, Mitsubishi Electric Corp filed Critical Mitsubishi Electric Home Appliance Co Ltd
Priority to JP2008208385A priority Critical patent/JP5127629B2/ja
Publication of JP2010044959A publication Critical patent/JP2010044959A/ja
Application granted granted Critical
Publication of JP5127629B2 publication Critical patent/JP5127629B2/ja
Expired - Fee Related legal-status Critical Current
Anticipated expiration legal-status Critical

Links

Images

Landscapes

  • Induction Heating Cooking Devices (AREA)

Abstract

【課題】本発明は、誘導加熱コイル全体を均一に冷却して、信頼性の高い誘導加熱調理器を実現することを目的とする。
【解決手段】本発明に係る電磁調理器は、誘導加熱部と、前記誘導加熱部に対向する複数の噴流孔を有するコイルチャンバと、前記コイルチャンバ内の静圧を上昇させるための送風ファンとを備え、前記コイルチャンバは、仕切壁により分割された、上流コイル吸気口および下流コイル吸気口をそれぞれ有する上流側および下流側のチャンバ部分を有し、前記仕切壁は、前記誘導加熱部に平行な面における気流方向に対して実質的に横断する方向に延びることを特徴とするものである。
【選択図】図2

Description

本発明は電磁調理器に関し、とりわけ誘導加熱コイルの冷却構造に関するものである。
誘導加熱調理器は、誘導加熱コイルに高周波電流を流して、被加熱体である鍋底に渦電流によるジュール熱を発生させることにより、鍋を直接的に加熱し、調理を行うものである。こうした誘導加熱調理器は、電気エネルギから熱エネルギへのエネルギ変換効率が高いものの、誘導加熱コイル自体も発熱することから、これを許容温度以下に冷却する必要がある。
そこで、たとえば特許文献1においては、単一の吸気口と複数の噴流孔とを有するコイル冷却チャンバを誘導加熱コイルの直下に配置して、吸気口から空気を送り込むことによりコイル冷却チャンバ内の静圧を上昇させ、噴流を誘導加熱コイルに勢いよく衝突させて、誘導加熱コイルを効率的に冷却する誘導加熱調理器が提案されている(図13および図14参照)。
特開2005−38653号公報
しかしながら、単一の吸気口から吸気されて、複数の噴流孔から噴出した空気は、吸気口からの配置位置が遠いほど圧力損失が大きいため、噴出速度は小さくなり、誘導加熱コイルを冷却する効果は小さくなる。
また、複数の噴流孔から噴出して誘導加熱コイル冷却後の温められた空気は、誘導加熱コイルとコイル冷却チャンバとの間の空間を流れて、誘導加熱調理器の排気窓から排出されるが、排気窓に向かう方向(ここでは「気流方向」という。)の下流側にある噴流孔から噴出される空気は、気流上流側からのすでに温められた空気と干渉して、気流下流側にある誘導加熱コイルを効率よく冷却することができない。
すなわち、一般に、単一の吸気口から遠い位置にある噴流孔は気流下流側に配置されることが多く、上述のように噴出速度のばらつきおよび気流上流側から空気との干渉に起因して、誘導加熱コイルを均一に冷却することが困難であり、誘導加熱コイルの部位に依存して温度分布にばらつきが生じる場合がある。
したがって本発明は、誘導加熱コイル全体を均一に冷却して、信頼性の高い誘導加熱調理器を実現することを目的とする。
本発明に係る電磁調理器は、誘導加熱部と、前記誘導加熱部に対向する複数の噴流孔を有するコイルチャンバと、前記コイルチャンバ内の静圧を上昇させるための送風ファンとを備え、前記コイルチャンバは、仕切壁により分割された、上流コイル吸気口および下流コイル吸気口をそれぞれ有する上流側および下流側のチャンバ部分を有し、前記仕切壁は、前記誘導加熱部に平行な面における気流方向に対して実質的に横断する方向に延びることを特徴とするものである。
本発明によれば、誘導加熱コイル全体を均一に冷却して、信頼性の高い誘導加熱調理器を実現することができる。
以下、添付図面を参照して本発明に係る電磁調理器の実施の形態を説明する。各実施の形態の説明において、理解を容易にするために方向を表す用語(たとえば、「X方向」、「Y方向」および「Z方向」など)を適宜用いるが、これは説明のためのものであって、これらの用語は本発明を限定するものでない。
実施の形態1.
図1〜図8を参照しながら、本発明に係る電磁調理器の実施の形態1について以下詳細に説明する。図1は本発明に係る電磁調理器の全体を概略的に図示する斜視図である。図1において、電磁調理器1は、概略、ハウジング(筐体)10、ハウジング10の上側表面のほぼ全体を覆うガラスなどで形成されたトッププレート12、および左右に配置された一対の誘導加熱部22a,22bを有するコイルユニット(図1では図示せず)20を備える。またコイルユニット20は、任意ではあるが誘導加熱方式によらないラジエントヒータを用いたラジエント加熱部23を備えていてもよい。誘導加熱部22a,22bは、被加熱体である鍋底に渦電流を形成することにより鍋自体を発熱させる誘導加熱コイル(図示せず)を有する。
図1に示すように、ハウジング10は、X−Z平面に平行な前面13および後面14、Y−Z平面に平行な(左右に配置された)一対の側面15,16を有し、トッププレート12上の後面14に隣接して設けられた排気窓17および一対の吸気窓18a,18bを有する。
また電磁調理器1は、トッププレート12上の前面13付近において、ユーザが誘導加熱部22およびラジエント加熱部23を操作するために用いられる操作パネル24、およびこれらの制御状態を表示するための液晶ディスプレイなどの表示装置26を備える。
なお、この実施形態に係る電磁調理器1は、魚などを調理するグリル(ラジエントヒータ)を内蔵するグリルユニット30を備え、このグリルユニット30がコイルユニット20(図1では図示せず)の下方であってハウジング10の一対の側面15,16のほぼ中央に配置された、すなわちセンタグリル構造を有する電磁調理器であってもよい。
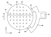
図2は、トッププレート12、誘導加熱部22a,22bおよび操作パネル24を省略し、ラジエント加熱部23を破線で示したときの電磁調理器1の全体を示す平面図である。図3は、図1および図2のIII−III線で切断したときのX−Z断面図を示す。電磁調理器1は、グリルユニット30に加え、筐体として構成されるコイルユニット20を有し、コイルユニット20内には、概略、一対の誘導加熱部(誘導加熱コイル)22a,22bと、これらのそれぞれの直下にコイル冷却チャンバ40a,40bが配設されている。
図4は、コイルユニット20を構成する底板28(図3)をさらに省略したときの電磁調理器1の全体を示す平面図であり、図5は、図1および図4のV−V線で切断したときのY−Z断面図である。電磁調理器1は、図4に示すようにグリルユニット30とハウジング10の側面15,16のそれぞれとの間に左右1つずつ配設された回路チャンバ50a,50bを有する。回路チャンバ50a,50b内には、それぞれの誘導加熱部22a,22bに高周波電流を供給する電源回路52a,52bと、電源回路52a,52bを冷却するための送風ファン56a,56bとが収容されている。各電源回路52a,52bは、基板53a,53bと、IGBTおよびFWDなどの少なくとも1つの電力用半導体素子54からなる。ここで、基板53a,53bは側面15,16と平行に配置され、基板53a,53bがグリルユニット30からの伝熱を遮るように電力用半導体素子54はハウジングの側面15,16に対向するように配置されている。
また、実施の形態1に係る各回路チャンバ50a,50bは、図5に示すように、チャンバ吸気口58a,58b、チャンバ排気口60a,60bおよび液晶冷却孔64a,64bを有し、ハウジングの吸気窓18a,18bとチャンバ吸気口58a,58bの間には送風ファン56a,56bが配設されている。なお、この電磁調理器1は、センタグリル構造を有し、ハウジング10の一対の側面15,16の間の中心面に対して実質的に対称となるように構成されており、対称的に構成された一方の(図2の右側に配置された)構成部品についてのみ以下説明するが、これらの説明は他方についても同様に適用されるものと理解されたい。
本発明に係るコイル冷却チャンバ40は、図2に示すように、誘導加熱部22とほぼ同様の円形の平面形状を有し、誘導加熱部22と対向する主面において複数の噴流孔42を有する。またコイル冷却チャンバ40は、図6(a)に示すように、たとえばX−Z平面に実質的に平行な仕切壁43により分割された互いに独立した上流側および下流側のチャンバ部分44,45を有する。チャンバ部分44,45はそれぞれ、上流コイル吸気口46および下流コイル吸気口47を有し、単一のコイルダクト48(図2)を介してチャンバ排気口60に連通するように構成されている。すなわち、実施の形態1に係るコイルダクト48は、チャンバ排気口60に接続され、分岐して上流コイル吸気口46および下流コイル吸気口47に接続される。
なお、コイルユニット20は、両側に配置された液晶冷却孔64a,64bと連通するT字状の液晶ダクト70を内設したものであってもよい(図2)。液晶ダクト70は、ユーザが上方からトッププレート12を介して視認できるように、液晶ディスプレイなどの表示装置26をその上面に配設し、液晶冷却孔64a,64bから送り込まれた空気は、表示装置26を冷却した後、ハウジング10の排気窓17から排気されるように構成されている。ただし、表示装置26がトッププレート12に隣接して配置されない場合など、液晶ダクト70を省略してもよく、液晶冷却孔64a,64bから排気された空気を直接コイルユニット20内に案内するように構成してもよいし、あるいは液晶ダクト70とともに液晶冷却孔64も省略してもよい。
このように構成された電磁調理器1において、ユーザが操作パネル24を用いて誘導加熱部22a,22bの少なくともいずれか一方を作動させると、電源回路52a,52bがユーザの操作に応じた高周波電流を誘導加熱部22a,22bに供給して鍋を発熱させるとともに、両方の送風ファン56a,56bを作動させて、ハウジング10の吸気窓18a,18bから空気を各回路チャンバ50a,50b内に送風する(図5、矢印W)。各回路チャンバ50a,50b内に送風された空気は、電源回路52a,52bを効率的に冷却し、液晶冷却孔64a(矢印W)およびチャンバ排気口60a(矢印W)を介して、液晶ダクト70およびコイルダクト48に案内される。
コイルダクト48内に案内された空気は、分岐して上流コイル吸気口46および下流コイル吸気口47を介して上流側および下流側のチャンバ部分44,45内に送り込まれ、その結果、各チャンバ部分44,45の内部の静圧が上昇して、図6(b)に示すように、空気が噴流孔42から真上方向(Z方向)に噴出して、誘導加熱部22に衝突してこれを効率よく冷却する。このとき、誘導加熱部22に衝突してこれを冷却した後の空気は、巨視的に見ると、誘導加熱部22とコイル冷却チャンバ40との間の空間(誘導加熱部22に平行な面)において、ハウジング10の排気窓17に向かう方向(本願明細書では、「気流方向F」(図6(a))という。)に流れる。すなわち、上流側のチャンバ部分44の噴流孔42は、下流側のチャンバ部分45の噴流孔42より気流方向Fにおいて上流側に配置されるものである。
従来技術による電磁調理器においては、空気を単一の吸気口から吸気して複数の噴流孔から噴出した場合、上述のように、噴流孔の配置位置が吸気口から遠いほど圧力損失が大きくなり、すなわち噴出速度は小さくなり、下流側における誘導加熱コイルを十分に冷却することはできなかった。これに対し、本発明に係る電磁調理器1によれば、気流方向Fに対して実質的に横断する方向に延びる仕切壁43を用いて、コイル冷却チャンバ40を上流側および下流側のチャンバ部分44,45に分割し、それぞれのチャンバ部分44,45に設けた上流コイル吸気口46および下流コイル吸気口47を介して空気を取り込むように構成されているので、下流側のチャンバ部分45内の静圧を十分に高く維持することができ、その結果、下流側にある誘導加熱部22を上流側にある誘導加熱部22と同等に冷却して、誘導加熱部22全体を均一に冷却することができる。こうして、誘導加熱部22が均一に冷却されないことに起因した不具合等(一部の誘導加熱コイルが過熱して断線する等の故障)を防止することが可能となり、信頼性の高い電磁調理器を実現することができる。
なお、上流側および下流側のチャンバ部分44,45による均一な冷却効果(誘導加熱部22の一様な冷却)は、各チャンバ部分44,45の内部の静圧のバランス(静圧比)を調整することにより容易に実現することができる。すなわち、誘導加熱部22を均一に冷却するためには、下流側のチャンバ部分45の静圧を上流側のチャンバ部分44の静圧より高く設定する必要があり、たとえば図7に示すように、チャンバ排気口60(送風ファン56)から上流コイル吸気口46に至るコイルダクト48の距離を、下流コイル吸気口47に至るコイルダクト48の距離と実質的に等しいか、それより長くなるように構成してもよい。
択一的には、同様に図7に図示のように、上流コイル吸気口46の断面積を下流コイル吸気口47の断面積より小さくすることにより、各チャンバ部分44,45内の静圧比を調整して、誘導加熱部22を均一に冷却するようにしてもよい。さらには、各噴流孔42の断面積が一定であるとき、仕切壁43を中央より下流側に配置して、上流側のチャンバ部分44の噴流孔42の数(すべての噴流孔42の断面積の合計)を下流側のチャンバ部分45の噴流孔42の数より多く設けることにより、各チャンバ部分44,45の内部の静圧のバランスを調整して、誘導加熱部22を均一に冷却するようにしてもよい。
ところで、特にセンタグリル構造を有する電磁調理器においては、ハウジング10の排気窓17がそのほぼ中央に配置される一方、各チャンバ部分44,45の上流コイル吸気口46および下流コイル吸気口47がハウジング10の中央より側面15,16に隣接して配置される場合、上記気流方向F(噴流孔42から噴出した空気がハウジング10の排気窓17に向かう方向)が、図8に示すように、ハウジング10の前面13から後面14に延びる方向(図中のY方向)に対して所定角度だけ傾斜することがある。このとき、各チャンバ部分44,45を分割する仕切壁43は、この気流方向Fに応じて、すなわち気流方向Fに実質的に横断する方向に設定することが好ましい。換言すると、上記説明した各チャンバ部分44,45を分割する仕切壁43は、気流方向Fに対して実質的に横断する方向に延びるように構成されたものであれば、任意の気流方向Fを有する電磁調理器において本発明に固有の異質な効果を享受することができる。
実施の形態2.
図9〜図12を参照しながら、本発明に係る電磁調理器の実施の形態2について以下詳細に説明する。実施の形態2に係る電磁調理器2は、各回路チャンバ50が第1および第2のチャンバ排気口60,62を有し、上流側および下流側のチャンバ部分44,45が個別の第1および第2のコイルダクト48,49を介して第1および第2のチャンバ排気口60,62に連通する点を除き、実施の形態1の電磁調理器1と同様の構成を有するので、重複する内容については説明を省略する。
図9、図10および図12は、図2、図4および図7と同様の電磁調理器2の平面図であり、図11は、図5と同様の電磁調理器2の断面図である。
上述のように、実施の形態2の各回路チャンバ50は、図11に示すように、チャンバ吸気口58および液晶冷却孔64に加え、2つのチャンバ排気口(第1および第2のチャンバ排気口)60,62を有する。
一方、実施の形態2のコイル冷却チャンバ40は、実施の形態1と同様、気流方向Fに対して実質的に横断する方向に延びる仕切壁43により分割された上流側および下流側のチャンバ部分44,45を有し、上流側および下流側のチャンバ部分44,45は、第1および第2のコイルダクト48,49を介してそれぞれ第1および第2のチャンバ排気口60,62に直接的に連通するように構成されている(図12)。
再び図11を参照すると、第2のチャンバ排気口62aは、回路チャンバ50a内において、第1のチャンバ排気口60aより上流側に配置されており、より好適には送風ファン56aに近接して配置されている。すなわち、送風ファン56aを作動させて、ハウジング10の吸気窓18から取り込まれた空気(矢印W)の一部は、電源回路52aを効率的に冷却し、液晶冷却孔64a(矢印W)および第1のチャンバ排気口60a(矢印W)を介して、液晶ダクト70および第1のコイルダクト48aに案内され、他の一部は、電源回路52aを冷却することなく、第2のチャンバ排気口62a(矢印W)を介して第2のコイルダクト49aに案内される。したがって、第2のチャンバ排気口62aから排気される空気は、高温の電源回路52aを冷却する(これにより昇温する)ことがほとんどないので、第1のチャンバ排気口60aから排気される空気より低温のまま維持される。
従来技術による電磁調理器においては、気流上流側にある噴流孔から噴出される空気が、誘導加熱部22により加熱された後に、気流下流側にある噴流孔から噴出される空気と干渉(混合)することにより、気流下流側の噴流が温められ、その冷却効果が減殺されて、誘導加熱部22を一様に冷却できない場合があった。しかしながら、本発明に係る電磁調理器2によれば、下流コイル吸気口47から取り込む空気の温度を上流コイル吸気口46から取り込む空気の温度より低く制御することができるので、下流側にある誘導加熱部22を上流側にある誘導加熱部22と同等に冷却して、誘導加熱部22全体を均一に冷却することができる。こうして、誘導加熱部22が均一に冷却されないことに起因した不具合等(一部の誘導加熱コイルが過熱して断線する等の故障)を防止することが可能となり、信頼性の高い電磁調理器を実現することができる。
本発明の実施の形態1に係る電磁調理器を概略的に示す斜視図である。 図1のトッププレート、誘導加熱部および操作パネルを省略したときの電磁調理器を示す平面図である。 図1および図2のIII−III線で切断したときの電磁調理器のX−Z断面図である。 コイルユニットの底板をさらに省略したときの電磁調理器を示す平面図である。 図1および図4のV−V線で切断したときの電磁調理器のY−Z断面図である。 (a)および(b)は、コイル冷却チャンバの拡大した平面図および側面図であって、噴流孔から噴出した空気がハウジングの排気窓に向かう巨視的方向を示すものである。 図6(a)と同様の平面図であって、コイル冷却チャンバの具体的な構成を示すものである。 図6(a)と同様の平面図であって、コイル冷却チャンバの変形例を示すものである。 実施の形態2に係る電磁調理器の図2と同様の平面図である。 実施の形態2に係る電磁調理器の図4と同様の平面図である。 実施の形態2に係る電磁調理器の図5と同様の断面図である。 実施の形態2に係る電磁調理器の図7と同様の平面図である。
符号の説明
1,2:電磁調理器、10:ハウジング、12:トッププレート、13:ハウジング前面、14:ハウジング後面、15,16:ハウジング側面、17:排気窓、18:吸気窓、20:コイルユニット、22:誘導加熱部、23:ラジエント加熱部、24:操作パネル、26:表示装置、28:底板、30:グリルユニット、40:コイル冷却チャンバ、42:噴流孔、43:仕切壁、44:上流側のチャンバ部分、45:下流側のチャンバ部分、46:上流コイル吸気口、47:下流コイル吸気口、48:(第1の)コイルダクト、49:第2のコイルダクト、50:回路チャンバ、52:電源回路、53:基板、54:電力用半導体素子、56:送風ファン、58:チャンバ吸気口、60:(第1の)チャンバ排気口、62:第2のチャンバ排気口、64:液晶冷却孔、70:液晶ダクト。

Claims (10)

  1. 誘導加熱部と、
    前記誘導加熱部に対向する複数の噴流孔を有するコイルチャンバと、
    前記コイルチャンバ内の静圧を上昇させるための送風ファンとを備え、
    前記コイルチャンバは、仕切壁により分割された、上流コイル吸気口および下流コイル吸気口をそれぞれ有する上流側および下流側のチャンバ部分を有し、
    前記仕切壁は、前記誘導加熱部に平行な面における気流方向に対して実質的に横断する方向に延びることを特徴とする電磁調理器。
  2. 上流側のチャンバ部分の噴流孔は、下流側のチャンバ部分の噴流孔より気流方向において上流側に配置されることを特徴とする請求項1に記載の電磁調理器。
  3. 下流コイル吸気口に流入する空気は、上流コイル吸気口に流入する空気より温度が低いことを特徴とする請求項1または2に記載の電磁調理器。
  4. 前面、後面および一対の側面を含み、トッププレート上の後面に隣接して配置された吸気窓および排気窓を有するハウジングと、
    前記ハウジングの一対の側面の間のほぼ中央に配置されたグリルユニットと、
    前記グリルユニットの上方に配置され、一対の誘導加熱部を有するコイルユニットと、
    前記グリルユニットと前記ハウジングの前記一対の側面のそれぞれとの間に配設された、チャンバ吸気口およびチャンバ排気口を有する一対の回路チャンバと、
    前記各回路チャンバ内の静圧を上昇させるための一対の送風ファンとを備え、
    前記コイルユニットは、一対のコイルチャンバを有し、
    前記各コイルチャンバは、前記誘導加熱部に対向する複数の噴流孔を有し、仕切壁により分割された上流側および下流側のチャンバ部分の上流コイル吸気口および下流コイル吸気口の両方を前記チャンバ排気口に連通するコイルダクトを有し、
    前記仕切壁は、前記誘導加熱部に平行な面における気流方向に対して実質的に横断する方向に延びることを特徴とする電磁調理器。
  5. 前面、後面および一対の側面を含み、トッププレート上の後面に隣接して配置された吸気窓および排気窓を有するハウジングと、
    前記ハウジングの一対の側面の間のほぼ中央に配置されたグリルユニットと、
    前記グリルユニットの上方に配置され、一対の誘導加熱部を有するコイルユニットと、
    前記グリルユニットと前記ハウジングの前記一対の側面のそれぞれとの間に配設された、チャンバ吸気口ならびに第1および第2のチャンバ排気口を有する一対の回路チャンバと、
    前記各回路チャンバ内の静圧を上昇させるための一対の送風ファンとを備え、
    前記コイルユニットは一対のコイルチャンバを有し、
    前記各コイルチャンバは、前記誘導加熱部に対向する複数の噴流孔を有し、仕切壁により分割された上流側および下流側のチャンバ部分の上流コイル吸気口および下流コイル吸気口をそれぞれ前記第1および第2のチャンバ排気口に連通する第1および第2のコイルダクトを有し、
    前記仕切壁は、前記誘導加熱部に平行な面における気流方向に対して実質的に横断する方向に延びることを特徴とする電磁調理器。
  6. 第1のチャンバ排気口が、第2のチャンバ排気口に比してハウジング前面により近接して配置され、第2のチャンバ排気口から下流コイル吸気口に流入する空気は、第1のチャンバ排気口から上流コイル吸気口に流入する空気より温度が低いことを特徴とする請求項5に記載の電磁調理器。
  7. 送風ファンから上流コイル吸気口までの距離が、送風ファンから下流コイル吸気口までの距離と実質的に等しいか、それより長いことを特徴とする請求項1〜6のいずれか1に記載の電磁調理器。
  8. 上流側のチャンバ部分の噴流孔は、下流側のチャンバ部分の噴流孔より数多いことを特徴とする請求項1〜7のいずれか1に記載の電磁調理器。
  9. 上流側のチャンバ部分の上流コイル吸気口の断面積は、上流側のチャンバ部分の下流コイル吸気口の断面積より小さいことを特徴とする請求項1〜8のいずれか1に記載の電磁調理器。
  10. 気流方向は、ハウジングの前面から後面に向かう方向であることを特徴とする請求項5〜9のいずれか1に記載の電磁調理器。
JP2008208385A 2008-08-13 2008-08-13 電磁調理器 Expired - Fee Related JP5127629B2 (ja)

Priority Applications (1)

Application Number Priority Date Filing Date Title
JP2008208385A JP5127629B2 (ja) 2008-08-13 2008-08-13 電磁調理器

Applications Claiming Priority (1)

Application Number Priority Date Filing Date Title
JP2008208385A JP5127629B2 (ja) 2008-08-13 2008-08-13 電磁調理器

Publications (2)

Publication Number Publication Date
JP2010044959A true JP2010044959A (ja) 2010-02-25
JP5127629B2 JP5127629B2 (ja) 2013-01-23

Family

ID=42016193

Family Applications (1)

Application Number Title Priority Date Filing Date
JP2008208385A Expired - Fee Related JP5127629B2 (ja) 2008-08-13 2008-08-13 電磁調理器

Country Status (1)

Country Link
JP (1) JP5127629B2 (ja)

Citations (5)

* Cited by examiner, † Cited by third party
Publication number Priority date Publication date Assignee Title
JP2003077637A (ja) * 2001-09-04 2003-03-14 Matsushita Electric Ind Co Ltd 誘導加熱調理器
JP2005038653A (ja) * 2003-07-17 2005-02-10 Hitachi Hometec Ltd 誘導加熱調理器
JP2008021472A (ja) * 2006-07-12 2008-01-31 Hitachi Appliances Inc 誘導加熱調理器
JP2008053075A (ja) * 2006-08-25 2008-03-06 Hitachi Appliances Inc 誘導加熱調理器
JP2008171720A (ja) * 2007-01-12 2008-07-24 Mitsubishi Electric Corp 加熱調理器

Patent Citations (5)

* Cited by examiner, † Cited by third party
Publication number Priority date Publication date Assignee Title
JP2003077637A (ja) * 2001-09-04 2003-03-14 Matsushita Electric Ind Co Ltd 誘導加熱調理器
JP2005038653A (ja) * 2003-07-17 2005-02-10 Hitachi Hometec Ltd 誘導加熱調理器
JP2008021472A (ja) * 2006-07-12 2008-01-31 Hitachi Appliances Inc 誘導加熱調理器
JP2008053075A (ja) * 2006-08-25 2008-03-06 Hitachi Appliances Inc 誘導加熱調理器
JP2008171720A (ja) * 2007-01-12 2008-07-24 Mitsubishi Electric Corp 加熱調理器

Also Published As

Publication number Publication date
JP5127629B2 (ja) 2013-01-23

Similar Documents

Publication Publication Date Title
JP3750059B2 (ja) ビルトイン電子レンジ
JP2008171720A (ja) 加熱調理器
JP5036731B2 (ja) 誘導加熱調理器
JP4154228B2 (ja) 誘導加熱調理器
JP2008311092A (ja) 誘導加熱調理器
JP2004087305A (ja) 誘導加熱調理器
JP2008051360A (ja) 加熱調理器
JP5127629B2 (ja) 電磁調理器
JP2012087979A (ja) 情報処理機器室の空調システム
JP2006351300A (ja) 誘導加熱調理器
JP3882911B2 (ja) 加熱調理器
JP2007311213A (ja) 誘導加熱調理器
JP5236053B2 (ja) 誘導加熱調理器
JP5127586B2 (ja) 電磁調理器
KR101702667B1 (ko) 조리기기
JP2011108015A (ja) 空調システム
JP5115130B2 (ja) 加熱調理機
JP2004214217A (ja) 誘導加熱調理器
JP2000164332A (ja) 加熱調理装置
JP6113106B2 (ja) 誘導加熱調理器
JP4020956B2 (ja) 誘導加熱調理器
JP2011146179A (ja) 誘導加熱調理器
JP2007218477A (ja) 加熱調理器
JP2012221830A (ja) 誘導加熱調理器
JP2012164606A (ja) 加熱調理器

Legal Events

Date Code Title Description
A621 Written request for application examination

Free format text: JAPANESE INTERMEDIATE CODE: A621

Effective date: 20100927

A977 Report on retrieval

Free format text: JAPANESE INTERMEDIATE CODE: A971007

Effective date: 20120709

A131 Notification of reasons for refusal

Free format text: JAPANESE INTERMEDIATE CODE: A131

Effective date: 20120724

A521 Request for written amendment filed

Free format text: JAPANESE INTERMEDIATE CODE: A523

Effective date: 20120904

TRDD Decision of grant or rejection written
A01 Written decision to grant a patent or to grant a registration (utility model)

Free format text: JAPANESE INTERMEDIATE CODE: A01

Effective date: 20121002

A01 Written decision to grant a patent or to grant a registration (utility model)

Free format text: JAPANESE INTERMEDIATE CODE: A01

A61 First payment of annual fees (during grant procedure)

Free format text: JAPANESE INTERMEDIATE CODE: A61

Effective date: 20121030

R150 Certificate of patent or registration of utility model

Free format text: JAPANESE INTERMEDIATE CODE: R150

Ref document number: 5127629

Country of ref document: JP

Free format text: JAPANESE INTERMEDIATE CODE: R150

FPAY Renewal fee payment (event date is renewal date of database)

Free format text: PAYMENT UNTIL: 20151109

Year of fee payment: 3

R250 Receipt of annual fees

Free format text: JAPANESE INTERMEDIATE CODE: R250

R250 Receipt of annual fees

Free format text: JAPANESE INTERMEDIATE CODE: R250

R250 Receipt of annual fees

Free format text: JAPANESE INTERMEDIATE CODE: R250

R250 Receipt of annual fees

Free format text: JAPANESE INTERMEDIATE CODE: R250

R250 Receipt of annual fees

Free format text: JAPANESE INTERMEDIATE CODE: R250

R250 Receipt of annual fees

Free format text: JAPANESE INTERMEDIATE CODE: R250

R250 Receipt of annual fees

Free format text: JAPANESE INTERMEDIATE CODE: R250

R250 Receipt of annual fees

Free format text: JAPANESE INTERMEDIATE CODE: R250

R250 Receipt of annual fees

Free format text: JAPANESE INTERMEDIATE CODE: R250

LAPS Cancellation because of no payment of annual fees