JP2010043766A - 熱交換器及びこの熱交換器を備えた給湯器 - Google Patents

熱交換器及びこの熱交換器を備えた給湯器 Download PDF

Info

Publication number
JP2010043766A
JP2010043766A JP2008206895A JP2008206895A JP2010043766A JP 2010043766 A JP2010043766 A JP 2010043766A JP 2008206895 A JP2008206895 A JP 2008206895A JP 2008206895 A JP2008206895 A JP 2008206895A JP 2010043766 A JP2010043766 A JP 2010043766A
Authority
JP
Japan
Prior art keywords
turbulent flow
forming body
flow forming
tin
pipe
Prior art date
Legal status (The legal status is an assumption and is not a legal conclusion. Google has not performed a legal analysis and makes no representation as to the accuracy of the status listed.)
Granted
Application number
JP2008206895A
Other languages
English (en)
Other versions
JP4601692B2 (ja
Inventor
Masayuki Toda
雅之 戸田
Akira Kumagai
明 熊谷
Hiromitsu Sasada
広光 笹田
Current Assignee (The listed assignees may be inaccurate. Google has not performed a legal analysis and makes no representation or warranty as to the accuracy of the list.)
Rinnai Corp
Original Assignee
Rinnai Corp
Priority date (The priority date is an assumption and is not a legal conclusion. Google has not performed a legal analysis and makes no representation as to the accuracy of the date listed.)
Filing date
Publication date
Application filed by Rinnai Corp filed Critical Rinnai Corp
Priority to JP2008206895A priority Critical patent/JP4601692B2/ja
Priority to US12/648,512 priority patent/US8887795B2/en
Publication of JP2010043766A publication Critical patent/JP2010043766A/ja
Application granted granted Critical
Publication of JP4601692B2 publication Critical patent/JP4601692B2/ja
Active legal-status Critical Current
Anticipated expiration legal-status Critical

Links

Images

Classifications

    • FMECHANICAL ENGINEERING; LIGHTING; HEATING; WEAPONS; BLASTING
    • F28HEAT EXCHANGE IN GENERAL
    • F28FDETAILS OF HEAT-EXCHANGE AND HEAT-TRANSFER APPARATUS, OF GENERAL APPLICATION
    • F28F21/00Constructions of heat-exchange apparatus characterised by the selection of particular materials
    • F28F21/08Constructions of heat-exchange apparatus characterised by the selection of particular materials of metal
    • F28F21/088Constructions of heat-exchange apparatus characterised by the selection of particular materials of metal for domestic or space-heating systems
    • FMECHANICAL ENGINEERING; LIGHTING; HEATING; WEAPONS; BLASTING
    • F28HEAT EXCHANGE IN GENERAL
    • F28FDETAILS OF HEAT-EXCHANGE AND HEAT-TRANSFER APPARATUS, OF GENERAL APPLICATION
    • F28F1/00Tubular elements; Assemblies of tubular elements
    • F28F1/10Tubular elements and assemblies thereof with means for increasing heat-transfer area, e.g. with fins, with projections, with recesses
    • F28F1/12Tubular elements and assemblies thereof with means for increasing heat-transfer area, e.g. with fins, with projections, with recesses the means being only outside the tubular element
    • F28F1/24Tubular elements and assemblies thereof with means for increasing heat-transfer area, e.g. with fins, with projections, with recesses the means being only outside the tubular element and extending transversely
    • F28F1/32Tubular elements and assemblies thereof with means for increasing heat-transfer area, e.g. with fins, with projections, with recesses the means being only outside the tubular element and extending transversely the means having portions engaging further tubular elements
    • FMECHANICAL ENGINEERING; LIGHTING; HEATING; WEAPONS; BLASTING
    • F28HEAT EXCHANGE IN GENERAL
    • F28FDETAILS OF HEAT-EXCHANGE AND HEAT-TRANSFER APPARATUS, OF GENERAL APPLICATION
    • F28F13/00Arrangements for modifying heat-transfer, e.g. increasing, decreasing
    • F28F13/06Arrangements for modifying heat-transfer, e.g. increasing, decreasing by affecting the pattern of flow of the heat-exchange media
    • F28F13/12Arrangements for modifying heat-transfer, e.g. increasing, decreasing by affecting the pattern of flow of the heat-exchange media by creating turbulence, e.g. by stirring, by increasing the force of circulation
    • FMECHANICAL ENGINEERING; LIGHTING; HEATING; WEAPONS; BLASTING
    • F28HEAT EXCHANGE IN GENERAL
    • F28FDETAILS OF HEAT-EXCHANGE AND HEAT-TRANSFER APPARATUS, OF GENERAL APPLICATION
    • F28F21/00Constructions of heat-exchange apparatus characterised by the selection of particular materials
    • F28F21/08Constructions of heat-exchange apparatus characterised by the selection of particular materials of metal
    • F28F21/081Heat exchange elements made from metals or metal alloys
    • F28F21/085Heat exchange elements made from metals or metal alloys from copper or copper alloys
    • FMECHANICAL ENGINEERING; LIGHTING; HEATING; WEAPONS; BLASTING
    • F28HEAT EXCHANGE IN GENERAL
    • F28FDETAILS OF HEAT-EXCHANGE AND HEAT-TRANSFER APPARATUS, OF GENERAL APPLICATION
    • F28F21/00Constructions of heat-exchange apparatus characterised by the selection of particular materials
    • F28F21/08Constructions of heat-exchange apparatus characterised by the selection of particular materials of metal
    • F28F21/089Coatings, claddings or bonding layers made from metals or metal alloys
    • FMECHANICAL ENGINEERING; LIGHTING; HEATING; WEAPONS; BLASTING
    • F28HEAT EXCHANGE IN GENERAL
    • F28FDETAILS OF HEAT-EXCHANGE AND HEAT-TRANSFER APPARATUS, OF GENERAL APPLICATION
    • F28F9/00Casings; Header boxes; Auxiliary supports for elements; Auxiliary members within casings
    • F28F9/001Casings in the form of plate-like arrangements; Frames enclosing a heat exchange core

Landscapes

  • Engineering & Computer Science (AREA)
  • Physics & Mathematics (AREA)
  • Thermal Sciences (AREA)
  • Mechanical Engineering (AREA)
  • General Engineering & Computer Science (AREA)
  • Geometry (AREA)
  • Chemically Coating (AREA)
  • Heat-Exchange Devices With Radiators And Conduit Assemblies (AREA)
  • Details Of Fluid Heaters (AREA)
  • Other Surface Treatments For Metallic Materials (AREA)

Abstract

【課題】スズ系メッキ層を良好に形成できるようにする。
【解決手段】熱交換器のケーシング1には銅系金属よりなる通水管が取り付けられている。通水管4のうち外周面にフィン11Aが配された範囲には、管中に乱流形成体13が挿通されている。乱流形成体13はステンレス材を母材として表面には銅メッキ層が積層されている。したがって、通水管内に無電解スズメッキ液を流動させると、乱流形成体13の表層部と通水管4とは同一材質であることから、スズ系メッキ層17,18は両者の外表面に形成される。このため、乱流形成体13が通水管4の内面に密着した状況にあっても、乱流形成体13と通水管4との境界部分に確実にスズ系メッキ層17,18を形成することができる。
【選択図】図5

Description

本発明は、熱交換器及びこの熱交換器を備えた給湯器に関する。
ガス瞬間湯沸器等に使用される熱交換器は、ケーシング周りに通水用の銅管が巻き付けられている。銅管の配管経路のうち、ケーシング内の上部を横切る領域には、銅管の周囲に多数枚の吸熱フィンを取り付け、ここで専ら熱交換を行うようにしている。銅管自体は、高い熱伝導性及び曲げ加工性に優れる等の優位性があるため、従来からよく使用されてきた。その一方で、特定の水質のもとでは銅イオンの溶出によって、いわゆる「青い水」の問題を生じることも知られている。「青い水」の対策としては、銅管内面にメッキ処理を施すことが有効である。その一例として、下記特許文献1の技術を挙げることができる。このものは、熱交換器の製造後に、銅管内に無電解スズメッキ液を循環させ銅管の内周面にスズメッキ層を形成する、というものである。
特開平8−178585号公報
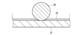
しかし、上記処理を行うにしても、銅管内の構造によっては均一にメッキ層を形成するのが困難となることがあった。と言うのも、従来、コイルスプリング状の形態をとった乱流形成体が銅管の内部へ挿通される、という構造上の背景がある。乱流形成体は、銅管内を流れる湯に撹拌作用を与えて膜沸騰の生成を抑制し、例えば気泡の破裂音といった異音の発生を防止することを目的として用いられてきた。上記した無電解スズメッキを、乱流形成体30が挿通された状態の銅管31に施すと、スズメッキ層32は図8に示すように、銅管31側の表層に一定厚みをもって形成された。乱流形成体30側にスズメッキ層32が形成されないのは、乱流形成体30はステンレス材によって形成されることが多いことから、その表面には不動態化した酸化被膜が形成されメッキ層の生成を拒むからである。
図8に示すメッキ層32の様相は、銅管31の表面がメッキ層32によって確実に覆われた良好な状況であるが、図9に示すように、乱流形成体30が銅管31内面に対し密着あるいは極めて接近するような状態ではスズメッキ層32の厚みが不均一になることがあった。これはスズメッキ層32が乱流形成体30側には形成されず、専ら銅管31の内面側にのみ形成される、という状況の下、スズメッキ液が乱流形成体30と銅管31の内面との間の狭い隙間に侵入しにくいからである。
かくして、従来では乱流形成体30と銅管31との間の距離によって、スズメッキ層32の厚みが不均一化しやすい、という問題があった。
本発明は上記のような事情に基づいて完成されたものであって、スズメッキ層を良好な状態で形成することができる熱交換器及びこれを組み込んだ給湯器を提供することを目的とする。
上記の目的を達成するための手段として、本発明の熱交換器は、ケーシングと、ケーシングに配設され銅系金属によって形成された通水管と、通水管内に挿通された乱流形成体とを備え、乱流形成体の少なくとも表層部は銅系金属によって形成されるとともに、通水管の表面と乱流形成体の外面とには、共にスズ系メッキ層が積層されているところに特徴を有する。
乱流形成体はステンレス材料にて形成され、かつその表層部には銅系メッキ層が形成され、スズ系メッキ層は銅系メッキ層の外面に積層されるようにしてもよい(請求項2の発明)。
乱流形成体の外面に積層されたスズ系メッキ層は、この乱流形成体を包み込みつつ通水管側のスズ系メッキ層に連続するような状態となるのが好ましい(請求項3の発明)。
上記した構成に係る熱交換器は、給湯器に組み込まれるのが好ましい(請求項4の発明)。
<請求項1及び請求項4の発明>
本発明に係る熱交換器及び給湯器によれば、少なくとも乱流形成体の表層部を通水管と同様の銅系金属によって形成するようにして、スズ系メッキ層が生成される形成条件を乱流形成体側と通水管側とでほぼ揃えられる。したがって、スズ系メッキ層は通水管の表面と乱流形成体の外面の双方に、ほぼ等しい厚みをもって生成される。
<請求項2の発明>
乱流形成体はステンレス系材を母材として表面に銅系メッキを積層するようにしたものでは、乱流形成体が通水管とは異なった材質であってもスズ系メッキ層の形成が可能となるため、乱流形成体における材料選択の幅を広げることができる。乱流形成体に銅系メッキ層を形成する手段としては、例えば電解メッキによる方法が考えられる。
また、ステンレス系材料を母材として乱流形成体を形成しておけば、銅系メッキ処理を施すまでの間の耐食性にも優れる。
<請求項3の発明>
乱流形成体が通水管内に挿通された状態で、乱流形成体が通水管内の表面から充分に離間していれば、スズ系メッキ層はこれらの表面にそれぞれ分離した状態で生成される。しかし、乱流形成体が通水管内の表面に接近あるいは密着した状態となっていても、スズ系メッキ層は乱流形成体を包み込んだ状態で、通水管側に積層されたスズ系メッキ層に連続する。結局のところ、通水管内の表面からの乱流形成体の距離に拘わらず、良好なスズ系メッキ層を生成することができる。
<実施形態1>
本発明の実施形態1を図1ないし図6によって説明する。図1は給湯器中に組み込まれる熱交換器Hの分解斜視図である。図中、1は熱交換器Hのケーシングであり、一対のサブケーシング1Aを備える。両サブケーシング1Aはそれぞれ銅系金属板を略C字形状に折り曲げて形成されている。ケーシング1の組み立てに際し、サブケーシング1Aの端縁同士を突合せるようにして対向させ、突き合わされた端縁同士がかしめられる。ケーシング1の上下両縁には、補強を目的としたフランジ片2A,2Bがそれぞれ一対ずつ設けられ、スポット溶接によって取り付けられる。ケーシング1において、幅方向に向き合う両壁面の略上半分の領域には複数の差込み孔3が開口している。
ケーシング1には、いずれも銅系金属パイプよりなる複数の配管を接続して熱交換用の通水経路を形成する通水管4が取り付けられている。ケーシング1における高さ方向の中央部周りには通水管4の一部を構成する巻水管5が配管されている。この巻水管5は、ケーシング1の下半部外周面に巻き付けられ、ロー付けによって固定されている。
この巻水管5の一端(上流端)にはケーシング1の幅方向の一端側に位置する給水連絡管6が接続されている。この給水連絡管6は図示しない給水源に接続されている。巻水管5の他端には熱交換用の導入管7の一端が接続されている。導入管7の他端は、ケーシング1の各差込み孔3を通してケーシング1の内側に挿通された複数のヘアピン管8の一つに接続されている。各ヘアピン管8はそれぞれはU字状に折り返して形成され、図1に示すように、ケーシング1において上記した導入管7が配された側と反対側の壁面に位置する差込み孔3から挿通される。ケーシングにおいて各ヘアピン管8が挿通される側と反対側では、連続した通水路が形成されるよう、ヘアピン管8同士はベンド9と呼ばれるU字管(図示のものは2本)によって接続されている。そして、一方のもの(下流側に位置する側のもの:図1では右側に示されたもの)はケーシング1内においてヘアピン管8と平行に配された吸熱管10の一端に接続されている。
各ヘアピン管8及び吸熱管10をケーシング1内に配管するに先立って、ケーシング1内の略上半分には多数枚のフィン11Aを列設させたフィンブロック11が収容されている。各フィン11Aにはヘアピン管8及び吸熱管10を貫通させるために同軸で貫通する通し孔12が複数個開口し、各通し孔12はケーシング1側の各差込み孔3と同心で整合している。なお、各通し孔12の孔縁は全周に亘って、ヘアピン管8及び吸熱管10の外周面に隙間なく密着している。
また、各ヘアピン管8及び吸熱管10の内部にはそれぞれ乱流形成体13(サイレンサとも呼ばれる)が挿通されている。乱流形成体13は各ヘアピン管8及び吸熱管10のほぼ全長に及ぶ程度の長さをもったコイル状に形成されている。乱流形成体13は各ヘアピン管や吸熱管の内部を通過する湯に乱流を生じさせて撹拌し、結果として膜沸騰等に伴う異音の発生を緩和する役割を果たす。
乱流形成体13は、本実施形態においてはステンレス製の線材よりなり、表面には電解メッキによって銅系メッキ層14が形成されている。このメッキ層14の組成は通水管(少なくとも各ヘアピン管8及び吸熱管10)の材質と略同一である。
なお、上記したベンド9と対応するヘアピン管8との接続、及び導入管7と吸熱管10との接続作業は、各乱流形成体13の挿通作業の後になされる。
吸熱管10におけるベンド9と接続された側と反対側の端部には、ケーシング1の外方に突出して給湯連絡管15に接続されている。この給湯連絡管15と前記した給水連絡管6との間にはバイパス管16が接続されている。このバイパス管16を含むバイパス経路中には図示しないバイパスミキシング弁が設けられていて、給水連絡管6に給水される給湯用水の一部所定量を給湯連絡管15に混入させることで、出湯温度を調節できるようになっている。
給水連絡管6と給湯連絡管15の接続作業がなされる前に、ケーシング1に対する巻水管5の溶着工程を経る。この工程では、まず巻水管5の上面にケーシングの外面に沿うようにしてロウ材を載置しておく。この状態の熱交換器は、そのまま無酸素還元雰囲気でかつ高温(約800℃程度)に保持されたロウ付け炉中におかれる。これによって、巻水管5はケーシング1に対し正規状態でロウ付けされる。
図3は熱交換器Hの製造工程を示しており、図中(A)(B)の工程については既に説明した通りである。熱交換器Hは、(B)の工程を経た後に、(C)の工程として洗浄工程を経る。同工程では、熱交換器Hの通水経路を構成する通水管4中の汚れの程度に応じて洗浄液を流し込んで脱脂し、その後に水洗いがなされる。
しかる後に、(D)の工程として無電解スズメッキがなされる。すなわち、メッキ液を通水管4の内部を循環させることによって、乱流形成体13及び給水連絡管6に始まり給湯連絡管15に至るまでの間の経路を構成する通水管4の表面には所定厚さ(1〜2μm程度)のスズ系メッキ層17,18が形成される。図4及び図5は乱流形成体13とヘアピン管8及び吸熱管10(以下、ヘアピン管8等という)の内面壁との間の距離の差によってスズ系メッキ層の形成状況が相違する様子を拡大して示している。図4のように、乱流形成体13がヘアピン管8等の内面から充分離間している場合には、乱流形成体13の外周面とヘアピン管8等の内面にほぼ等しい厚みのスズ系メッキ層17,18が形成され、これらのスズ系メッキ層17,18は相互に分離した状態となっている。
一方、図5では乱流形成体13がヘアピン管8等の内面に接触した状態で無電解メッキ処理がなされた状況を示している。同図に示すように、スズ系メッキ層17,18は乱流形成体13を包み込んだ状態で、ヘアピン管8等の内面にもほぼ均一厚みで形成される。これに対し、図9に示す従来の場合であれば、乱流形成体30の表面に銅系メッキ層14を有さないことから無電解メッキ処理によっては、スズ系メッキ層を生成することができない。したがって、スズ系メッキ層32は専らヘアピン管等(銅管31)の内面にのみ形成されるだけであるため、乱流形成体30との境界領域における狭い隙間にはスズメッキ液が侵入しにくく、同領域でのスズ系メッキ層の生成が阻害されていた。
しかし、本実施形態であれば、乱流形成体13の表面にもスズ系メッキ層18が形成されるため、乱流形成体13側のスズ系メッキ層18とヘアピン管8等側のスズ系メッキ層17との連結点(図5に示すP1点)が、乱流形成体13とヘアピン管等との密着点(図5に示すP2点)から径方向に関して離れる。したがって、図6に示すように、万一、乱流形成体13とヘアピン管等の内面との境界領域中にスズ系メッキ層が形成されない「巣」19が生じたとしても、スズ系メッキ層17,18はこの「巣」19を封じ込めた状態で形成され、乱流形成体13及びヘアピン管8等の表面を露出させてしまうことはない。
このように、ヘアピン管8等の内面からの乱流形成体13の距離に関わらず、ヘアピン管8等及び乱流形成体13の表層部に良好な状態でスズ系メッキ層17,18を形成することができるため、いわゆる「青い水」あるいは孔食といった問題を有効に解消することができる。
<実施形態2>
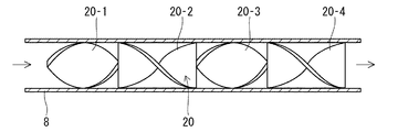
次に、本発明の実施形態2を図7によって説明する。実施形態1では、乱流形成体13は線材によって形成されていたが、実施形態2では乱流形成体20を板材によって形成している。より具体的には、乱流形成体20は多数個のエレメント20−1〜20−4を多数個長さ方向に数珠つなぎ状に接続して構成されている(個々に分離されていてもよい)。各エレメント20−1〜20−4はヘアピン管8等の内径よりやや小径の外径を有するとともに、軸線周りに180度の捻りが加えられている。隣接するエレメント20−1〜20−4同士は、90度の位相のずれが設定されている。
このように構成された乱流形成体20によっても、ヘアピン管8等の内部を湯が通過する過程で自動的に軸線周りの回転力を付加して異音の発生等を未然に防止することができる。
実施形態2の乱流形成体20がヘアピン管8等に挿通された場合においても、無電解スズメッキ液を流すことによって、実施形態1と同様、乱流形成体20の表面及びヘアピン管8等の内面に対し、良好な状況でスズ系メッキ層を形成することができる。
<他の実施形態>
本発明は上記記述及び図面によって説明した実施形態に限定されるものではなく、例えば次のような実施形態も本発明の技術的範囲に含まれ、さらに、下記以外にも要旨を逸脱しない範囲内で種々変更して実施することができる。
(1)本実施形態では、乱流形成体13,20はステンレス材を母材とし、表面に銅系メッキを積層したものを使用したが、乱流形成体13全体を銅系金属を母材とすることも可能である。また、銅系メッキ層を積層することを条件とするのであれば、乱流形成体13,20の母材はステンレス材に限定されない。
(2)本実施形態では、乱流形成体13,20はコイル状線材にメッキ処理を施したが、コイリング前にメッキ処理を施しておき、その後にコイリングを行うようにしてもよい。また、メッキ処理は、乱流形成体13,20を所定寸法に切断した後に行っても良いし、長尺の連続体のままメッキ処理を行い、その後に所定寸法に切断するようにしてもよい。
実施形態1に係る熱交換器の分解斜視図 組み立て後の熱交換器を示す斜視図 熱交換器の製造工程図 乱流形成体が通水管の表面から離間した部位でのスズ系メッキ層の積層状況を拡大して示す断面図 乱流形成体が通水管の表面から離間した部位でのスズ系メッキ層の積層状況を拡大して示す断面図 乱流形成体と通水管の境界部分においてスズ系メッキ層に空隙が生じた状態を拡大して示す断面図 実施形態2の乱流形成体を挿通した状態を示す断面図 従来において、乱流形成体が通水管の表面から離間した状態で無電解スズメッキを施した状態を示す断面図 同じく、乱流形成体が通水管の表面に密着した状態で無電解スズメッキを施した状態を示す断面図
符号の説明
1…ケーシング
4…通水管
8…ヘアピン管(通水管)
10…吸熱管(通水管)
13,20…乱流形成体
14…銅系メッキ層
17,18…スズ系メッキ層
H…熱交換器

Claims (4)

  1. ケーシングと、
    ケーシングに配設され銅系金属によって形成された通水管と、
    通水管内に挿通された乱流形成体とを備え、
    前記乱流形成体の少なくとも表層部は銅系金属によって形成されるとともに、 前記通水管の表面と前記乱流形成体の外面とには、共にスズ系メッキ層が積層されていることを特徴とする熱交換器。
  2. 前記乱流形成体はステンレス材料にて形成され、かつその表層部には銅系メッキ層が形成され、前記スズ系メッキ層は銅系メッキ層の外面に積層されていることを特徴とする請求項1記載の熱交換器。
  3. 前記乱流形成体の外面に積層されたスズ系メッキ層は、この乱流形成体を包み込みつつ前記通水管側のスズ系メッキ層に連続していることを特徴とする請求項1又は請求項2に記載の熱交換器。
  4. 請求項1乃至請求項3のいずれかに記載の熱交換器を備えたことを特徴とする給湯器。
JP2008206895A 2008-08-11 2008-08-11 熱交換器及びこの熱交換器を備えた給湯器 Active JP4601692B2 (ja)

Priority Applications (2)

Application Number Priority Date Filing Date Title
JP2008206895A JP4601692B2 (ja) 2008-08-11 2008-08-11 熱交換器及びこの熱交換器を備えた給湯器
US12/648,512 US8887795B2 (en) 2008-08-11 2009-12-29 Heat exchanger and water heater including the same

Applications Claiming Priority (1)

Application Number Priority Date Filing Date Title
JP2008206895A JP4601692B2 (ja) 2008-08-11 2008-08-11 熱交換器及びこの熱交換器を備えた給湯器

Publications (2)

Publication Number Publication Date
JP2010043766A true JP2010043766A (ja) 2010-02-25
JP4601692B2 JP4601692B2 (ja) 2010-12-22

Family

ID=42015292

Family Applications (1)

Application Number Title Priority Date Filing Date
JP2008206895A Active JP4601692B2 (ja) 2008-08-11 2008-08-11 熱交換器及びこの熱交換器を備えた給湯器

Country Status (2)

Country Link
US (1) US8887795B2 (ja)
JP (1) JP4601692B2 (ja)

Cited By (5)

* Cited by examiner, † Cited by third party
Publication number Priority date Publication date Assignee Title
WO2012090619A1 (ja) * 2010-12-27 2012-07-05 リンナイ株式会社 潜熱熱交換器、及び給湯装置
JP2012137253A (ja) * 2010-12-27 2012-07-19 Rinnai Corp 潜熱熱交換器、及び給湯装置
JP2012137252A (ja) * 2010-12-27 2012-07-19 Rinnai Corp 潜熱熱交換器、及び給湯装置
CN105115349A (zh) * 2015-07-23 2015-12-02 洛阳三信石化设备有限公司 一种防腐防垢涂层换热器及其制作工艺
JP2020085278A (ja) * 2018-11-19 2020-06-04 株式会社パロマ 給湯器

Families Citing this family (5)

* Cited by examiner, † Cited by third party
Publication number Priority date Publication date Assignee Title
FR2975768B1 (fr) 2011-05-26 2016-01-29 Valeo Systemes Thermiques Echangeur thermique, notamment pour vehicule automobile, et dispositif d'admission d'air correspondant
FR2975765B1 (fr) * 2011-05-26 2016-01-29 Valeo Systemes Thermiques Echangeur thermique, notamment pour vehicule automobile, et dispositif d'admission d'air correspondant
USD701180S1 (en) * 2012-10-10 2014-03-18 Zalman Tech Co., Ltd. Radiator for an electronic device
WO2020132237A1 (en) * 2018-12-19 2020-06-25 Carrier Corporation Heat exchanger with sacrificial turbulator
WO2020168345A1 (en) * 2019-02-15 2020-08-20 Rinnai America Corporation Integrated recirculation pump for non-condensing water heater

Citations (3)

* Cited by examiner, † Cited by third party
Publication number Priority date Publication date Assignee Title
JPH08178585A (ja) * 1994-12-27 1996-07-12 Paloma Ind Ltd 熱交換器の製造方法
JPH08327277A (ja) * 1995-06-05 1996-12-13 Toyo Radiator Co Ltd 多管型熱交換器の製造方法およびその熱交換器
JP2004150760A (ja) * 2002-10-31 2004-05-27 Denso Corp 熱交換器

Family Cites Families (10)

* Cited by examiner, † Cited by third party
Publication number Priority date Publication date Assignee Title
GB8507476D0 (en) * 1985-03-22 1985-05-01 Eneroil Res Ltd Gas fire heat exchange
US20010004009A1 (en) * 1999-01-25 2001-06-21 Mackelvie Winston Drainwater heat recovery system
ES2280276T3 (es) * 2000-03-14 2007-09-16 Walzen Irle Gmbh Rodillo rotatorio.
JP2002028775A (ja) * 2000-05-10 2002-01-29 Denso Corp 耐腐食性熱交換器の製造方法
US6318094B1 (en) * 2000-08-11 2001-11-20 Paul Mueller Company Bimetallic tube in a heat exchanger of an ice making machine
JP3794341B2 (ja) * 2002-03-28 2006-07-05 株式会社コベルコ マテリアル銅管 内面溝付管及びその製造方法
US6988542B2 (en) * 2003-02-06 2006-01-24 Modine Manufacturing Company Heat exchanger
JP4713903B2 (ja) * 2004-03-04 2011-06-29 三星モバイルディスプレイ株式會社 誘導結合プラズマ化学気相蒸着装置
JP4309854B2 (ja) * 2005-01-20 2009-08-05 株式会社日立製作所 低温プローブ及びそれを用いた核磁気共鳴分析装置
JP2007185709A (ja) * 2005-12-12 2007-07-26 Denso Corp ろう接方法及びろう接構造体

Patent Citations (3)

* Cited by examiner, † Cited by third party
Publication number Priority date Publication date Assignee Title
JPH08178585A (ja) * 1994-12-27 1996-07-12 Paloma Ind Ltd 熱交換器の製造方法
JPH08327277A (ja) * 1995-06-05 1996-12-13 Toyo Radiator Co Ltd 多管型熱交換器の製造方法およびその熱交換器
JP2004150760A (ja) * 2002-10-31 2004-05-27 Denso Corp 熱交換器

Cited By (10)

* Cited by examiner, † Cited by third party
Publication number Priority date Publication date Assignee Title
WO2012090619A1 (ja) * 2010-12-27 2012-07-05 リンナイ株式会社 潜熱熱交換器、及び給湯装置
JP2012137253A (ja) * 2010-12-27 2012-07-19 Rinnai Corp 潜熱熱交換器、及び給湯装置
JP2012137252A (ja) * 2010-12-27 2012-07-19 Rinnai Corp 潜熱熱交換器、及び給湯装置
CN103250009A (zh) * 2010-12-27 2013-08-14 林内株式会社 潜热热交换器,及供热水装置
KR20140001920A (ko) * 2010-12-27 2014-01-07 린나이가부시기가이샤 잠열 열교환기 및 급탕 장치
CN103250009B (zh) * 2010-12-27 2016-02-24 林内株式会社 潜热热交换器,及供热水装置
KR101905202B1 (ko) * 2010-12-27 2018-10-05 린나이가부시기가이샤 잠열 열교환기 및 급탕 장치
CN105115349A (zh) * 2015-07-23 2015-12-02 洛阳三信石化设备有限公司 一种防腐防垢涂层换热器及其制作工艺
CN105115349B (zh) * 2015-07-23 2017-11-07 洛阳三信石化设备有限公司 一种防腐防垢涂层换热器及其制作工艺
JP2020085278A (ja) * 2018-11-19 2020-06-04 株式会社パロマ 給湯器

Also Published As

Publication number Publication date
US8887795B2 (en) 2014-11-18
US20100096103A1 (en) 2010-04-22
JP4601692B2 (ja) 2010-12-22

Similar Documents

Publication Publication Date Title
JP4601692B2 (ja) 熱交換器及びこの熱交換器を備えた給湯器
JP2009041880A (ja) 給湯機用水熱交換器
JP2007218486A (ja) 熱交換器用伝熱管及びこれを用いた熱交換器
JP6436529B2 (ja) 熱交換器
JP2006000897A (ja) 高圧燃料噴射管
JP3477531B1 (ja) 熱交換器及びその製造方法、並びに、かかる熱交換器を用いる風呂湯沸かしシステム及び床暖房システム
JP2009216309A (ja) 熱交換器
JP2008045868A (ja) 給湯機用熱交換器及びその製作方法
JP2008014624A (ja) 給湯機用水熱交換器及びその製法
JP2005201625A (ja) 熱交換器およびその製造方法
JP2009180452A (ja) 給湯機用水熱交換器
JP2009241145A (ja) 曲部を有する二重管の製造方法、曲部を有する二重管
JP2005147570A (ja) 2重管式熱交換器
JP2012052784A (ja) 熱交換器用二重管
JP5544995B2 (ja) 熱交換器
JP2016044847A (ja) 熱交換器
JP2011099620A (ja) 熱交換器
JP2006234355A (ja) 熱交換器
JP2008116112A (ja) 熱交換器
JP2539229B2 (ja) 熱交換器の製造方法
JP2007218523A (ja) 熱交換器
JP6841624B2 (ja) 自動車用排気系熱交換器の製造方法
JPH1194362A (ja) 熱交換器
JP3477665B2 (ja) フェライト鋼管板とオーステナイト鋼管との溶接構造
JP4631224B2 (ja) 熱交換器

Legal Events

Date Code Title Description
A977 Report on retrieval

Free format text: JAPANESE INTERMEDIATE CODE: A971007

Effective date: 20100513

A131 Notification of reasons for refusal

Free format text: JAPANESE INTERMEDIATE CODE: A131

Effective date: 20100518

A521 Request for written amendment filed

Free format text: JAPANESE INTERMEDIATE CODE: A523

Effective date: 20100615

TRDD Decision of grant or rejection written
A01 Written decision to grant a patent or to grant a registration (utility model)

Free format text: JAPANESE INTERMEDIATE CODE: A01

Effective date: 20100928

A01 Written decision to grant a patent or to grant a registration (utility model)

Free format text: JAPANESE INTERMEDIATE CODE: A01

A61 First payment of annual fees (during grant procedure)

Free format text: JAPANESE INTERMEDIATE CODE: A61

Effective date: 20100928

FPAY Renewal fee payment (event date is renewal date of database)

Free format text: PAYMENT UNTIL: 20131008

Year of fee payment: 3

R150 Certificate of patent or registration of utility model

Ref document number: 4601692

Country of ref document: JP

Free format text: JAPANESE INTERMEDIATE CODE: R150

Free format text: JAPANESE INTERMEDIATE CODE: R150

R250 Receipt of annual fees

Free format text: JAPANESE INTERMEDIATE CODE: R250

R250 Receipt of annual fees

Free format text: JAPANESE INTERMEDIATE CODE: R250

R250 Receipt of annual fees

Free format text: JAPANESE INTERMEDIATE CODE: R250

R250 Receipt of annual fees

Free format text: JAPANESE INTERMEDIATE CODE: R250

R250 Receipt of annual fees

Free format text: JAPANESE INTERMEDIATE CODE: R250

R250 Receipt of annual fees

Free format text: JAPANESE INTERMEDIATE CODE: R250

R250 Receipt of annual fees

Free format text: JAPANESE INTERMEDIATE CODE: R250

R250 Receipt of annual fees

Free format text: JAPANESE INTERMEDIATE CODE: R250

R250 Receipt of annual fees

Free format text: JAPANESE INTERMEDIATE CODE: R250

R250 Receipt of annual fees

Free format text: JAPANESE INTERMEDIATE CODE: R250

R250 Receipt of annual fees

Free format text: JAPANESE INTERMEDIATE CODE: R250

R250 Receipt of annual fees

Free format text: JAPANESE INTERMEDIATE CODE: R250

R250 Receipt of annual fees

Free format text: JAPANESE INTERMEDIATE CODE: R250