JP2010042711A - レーシングカート用空気入りタイヤ - Google Patents
レーシングカート用空気入りタイヤ Download PDFInfo
- Publication number
- JP2010042711A JP2010042711A JP2008206665A JP2008206665A JP2010042711A JP 2010042711 A JP2010042711 A JP 2010042711A JP 2008206665 A JP2008206665 A JP 2008206665A JP 2008206665 A JP2008206665 A JP 2008206665A JP 2010042711 A JP2010042711 A JP 2010042711A
- Authority
- JP
- Japan
- Prior art keywords
- tire
- tread
- pneumatic tire
- radius
- center
- Prior art date
- Legal status (The legal status is an assumption and is not a legal conclusion. Google has not performed a legal analysis and makes no representation as to the accuracy of the status listed.)
- Granted
Links
- 230000002542 deteriorative effect Effects 0.000 abstract description 2
- 230000004043 responsiveness Effects 0.000 abstract description 2
- 230000004044 response Effects 0.000 description 12
- 239000011324 bead Substances 0.000 description 3
- 230000001953 sensory effect Effects 0.000 description 3
- 230000000694 effects Effects 0.000 description 2
- 230000007423 decrease Effects 0.000 description 1
- 238000000691 measurement method Methods 0.000 description 1
- 238000000034 method Methods 0.000 description 1
Images
Classifications
-
- B—PERFORMING OPERATIONS; TRANSPORTING
- B60—VEHICLES IN GENERAL
- B60C—VEHICLE TYRES; TYRE INFLATION; TYRE CHANGING; CONNECTING VALVES TO INFLATABLE ELASTIC BODIES IN GENERAL; DEVICES OR ARRANGEMENTS RELATED TO TYRES
- B60C11/00—Tyre tread bands; Tread patterns; Anti-skid inserts
- B60C11/0083—Tyre tread bands; Tread patterns; Anti-skid inserts characterised by the curvature of the tyre tread
-
- B—PERFORMING OPERATIONS; TRANSPORTING
- B60—VEHICLES IN GENERAL
- B60C—VEHICLE TYRES; TYRE INFLATION; TYRE CHANGING; CONNECTING VALVES TO INFLATABLE ELASTIC BODIES IN GENERAL; DEVICES OR ARRANGEMENTS RELATED TO TYRES
- B60C11/00—Tyre tread bands; Tread patterns; Anti-skid inserts
- B60C11/01—Shape of the shoulders between tread and sidewall, e.g. rounded, stepped or cantilevered
- B60C2011/013—Shape of the shoulders between tread and sidewall, e.g. rounded, stepped or cantilevered provided with a recessed portion
Landscapes
- Engineering & Computer Science (AREA)
- Mechanical Engineering (AREA)
- Tires In General (AREA)
Abstract
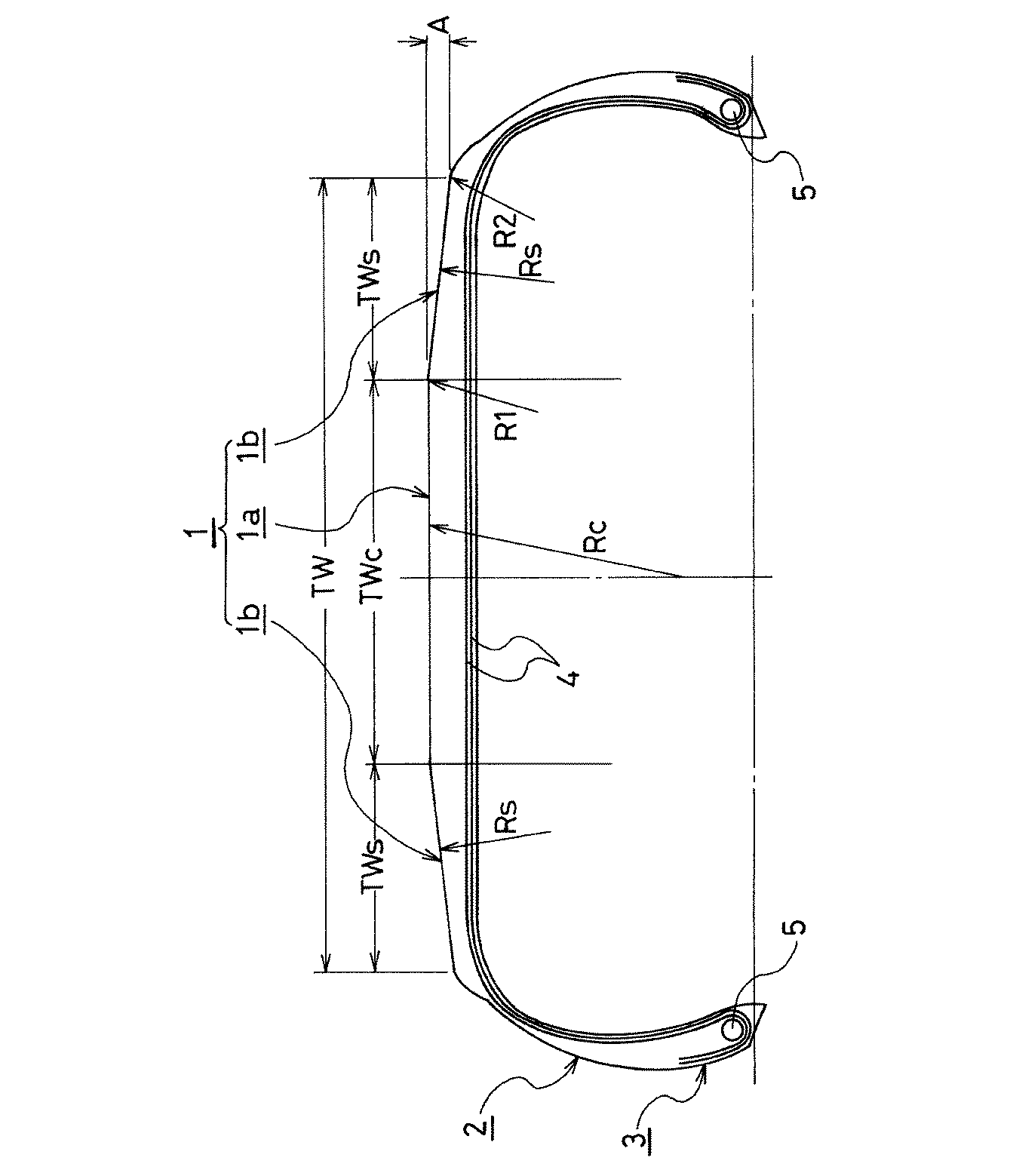
【解決手段】2層以上のカーカス層4を有するバイアス構造のレーシングカート用空気入りタイヤにおいて、空気圧充填前のトレッドプロファイルが概ね台形形状であり、リムに装着し、空気圧100kPaを充填したときのセンター部1aの幅TWcの荷重0.65kNを負荷した際のトレッド接地幅TWに対する比TWc/TWが0.65±0.15であり、センター部1aのトレッドラジアスRcを700mm以上、ショルダー部1bのトレッドラジアスRsを300mm以上、タイヤ外径とショルダー部1b端部とのタイヤ径方向の差Aを6±3mmにした。
【選択図】図1
Description
(2)前記センター部のトレッドラジアスRcが無限大であって、プロファイルが直線状であるようにする。
(3)前記ショルダー部のトレッドラジアスRsが無限大であって、プロファイルが直線状であるようにする。
(4)前記センター部と前記ショルダー部との境界部にタイヤ周方向に延びる溝を設けない。
(5)タイヤ外径が350mm以下にする。
(1)ハンドル応答性は、レーシングカート車両で公認コースを走行して官能試験を行い、従来例を100とする指数値で評価した。指数値が大きいほどハンドル応答性が優れている。
(2)ハンドルの効きは、レーシングカート車両で公認コースを走行して官能試験を行い、従来例を100とする指数値で評価した。指数値が大きいほどハンドルの効きが優れている。
(3)耐センター摩耗性は、レーシングカート車両で公認カートコースを100回周回した後の摩耗量を計測し、従来例を100とする指数値で評価した。指数値が大きいほど耐センター摩耗性が優れている。
(4)ブレーキの効きは、レーシングカート車両で公認コースを走行して官能試験を行い、従来例を100とする指数値で評価した。指数値が大きいほどブレーキの効きが優れている。
1a センター部
1b ショルダー部
TW トレッド接地幅
TWc センター部の幅
TWs ショルダー部の幅
A タイヤ外径とショルダー部端部とのタイヤ径方向の差
Rc センター部のトレッドラジアス
Rs ショルダー部のトレッドラジアス
R1 センター部とショルダー部との境界部のトレッドラジアス
R2 ショルダー部とサイドウォール部との境界部のトレッドラジアス
Claims (7)
- 2層以上のカーカス層からなるバイアス構造のレーシングカート用空気入りタイヤにおいて、
空気圧充填前のトレッド部断面のセンター部と左右のショルダー部とが形成するトレッドプロファイルが概ね台形形状であり、CIK規定のリムに装着し、空気圧100kPaを充填したときの前記センター部の幅TWcの荷重0.65kNを負荷した際のトレッド接地幅TWに対する比TWc/TWが0.65±0.15であり、前記センター部のトレッドラジアスRcが700mm以上、前記ショルダー部のトレッドラジアスRsが300mm以上であって、タイヤ外径と前記ショルダー部端部とのタイヤ径方向の差Aが6±3mmであるレーシングカート用空気入りタイヤ。 - 前記センター部とショルダー部との境界部のトレッドラジアスR1が70±30mmであり、前記ショルダー部とサイドウォール部との境界部のトレッドラジアスR2が50±30mmである請求項1に記載のレーシングカート用空気入りタイヤ。
- 前記センター部のトレッドラジアスRcが無限大であって、プロファイルが直線状である請求項1又は2に記載のレーシングカート用空気入りタイヤ。
- 前記ショルダー部のトレッドラジアスRsが無限大であって、プロファイルが直線状である請求項1、2又は3に記載のレーシングカート用空気入りタイヤ。
- 前記センター部と前記ショルダー部との境界部にタイヤ周方向に延びる溝を設けていない請求項1〜4のいずれかに記載のレーシングカート用空気入りタイヤ。
- タイヤ外径が350mm以下である請求項1〜5のいずれかに記載のレーシングカート用空気入りタイヤ。
- レーシングカートのフロント用タイヤである請求項1〜6のいずれかに記載のレーシングカート用空気入りタイヤ。
Priority Applications (1)
| Application Number | Priority Date | Filing Date | Title |
|---|---|---|---|
| JP2008206665A JP4894831B2 (ja) | 2008-08-11 | 2008-08-11 | レーシングカート用空気入りタイヤ |
Applications Claiming Priority (1)
| Application Number | Priority Date | Filing Date | Title |
|---|---|---|---|
| JP2008206665A JP4894831B2 (ja) | 2008-08-11 | 2008-08-11 | レーシングカート用空気入りタイヤ |
Publications (2)
| Publication Number | Publication Date |
|---|---|
| JP2010042711A true JP2010042711A (ja) | 2010-02-25 |
| JP4894831B2 JP4894831B2 (ja) | 2012-03-14 |
Family
ID=42014461
Family Applications (1)
| Application Number | Title | Priority Date | Filing Date |
|---|---|---|---|
| JP2008206665A Expired - Fee Related JP4894831B2 (ja) | 2008-08-11 | 2008-08-11 | レーシングカート用空気入りタイヤ |
Country Status (1)
| Country | Link |
|---|---|
| JP (1) | JP4894831B2 (ja) |
Cited By (4)
| Publication number | Priority date | Publication date | Assignee | Title |
|---|---|---|---|---|
| ITTO20120026A1 (it) * | 2012-01-16 | 2013-07-17 | Bridgestone Corp | Striscia di battistrada a ridotta usura per un pneumatico |
| JP2020079078A (ja) * | 2018-11-13 | 2020-05-28 | 住友ゴム工業株式会社 | タイヤ |
| CN111231584A (zh) * | 2018-11-28 | 2020-06-05 | 通伊欧轮胎株式会社 | 充气轮胎 |
| US10967680B2 (en) * | 2016-06-14 | 2021-04-06 | Bridgestone Corporation | Tire |
Citations (6)
| Publication number | Priority date | Publication date | Assignee | Title |
|---|---|---|---|---|
| JPS6460404A (en) * | 1987-08-28 | 1989-03-07 | Sumitomo Rubber Ind | Radial tire |
| JPH0245280A (ja) * | 1988-08-05 | 1990-02-15 | Bridgestone Corp | 車輌組立体 |
| JPH04283106A (ja) * | 1991-03-07 | 1992-10-08 | Bridgestone Corp | カート用ラジアルタイヤの組合せ構造 |
| JP2000309205A (ja) * | 1999-02-23 | 2000-11-07 | Yokohama Rubber Co Ltd:The | 空気入りタイヤ及びその製造方法 |
| JP2001253210A (ja) * | 2000-03-10 | 2001-09-18 | Bridgestone Corp | カート用空気入りタイヤ |
| JP2005231558A (ja) * | 2004-02-20 | 2005-09-02 | Sumitomo Rubber Ind Ltd | カート用空気入りタイヤ |
-
2008
- 2008-08-11 JP JP2008206665A patent/JP4894831B2/ja not_active Expired - Fee Related
Patent Citations (6)
| Publication number | Priority date | Publication date | Assignee | Title |
|---|---|---|---|---|
| JPS6460404A (en) * | 1987-08-28 | 1989-03-07 | Sumitomo Rubber Ind | Radial tire |
| JPH0245280A (ja) * | 1988-08-05 | 1990-02-15 | Bridgestone Corp | 車輌組立体 |
| JPH04283106A (ja) * | 1991-03-07 | 1992-10-08 | Bridgestone Corp | カート用ラジアルタイヤの組合せ構造 |
| JP2000309205A (ja) * | 1999-02-23 | 2000-11-07 | Yokohama Rubber Co Ltd:The | 空気入りタイヤ及びその製造方法 |
| JP2001253210A (ja) * | 2000-03-10 | 2001-09-18 | Bridgestone Corp | カート用空気入りタイヤ |
| JP2005231558A (ja) * | 2004-02-20 | 2005-09-02 | Sumitomo Rubber Ind Ltd | カート用空気入りタイヤ |
Cited By (8)
| Publication number | Priority date | Publication date | Assignee | Title |
|---|---|---|---|---|
| ITTO20120026A1 (it) * | 2012-01-16 | 2013-07-17 | Bridgestone Corp | Striscia di battistrada a ridotta usura per un pneumatico |
| WO2013108195A1 (en) * | 2012-01-16 | 2013-07-25 | Bridgestone Corporation | Low-wear tyre tread band |
| CN104114380A (zh) * | 2012-01-16 | 2014-10-22 | 株式会社普利司通 | 低磨耗轮胎胎面带 |
| US9527348B2 (en) | 2012-01-16 | 2016-12-27 | Bridgestone Corporation | Low-wear tyre tread band |
| US10967680B2 (en) * | 2016-06-14 | 2021-04-06 | Bridgestone Corporation | Tire |
| JP2020079078A (ja) * | 2018-11-13 | 2020-05-28 | 住友ゴム工業株式会社 | タイヤ |
| JP7472466B2 (ja) | 2018-11-13 | 2024-04-23 | 住友ゴム工業株式会社 | タイヤ |
| CN111231584A (zh) * | 2018-11-28 | 2020-06-05 | 通伊欧轮胎株式会社 | 充气轮胎 |
Also Published As
| Publication number | Publication date |
|---|---|
| JP4894831B2 (ja) | 2012-03-14 |
Similar Documents
| Publication | Publication Date | Title |
|---|---|---|
| JP4272244B2 (ja) | 不整地走行用空気入りタイヤ | |
| EP1923236B1 (en) | Pneumatic tire for off-road travelling | |
| JP6186147B2 (ja) | 空気入りタイヤ | |
| CN101795876B (zh) | 机动两轮车用充气轮胎 | |
| US8950452B2 (en) | Motorcycle tire for running on rough terrain | |
| EP2412546B1 (en) | Motorcycle tire for running on rough terrain | |
| JP5647642B2 (ja) | 不整地走行用空気入りタイヤ | |
| WO2015178442A1 (ja) | 空気入りタイヤ | |
| TW201100268A (en) | Pneumatic tire for off-road traveling | |
| CN110392637B (zh) | 用于车辆车轮的轮胎 | |
| JP7124550B2 (ja) | タイヤ | |
| JP2018095042A (ja) | 空気入りタイヤ | |
| JP6572676B2 (ja) | 自動車用タイヤ | |
| JP4649215B2 (ja) | 自動二輪車用空気入りタイヤ | |
| JP4894831B2 (ja) | レーシングカート用空気入りタイヤ | |
| CN105015277B (zh) | 摩托车用轮胎 | |
| JP6950371B2 (ja) | 空気入りラジアルタイヤ | |
| JP2008120269A (ja) | 不整地走行用の空気入りタイヤ | |
| JP6907823B2 (ja) | 空気入りラジアルタイヤ | |
| JP6825309B2 (ja) | タイヤ及びそれを装着した自動三輪車 | |
| JP5444052B2 (ja) | 自動二輪車用空気入りタイヤ | |
| JP6710025B2 (ja) | 自動二輪車用空気入りタイヤ | |
| JP2015137015A (ja) | 空気入りタイヤ | |
| JP2011143795A (ja) | 空気入りタイヤ | |
| JP5201961B2 (ja) | 自動二輪車用空気入りタイヤ |
Legal Events
| Date | Code | Title | Description |
|---|---|---|---|
| A977 | Report on retrieval |
Free format text: JAPANESE INTERMEDIATE CODE: A971007 Effective date: 20111028 |
|
| TRDD | Decision of grant or rejection written | ||
| A01 | Written decision to grant a patent or to grant a registration (utility model) |
Free format text: JAPANESE INTERMEDIATE CODE: A01 Effective date: 20111129 |
|
| A01 | Written decision to grant a patent or to grant a registration (utility model) |
Free format text: JAPANESE INTERMEDIATE CODE: A01 |
|
| A61 | First payment of annual fees (during grant procedure) |
Free format text: JAPANESE INTERMEDIATE CODE: A61 Effective date: 20111212 |
|
| R150 | Certificate of patent or registration of utility model |
Free format text: JAPANESE INTERMEDIATE CODE: R150 |
|
| FPAY | Renewal fee payment (event date is renewal date of database) |
Free format text: PAYMENT UNTIL: 20150106 Year of fee payment: 3 |
|
| FPAY | Renewal fee payment (event date is renewal date of database) |
Free format text: PAYMENT UNTIL: 20150106 Year of fee payment: 3 |
|
| R250 | Receipt of annual fees |
Free format text: JAPANESE INTERMEDIATE CODE: R250 |
|
| R250 | Receipt of annual fees |
Free format text: JAPANESE INTERMEDIATE CODE: R250 |
|
| R250 | Receipt of annual fees |
Free format text: JAPANESE INTERMEDIATE CODE: R250 |
|
| LAPS | Cancellation because of no payment of annual fees |
