JP2010042449A - 鋳型砂とその製造方法 - Google Patents
鋳型砂とその製造方法 Download PDFInfo
- Publication number
- JP2010042449A JP2010042449A JP2009231802A JP2009231802A JP2010042449A JP 2010042449 A JP2010042449 A JP 2010042449A JP 2009231802 A JP2009231802 A JP 2009231802A JP 2009231802 A JP2009231802 A JP 2009231802A JP 2010042449 A JP2010042449 A JP 2010042449A
- Authority
- JP
- Japan
- Prior art keywords
- sand
- mold
- weight
- sio
- mold sand
- Prior art date
- Legal status (The legal status is an assumption and is not a legal conclusion. Google has not performed a legal analysis and makes no representation as to the accuracy of the status listed.)
- Granted
Links
- 238000004519 manufacturing process Methods 0.000 title claims abstract description 20
- 239000003110 molding sand Substances 0.000 title abstract description 15
- 239000004576 sand Substances 0.000 claims abstract description 125
- 239000002245 particle Substances 0.000 claims abstract description 44
- PNEYBMLMFCGWSK-UHFFFAOYSA-N aluminium oxide Inorganic materials [O-2].[O-2].[O-2].[Al+3].[Al+3] PNEYBMLMFCGWSK-UHFFFAOYSA-N 0.000 claims abstract description 37
- 239000013078 crystal Substances 0.000 claims abstract description 29
- 239000002994 raw material Substances 0.000 claims abstract description 17
- 239000000155 melt Substances 0.000 claims abstract description 16
- 238000009826 distribution Methods 0.000 claims abstract description 13
- 239000000126 substance Substances 0.000 claims abstract description 13
- 239000000470 constituent Substances 0.000 claims abstract description 8
- 239000010419 fine particle Substances 0.000 claims abstract description 3
- 229910004298 SiO 2 Inorganic materials 0.000 claims description 24
- 229910018072 Al 2 O 3 Inorganic materials 0.000 claims description 15
- 238000005507 spraying Methods 0.000 claims description 9
- 239000000203 mixture Substances 0.000 claims description 6
- 238000005266 casting Methods 0.000 abstract description 28
- 229910001208 Crucible steel Inorganic materials 0.000 abstract description 6
- 229910001570 bauxite Inorganic materials 0.000 abstract description 6
- 229910052782 aluminium Inorganic materials 0.000 abstract description 2
- 239000007921 spray Substances 0.000 abstract 1
- VYPSYNLAJGMNEJ-UHFFFAOYSA-N Silicium dioxide Chemical compound O=[Si]=O VYPSYNLAJGMNEJ-UHFFFAOYSA-N 0.000 description 137
- 238000000034 method Methods 0.000 description 40
- 238000002844 melting Methods 0.000 description 22
- 230000008018 melting Effects 0.000 description 22
- 239000005011 phenolic resin Substances 0.000 description 21
- 239000011230 binding agent Substances 0.000 description 15
- 239000003513 alkali Substances 0.000 description 14
- 238000000465 moulding Methods 0.000 description 13
- 239000003795 chemical substances by application Substances 0.000 description 10
- 239000007849 furan resin Substances 0.000 description 10
- 238000007664 blowing Methods 0.000 description 9
- 239000004927 clay Substances 0.000 description 7
- 238000009770 conventional sintering Methods 0.000 description 7
- 238000001816 cooling Methods 0.000 description 7
- 230000007547 defect Effects 0.000 description 7
- KZHJGOXRZJKJNY-UHFFFAOYSA-N dioxosilane;oxo(oxoalumanyloxy)alumane Chemical compound O=[Si]=O.O=[Si]=O.O=[Al]O[Al]=O.O=[Al]O[Al]=O.O=[Al]O[Al]=O KZHJGOXRZJKJNY-UHFFFAOYSA-N 0.000 description 6
- 238000005259 measurement Methods 0.000 description 6
- 229910052863 mullite Inorganic materials 0.000 description 6
- 238000010828 elution Methods 0.000 description 5
- 238000010438 heat treatment Methods 0.000 description 5
- NLYAJNPCOHFWQQ-UHFFFAOYSA-N kaolin Chemical compound O.O.O=[Al]O[Si](=O)O[Si](=O)O[Al]=O NLYAJNPCOHFWQQ-UHFFFAOYSA-N 0.000 description 5
- 239000000377 silicon dioxide Substances 0.000 description 5
- VKYKSIONXSXAKP-UHFFFAOYSA-N hexamethylenetetramine Chemical compound C1N(C2)CN3CN1CN2C3 VKYKSIONXSXAKP-UHFFFAOYSA-N 0.000 description 4
- 239000000463 material Substances 0.000 description 4
- 150000002895 organic esters Chemical class 0.000 description 4
- 238000011084 recovery Methods 0.000 description 4
- 239000011819 refractory material Substances 0.000 description 4
- 230000008929 regeneration Effects 0.000 description 4
- 238000011069 regeneration method Methods 0.000 description 4
- 229920002803 thermoplastic polyurethane Polymers 0.000 description 4
- 239000005995 Aluminium silicate Substances 0.000 description 3
- 239000004115 Sodium Silicate Substances 0.000 description 3
- BOTDANWDWHJENH-UHFFFAOYSA-N Tetraethyl orthosilicate Chemical compound CCO[Si](OCC)(OCC)OCC BOTDANWDWHJENH-UHFFFAOYSA-N 0.000 description 3
- 238000002441 X-ray diffraction Methods 0.000 description 3
- 239000002253 acid Substances 0.000 description 3
- 235000012211 aluminium silicate Nutrition 0.000 description 3
- 238000004458 analytical method Methods 0.000 description 3
- 239000000440 bentonite Substances 0.000 description 3
- 229910000278 bentonite Inorganic materials 0.000 description 3
- SVPXDRXYRYOSEX-UHFFFAOYSA-N bentoquatam Chemical compound O.O=[Si]=O.O=[Al]O[Al]=O SVPXDRXYRYOSEX-UHFFFAOYSA-N 0.000 description 3
- 239000008119 colloidal silica Substances 0.000 description 3
- 230000000052 comparative effect Effects 0.000 description 3
- 239000000835 fiber Substances 0.000 description 3
- 229910052751 metal Inorganic materials 0.000 description 3
- 239000002184 metal Substances 0.000 description 3
- 238000012856 packing Methods 0.000 description 3
- 239000011347 resin Substances 0.000 description 3
- 229920005989 resin Polymers 0.000 description 3
- NTHWMYGWWRZVTN-UHFFFAOYSA-N sodium silicate Chemical compound [Na+].[Na+].[O-][Si]([O-])=O NTHWMYGWWRZVTN-UHFFFAOYSA-N 0.000 description 3
- 229910052911 sodium silicate Inorganic materials 0.000 description 3
- XLYOFNOQVPJJNP-UHFFFAOYSA-N water Substances O XLYOFNOQVPJJNP-UHFFFAOYSA-N 0.000 description 3
- CURLTUGMZLYLDI-UHFFFAOYSA-N Carbon dioxide Chemical compound O=C=O CURLTUGMZLYLDI-UHFFFAOYSA-N 0.000 description 2
- YLQBMQCUIZJEEH-UHFFFAOYSA-N Furan Chemical compound C=1C=COC=1 YLQBMQCUIZJEEH-UHFFFAOYSA-N 0.000 description 2
- ISWSIDIOOBJBQZ-UHFFFAOYSA-N Phenol Chemical compound OC1=CC=CC=C1 ISWSIDIOOBJBQZ-UHFFFAOYSA-N 0.000 description 2
- NBIIXXVUZAFLBC-UHFFFAOYSA-N Phosphoric acid Chemical compound OP(O)(O)=O NBIIXXVUZAFLBC-UHFFFAOYSA-N 0.000 description 2
- 239000006004 Quartz sand Substances 0.000 description 2
- QAOWNCQODCNURD-UHFFFAOYSA-N Sulfuric acid Chemical compound OS(O)(=O)=O QAOWNCQODCNURD-UHFFFAOYSA-N 0.000 description 2
- INJRKJPEYSAMPD-UHFFFAOYSA-N aluminum;silicic acid;hydrate Chemical compound O.[Al].[Al].O[Si](O)(O)O INJRKJPEYSAMPD-UHFFFAOYSA-N 0.000 description 2
- 229910052849 andalusite Inorganic materials 0.000 description 2
- 238000005452 bending Methods 0.000 description 2
- 229910052570 clay Inorganic materials 0.000 description 2
- 230000006835 compression Effects 0.000 description 2
- 238000007906 compression Methods 0.000 description 2
- 238000010586 diagram Methods 0.000 description 2
- 239000000428 dust Substances 0.000 description 2
- WDPYDDUVWLUIDM-UHFFFAOYSA-N ethyl carbamate;phenol Chemical compound CCOC(N)=O.OC1=CC=CC=C1 WDPYDDUVWLUIDM-UHFFFAOYSA-N 0.000 description 2
- 239000004312 hexamethylene tetramine Substances 0.000 description 2
- 235000010299 hexamethylene tetramine Nutrition 0.000 description 2
- 229910052850 kyanite Inorganic materials 0.000 description 2
- 239000010443 kyanite Substances 0.000 description 2
- TZIHFWKZFHZASV-UHFFFAOYSA-N methyl formate Chemical compound COC=O TZIHFWKZFHZASV-UHFFFAOYSA-N 0.000 description 2
- 239000003921 oil Substances 0.000 description 2
- -1 organic acid esters Chemical class 0.000 description 2
- 150000007524 organic acids Chemical class 0.000 description 2
- 230000035699 permeability Effects 0.000 description 2
- 230000000704 physical effect Effects 0.000 description 2
- 229910052851 sillimanite Inorganic materials 0.000 description 2
- 239000002002 slurry Substances 0.000 description 2
- 239000002699 waste material Substances 0.000 description 2
- JIRHAGAOHOYLNO-UHFFFAOYSA-N (3-cyclopentyloxy-4-methoxyphenyl)methanol Chemical compound COC1=CC=C(CO)C=C1OC1CCCC1 JIRHAGAOHOYLNO-UHFFFAOYSA-N 0.000 description 1
- LBLYYCQCTBFVLH-UHFFFAOYSA-N 2-Methylbenzenesulfonic acid Chemical compound CC1=CC=CC=C1S(O)(=O)=O LBLYYCQCTBFVLH-UHFFFAOYSA-N 0.000 description 1
- 229910018125 Al-Si Inorganic materials 0.000 description 1
- 229910018520 Al—Si Inorganic materials 0.000 description 1
- 229910001018 Cast iron Inorganic materials 0.000 description 1
- RYGMFSIKBFXOCR-UHFFFAOYSA-N Copper Chemical compound [Cu] RYGMFSIKBFXOCR-UHFFFAOYSA-N 0.000 description 1
- 229910017082 Fe-Si Inorganic materials 0.000 description 1
- 229910017133 Fe—Si Inorganic materials 0.000 description 1
- BPQQTUXANYXVAA-UHFFFAOYSA-N Orthosilicate Chemical compound [O-][Si]([O-])([O-])[O-] BPQQTUXANYXVAA-UHFFFAOYSA-N 0.000 description 1
- XBDQKXXYIPTUBI-UHFFFAOYSA-M Propionate Chemical compound CCC([O-])=O XBDQKXXYIPTUBI-UHFFFAOYSA-M 0.000 description 1
- 229910010413 TiO 2 Inorganic materials 0.000 description 1
- 230000002411 adverse Effects 0.000 description 1
- XAGFODPZIPBFFR-UHFFFAOYSA-N aluminium Chemical compound [Al] XAGFODPZIPBFFR-UHFFFAOYSA-N 0.000 description 1
- WNROFYMDJYEPJX-UHFFFAOYSA-K aluminium hydroxide Chemical compound [OH-].[OH-].[OH-].[Al+3] WNROFYMDJYEPJX-UHFFFAOYSA-K 0.000 description 1
- 229910000147 aluminium phosphate Inorganic materials 0.000 description 1
- SRSXLGNVWSONIS-UHFFFAOYSA-N benzenesulfonic acid Chemical compound OS(=O)(=O)C1=CC=CC=C1 SRSXLGNVWSONIS-UHFFFAOYSA-N 0.000 description 1
- 229940092714 benzenesulfonic acid Drugs 0.000 description 1
- CJZGTCYPCWQAJB-UHFFFAOYSA-L calcium stearate Chemical compound [Ca+2].CCCCCCCCCCCCCCCCCC([O-])=O.CCCCCCCCCCCCCCCCCC([O-])=O CJZGTCYPCWQAJB-UHFFFAOYSA-L 0.000 description 1
- 235000013539 calcium stearate Nutrition 0.000 description 1
- 239000008116 calcium stearate Substances 0.000 description 1
- 239000001569 carbon dioxide Substances 0.000 description 1
- 229910002092 carbon dioxide Inorganic materials 0.000 description 1
- 239000000919 ceramic Substances 0.000 description 1
- 239000003610 charcoal Substances 0.000 description 1
- 239000000498 cooling water Substances 0.000 description 1
- 229910052802 copper Inorganic materials 0.000 description 1
- 239000010949 copper Substances 0.000 description 1
- 238000002425 crystallisation Methods 0.000 description 1
- 230000008025 crystallization Effects 0.000 description 1
- 230000007423 decrease Effects 0.000 description 1
- XPPKVPWEQAFLFU-UHFFFAOYSA-N diphosphoric acid Chemical compound OP(O)(=O)OP(O)(O)=O XPPKVPWEQAFLFU-UHFFFAOYSA-N 0.000 description 1
- 230000008034 disappearance Effects 0.000 description 1
- 238000007599 discharging Methods 0.000 description 1
- 230000000694 effects Effects 0.000 description 1
- 150000002148 esters Chemical class 0.000 description 1
- WBJINCZRORDGAQ-UHFFFAOYSA-N formic acid ethyl ester Natural products CCOC=O WBJINCZRORDGAQ-UHFFFAOYSA-N 0.000 description 1
- 239000010437 gem Substances 0.000 description 1
- 229910001751 gemstone Inorganic materials 0.000 description 1
- 239000011521 glass Substances 0.000 description 1
- 230000005484 gravity Effects 0.000 description 1
- 230000006698 induction Effects 0.000 description 1
- 239000002440 industrial waste Substances 0.000 description 1
- 238000005495 investment casting Methods 0.000 description 1
- XEEYBQQBJWHFJM-UHFFFAOYSA-N iron Substances [Fe] XEEYBQQBJWHFJM-UHFFFAOYSA-N 0.000 description 1
- 150000007522 mineralic acids Chemical class 0.000 description 1
- 239000012778 molding material Substances 0.000 description 1
- 239000012768 molten material Substances 0.000 description 1
- 230000007935 neutral effect Effects 0.000 description 1
- 235000005985 organic acids Nutrition 0.000 description 1
- 238000003921 particle size analysis Methods 0.000 description 1
- 230000035515 penetration Effects 0.000 description 1
- 239000000843 powder Substances 0.000 description 1
- 229940005657 pyrophosphoric acid Drugs 0.000 description 1
- 229910052611 pyroxene Inorganic materials 0.000 description 1
- 230000001172 regenerating effect Effects 0.000 description 1
- 230000000717 retained effect Effects 0.000 description 1
- 238000007873 sieving Methods 0.000 description 1
- 239000011863 silicon-based powder Substances 0.000 description 1
- 229910052708 sodium Inorganic materials 0.000 description 1
- 239000011734 sodium Substances 0.000 description 1
- 238000001179 sorption measurement Methods 0.000 description 1
- 239000012798 spherical particle Substances 0.000 description 1
- 229910001220 stainless steel Inorganic materials 0.000 description 1
- 239000010935 stainless steel Substances 0.000 description 1
- 238000010998 test method Methods 0.000 description 1
- 229920001187 thermosetting polymer Polymers 0.000 description 1
- 230000007704 transition Effects 0.000 description 1
Images
Landscapes
- Mold Materials And Core Materials (AREA)
Abstract
【解決手段】焼成ボーキサイト等のAl2O3−SiO2系の耐火物原料2を溶融させ、この溶融物4に高圧空気などのガスを吹出す高圧空気吹付け装置5を使って吹き付け、微粒状に飛散させながら冷却固化する。これにより、Al2O3が70重量%以上でSiO2が10重量%を超え12.77重量%以下の化学成分を有し、アルミナ結晶相を結晶構成の主要構成物とし、且つ30〜3000μmの粒度分布を有する溶融球状物6を形成する。
【選択図】図1
Description
しかしながら、Al2O3−SiO2系の原料にあっては、例えば、カオリン繊維(SiO2が52.3重量%)やボーキサイト繊維(SiO2が23重量%以上)のように、SiO2の含有量が高いと溶融体の粘性が高いため、高圧ガスの吹き付けで繊維状になりやすい。従って上記の従来技術の原料や合成ムライト(3Al2O3・2SiO2;化学成分はAl2O3が71.8重量%、SiO2が28.2重量%)の原料を溶融した場合も、SiO2の含有量が高いため、高圧ガスで飛散した溶融物は繊維状や楕円状の粒子になり易く、鋳型砂に適した球状粒子を容易に得ることができない問題がある。
即ち、本発明1は鋳型砂に関し、Al2O3が70重量%以上でSiO2が10重量%を超え12.77重量%以下の化学成分を有し、アルミナ結晶相を結晶構成の主要構成物とする溶融球状物からなり、この溶融球状物が30〜3000μmの粒度分布を有することを特徴とする。
上記のアルミナ結晶相は、α−アルミナとγ−アルミナとからなるが、γ−アルミナに比べてα−アルミナは結晶構造が安定しているため、上記の溶融球状物は、結晶構成がα−アルミナを主要構成物とするとより好ましい。なお、γ−アルミナは1000℃以上に加熱することで、結晶構造をα−アルミナに変化させることができる。なお、この鋳型砂への加熱は、鋳型へ注湯する際の金属溶湯の保有熱で加熱するものであってもよく、この場合は、最初の鋳型砂にγ−アルミナが含まれていても、鋳造後に回収された鋳型砂はα−アルミナが多く含まれる状態になる。
なお、上記の溶融球状物には、アルミナ結晶相などの結晶構成の他に、Al−Si系の非晶質相が含まれる場合があるが、これらの非晶質相は加熱を受けることによりアルミナ結晶相へ転移して安定化し、より好ましくなる。
また、粘結剤の使用量が少ないので、鋳造後の鋳型の崩壊性が良好であり、回収時の残留物を少なくできる。しかも、砂粒子が球状であると同時に硬度が高く破砕性が低い。これらの結果、鋳型砂の回収効率を高くでき、再使用性に優れる。
さらに、砂粒子の硬度が高く破砕性が低いことから、粉塵の発生量を低減でき、作業環境を良好にできるうえ、産業廃棄物を少なくすることができる。
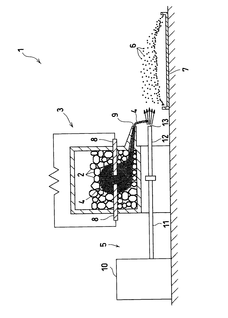
この鋳型砂製造装置(1)は、耐火物原料(2)を収容し溶融する溶解炉(3)と、耐火物原料(2)の溶融物(4)を飛散させるための高圧空気を吹出す高圧空気吹付け装置(5)と、飛散して冷却固化した溶融球状物(6)を捕集する捕集容器(7)とからなる。
また、この実施形態では、高圧空気で飛散された溶融物が大気中を移動する間に自然冷却するように構成してあるが、上記の鋳型砂製造装置(1)は、冷却水などを用いた強制冷却手段を備えていてもよい。
最初に、Al2O3−SiO2系の耐火物原料(2)が、例えば100mm以下等の適当なサイズレベルになるまで粉砕されて、上記の溶解炉(3)に収容される。
なお、本発明で使用する原料は、結晶水を除く化学成分が、Al2O3が70重量%以上でSiO2が10重量%を超え12.77重量%以下に調製してあればよく、焼成ボーキサイトのほか、ボーキサイト、溶融アルミナ、焼結アルミナ、バンド頁岩、シャモット、熱焦宝石、焦宝石、仮焼フリントクレー、フリントクレー、カイヤナイト、シリマナイト、アンダルサイト、メタカオリン、カオリン等を、単独で、或いは所定の化学成分となるように複数種類を混合して用いることができる。
これにより、上記の溶融物(4)は風砕分散されて所定の粒度分布を持つ粒子となり、直ちに溶融粒子自体の表面張力によって球状化するとともに、大気中を移動する間に自然冷却され固化する。そして、所定の粒子径を有した溶融球状物(6)となって捕集容器(7)内に落下堆積し捕集される。
また、この実施形態では上記の高圧空気を水平方向から吹き付けたが、本発明ではこの高圧空気を、溶融物(4)の落下方向に沿ってシャワー状に広角に吹き付け、これにより溶融物を風砕分散して球状物とすることも可能である。
これに対し、上記の実施例ではAl2O3が78.99重量%でSiO2が12.77重量%であった。また、X線回折によるアルミナ結晶相(α−アルミナまたはγ−アルミナ)のメインピーク強度がムライト(3Al2O3・2SiO2)よりも高い値を示している。これらの結晶の単体でのメインピーク強度はほぼ等しいので、上記のメインピーク強度から判断して、実施例において結晶構成の主要構成物はアルミナ結晶相が占めていることが判る。そして、これらのアルミナ結晶相を主要構成物とする上記の実施例では、高圧空気で飛散した溶融物が球状になり易く収率が98%と大幅に改善されている。
なお、上記のγ−アルミナは、上記の溶融物に高圧空気を吹き付けて急速に冷却した結果発生したことが想定されるが、このγ−アルミナは1000℃以上の再加熱を行うとα−アルミナへ変態して安定化することが知られている。従って、本発明の溶融球状鋳型砂は、予め1000℃以上に加熱して結晶構成を全てα−アルミナにしたのち使用することが可能である。ただし、本発明の鋳型砂で鋳型を成型して鋳造に用いると、金属溶湯は1500℃以上の高温で鋳込まれるので、上記の加熱処理を施さない鋳型砂であっても、鋳造後の鋳型から鋳型砂を回収して再使用する場合は、必然的にγ−アルミナが減少し安定なα−アルミナが増加する。
嵩密度は従来のものに比べやや大きいが、鋳型砂としての使用に支障はない。なお、嵩密度が大きいのは、従来のものに比べてアルミナ成分が多いためと考えられる。
また、pH値は7.11の中性領域を示しており、酸消費量も従来のものと同等であり、鋳型砂の特性値として全く支障は無かった。
これらの粘結剤としては、例えばフラン樹脂、フェノール樹脂、オイルウレタン樹脂、フェノールウレタン樹脂、アルカリフェノール樹脂、ケイ酸ソーダ、ベントナイト、耐火粘土、コロイダルシリカ、エチルシリケート加水分解液等が挙げられる。
具体的にこの鋳型砂を、フラン鋳造法やアルカリフェノール鋳造法の肌砂に適用して鋳型を成型し、10〜30tの高Cr鋳鋼品を鋳造したところ、鋳物離れの良い美麗な鋳肌を持つ無欠陥の鋳物をつくることができた。
本発明の鋳型砂を使用して、フラン樹脂法により鋳型を成型した。フラン樹脂(花王クエーカー社製、340B)は鋳型砂100重量部に対し1.0重量部使用し、酸硬化剤(花王クエーカー社製、C−14)はフラン樹脂100重量部に対し50重量部使用した。また、成型時の気温は20℃で、湿度は60%であった。
得られた鋳型の経過時間毎の圧縮強さ及び充填密度を、従来の焼結法による鋳型砂を用いた鋳型と比較して測定した。その結果を表1に示す。
本発明の鋳型砂を使用し、アルカリフェノール樹脂法により鋳型を成型した。アルカリフェノール樹脂(神戸理化社製、商品名PHENIX 510A)は鋳型砂100重量部に対し2.0重量部使用し、有機エステル硬化剤(神戸理化社製、C−10)はアルカリフェノール樹脂100重量部に対し20重量部使用した。また、成型時の気温は20℃で、湿度は60%であった。
得られた鋳型の経過時間毎の圧縮強さ及び充填密度を、従来の焼結法による鋳型砂を用いた鋳型と比較して測定した。その結果を表2に示す。
本発明の鋳型砂を使用し、コールドボックス法により鋳型を成型した。バインダー(保土谷化学社製)の使用量は、パートI(308SR)、パートII(608TT)とも、それぞれ鋳型砂100重量部に対し0.5重量部とした。また、成型時の気温は20℃で、湿度は60%であった。
得られた鋳型の経過時間毎の抗折強度と充填密度を、従来の焼結法による鋳型砂を用いた鋳型と比較して測定した。その結果を表3に示す。
本発明の鋳型砂を使用し、フェノール樹脂法により鋳型を成型した。具体的には、鋳型砂を150℃に加熱した後、フェノール樹脂を鋳型砂100重量部に対し2.0重量部添加して混練し、105℃になったときに硬化剤(ヘキサメチレンテトラミン)を添加し、更に冷風を吹き込みながら混練した。その後、流動性を高めるためステアリン酸カルシウムを鋳型砂100重量部に対し0.05重量部添加してRCSを得た。なお、成型時の気温は20℃で、湿度は60%であった。
得られたRCSを用いて圧縮強度を、従来の焼結法による鋳型砂を用いた場合と比較して測定した。その結果を表4に示す。
本発明の鋳型砂を使用し、アルカリフェノール樹脂法により熱膨張率測定用の試験片を作製した。具体的には、アルカリフェノール樹脂(花王クエーカー社製、S661K)を鋳型砂100重量部に対し1.2重量部使用し、有機エステル硬化剤(花王クエーカー社製、QX140)をアルカリフェノール樹脂100重量部に対し25重量部使用して、直径50mm×高さ50mmの試験片を作製した。成型時の気温は20℃で、湿度は60%であった。
上記の試験片を放置し硬化させた後、直示式熱膨張計にセットし、1000℃に保持した電気炉内で急熱した時の熱膨張率を、従来技術の鋳型砂、クロマイトサンド及びフラタリー珪砂(輸入珪砂)と比較して測定した。その結果を表5に示す。
本発明の鋳型砂を使用してアルカリフェノール樹脂法により鋳型を成型し、市販の砂再生機を使用して再生砂を得た。さらにこれらの操作を3回繰り返して鋳型を成型し、24時間放置後の圧縮強度を測定した。なお、アルカリフェノール樹脂は鋳型砂100重量部に対し1.6重量部使用し、硬化剤は樹脂100重量部に対し25重量部使用した。成型時の気温は20℃で、湿度は60%であった。
得られた鋳型の圧縮強度を、従来技術による鋳型砂を用いた鋳型と比較して測定した。その結果を表6に示す。
6…溶融球状物
Claims (2)
- Al2O3が70重量%以上でSiO2が10重量%を超え12.77重量%以下の化学成分を有し、アルミナ結晶相を結晶構成の主要構成物とする溶融球状物からなり、この溶融球状物が30〜3000μmの粒度分布を有することを特徴とする、鋳型砂。
- Al2O3−SiO2系の耐火物原料を溶融させ、この溶融物に高圧ガスを吹き付けて微粒状に飛散させながら冷却固化することで、Al2O3が70重量%以上でSiO2が10重量%を超え12.77重量%以下の化学成分を有し、アルミナ結晶相を結晶構成の主要構成物とし、且つ30〜3000μmの粒度分布を有する溶融球状物を形成することを特徴とする、鋳型砂の製造方法。
Priority Applications (1)
| Application Number | Priority Date | Filing Date | Title |
|---|---|---|---|
| JP2009231802A JP5075902B2 (ja) | 2009-10-05 | 2009-10-05 | 鋳型砂とその製造方法 |
Applications Claiming Priority (1)
| Application Number | Priority Date | Filing Date | Title |
|---|---|---|---|
| JP2009231802A JP5075902B2 (ja) | 2009-10-05 | 2009-10-05 | 鋳型砂とその製造方法 |
Related Parent Applications (1)
| Application Number | Title | Priority Date | Filing Date |
|---|---|---|---|
| JP2004001072A Division JP4448945B2 (ja) | 2004-01-06 | 2004-01-06 | 鋳型砂とその製造方法 |
Publications (2)
| Publication Number | Publication Date |
|---|---|
| JP2010042449A true JP2010042449A (ja) | 2010-02-25 |
| JP5075902B2 JP5075902B2 (ja) | 2012-11-21 |
Family
ID=42014251
Family Applications (1)
| Application Number | Title | Priority Date | Filing Date |
|---|---|---|---|
| JP2009231802A Expired - Lifetime JP5075902B2 (ja) | 2009-10-05 | 2009-10-05 | 鋳型砂とその製造方法 |
Country Status (1)
| Country | Link |
|---|---|
| JP (1) | JP5075902B2 (ja) |
Cited By (7)
| Publication number | Priority date | Publication date | Assignee | Title |
|---|---|---|---|---|
| JP2011206772A (ja) * | 2010-03-26 | 2011-10-20 | Kubota Corp | 鋳物の製造方法 |
| JP2013043180A (ja) * | 2011-08-22 | 2013-03-04 | Kinsei Matec Co Ltd | 鋳型砂とその製造方法 |
| CN104646597A (zh) * | 2015-01-22 | 2015-05-27 | 安徽省繁昌县皖南阀门铸造有限公司 | 一种高透气性铸造型砂及其制备方法 |
| CN111256472A (zh) * | 2020-03-16 | 2020-06-09 | 赵华星 | 一种低密度熔融陶瓷砂的制备系统及制备方法 |
| CN113280622A (zh) * | 2021-05-21 | 2021-08-20 | 山西沁新能源集团股份有限公司 | 导流机构、通风装置和生产设备 |
| CN113976815A (zh) * | 2021-09-28 | 2022-01-28 | 山西沁新能源集团股份有限公司 | 铸造用球形砂及其制备方法 |
| CN113976814A (zh) * | 2021-09-28 | 2022-01-28 | 山西沁新能源集团股份有限公司 | 铸造用球形砂及其制备方法 |
Families Citing this family (1)
| Publication number | Priority date | Publication date | Assignee | Title |
|---|---|---|---|---|
| CN106238668A (zh) * | 2016-08-22 | 2016-12-21 | 内蒙古第机械集团有限公司 | 静压造型铸造成型工艺生产高锰钢履带板的方法 |
Citations (2)
| Publication number | Priority date | Publication date | Assignee | Title |
|---|---|---|---|---|
| JPS6163333A (ja) * | 1984-09-05 | 1986-04-01 | Naigai Taika Kogyo Kk | 鋳物用鋳型材の製造方法 |
| JP2003251434A (ja) * | 2002-02-28 | 2003-09-09 | Yamakawa Sangyo Kk | 鋳型用砂及びその製造方法 |
-
2009
- 2009-10-05 JP JP2009231802A patent/JP5075902B2/ja not_active Expired - Lifetime
Patent Citations (2)
| Publication number | Priority date | Publication date | Assignee | Title |
|---|---|---|---|---|
| JPS6163333A (ja) * | 1984-09-05 | 1986-04-01 | Naigai Taika Kogyo Kk | 鋳物用鋳型材の製造方法 |
| JP2003251434A (ja) * | 2002-02-28 | 2003-09-09 | Yamakawa Sangyo Kk | 鋳型用砂及びその製造方法 |
Cited By (9)
| Publication number | Priority date | Publication date | Assignee | Title |
|---|---|---|---|---|
| JP2011206772A (ja) * | 2010-03-26 | 2011-10-20 | Kubota Corp | 鋳物の製造方法 |
| JP2013043180A (ja) * | 2011-08-22 | 2013-03-04 | Kinsei Matec Co Ltd | 鋳型砂とその製造方法 |
| CN104646597A (zh) * | 2015-01-22 | 2015-05-27 | 安徽省繁昌县皖南阀门铸造有限公司 | 一种高透气性铸造型砂及其制备方法 |
| CN111256472A (zh) * | 2020-03-16 | 2020-06-09 | 赵华星 | 一种低密度熔融陶瓷砂的制备系统及制备方法 |
| CN113280622A (zh) * | 2021-05-21 | 2021-08-20 | 山西沁新能源集团股份有限公司 | 导流机构、通风装置和生产设备 |
| CN113976815A (zh) * | 2021-09-28 | 2022-01-28 | 山西沁新能源集团股份有限公司 | 铸造用球形砂及其制备方法 |
| CN113976814A (zh) * | 2021-09-28 | 2022-01-28 | 山西沁新能源集团股份有限公司 | 铸造用球形砂及其制备方法 |
| CN113976814B (zh) * | 2021-09-28 | 2023-10-17 | 山西沁新能源集团股份有限公司 | 铸造用球形砂及其制备方法 |
| CN113976815B (zh) * | 2021-09-28 | 2024-01-23 | 山西沁新能源集团股份有限公司 | 铸造用球形砂及其制备方法 |
Also Published As
| Publication number | Publication date |
|---|---|
| JP5075902B2 (ja) | 2012-11-21 |
Similar Documents
| Publication | Publication Date | Title |
|---|---|---|
| JP4448945B2 (ja) | 鋳型砂とその製造方法 | |
| JP5075902B2 (ja) | 鋳型砂とその製造方法 | |
| JP4326916B2 (ja) | 球状鋳物砂 | |
| JP5507262B2 (ja) | 鋳型用骨材粒子 | |
| JP2003251434A (ja) | 鋳型用砂及びその製造方法 | |
| JP5819551B1 (ja) | 人工砂及び鋳型用粘結剤含有砂 | |
| JP5869161B1 (ja) | 鋳型用粘結剤含有砂の製造方法 | |
| CN110944768A (zh) | 铸模材料和其制造方法、铸模的制造方法、以及回收耐火性骨料的再生方法 | |
| WO2004052572A1 (ja) | 球状鋳物砂及び製造方法 | |
| JP5815328B2 (ja) | 鋳型砂とその製造方法 | |
| JP5567353B2 (ja) | 球状耐火粒子及びそれからなる鋳物砂並びにそれを用いて得られた鋳型 | |
| JP6462347B2 (ja) | 鋳型砂とその製造方法 | |
| JP6367451B1 (ja) | 焼結人工砂 | |
| JP2019089124A (ja) | 焼結人工砂 | |
| JP4603463B2 (ja) | 球状鋳物砂 | |
| JP5276861B2 (ja) | 鋳型用セラミック骨材及びその製造方法、並びにそれを用いた鋳型 | |
| JP4615370B2 (ja) | 鋳物砂 | |
| JP5980612B2 (ja) | 骨材粒子およびその製造方法 | |
| JP6865424B1 (ja) | 溶融風砕法人工砂及びその製造方法 | |
| JP5933800B1 (ja) | 鋳型用粘結剤含有砂及びその製法 | |
| JP6595688B2 (ja) | 鋳型砂とその製造方法 | |
| JP4364717B2 (ja) | 鋳物砂組成物 | |
| JP6552855B2 (ja) | 人工鋳物砂及びその製造方法 | |
| CN117819948B (zh) | 一种钢包用上水口砖及其制备方法 | |
| CN109434008A (zh) | 一种高合金材质铸钢件用非硅质覆膜砂及其制备方法 |
Legal Events
| Date | Code | Title | Description |
|---|---|---|---|
| A131 | Notification of reasons for refusal |
Free format text: JAPANESE INTERMEDIATE CODE: A131 Effective date: 20120508 |
|
| TRDD | Decision of grant or rejection written | ||
| A01 | Written decision to grant a patent or to grant a registration (utility model) |
Free format text: JAPANESE INTERMEDIATE CODE: A01 Effective date: 20120801 |
|
| A01 | Written decision to grant a patent or to grant a registration (utility model) |
Free format text: JAPANESE INTERMEDIATE CODE: A01 |
|
| A61 | First payment of annual fees (during grant procedure) |
Free format text: JAPANESE INTERMEDIATE CODE: A61 Effective date: 20120827 |
|
| R150 | Certificate of patent or registration of utility model |
Ref document number: 5075902 Country of ref document: JP Free format text: JAPANESE INTERMEDIATE CODE: R150 Free format text: JAPANESE INTERMEDIATE CODE: R150 |
|
| FPAY | Renewal fee payment (event date is renewal date of database) |
Free format text: PAYMENT UNTIL: 20150831 Year of fee payment: 3 |
|
| R250 | Receipt of annual fees |
Free format text: JAPANESE INTERMEDIATE CODE: R250 |
|
| R250 | Receipt of annual fees |
Free format text: JAPANESE INTERMEDIATE CODE: R250 |
|
| R250 | Receipt of annual fees |
Free format text: JAPANESE INTERMEDIATE CODE: R250 |
|
| R250 | Receipt of annual fees |
Free format text: JAPANESE INTERMEDIATE CODE: R250 |
|
| R250 | Receipt of annual fees |
Free format text: JAPANESE INTERMEDIATE CODE: R250 |
|
| R250 | Receipt of annual fees |
Free format text: JAPANESE INTERMEDIATE CODE: R250 |
|
| R250 | Receipt of annual fees |
Free format text: JAPANESE INTERMEDIATE CODE: R250 |
|
| R250 | Receipt of annual fees |
Free format text: JAPANESE INTERMEDIATE CODE: R250 |
|
| EXPY | Cancellation because of completion of term |
