JP2010041777A - 圧電振動子の保持装置 - Google Patents

圧電振動子の保持装置 Download PDF

Info

Publication number
JP2010041777A
JP2010041777A JP2008199643A JP2008199643A JP2010041777A JP 2010041777 A JP2010041777 A JP 2010041777A JP 2008199643 A JP2008199643 A JP 2008199643A JP 2008199643 A JP2008199643 A JP 2008199643A JP 2010041777 A JP2010041777 A JP 2010041777A
Authority
JP
Japan
Prior art keywords
piezoelectric vibrator
leaf spring
holding device
fixed
support member
Prior art date
Legal status (The legal status is an assumption and is not a legal conclusion. Google has not performed a legal analysis and makes no representation as to the accuracy of the status listed.)
Granted
Application number
JP2008199643A
Other languages
English (en)
Other versions
JP4802313B2 (ja
Inventor
Takashi Yoshida
崇 吉田
Mikio Takimoto
幹夫 滝本
Masahiro Takano
昌宏 高野
Kenichi Hirosaki
憲一 廣崎
Current Assignee (The listed assignees may be inaccurate. Google has not performed a legal analysis and makes no representation or warranty as to the accuracy of the list.)
Ishikawa Prefecture
Nikko Co Ltd
Nikko KK
Original Assignee
Ishikawa Prefecture
Nikko Co Ltd
Nikko KK
Priority date (The priority date is an assumption and is not a legal conclusion. Google has not performed a legal analysis and makes no representation as to the accuracy of the date listed.)
Filing date
Publication date
Application filed by Ishikawa Prefecture, Nikko Co Ltd, Nikko KK filed Critical Ishikawa Prefecture
Priority to JP2008199643A priority Critical patent/JP4802313B2/ja
Priority to US13/056,889 priority patent/US8531091B2/en
Priority to PCT/JP2008/069777 priority patent/WO2010013361A1/ja
Publication of JP2010041777A publication Critical patent/JP2010041777A/ja
Application granted granted Critical
Publication of JP4802313B2 publication Critical patent/JP4802313B2/ja
Active legal-status Critical Current
Anticipated expiration legal-status Critical

Links

Images

Classifications

    • HELECTRICITY
    • H02GENERATION; CONVERSION OR DISTRIBUTION OF ELECTRIC POWER
    • H02NELECTRIC MACHINES NOT OTHERWISE PROVIDED FOR
    • H02N2/00Electric machines in general using piezoelectric effect, electrostriction or magnetostriction
    • H02N2/0005Electric machines in general using piezoelectric effect, electrostriction or magnetostriction producing non-specific motion; Details common to machines covered by H02N2/02 - H02N2/16
    • H02N2/001Driving devices, e.g. vibrators
    • H02N2/003Driving devices, e.g. vibrators using longitudinal or radial modes combined with bending modes
    • H02N2/004Rectangular vibrators
    • HELECTRICITY
    • H02GENERATION; CONVERSION OR DISTRIBUTION OF ELECTRIC POWER
    • H02NELECTRIC MACHINES NOT OTHERWISE PROVIDED FOR
    • H02N2/00Electric machines in general using piezoelectric effect, electrostriction or magnetostriction
    • H02N2/0005Electric machines in general using piezoelectric effect, electrostriction or magnetostriction producing non-specific motion; Details common to machines covered by H02N2/02 - H02N2/16
    • H02N2/005Mechanical details, e.g. housings
    • H02N2/0055Supports for driving or driven bodies; Means for pressing driving body against driven body
    • H02N2/006Elastic elements, e.g. springs
    • HELECTRICITY
    • H10SEMICONDUCTOR DEVICES; ELECTRIC SOLID-STATE DEVICES NOT OTHERWISE PROVIDED FOR
    • H10NELECTRIC SOLID-STATE DEVICES NOT OTHERWISE PROVIDED FOR
    • H10N30/00Piezoelectric or electrostrictive devices
    • H10N30/20Piezoelectric or electrostrictive devices with electrical input and mechanical output, e.g. functioning as actuators or vibrators
    • H10N30/202Piezoelectric or electrostrictive devices with electrical input and mechanical output, e.g. functioning as actuators or vibrators using longitudinal or thickness displacement combined with bending, shear or torsion displacement
    • H10N30/2023Piezoelectric or electrostrictive devices with electrical input and mechanical output, e.g. functioning as actuators or vibrators using longitudinal or thickness displacement combined with bending, shear or torsion displacement having polygonal or rectangular shape

Landscapes

  • General Electrical Machinery Utilizing Piezoelectricity, Electrostriction Or Magnetostriction (AREA)

Abstract

【課題】振動エネルギーの損失および振動特性の変化がなく、高効率で安定に出力の供給が可能な圧電振動子の保持装置を提供する。
【解決手段】圧電振動子の保持装置において、圧電振動子1を離隔して収容する枠形または箱形の支持部材11と、この支持部材11の側部と圧電振動子1との間に介在される板ばね構造体12とを有し、この板ばね構造体12は、支持部材11の片側部に固着された基端部から圧電振動子1の対向両側部を挟むように圧電振動子の側部をまたいで折り返されて該圧電振動子に固着された第1の板ばね部材13と、支持部材11の他方の片側部に固着された基端部から圧電振動子1の対向両側部を挟むように圧電振動子1の側部をまたいで折り返されて該圧電振動子に固着された第2の板ばね部材18とを有し、第1の板ばね部材13と第2の板ばね部材18が圧電振動子1との固着部分で一体化されている。
【選択図】 図7

Description

本発明は、圧電素子を用いた超音波モータ、超音波アクチュエータ、あるいは超音波加工機などに利用される角柱形又は円柱形の形状その他の断面形状をもつ棒状圧電振動子の保持装置に関する。
例えば電磁モータに代わる駆動装置として圧電振動子を用いた超音波モータが開発されており、また、圧電振動子の出力端に加工手段を形成して各種の接触加工を行う超音波加工機も知られている。これらはいずれも振動子の振動エネルギーを駆動力や加工力とするものであり、この場合の圧電振動子は固有振動モードに応じた周波数の電圧を印加することで、共振状態を形成し、大きな振幅を得てこれに摩擦接触する相手部材に回転、直動などの駆動力や加工力を与えるものである。この原理を利用した超音波振動子や超音波モータについては特許文献1〜5などに詳述されている。
このような圧電振動子は、実施化に際して何らかの手段で支持部材に機構的に支持することが必要となる。この場合、その支持手段としては、振動のエネルギー損失が少なく、かつ、振動特性の変化がないことが重要である。また、超音波モータや超音波加工機は、通常、振動子の先端を相手部材(移送体や被加工物)に加圧接触させて、振動子の振動エネルギーを相手部材に対して駆動力や加工力として与えるものであり、したがって、振動子を保持しつつ相手部材を加圧する加圧機構が必要となる。
従来の圧電振動子の保持構造としては、例えば特許文献1に示すように、圧電振動子を枠形の案内ケース内に加圧方向に摺動可能に収容して支持し、前記案内ケースをばね手段で加圧方向に押圧することにより、圧電振動子を相手部材に圧接する構造とした超音波モータが開示されている。
図11を参照して、この超音波モータの構造を説明すれば、案内ケース25内に収容された矩形状の圧電振動子1は、その節部の位置2箇所で前記ケース25の案内部25a,25bで支持するとともに、案内ケース25の内端面の突出部26を弾性部材27を介して圧電振動子1の出力端28と反対側の端部に接当させ、案内ケース25の側部を固定側の案内板29によって摺動可能に支持し、また、前記案内ケース25の端部をコイルばね30によって押圧し、これによって圧電振動子1の出力端28を駆動対象部材(被駆動体)31に圧接するようにしている。
この構造で圧電振動子を所定周波数の電圧印加によって振動励起することにより、圧電振動子は同時に屈曲振動および伸縮振動を行い、その出力端が楕円振動して前記被駆動体に周期的に圧接し、両者間の摩擦力で前記被駆動体を回転あるいは直動などの動作を行わせる。
特開平11−346486号公報 特許第3311446号公報 特開2004−297951号公報 特開2000−116162号公報 特開2005−65358号公報 特許第27722211号公報
図11に示す超音波モータでは、圧電振動子1の振動変位の最も小さい節の部分で加圧方向に垂直な2方向から圧電振動子を支持し、加圧方向以外の自由度を拘束し、かつ出力を取り出す出力端28に対して反対側の端部を案内ケース25の内壁の突出部26に接当させ、ケース自体を外部からコイルばね30によって押圧し、これによって加圧方向の変位を規制するという構造をとっている。しかし、この構造では、圧電振動子1の側部と案内ケース25の振動子案内部25a,25bとが接着固定されていないことから、この部位での僅かなすべりやガタのため圧電振動子1の振動特性が変化してしまう。そのため、安定した駆動出力を提供できないという問題が生じる。
また、案内ケース25の突出部26と接当して押圧される圧電振動子1の端部は、振動の節部分ではなく、先端側の出力端28と同様の振動をしているため、すべり等によるエネルギー損失が発生する。さらに、この超音波モータの加圧機構には通常のコイルばね30を用いているので、前記出力端28と接触する被駆動体31の平面精度の関係で圧電振動子1と被駆動体31との距離が変化すると、コイルばね30によって発生する加圧力が変化してしまう。この加圧力(押圧力)は、超音波モータや超音波加工機では出力に大きな影響を与えるため、このような押圧力の変化は極力避けなければならないが、上述のようなコイルばねによる加圧力付与では難しいという問題がある。
本発明は、振動エネルギーの損失および振動特性の変化がなく、高効率で安定に出力の供給が可能な圧電振動子の保持装置を提供することにある。
本発明はさらに、圧電振動子に一定の加圧力を付与することができ、より、低コストでコンパクトな構造を有し、かつ、安定した出力を維持できる圧電振動子の保持装置を提供することにある。
本発明によれば、圧電振動子の保持装置において、前記圧電振動子の側部に加圧方向に離隔した少なくとも2枚の板ばねの一端が固着され、前記板ばねの他端が支持部材に固定され、前記板ばねの板面が前記圧電振動子の加圧方向に向いていることを特徴とする。
本発明の請求項2に係る圧電振動子の保持装置は、請求項1の構成において、前記板ばねは、前記圧電振動子の振動変位の小さい節部分の位置で該圧電振動子に固着されることを特徴とする。
また、本発明の請求項3に係る圧電振動子の保持装置は、請求項1または2の構成において、前記板ばねは、各々その長さが互いに等しく、かつ互いに平行に配置されることを特徴とする。
また、本発明の請求項4に係る圧電振動子の保持装置は、請求項1〜3の構成において、前記支持部材が前記板ばねによって前記圧電振動子の加圧方向に向けて弾性的に押圧されていることを特徴とする。
さらに、本発明の請求項5に係る圧電振動子の保持装置は、請求項1〜4の構成において、前記圧電振動子の対向両側部にそれぞれ少なくとも2枚の板ばねが固着されることを特徴とする。
また、本発明の請求項6に係る圧電振動子の保持装置は、前記圧電振動子の対向両側部に、加圧方向に離隔した少なくとも2枚の板ばねの一端が固着され、前記板ばねの他端が支持部材に固定され、前記板ばねの板面は前記圧電振動子の前記両側部と直角な他方の側部を含む平面に対して垂直方向に向いており、前記圧電振動子の押し付け時に前記板ばねが座屈変形するように各々の前記板ばねの長さが、前記圧電振動子と前記支持部材との間の距離よりも長く形成されることを特徴とする。
本発明の請求項7に係る圧電振動子の保持装置は、前記圧電振動子を離隔して収容する枠形または箱形の支持部材と、前記支持部材の側部と前記圧電振動子との間に介在される板ばね構造体とを有し、前記板ばね構造体は、前記支持部材の片側部に固着された基端部から前記圧電振動子の対向両側部を挟むように前記圧電振動子の前記側部をまたいで折り返されて該圧電振動子に固着された第1の板ばね部材と、前記支持部材の他方の片側部に固着された基端部から前記圧電振動子の前記対向両側部を挟むように前記圧電振動子の前記側部をまたいで折り返されて該圧電振動子に固着された第2の板ばね部材とを有し、前記第1の板ばね部材と前記第2の板ばね部材が前記圧電振動子との固着部分で一体化されていることを特徴とする。
また、本発明の請求項8に係る圧電振動子の保持装置は、請求項7に構成において、前記圧電振動子は、該圧電振動子の加圧方向に離隔した少なくとも2体の前記板ばね構造体によって前記支持部材に保持されることを特徴とする。
また、本発明の請求項9に係る圧電振動子の保持装置は、請求項7または8の構成において、前記板ばね構造体は、前記圧電振動子の振動変位の小さい節部分の位置で該圧電振動子と前記支持部材との間に介在されることを特徴とする。
さらに、本発明の請求項10に係る圧電振動子の保持装置は、請求項7〜9の構成において、前記板ばね構造体は、全体として前記圧電振動子の加圧方向に向いた板面を有することを特徴とする。
また、本発明に係る圧電振動子は全体として棒状の形状を成し、かつその横断面が矩形状あるいは多角形状のもの、および横断面が円形状あるいは楕円形状のもの等いずれの形状のものにも適用可能である。
本発明によれば、振動エネルギーの損失および振動特性の変化が無く、高効率で安定に出力の供給が可能な圧電振動子の保持装置が得られる。また、圧電振動子に一定の加圧力を付与することができ、よりコンパクトな構造で安定した出力を維持できる圧電振動子の保持装置を実現することができる。
以下、本発明の実施の形態について図面を参照して説明する。
第1実施形態
図1は本発明の第1の実施形態による矩形状圧電振動子の保持装置を示した図であり、同図(a)はその側部断面図、同図(b)は図1(a)のA−A線断面図である。この実施形態による圧電振動子1は横断面が長方形を成した角柱状の振動子であり、その先端の出力面1aに被駆動体あるいは被加工物等の相手部材(図1には図示省略)に圧接する突部2が形成されている。なお、超音波加工機とする場合は、出力面1aの突部2は、加工形態に応じて、加工動作に適した突部に形成されるか、あるいは適切な加工具が連結される。なお、以下の実施形態では、いずれも圧電振動子の形状を横断面が矩形となった矩形状圧電振動子としたが、横断面が多角形状のもの、および円柱状あるいは楕円形状の圧電振動子の場合にも同様に適用可能である。また、以下の実施形態では全長にわたって太さの等しい棒状の圧電振動子を例示して説明するが、本発明は太さの異なる棒状の圧電振動子についても適用可能であり、本発明はこのような形態のものも範囲に含まれる。
この矩形状圧電振動子1の側方に固定側となる支持部材3が配置され、この支持部材3と圧電振動子1の側部との間に一対の平行な板ばね5が設けられている。この場合、各板ばね5の両端部はそれぞれ圧電振動子1の側部と支持部材3の壁面に接着固定されている。各板ばね5は、圧電振動子1の加圧方向にその板面5aが向くように、つまり板ばね5の板厚方向が圧電振動子1の加圧方向(矢印F方向)と一致するように配置され、かつ一対の板ばね5の厚み、横幅および長さが等しくされている。なお、本発明においては、一対の板ばね5は必ずしもその厚み、横幅が等しいものでなくてもよく、互いに長さが等しく、かつ厚みや横幅が異なる一対の板ばねとしてもよい。
圧電振動子1に対する各々の板ばね5の固着位置は、圧電振動子1の振動振幅の最も小さい節部に固着されるのが好ましい。これに関して、図3を参照し、圧電振動子1の振動の様子を模型的に説明すれば、矩形状の圧電振動子1は、固有振動モードに応じた周波数の電圧を印加することにより、振動子全体に屈曲と伸縮の剛性振動が生じ、前記相手部材に対して加圧荷重がかけられる出力端4では楕円振動が誘起される。
ここで、圧電振動子1の長さ方向の所定位置で振動しない部位があり、この位置を振動の節と称している。このような節部6は振動モードにより1箇所または長さ方向複数箇所に生じるが、第1実施形態では、振動子1の各端部に近い2箇所の位置で生じた例を示す。一対の板ばねは、このような節部6を支持するように圧電振動子の側部2箇所に接着固定されている。
第1実施形態では、予め前記相手部材に対して、圧電振動子の出力面の突部が所定の押圧力を有して圧接するように初期位置が設定される。なお、図1(a)は圧接前の状態の側部断面図であり、図1(c)は作動時、即ち圧電振動子1の突部2と相手部材7との圧接開始の状態を示している。
この構成においては、板ばね5と圧電振動子1が接着固定されているため、両者の間にガタやすべりが発生せず、振動特性の変化がなく、安定した出力を発生させることができる。また、板ばね5の板面5aが加圧方向に向いているため、加圧方向に対して適度な柔軟性を有し、これによって振動子1の振動が抑制されず、エネルギー損失が少ない。さらに、加圧方向以外の剛性は、板ばね5の形態により十分高く、加圧方向には安定した加圧力を作用させることができるため、コイルばねなどによる付加的な加圧機構は必要とせず、低コストでコンパクトな保持装置を実現できる。
なお、上記の実施形態では、圧電振動子1の片側面上で2枚の平行な板ばねで支持する形態を示したが、3枚あるいはそれ以上の板ばねで支持するようにしてもよい。この場合も各板ばねは振動子の節の部分に固着されるのがよい。
(変形例1)
図2は第1実施形態の変形例1を示す側部断面図である。この例では、角柱状圧電振動子1の対向両側面にそれぞれ一対の平行な板ばね5,8が固着され、かつ、その固着位置は圧電振動子1の節部6(図3)の位置となっている。各々の板ばね5,8の圧電振動子1と反対側の板ばね端部5b,8bは支持部材3に接着固定される。4枚の板ばね5,8はともにその板面5a,8aが圧電振動子の加圧方向に向いており、また、これら4枚の板ばね5,8は互いに平行に配置されている。動作開始時に圧電振動子1の出力面1aの突部2を相手部材に圧接させるときは、図1(c)で説明した場合と同様に圧電振動子1が相手部材によって加圧方向と反対側へ若干押し込まれるように初期位置の設定がなされ、この位置で圧電振動子1の突部2と相手部材間に板ばね5,8のばね力による初期加圧力がかけられる。
第2実施形態
図4(a)は本発明の第2実施形態の矩形状圧電振動子の保持装置の側部断面図であり、図4(b)は図4(a)のB−B線断面図である。また、図5は圧電振動子の出力面の突部が相手部材に圧接した作動時の側部断面図である。図4(a),(b)に示すように、角柱状圧電振動子1の対向両側面1b,1cにそれぞれ一対の平行な板ばね9,10の一端が接着固定され、また、板ばね9,10の各他端は固定側の支持部材3に接着固定されることは第1の実施形態の変形例1と同様であるが、第2実施形態では各板ばね9,10は、圧電振動子1と支持部材3との間の距離dよりも長く形成されている。そして、支持部材3との固着位置よりも圧電振動子1の側面との固着位置が圧電振動子1の出力面1a側に寄って取り付けられている。つまり、各板ばね9,10は、作動開始前の状態においては、圧電振動子1の出力面1aへ向って偏倚するように傾斜している。
また、板ばね9,10の板面9a,10aは、概ね圧電振動子1の加圧方向に向いて形成されている。より正確には、板ばね9,10の板面9a,10a(図4(b))は、圧電振動子1の板ばね固着側の側面と直角関係にある他方の側面1hを含む平面に対して垂直な面上に存在するように形成されている。
圧電振動子1の作動開始状態では、被駆動部材や被加工物など相手部材7に圧電振動子1の出力面1aの突部2を押し付けつつ、支持部材3を相手部材7側へ押動させる。これによって圧電振動子1を支持している板ばね9,10は図5に示すようにV状に座屈変形した形態となって圧電振動子1の突部2が相手部材7に所定の押圧力で圧接される形態となる。この状態で、圧電振動子1に所定振動モードによる周波数の電圧を印加し、出力面の突部2に振動出力を生じさせる。
上述のように座屈変形した板ばねは非線形ばね特性を有する。図6(a)に非線形ばね特性を、同図(b)に通常のばね特性を示す。通常のばね特性では、ばねに加わる荷重とばね変位はフックの法則に従った比例関係を示すが、非線形ばね特性の場合は、図6の如く或る変位を超えると荷重の変化が略一定となる。したがって、初期設定で圧電振動子を相手部材へ向けて押し付けるように変位させる際には、この非線形ばね特性の荷重一定の変位部分(ΔX1)に設定する。
同じ変位部分でも通常のばね特性をもつ支持ばねの場合は、変位の変化量ΔX1に対する荷重の変化量ΔF1が大きく、超音波モータなどに適用した場合、押し付け量の変動で圧電振動子の相手部材に対する加圧力は比例関係で変化するため、加圧力の変動が大きく、安定した作動が得られなくなるが、図4,図5に示すような座屈状態の板ばね9,10で支持した場合、圧電振動子1の出力面1aの位置が変化しても一定荷重での加圧が可能になる。これによって、例えば、超音波モータで相手部材を直動させる場合、圧電振動子1と接触する相手部材7の平面精度を緩和させることができ、また、それだけ相手部材7の移動距離を大きくでき、また移動速度も安定化し得る。
(変形例2)
上述の第2実施形態では、圧電振動子の1つの対向両側面に板ばねを固着した例を示したが、第2実施形態の変形例として圧電振動子の2つの対向両側面、即ち、4側面に同様の押し付け設定時に座屈状態となる板ばねを取り付けた構造とすることもできる。そして非線形ばね特性の荷重一定部分を利用することにより、被移動体や被加工物となる相手部材と圧電振動子との距離(振動子の加圧方向の接触位置)が或る領域で変化しても、加圧力を一定で作用させることができる。したがって、本発明の超音波モータや超音波加工機においては、相手部材に安定した摩擦力や加工力の作用を与えることができる。
第3実施形態
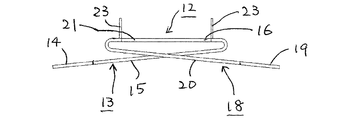
図7は本発明の第3実施形態に係る矩形状圧電振動子の保持装置の縦断面図であり、図8はその斜視図である。なお、図8では明瞭化のため、後述する板ばね構造体を固着する固定側の支持部材は図示省略してある。図9は第3実施形態における板ばね構造体の拡大斜視図である。また、図10は図9に示した第3実施形態に係る板ばね構造体の側面図である。これらの図を参照すれば、この第3実施形態の保持装置は、矩形状の圧電振動子1を離隔状態に収容する箱形の支持部材11を有している。支持部材11の一端部に貫通孔11aが形成され、この貫通孔11aから圧電振動子1の出力面1aに形成した突部2が部分的に突出している。圧電振動子1の前述した節部に対応する部位2箇所で圧電振動子1はそれぞれ板ばね構造体12によって箱形支持部材11の内壁11b,11cに支持され、この板ばね構造体12のばね力によって圧電振動子1の突部2に押し込み外力がかかったときに弾性的な反力を生じるようになっている。なお、この板ばね構造体12の板面12aは全体として圧電振動子1の加圧方向に向いている。
板ばね構造体12は、互いに一体に結合された第1、第2の板ばね部材13,18で構成されている。
第1の板ばね部材13は、支持部材11の一方の側壁11bに固着される幅広の基端部14を有する。この基端部14から圧電振動子1の対向両側部1dを挟むように一対の帯状部15が該側部1dをまたぐように伸長し、基端部14と反対側の圧電振動子1の側部位置でわん曲状に折り返えされてから、圧電振動子1の該両側部1dに固着されている。なお、この実施形態では一対の帯状部15の折り返えし部16が基端部14の反対側の圧電振動子1の側部1eに接して互いに一体に連結され、この部分(符号17の部分)でも前記側部1eに接着固定されている。
第2の板ばね部材18は、支持部材11の他方の側壁11c、即ち、第1の板ばね部材13の基端部14が固着される側と反対側の支持部材11の側壁11cに接着固定される幅広の基端部19を有する。この基端部19から圧電振動子1の対向両側部1dを間に挟むように一対の帯状部20が該側部1dをまたぐように伸長し、前記第2の板ばね部材18の基端部19と反対側の圧電振動子1の側部1f位置でわん曲状に折り返えされてから、圧電振動子1に固着されている。なお、第2の板ばね部材18の帯状部20は、図8に示すように、第1の板ばね部材13の帯状部15の外側に伸長して圧電振動子1の側部1dをまたいでいる。
第2の板ばね部材18の一対の帯状部20の折り返えし部21も、第1の板ばね部材13と同様に、該第2の板ばね部材18の基端部19と反対側の圧電振動子側部1dに接して互いに一体に連結され(符号22の部分)、かつ、この部分で前記側部1d,1fに固着されている。また、第1,第2の板ばね部材13,18の帯状部15,20がまたいでいる圧電振動子1の両側部1dの位置で第1、第2の板ばね部材13,18の折り返えし部16,21から該側部1dに沿って伸びる部分は両者一体化されて該側部1dに固着されている。なお、各板ばね部材13,18について、一対の折り返えし部16,21を一体に連結した部分17,22には、圧電振動子1の側面1e,1fに密着する平板部23が形成され、この平板部23の部分でも圧電振動子1の側面1e,1fに接着固定され、これによって各板ばね部材13,18と圧電振動子1との固着がより確実になされる。
支持部材11に対する圧電振動子1の加圧方向の押し付け弾性力は、圧電振動子1を囲む板ばね構造体12の4本(対向両側面の各片側に2本づつ、合計4本)の帯状部15,20のばね性によってもたらされる。この弾性力の強さは前記帯状部15,20の長さにも依存する。一般に、加圧方向の柔軟性をより増加させる場合、板ばねの長さを長くする必要があるが、本発明の構造では、帯状部15,20は圧電振動子1の側部1dに沿って伸長し、しかも基端部14,19側と反対側の圧電振動子1の側部1f,1eで折り返えす構成としているので、全体のコンパクト化を図りながら、加圧方向の柔軟性を確保できる。
板ばね構造体12の支持部材11に固着される基端部14,19の位置は、圧電振動子1との固着位置よりも加圧方向の出力面1aと反対側に寄った位置で固着されており、したがって帯状部15,20は加圧方向に向けて傾斜状態に伸長する構成となっている。また、図示のように、第1、第2の板ばね部材13,18の帯状部15,20の傾斜方向は逆向きであって、圧電振動子1の側部1dで交差している。このような構成により、板ばね構造体12は圧電振動子1の出力面の突部2から加わる押し付け荷重に対し、図6(a)で説明したような非線形ばね特性を有し、圧電振動子1の初期位置設定を押し付け荷重の変動(ΔF2)の小さい部分の変位範囲(ΔX1)に設定することにより、相手部材に対する出力面の突部の加圧力を安定化させることができる。これにより相手部材との接触位置が変動する条件下においても、概ね一定荷重で圧電振動子を押し付けることができ、摩擦駆動を行う超音波モータや超音波加工機で安定した摩擦力、加工力をもたらすことができる。例えば、被移動体の平面部に圧電振動子を圧接させて被移動体を送り動作させる場合にも、被移動体の平面精度を緩和でき、それだけ長い距離を移動動作させることができる。
また、押し付け方向以外の方向には剛性が高く、押し付け方向には柔軟性があり、かつ荷重の調整も、板ばね構造体の帯状部の長さを変えることで容易に調整可能である。さらに、圧電振動子と支持部材間にはガタがなく、圧電振動子の位置決めの安定性が良く、従来のようなコイルばねを用いたものと比べて振動エネルギーの損失が少ない。
なお、第3実施形態においても、板ばね構造体は2個に限定されるものではなく、圧電振動子の大きさ、容量などにより、3個あるいはそれ以上の個数を設けてもよいことは勿論である。板ばね構造体も平板のプレス打抜き・折曲げ加工で容易に製作でき、小形、低コストの保持装置を実現できるなど、従来の構造では得られない種々の効果がもたらされる。
本発明の第1の実施形態による矩形状圧電振動子の保持装置を示した図である。 第1実施形態の変形例1を示す側部断面図である。 楕円振動超音波アクチュエータに用いられる圧電振動子の振動形態を模型的に示した図である。 本発明の第2実施形態に係る矩形状圧電振動子の保持装置を示した図である。 本発明の第2実施形態に係る矩形状圧電振動子の保持装置の作動時の状態を示す側部断面図である。 本発明に係る保持装置における板ばね部材の非線形ばね特性および通常のばねによる変位−荷重特性を示す図である。 本発明の第3実施形態に係る矩形状圧電振動子の保持装置の縦断面図である。 図7に示す矩形状圧電振動子の保持装置の支持部材を除いた状態の斜視図である。 本発明に係る板ばね構造体の拡大斜視図である。 図9の側面図である。 従来の圧電振動子の保持手段を用いた超音波モータの側面図である。
符号の説明
1 圧電振動子
1a 出力面
3,11 支持部材
5,8,9,10 板ばね
6 圧電振動子の節部
7 相手部材
12 板ばね構造体
13 第1の板ばね部材
14,19 基端部
15,20 帯状部
16,21 折り返えし部
18 第2の板ばね部材

Claims (12)

  1. 圧電振動子の保持装置において、前記圧電振動子の側部に加圧方向に離隔した少なくとも2枚の板ばねの一端が固着され、前記板ばねの他端が支持部材に固定され、前記板ばねの板面が前記圧電振動子の加圧方向に向いていることを特徴とする圧電振動子の保持装置。
  2. 前記板ばねは、前記圧電振動子の振動変位の小さい節部分の位置で該圧電振動子に固着されることを特徴とする請求項1に記載の圧電振動子の保持装置。
  3. 前記板ばねは、各々の長さが互いに等しく、かつ互いに平行に配置されることを特徴とする請求項1または2に記載の圧電振動子の保持装置。
  4. 前記支持部材が前記板ばねによって前記圧電振動子の加圧方向に向けて弾性的に押圧されていることを特徴とする請求項1〜3に記載の圧電振動子の保持装置。
  5. 前記圧電振動子の対向両側部にそれぞれ少なくとも2枚の板ばねが固着されることを特徴とする請求項1〜4に記載の圧電振動子の保持装置。
  6. 圧電振動子の保持装置において、前記圧電振動子の対向両側部に、加圧方向に離隔した少なくとも2枚の板ばねの一端が固着され、前記板ばねの他端が支持部材に固定され、前記板ばねの板面は前記圧電振動子の前記両側部と直角な他方の側部を含む平面に対して垂直方向に向いており、前記圧電振動子の押し付け時に前記板ばねが座屈変形するように各々の前記板ばねの長さが、前記圧電振動子と前記支持部材との間の距離よりも長く形成されることを特徴とする圧電振動子の保持装置。
  7. 圧電振動子の保持装置において、前記圧電振動子を離隔して収容する枠形または箱形の支持部材と、前記支持部材の側部と前記圧電振動子との間に介在される板ばね構造体とを有し、
    前記板ばね構造体は、前記支持部材の片側部に固着された基端部から前記圧電振動子の対向両側部を挟むように前記圧電振動子の前記側部をまたいで折り返されて該圧電振動子に固着された第1の板ばね部材と、前記支持部材の他方の片側部に固着された基端部から前記圧電振動子の前記対向両側部を挟むように前記圧電振動子の前記側部をまたいで折り返されて該圧電振動子に固着された第2の板ばね部材とを有し、前記第1の板ばね部材と前記第2の板ばね部材が前記圧電振動子との固着部分で一体化されていることを特徴とする圧電振動子の保持装置。
  8. 前記圧電振動子は、該圧電振動子の加圧方向に離隔した少なくとも2体の前記板ばね構造体によって前記支持部材に保持されることを特徴とする請求項7に記載の圧電振動子の保持装置。
  9. 前記板ばね構造体は、前記圧電振動子の振動変位の小さい節部分の位置で該圧電振動子と前記支持部材との間に介在されることを特徴とする請求項7または8に記載の圧電振動子の保持装置。
  10. 前記板ばね構造体は、全体として前記圧電振動子の加圧方向に向いた板面を有することを特徴とする請求項7〜9に記載の圧電振動子の保持装置。
  11. 前記圧電振動子は横断面が矩形ないし多角形となった棒状圧電振動子であることを特徴とする請求項1〜10に記載の圧電振動子の保持装置。
  12. 前記圧電振動子は横断面が円形ないし楕円形となった棒状圧電振動子であることを特徴とする請求項1〜10に記載の圧電振動子の保持装置。
JP2008199643A 2008-08-01 2008-08-01 圧電振動子の保持装置 Active JP4802313B2 (ja)

Priority Applications (3)

Application Number Priority Date Filing Date Title
JP2008199643A JP4802313B2 (ja) 2008-08-01 2008-08-01 圧電振動子の保持装置
US13/056,889 US8531091B2 (en) 2008-08-01 2008-10-30 Apparatus for holding piezoelectric vibrator
PCT/JP2008/069777 WO2010013361A1 (ja) 2008-08-01 2008-10-30 圧電振動子の保持装置

Applications Claiming Priority (1)

Application Number Priority Date Filing Date Title
JP2008199643A JP4802313B2 (ja) 2008-08-01 2008-08-01 圧電振動子の保持装置

Publications (2)

Publication Number Publication Date
JP2010041777A true JP2010041777A (ja) 2010-02-18
JP4802313B2 JP4802313B2 (ja) 2011-10-26

Family

ID=41610080

Family Applications (1)

Application Number Title Priority Date Filing Date
JP2008199643A Active JP4802313B2 (ja) 2008-08-01 2008-08-01 圧電振動子の保持装置

Country Status (3)

Country Link
US (1) US8531091B2 (ja)
JP (1) JP4802313B2 (ja)
WO (1) WO2010013361A1 (ja)

Cited By (6)

* Cited by examiner, † Cited by third party
Publication number Priority date Publication date Assignee Title
KR20130063471A (ko) * 2011-12-06 2013-06-14 세이코 엡슨 가부시키가이샤 액튜에이터, 로봇 핸드, 로봇, 전자 부품 반송 장치, 전자 부품 검사 장치 및 프린터
JP2013236527A (ja) * 2012-05-11 2013-11-21 Seiko Epson Corp 圧電モーター、ロボットハンド、ロボット、電子部品搬送装置、電子部品検査装置、送液ポンプ、印刷装置、電子時計、投影装置、搬送装置
JP2015186329A (ja) * 2014-03-24 2015-10-22 セイコーエプソン株式会社 圧電モーター
JP2015186330A (ja) * 2014-03-24 2015-10-22 セイコーエプソン株式会社 圧電モーター
JP2015220911A (ja) * 2014-05-20 2015-12-07 キヤノン株式会社 超音波モータ
JP2017514717A (ja) * 2014-05-06 2017-06-08 メムズ ドライブ, インク.Mems Drive, Inc. 低スチフネス曲げ部

Families Citing this family (157)

* Cited by examiner, † Cited by third party
Publication number Priority date Publication date Assignee Title
KR101539699B1 (ko) 2009-03-19 2015-07-27 삼성전자주식회사 3차원 구조의 비휘발성 메모리 소자 및 그 제조방법
US9397093B2 (en) 2013-02-08 2016-07-19 Sandisk Technologies Inc. Three dimensional NAND device with semiconductor, metal or silicide floating gates and method of making thereof
US8193054B2 (en) 2010-06-30 2012-06-05 SanDisk Technologies, Inc. Ultrahigh density vertical NAND memory device and method of making thereof
US8928061B2 (en) 2010-06-30 2015-01-06 SanDisk Technologies, Inc. Three dimensional NAND device with silicide containing floating gates
US10128261B2 (en) 2010-06-30 2018-11-13 Sandisk Technologies Llc Cobalt-containing conductive layers for control gate electrodes in a memory structure
US9159739B2 (en) 2010-06-30 2015-10-13 Sandisk Technologies Inc. Floating gate ultrahigh density vertical NAND flash memory
US8187936B2 (en) 2010-06-30 2012-05-29 SanDisk Technologies, Inc. Ultrahigh density vertical NAND memory device and method of making thereof
JP2012235622A (ja) * 2011-05-02 2012-11-29 Seiko Epson Corp モーター、ロボットハンドおよびロボット
BR112014000975A2 (pt) * 2011-07-19 2017-02-21 Mauser-Werke Oberndorf Maschb Gmbh sistema de ajuste
JP5744670B2 (ja) * 2011-08-05 2015-07-08 キヤノン株式会社 超音波モータ及びそれを有するレンズ装置
PL2584028T3 (pl) 2011-10-19 2017-10-31 Procter & Gamble Cząstka
US8878278B2 (en) 2012-03-21 2014-11-04 Sandisk Technologies Inc. Compact three dimensional vertical NAND and method of making thereof
US8847302B2 (en) 2012-04-10 2014-09-30 Sandisk Technologies Inc. Vertical NAND device with low capacitance and silicided word lines
US8828884B2 (en) 2012-05-23 2014-09-09 Sandisk Technologies Inc. Multi-level contact to a 3D memory array and method of making
US8658499B2 (en) 2012-07-09 2014-02-25 Sandisk Technologies Inc. Three dimensional NAND device and method of charge trap layer separation and floating gate formation in the NAND device
US8614126B1 (en) 2012-08-15 2013-12-24 Sandisk Technologies Inc. Method of making a three-dimensional memory array with etch stop
US8946023B2 (en) 2013-03-12 2015-02-03 Sandisk Technologies Inc. Method of making a vertical NAND device using sequential etching of multilayer stacks
US9698153B2 (en) 2013-03-12 2017-07-04 Sandisk Technologies Llc Vertical NAND and method of making thereof using sequential stack etching and self-aligned landing pad
US9230987B2 (en) 2014-02-20 2016-01-05 Sandisk Technologies Inc. Multilevel memory stack structure and methods of manufacturing the same
US9515080B2 (en) 2013-03-12 2016-12-06 Sandisk Technologies Llc Vertical NAND and method of making thereof using sequential stack etching and landing pad
US9449982B2 (en) 2013-03-12 2016-09-20 Sandisk Technologies Llc Method of making a vertical NAND device using a sacrificial layer with air gap and sequential etching of multilayer stacks
US9099496B2 (en) 2013-04-01 2015-08-04 Sandisk Technologies Inc. Method of forming an active area with floating gate negative offset profile in FG NAND memory
US9093480B2 (en) 2013-04-01 2015-07-28 Sandisk Technologies Inc. Spacer passivation for high aspect ratio etching of multilayer stacks for three dimensional NAND device
US9437606B2 (en) 2013-07-02 2016-09-06 Sandisk Technologies Llc Method of making a three-dimensional memory array with etch stop
US9252151B2 (en) 2013-07-08 2016-02-02 Sandisk Technologies Inc. Three dimensional NAND device with birds beak containing floating gates and method of making thereof
US9230980B2 (en) 2013-09-15 2016-01-05 Sandisk Technologies Inc. Single-semiconductor-layer channel in a memory opening for a three-dimensional non-volatile memory device
US9023719B2 (en) 2013-09-17 2015-05-05 Sandisk Technologies Inc. High aspect ratio memory hole channel contact formation
US8987089B1 (en) 2013-09-17 2015-03-24 Sandisk Technologies Inc. Methods of fabricating a three-dimensional non-volatile memory device
US9615178B2 (en) 2013-10-30 2017-04-04 Kyocera Corporation Sound generator
US9449983B2 (en) 2013-12-19 2016-09-20 Sandisk Technologies Llc Three dimensional NAND device with channel located on three sides of lower select gate and method of making thereof
JP6174252B2 (ja) * 2013-12-31 2017-08-02 モダ−イノチップス シーオー エルティディー 携帯用圧電スピーカーおよびこれを備える電子機器
US9230905B2 (en) 2014-01-08 2016-01-05 Sandisk 3D Llc Trench multilevel contact to a 3D memory array and method of making thereof
US9343507B2 (en) 2014-03-12 2016-05-17 Sandisk 3D Llc Dual channel vertical field effect transistor including an embedded electrode
US9331088B2 (en) 2014-03-25 2016-05-03 Sandisk 3D Llc Transistor device with gate bottom isolation and method of making thereof
US9224747B2 (en) 2014-03-26 2015-12-29 Sandisk Technologies Inc. Vertical NAND device with shared word line steps
US9552991B2 (en) 2014-04-30 2017-01-24 Sandisk Technologies Llc Trench vertical NAND and method of making thereof
US9331094B2 (en) 2014-04-30 2016-05-03 Sandisk Technologies Inc. Method of selective filling of memory openings
US9548313B2 (en) * 2014-05-30 2017-01-17 Sandisk Technologies Llc Method of making a monolithic three dimensional NAND string using a select gate etch stop layer
US9768270B2 (en) 2014-06-25 2017-09-19 Sandisk Technologies Llc Method of selectively depositing floating gate material in a memory device
US9379124B2 (en) 2014-06-25 2016-06-28 Sandisk Technologies Inc. Vertical floating gate NAND with selectively deposited ALD metal films
US9455263B2 (en) 2014-06-27 2016-09-27 Sandisk Technologies Llc Three dimensional NAND device with channel contacting conductive source line and method of making thereof
US9397107B2 (en) 2014-06-30 2016-07-19 Sandisk Technologies Llc Methods of making three dimensional NAND devices
US9305932B2 (en) 2014-06-30 2016-04-05 Sandisk Technologies Inc. Methods of making three dimensional NAND devices
US9177966B1 (en) 2014-07-08 2015-11-03 Sandisk Technologies Inc. Three dimensional NAND devices with air gap or low-k core
US9570460B2 (en) 2014-07-29 2017-02-14 Sandisk Technologies Llc Spacer passivation for high-aspect ratio opening film removal and cleaning
US9136130B1 (en) 2014-08-11 2015-09-15 Sandisk Technologies Inc. Three dimensional NAND string with discrete charge trap segments
US9356031B2 (en) 2014-08-11 2016-05-31 Sandisk Technologies Inc. Three dimensional NAND string memory devices with voids enclosed between control gate electrodes
US9583539B2 (en) 2014-08-19 2017-02-28 Sandisk Technologies Llc Word line connection for memory device and method of making thereof
US9230983B1 (en) 2014-08-20 2016-01-05 Sandisk Technologies Inc. Metal word lines for three dimensional memory devices
US9601502B2 (en) 2014-08-26 2017-03-21 Sandisk Technologies Llc Multiheight contact via structures for a multilevel interconnect structure
US9401309B2 (en) 2014-08-26 2016-07-26 Sandisk Technologies Llc Multiheight contact via structures for a multilevel interconnect structure
US9230974B1 (en) 2014-08-26 2016-01-05 Sandisk Technologies Inc. Methods of selective removal of blocking dielectric in NAND memory strings
US9236392B1 (en) 2014-08-26 2016-01-12 Sandisk Technologies Inc. Multiheight electrically conductive via contacts for a multilevel interconnect structure
US9576975B2 (en) 2014-08-26 2017-02-21 Sandisk Technologies Llc Monolithic three-dimensional NAND strings and methods of fabrication thereof
US9666590B2 (en) 2014-09-24 2017-05-30 Sandisk Technologies Llc High stack 3D memory and method of making
US9515085B2 (en) 2014-09-26 2016-12-06 Sandisk Technologies Llc Vertical memory device with bit line air gap
US9305934B1 (en) 2014-10-17 2016-04-05 Sandisk Technologies Inc. Vertical NAND device containing peripheral devices on epitaxial semiconductor pedestal
US9230979B1 (en) 2014-10-31 2016-01-05 Sandisk Technologies Inc. High dielectric constant etch stop layer for a memory structure
US9236396B1 (en) 2014-11-12 2016-01-12 Sandisk Technologies Inc. Three dimensional NAND device and method of making thereof
US9305849B1 (en) 2014-11-12 2016-04-05 Sandisk Technologies Inc. Method of making a three dimensional NAND device
US9698152B2 (en) 2014-11-13 2017-07-04 Sandisk Technologies Llc Three-dimensional memory structure with multi-component contact via structure and method of making thereof
US9496419B2 (en) 2014-11-25 2016-11-15 Sandisk Technologies Llc Ruthenium nucleation layer for control gate electrodes in a memory structure
US9570455B2 (en) 2014-11-25 2017-02-14 Sandisk Technologies Llc Metal word lines for three dimensional memory devices
US9698223B2 (en) 2014-11-25 2017-07-04 Sandisk Technologies Llc Memory device containing stress-tunable control gate electrodes
US9793288B2 (en) 2014-12-04 2017-10-17 Sandisk Technologies Llc Methods of fabricating memory device with spaced-apart semiconductor charge storage regions
US9553100B2 (en) 2014-12-04 2017-01-24 Sandisk Techologies Llc Selective floating gate semiconductor material deposition in a three-dimensional memory structure
US9754956B2 (en) 2014-12-04 2017-09-05 Sandisk Technologies Llc Uniform thickness blocking dielectric portions in a three-dimensional memory structure
US9780182B2 (en) 2015-02-04 2017-10-03 Sandisk Technologies Llc Molybdenum-containing conductive layers for control gate electrodes in a memory structure
US9984963B2 (en) 2015-02-04 2018-05-29 Sandisk Technologies Llc Cobalt-containing conductive layers for control gate electrodes in a memory structure
US10741572B2 (en) 2015-02-04 2020-08-11 Sandisk Technologies Llc Three-dimensional memory device having multilayer word lines containing selectively grown cobalt or ruthenium and method of making the same
US9356034B1 (en) 2015-02-05 2016-05-31 Sandisk Technologies Inc. Multilevel interconnect structure and methods of manufacturing the same
US9419058B1 (en) 2015-02-05 2016-08-16 Sandisk Technologies Llc Memory device with comb-shaped electrode having a plurality of electrode fingers and method of making thereof
US9484296B2 (en) 2015-02-12 2016-11-01 Sandisk Technologies Llc Self-aligned integrated line and via structure for a three-dimensional semiconductor device
US9583615B2 (en) 2015-02-17 2017-02-28 Sandisk Technologies Llc Vertical transistor and local interconnect structure
US9698202B2 (en) 2015-03-02 2017-07-04 Sandisk Technologies Llc Parallel bit line three-dimensional resistive random access memory
US9870945B2 (en) 2015-03-10 2018-01-16 Sandisk Technologies Llc Crystalline layer stack for forming conductive layers in a three-dimensional memory structure
US9530788B2 (en) 2015-03-17 2016-12-27 Sandisk Technologies Llc Metallic etch stop layer in a three-dimensional memory structure
US9799671B2 (en) 2015-04-07 2017-10-24 Sandisk Technologies Llc Three-dimensional integration schemes for reducing fluorine-induced electrical shorts
US9601508B2 (en) 2015-04-27 2017-03-21 Sandisk Technologies Llc Blocking oxide in memory opening integration scheme for three-dimensional memory structure
US9397046B1 (en) 2015-04-29 2016-07-19 Sandisk Technologies Llc Fluorine-free word lines for three-dimensional memory devices
US9627403B2 (en) 2015-04-30 2017-04-18 Sandisk Technologies Llc Multilevel memory stack structure employing support pillar structures
US10074661B2 (en) 2015-05-08 2018-09-11 Sandisk Technologies Llc Three-dimensional junction memory device and method reading thereof using hole current detection
US9666281B2 (en) 2015-05-08 2017-05-30 Sandisk Technologies Llc Three-dimensional P-I-N memory device and method reading thereof using hole current detection
US9859422B2 (en) 2015-05-28 2018-01-02 Sandisk Technologies Llc Field effect transistor with elevated active regions and methods of manufacturing the same
US9443861B1 (en) 2015-05-28 2016-09-13 Sandisk Technologies Llc Fluorine-blocking insulating spacer for backside contact structure of three-dimensional memory structures
US9646981B2 (en) 2015-06-15 2017-05-09 Sandisk Technologies Llc Passive devices for integration with three-dimensional memory devices
US9589981B2 (en) 2015-06-15 2017-03-07 Sandisk Technologies Llc Passive devices for integration with three-dimensional memory devices
US9419012B1 (en) 2015-06-19 2016-08-16 Sandisk Technologies Llc Three-dimensional memory structure employing air gap isolation
US9356043B1 (en) 2015-06-22 2016-05-31 Sandisk Technologies Inc. Three-dimensional memory devices containing memory stack structures with position-independent threshold voltage
US9613977B2 (en) 2015-06-24 2017-04-04 Sandisk Technologies Llc Differential etch of metal oxide blocking dielectric layer for three-dimensional memory devices
US10622368B2 (en) 2015-06-24 2020-04-14 Sandisk Technologies Llc Three-dimensional memory device with semicircular metal-semiconductor alloy floating gate electrodes and methods of making thereof
US9530785B1 (en) 2015-07-21 2016-12-27 Sandisk Technologies Llc Three-dimensional memory devices having a single layer channel and methods of making thereof
US9627399B2 (en) 2015-07-24 2017-04-18 Sandisk Technologies Llc Three-dimensional memory device with metal and silicide control gates
US9449987B1 (en) 2015-08-21 2016-09-20 Sandisk Technologies Llc Three dimensional memory device with epitaxial semiconductor pedestal for peripheral transistors
US9543318B1 (en) 2015-08-21 2017-01-10 Sandisk Technologies Llc Three dimensional memory device with epitaxial semiconductor pedestal for peripheral transistors
US9853043B2 (en) 2015-08-25 2017-12-26 Sandisk Technologies Llc Method of making a multilevel memory stack structure using a cavity containing a sacrificial fill material
US9502471B1 (en) 2015-08-25 2016-11-22 Sandisk Technologies Llc Multi tier three-dimensional memory devices including vertically shared bit lines
US9806089B2 (en) 2015-09-21 2017-10-31 Sandisk Technologies Llc Method of making self-assembling floating gate electrodes for a three-dimensional memory device
US9576966B1 (en) 2015-09-21 2017-02-21 Sandisk Technologies Llc Cobalt-containing conductive layers for control gate electrodes in a memory structure
US9646975B2 (en) 2015-09-21 2017-05-09 Sandisk Technologies Llc Lateral stack of cobalt and a cobalt-semiconductor alloy for control gate electrodes in a memory structure
US9842907B2 (en) 2015-09-29 2017-12-12 Sandisk Technologies Llc Memory device containing cobalt silicide control gate electrodes and method of making thereof
US9659955B1 (en) 2015-10-28 2017-05-23 Sandisk Technologies Llc Crystalinity-dependent aluminum oxide etching for self-aligned blocking dielectric in a memory structure
US9620512B1 (en) 2015-10-28 2017-04-11 Sandisk Technologies Llc Field effect transistor with a multilevel gate electrode for integration with a multilevel memory device
US9793139B2 (en) 2015-10-29 2017-10-17 Sandisk Technologies Llc Robust nucleation layers for enhanced fluorine protection and stress reduction in 3D NAND word lines
US9899399B2 (en) 2015-10-30 2018-02-20 Sandisk Technologies Llc 3D NAND device with five-folded memory stack structure configuration
US9917100B2 (en) 2015-11-20 2018-03-13 Sandisk Technologies Llc Three-dimensional NAND device containing support pedestal structures for a buried source line and method of making the same
US9831266B2 (en) 2015-11-20 2017-11-28 Sandisk Technologies Llc Three-dimensional NAND device containing support pedestal structures for a buried source line and method of making the same
US9799670B2 (en) 2015-11-20 2017-10-24 Sandisk Technologies Llc Three dimensional NAND device containing dielectric pillars for a buried source line and method of making thereof
US9589839B1 (en) 2016-02-01 2017-03-07 Sandisk Technologies Llc Method of reducing control gate electrode curvature in three-dimensional memory devices
US9754820B2 (en) 2016-02-01 2017-09-05 Sandisk Technologies Llc Three-dimensional memory device containing an aluminum oxide etch stop layer for backside contact structure and method of making thereof
US9673213B1 (en) 2016-02-15 2017-06-06 Sandisk Technologies Llc Three dimensional memory device with peripheral devices under dummy dielectric layer stack and method of making thereof
US9595535B1 (en) 2016-02-18 2017-03-14 Sandisk Technologies Llc Integration of word line switches with word line contact via structures
US9721663B1 (en) 2016-02-18 2017-08-01 Sandisk Technologies Llc Word line decoder circuitry under a three-dimensional memory array
US10224104B2 (en) 2016-03-23 2019-03-05 Sandisk Technologies Llc Three dimensional NAND memory device with common bit line for multiple NAND strings in each memory block
US10355015B2 (en) 2016-03-23 2019-07-16 Sandisk Technologies Llc Three-dimensional NAND memory device with common bit line for multiple NAND strings in each memory block
US9812463B2 (en) 2016-03-25 2017-11-07 Sandisk Technologies Llc Three-dimensional memory device containing vertically isolated charge storage regions and method of making thereof
US9711530B1 (en) 2016-03-25 2017-07-18 Sandisk Technologies Llc Locally-trap-characteristic-enhanced charge trap layer for three-dimensional memory structures
US9728547B1 (en) 2016-05-19 2017-08-08 Sandisk Technologies Llc Three-dimensional memory device with aluminum-containing etch stop layer for backside contact structure and method of making thereof
US9985046B2 (en) 2016-06-13 2018-05-29 Sandisk Technologies Llc Method of forming a staircase in a semiconductor device using a linear alignment control feature
US10121794B2 (en) 2016-06-20 2018-11-06 Sandisk Technologies Llc Three-dimensional memory device having epitaxial germanium-containing vertical channel and method of making thereof
US10355139B2 (en) 2016-06-28 2019-07-16 Sandisk Technologies Llc Three-dimensional memory device with amorphous barrier layer and method of making thereof
US10361213B2 (en) 2016-06-28 2019-07-23 Sandisk Technologies Llc Three dimensional memory device containing multilayer wordline barrier films and method of making thereof
US9978768B2 (en) 2016-06-29 2018-05-22 Sandisk Technologies Llc Method of making three-dimensional semiconductor memory device having laterally undulating memory films
US9659866B1 (en) 2016-07-08 2017-05-23 Sandisk Technologies Llc Three-dimensional memory structures with low source line resistance
US10381372B2 (en) 2016-07-13 2019-08-13 Sandisk Technologies Llc Selective tungsten growth for word lines of a three-dimensional memory device
US10529620B2 (en) 2016-07-13 2020-01-07 Sandisk Technologies Llc Three-dimensional memory device containing word lines formed by selective tungsten growth on nucleation controlling surfaces and methods of manufacturing the same
US9748266B1 (en) 2016-07-20 2017-08-29 Sandisk Technologies Llc Three-dimensional memory device with select transistor having charge trapping gate dielectric layer and methods of making and operating thereof
US9824966B1 (en) 2016-08-12 2017-11-21 Sandisk Technologies Llc Three-dimensional memory device containing a lateral source contact and method of making the same
US9805805B1 (en) 2016-08-23 2017-10-31 Sandisk Technologies Llc Three-dimensional memory device with charge carrier injection wells for vertical channels and method of making and using thereof
US10050054B2 (en) 2016-10-05 2018-08-14 Sandisk Technologies Llc Three-dimensional memory device having drain select level isolation structure and method of making thereof
US9881929B1 (en) 2016-10-27 2018-01-30 Sandisk Technologies Llc Multi-tier memory stack structure containing non-overlapping support pillar structures and method of making thereof
US9929174B1 (en) 2016-10-28 2018-03-27 Sandisk Technologies Llc Three-dimensional memory device having non-uniform spacing among memory stack structures and method of making thereof
US9985098B2 (en) * 2016-11-03 2018-05-29 Sandisk Technologies Llc Bulb-shaped memory stack structures for direct source contact in three-dimensional memory device
US9991277B1 (en) 2016-11-28 2018-06-05 Sandisk Technologies Llc Three-dimensional memory device with discrete self-aligned charge storage elements and method of making thereof
US9876031B1 (en) 2016-11-30 2018-01-23 Sandisk Technologies Llc Three-dimensional memory device having passive devices at a buried source line level and method of making thereof
US10056399B2 (en) 2016-12-22 2018-08-21 Sandisk Technologies Llc Three-dimensional memory devices containing inter-tier dummy memory cells and methods of making the same
US10032908B1 (en) 2017-01-06 2018-07-24 Sandisk Technologies Llc Multi-gate vertical field effect transistor with channel strips laterally confined by gate dielectric layers, and method of making thereof
US10115735B2 (en) 2017-02-24 2018-10-30 Sandisk Technologies Llc Semiconductor device containing multilayer titanium nitride diffusion barrier and method of making thereof
US9960180B1 (en) 2017-03-27 2018-05-01 Sandisk Technologies Llc Three-dimensional memory device with partially discrete charge storage regions and method of making thereof
US20180331117A1 (en) 2017-05-12 2018-11-15 Sandisk Technologies Llc Multilevel memory stack structure with tapered inter-tier joint region and methods of making thereof
US10224340B2 (en) 2017-06-19 2019-03-05 Sandisk Technologies Llc Three-dimensional memory device having discrete direct source strap contacts and method of making thereof
US10438964B2 (en) 2017-06-26 2019-10-08 Sandisk Technologies Llc Three-dimensional memory device having direct source contact and metal oxide blocking dielectric and method of making thereof
CN107492398A (zh) * 2017-09-12 2017-12-19 苏州迈客荣自动化技术有限公司 一种一维微位移台
US10453798B2 (en) 2017-09-27 2019-10-22 Sandisk Technologies Llc Three-dimensional memory device with gated contact via structures and method of making thereof
US10115459B1 (en) 2017-09-29 2018-10-30 Sandisk Technologies Llc Multiple liner interconnects for three dimensional memory devices and method of making thereof
US10229931B1 (en) 2017-12-05 2019-03-12 Sandisk Technologies Llc Three-dimensional memory device containing fluorine-free tungsten—word lines and methods of manufacturing the same
US10373969B2 (en) 2018-01-09 2019-08-06 Sandisk Technologies Llc Three-dimensional memory device including partially surrounding select gates and fringe field assisted programming thereof
US10283493B1 (en) 2018-01-17 2019-05-07 Sandisk Technologies Llc Three-dimensional memory device containing bonded memory die and peripheral logic die and method of making thereof
US10510738B2 (en) 2018-01-17 2019-12-17 Sandisk Technologies Llc Three-dimensional memory device having support-die-assisted source power distribution and method of making thereof
US10256247B1 (en) 2018-02-08 2019-04-09 Sandisk Technologies Llc Three-dimensional memory device with silicided word lines, air gap layers and discrete charge storage elements, and method of making thereof
US10615123B2 (en) 2018-03-14 2020-04-07 Sandisk Technologies Llc Three-dimensional memory device containing compositionally graded word line diffusion barrier layer for and methods of forming the same
US10770459B2 (en) 2018-03-23 2020-09-08 Sandisk Technologies Llc CMOS devices containing asymmetric contact via structures
US10355017B1 (en) 2018-03-23 2019-07-16 Sandisk Technologies Llc CMOS devices containing asymmetric contact via structures and method of making the same
US10756186B2 (en) 2018-04-12 2020-08-25 Sandisk Technologies Llc Three-dimensional memory device including germanium-containing vertical channels and method of making the same
US10381322B1 (en) 2018-04-23 2019-08-13 Sandisk Technologies Llc Three-dimensional memory device containing self-aligned interlocking bonded structure and method of making the same
US10879260B2 (en) 2019-02-28 2020-12-29 Sandisk Technologies Llc Bonded assembly of a support die and plural memory dies containing laterally shifted vertical interconnections and methods for making the same
WO2021117575A1 (ja) 2019-12-10 2021-06-17 ソニーグループ株式会社 音声出力装置、及び加振機構

Citations (3)

* Cited by examiner, † Cited by third party
Publication number Priority date Publication date Assignee Title
JPH11346486A (ja) * 1998-06-01 1999-12-14 Seiko Instruments Inc 超音波モータ及び超音波モータ付電子機器
JP2007124840A (ja) * 2005-10-28 2007-05-17 Nsk Ltd 圧電アクチュエータ
JP2008032445A (ja) * 2006-07-27 2008-02-14 Sii Nanotechnology Inc 圧電アクチュエータおよびそれを用いた走査型プローブ顕微鏡

Family Cites Families (11)

* Cited by examiner, † Cited by third party
Publication number Priority date Publication date Assignee Title
JP2722211B2 (ja) 1988-07-30 1998-03-04 本多電子株式会社 超音波駆動装置
JP3311446B2 (ja) 1993-11-30 2002-08-05 オリンパス光学工業株式会社 超音波モータ
DE19650900A1 (de) * 1996-12-07 1998-06-10 Bosch Gmbh Robert Piezoelektrischer Aktuator
JP4510179B2 (ja) 1998-08-07 2010-07-21 セイコーインスツル株式会社 超音波モータおよび超音波モータ付電子機器
JP3428484B2 (ja) * 1999-02-25 2003-07-22 株式会社村田製作所 圧電部品の設計方法
JP2004297951A (ja) 2003-03-27 2004-10-21 Olympus Corp 超音波振動子及び超音波モータ
JP4641709B2 (ja) 2003-08-12 2011-03-02 セイコーインスツル株式会社 積層圧電振動体を用いた超音波モータおよびそれを用いた電子機器
DE10347774B4 (de) * 2003-10-14 2006-04-13 Siemens Ag Aufnahmehülse für einen Aktorkörper
JP2005214878A (ja) * 2004-01-30 2005-08-11 Sony Corp 角速度センサ
US7067964B1 (en) * 2004-05-14 2006-06-27 The United States Of America As Represented By The Secretary Of The Army Piezoelectric resonator with reduced deformation sensitivity
WO2006043456A1 (ja) * 2004-10-20 2006-04-27 Kyocera Corporation カメラモジュール及びこれを備えた携帯端末並びに情報端末

Patent Citations (3)

* Cited by examiner, † Cited by third party
Publication number Priority date Publication date Assignee Title
JPH11346486A (ja) * 1998-06-01 1999-12-14 Seiko Instruments Inc 超音波モータ及び超音波モータ付電子機器
JP2007124840A (ja) * 2005-10-28 2007-05-17 Nsk Ltd 圧電アクチュエータ
JP2008032445A (ja) * 2006-07-27 2008-02-14 Sii Nanotechnology Inc 圧電アクチュエータおよびそれを用いた走査型プローブ顕微鏡

Cited By (8)

* Cited by examiner, † Cited by third party
Publication number Priority date Publication date Assignee Title
KR20130063471A (ko) * 2011-12-06 2013-06-14 세이코 엡슨 가부시키가이샤 액튜에이터, 로봇 핸드, 로봇, 전자 부품 반송 장치, 전자 부품 검사 장치 및 프린터
JP2013121190A (ja) * 2011-12-06 2013-06-17 Seiko Epson Corp アクチュエーター、ロボットハンド、ロボット、電子部品搬送装置、電子部品検査装置およびプリンター
US9391257B2 (en) 2011-12-06 2016-07-12 Seiko Epson Corporation Actuator, robot hand, robot, electronic component carrying device, electronic component inspection device, and printer
JP2013236527A (ja) * 2012-05-11 2013-11-21 Seiko Epson Corp 圧電モーター、ロボットハンド、ロボット、電子部品搬送装置、電子部品検査装置、送液ポンプ、印刷装置、電子時計、投影装置、搬送装置
JP2015186329A (ja) * 2014-03-24 2015-10-22 セイコーエプソン株式会社 圧電モーター
JP2015186330A (ja) * 2014-03-24 2015-10-22 セイコーエプソン株式会社 圧電モーター
JP2017514717A (ja) * 2014-05-06 2017-06-08 メムズ ドライブ, インク.Mems Drive, Inc. 低スチフネス曲げ部
JP2015220911A (ja) * 2014-05-20 2015-12-07 キヤノン株式会社 超音波モータ

Also Published As

Publication number Publication date
US20110133606A1 (en) 2011-06-09
WO2010013361A1 (ja) 2010-02-04
US8531091B2 (en) 2013-09-10
JP4802313B2 (ja) 2011-10-26

Similar Documents

Publication Publication Date Title
JP4802313B2 (ja) 圧電振動子の保持装置
US8633632B2 (en) Vibration actuator and method for manufacturing the same
CN107342703B (zh) 马达和包括马达的电子设备
KR20070075307A (ko) 탄성 진동체의 여진 방법 및 진동형 구동 장치
JP2009017735A (ja) 超音波モータ
JP2008306907A (ja) 超音波モータ
JP5683643B2 (ja) リニア超音波モータ及びそれを有する光学装置
JP2014018027A (ja) 振動型アクチュエータ、撮像装置、及びステージ
JP5909624B2 (ja) 駆動装置
JP6049277B2 (ja) 振動型駆動装置
JP2008253068A (ja) 振動波駆動装置
JP2019126220A5 (ja)
JP2015065809A (ja) リニア超音波モータ及びそれを有する光学装置
US8525388B2 (en) Vibration wave driving apparatus and manufacturing method of vibration body
JP6605012B2 (ja) 振動波モータ及び振動波モータを用いたレンズ駆動装置
JP5137406B2 (ja) 振動型駆動装置
JP2019039997A (ja) 振動波モータおよび駆動装置
JP3444504B2 (ja) 超音波振動子
JP2007325466A (ja) 駆動装置
JP6708472B2 (ja) 振動波モータ及び振動波モータが搭載された光学機器
JP2008178209A (ja) 超音波アクチュエータ
JP5677363B2 (ja) 振動波駆動装置および振動子
JPH044772A (ja) 超音波モータ
JP2011045208A (ja) 超音波モータ
JP2007209088A (ja) 超音波モータ

Legal Events

Date Code Title Description
A131 Notification of reasons for refusal

Free format text: JAPANESE INTERMEDIATE CODE: A131

Effective date: 20110427

A521 Request for written amendment filed

Free format text: JAPANESE INTERMEDIATE CODE: A523

Effective date: 20110527

TRDD Decision of grant or rejection written
A01 Written decision to grant a patent or to grant a registration (utility model)

Free format text: JAPANESE INTERMEDIATE CODE: A01

Effective date: 20110614

A01 Written decision to grant a patent or to grant a registration (utility model)

Free format text: JAPANESE INTERMEDIATE CODE: A01

A61 First payment of annual fees (during grant procedure)

Free format text: JAPANESE INTERMEDIATE CODE: A61

Effective date: 20110711

A521 Request for written amendment filed

Free format text: JAPANESE INTERMEDIATE CODE: A821

Effective date: 20110712

R150 Certificate of patent or registration of utility model

Free format text: JAPANESE INTERMEDIATE CODE: R150

Ref document number: 4802313

Country of ref document: JP

Free format text: JAPANESE INTERMEDIATE CODE: R150

FPAY Renewal fee payment (event date is renewal date of database)

Free format text: PAYMENT UNTIL: 20140819

Year of fee payment: 3

R250 Receipt of annual fees

Free format text: JAPANESE INTERMEDIATE CODE: R250

R250 Receipt of annual fees

Free format text: JAPANESE INTERMEDIATE CODE: R250

RD02 Notification of acceptance of power of attorney

Free format text: JAPANESE INTERMEDIATE CODE: R3D02

R250 Receipt of annual fees

Free format text: JAPANESE INTERMEDIATE CODE: R250

R250 Receipt of annual fees

Free format text: JAPANESE INTERMEDIATE CODE: R250

R250 Receipt of annual fees

Free format text: JAPANESE INTERMEDIATE CODE: R250

R250 Receipt of annual fees

Free format text: JAPANESE INTERMEDIATE CODE: R250

R250 Receipt of annual fees

Free format text: JAPANESE INTERMEDIATE CODE: R250

R250 Receipt of annual fees

Free format text: JAPANESE INTERMEDIATE CODE: R250