JP2010041746A - 電流センサーを備えた電気接続箱 - Google Patents

電流センサーを備えた電気接続箱 Download PDF

Info

Publication number
JP2010041746A
JP2010041746A JP2008198298A JP2008198298A JP2010041746A JP 2010041746 A JP2010041746 A JP 2010041746A JP 2008198298 A JP2008198298 A JP 2008198298A JP 2008198298 A JP2008198298 A JP 2008198298A JP 2010041746 A JP2010041746 A JP 2010041746A
Authority
JP
Japan
Prior art keywords
bus bar
current sensor
bolt
case
detection
Prior art date
Legal status (The legal status is an assumption and is not a legal conclusion. Google has not performed a legal analysis and makes no representation as to the accuracy of the status listed.)
Granted
Application number
JP2008198298A
Other languages
English (en)
Other versions
JP5228679B2 (ja
Inventor
Kenichi Nishikawa
憲一 西川
Current Assignee (The listed assignees may be inaccurate. Google has not performed a legal analysis and makes no representation or warranty as to the accuracy of the list.)
Sumitomo Wiring Systems Ltd
Original Assignee
Sumitomo Wiring Systems Ltd
Priority date (The priority date is an assumption and is not a legal conclusion. Google has not performed a legal analysis and makes no representation as to the accuracy of the date listed.)
Filing date
Publication date
Application filed by Sumitomo Wiring Systems Ltd filed Critical Sumitomo Wiring Systems Ltd
Priority to JP2008198298A priority Critical patent/JP5228679B2/ja
Priority to US12/453,992 priority patent/US8035040B2/en
Priority to DE102009023607.4A priority patent/DE102009023607B4/de
Priority to CN2009101609302A priority patent/CN101640397B/zh
Publication of JP2010041746A publication Critical patent/JP2010041746A/ja
Application granted granted Critical
Publication of JP5228679B2 publication Critical patent/JP5228679B2/ja
Active legal-status Critical Current
Anticipated expiration legal-status Critical

Links

Images

Classifications

    • GPHYSICS
    • G01MEASURING; TESTING
    • G01RMEASURING ELECTRIC VARIABLES; MEASURING MAGNETIC VARIABLES
    • G01R1/00Details of instruments or arrangements of the types included in groups G01R5/00 - G01R13/00 and G01R31/00
    • G01R1/20Modifications of basic electric elements for use in electric measuring instruments; Structural combinations of such elements with such instruments
    • G01R1/203Resistors used for electric measuring, e.g. decade resistors standards, resistors for comparators, series resistors, shunts
    • BPERFORMING OPERATIONS; TRANSPORTING
    • B60VEHICLES IN GENERAL
    • B60RVEHICLES, VEHICLE FITTINGS, OR VEHICLE PARTS, NOT OTHERWISE PROVIDED FOR
    • B60R16/00Electric or fluid circuits specially adapted for vehicles and not otherwise provided for; Arrangement of elements of electric or fluid circuits specially adapted for vehicles and not otherwise provided for
    • B60R16/02Electric or fluid circuits specially adapted for vehicles and not otherwise provided for; Arrangement of elements of electric or fluid circuits specially adapted for vehicles and not otherwise provided for electric constitutive elements
    • B60R16/023Electric or fluid circuits specially adapted for vehicles and not otherwise provided for; Arrangement of elements of electric or fluid circuits specially adapted for vehicles and not otherwise provided for electric constitutive elements for transmission of signals between vehicle parts or subsystems
    • B60R16/0238Electrical distribution centers
    • GPHYSICS
    • G01MEASURING; TESTING
    • G01RMEASURING ELECTRIC VARIABLES; MEASURING MAGNETIC VARIABLES
    • G01R31/00Arrangements for testing electric properties; Arrangements for locating electric faults; Arrangements for electrical testing characterised by what is being tested not provided for elsewhere
    • G01R31/005Testing of electric installations on transport means
    • G01R31/006Testing of electric installations on transport means on road vehicles, e.g. automobiles or trucks

Landscapes

  • Physics & Mathematics (AREA)
  • General Physics & Mathematics (AREA)
  • Engineering & Computer Science (AREA)
  • Mechanical Engineering (AREA)
  • Connection Or Junction Boxes (AREA)
  • Connections By Means Of Piercing Elements, Nuts, Or Screws (AREA)

Abstract

【課題】電流センサーのメンテナンス性と放熱性を向上させる。
【解決手段】電気接続箱10のケース11内の上端部に電流センサー30を配置し、該電流センサー30の貫通穴30aに検知用バスバー31を貫通させて両側を突出させ、一方に突出する入力側部33にボルト穴34を設け、他方側に突出する出力側部35にもボルト穴36、37を設け、入力側部33の下部に、前記ボルト穴34と連通するボルト穴15cを設けた入力側バスバー15bを配置すると共に、出力側部35の下部には、前記ボルト穴36、37とそれぞれ連通するボルト穴19A、19Bを設けた出力側バスバー18A、18Bを配置し、これら連通したボルト穴にボルト42、43、44を上方から挿入して締結し、ボルト42、43、44を解除して電流センサー30を取り外せる構成としている。
【選択図】図1

Description

本発明は、ケース内のバスバーに流れる電流を検知するための電流センサーを備えた電気接続箱に関するものである。
この種の電流センサーを取り付けた電気接続箱は従来より多数提供されている。
例えば、本出願人が提供した特開2007−28773号公報(特許文献1)の図10(A)(B)に示す車載用の電気接続箱1では、アッパーケース2とロアケース3とからなるケース内の上方に、バスバー4aと絶縁板4bとを交互に積層した積層体4を収容し、該積層体4よりも下方に、特定のバスバー6を貫通穴5aに貫通させた電流センサー5を収容している。バスバー6の両側にボルト穴6a〜6cを設け、出力側のボルト穴6aは、出力側バスバー7のボルト穴7aと連通させてボルト8で締結している。入力側のボルト穴6bに、バッテリーと接続した電源線端末の端子がボルト締め接続し、入力側の他のボルト穴6cに、ヒュージブルリンクの入力端子がボルト締め接続している。
しかしながら、前記構造の電気接続箱1では、電流センサー5の上方に積層体4が配置されているため、電流センサー5に不具合が発生した場合など、電流センサー5を電気接続箱1から取り出したい時、電気接続箱1を解体する必要があり、メンテナンス性の点で改善の余地がある。
また、発熱量の大きい電流センサー5がケースの底側に収容されていることにより、ケース内部の温度が上昇しやすく、電流センサーの上側に配置するバスバーや電気部品に熱影響を与えやすく、放熱性の点からも改善の余地がある。
特開2007−28773号公報
本発明は前記問題に鑑みてなされたもので、電気接続箱のアッパーカバーを取り外し、ボルト締めを解除するだけで簡単に電流センサーを取り出すことができ、メンテナンス性を改善すると共に、放熱性にも優れた電流センサーを備えた電気接続箱の提供を課題としている。
前記課題を解決するために、本発明は、電気接続箱のケース内の上端部に配置される電流センサーと、
前記電流センサーの貫通穴に貫通させて両側を突出させ、該両側部にボルト穴が設けられた検知用バスバーと、
前記検知用バスバーの両側の下部に配置され、前記検知用バスバーのボルト穴と連通するボルト穴が設けられた入力側バスバーおよび出力側バスバーと、
前記検知用バスバーと前記入力側バスバーおよび出力側バスバーと連通させて前記ボルト穴に上方より挿入して締結するボルトとを備え、
前記ボルトを解除して前記電流センサーを取り外せる構成としていることを特徴とする電流センサーを備えた電気接続箱を提供している。
本発明は、前記のように、電流センサーをケースの上端部に配置すると共に、電流センサーを貫通する検知用バスバーの両側部は入力側バスバーと出力側バスバーの上面側に配置し、接続用のボルトをボルト穴に上方から挿入して締結している。よって、電流センサーを取り出す時には、上方からボルト締結を解除するだけで電流センサーをケースから取り外すことができ、電流センサーの取り外し作業をすべて上方からの作業で行うことができる。即ち、ケースの上部に被せるアッパーカバーを取り外した後は、ボルトの締結を解除し、電流センサーを上方に取り出すことができる。従って、電流センサーの修理や交換に際して、電気接続箱を解体する必要はなく、メンテナンス性を高めることができる。
また、発熱量の高い電流センサーをケースの上端部に配置することにより、電流センサーをケース底側に収容していた従来に比して放熱性も高めることができるため、ケース内の過熱を抑制して品質安定性を高めることができる。
なお、前記ボルト締結部の上方には電気部品が配置されていないことが好ましいが、着脱自在に取り付けられている電気部品(ヒューズ等)であれば、該電気部品の下方にボルト締結部を配置してもよい。
前記検知用バスバーは水平方向に配置される平バスバーまたは垂直方向に配置される縦バスバーとしてもよい。また、前記電流センサー貫通部より延在する一方側は直線状に延在し、他方側は屈曲または分岐してもよい。
前記のように、電流センサーを貫通させる検知用バスバーは一方を直線状に延在させれば、該一方側を電流センサーの貫通穴を通して取り外すことができるため、他方側を屈曲させても、分岐させてもよい。
また、電流センサーを貫通させる検知用バスバーを含め、ケース内部に配置するバスバーを縦バスバーとすると、水平配置する平バスバーより設置スペースを減少でき、電気接続箱を小型化することができる。
前記電流センサーは上部に貫通穴を備え、該電流センサーの下部は前記ケースの上面に設けた凹部に収容し、該凹部の底面および内周面との間に放熱用の空隙を設けていることが好ましい。
前記空隙により、電流センサーの上面側のみでなく周壁側や底壁側にもケースとの間に空気の通り道を形成でき、放熱性を一層高めることができる。
かつ、電流センサーを収容する前記凹部の周壁に上端開口に達する窪みを所要箇所に複数設けておくと、放熱性をさらに高めることができる。
また、前記凹部の周縁に前記電流センサーの仮係止手段を設け、前記ボルトの締結で本係止することが好ましい。
電流センサーに検知用バスバーを貫通させた状態で、凹部に電流センサーを前記仮係止手段で保持し、入力側バスバーおよび出力側バスバーのボルト穴と位置合わせした状態で、上方からボルトを通して締結すると、電流センサーの取付作業性を高めることができる。
特に、凹部の底面と電流センサーの下面との間に放熱用の空隙をあける場合、電流センサーを凹部内に収容保持できないため、ボルトによる本係止前に仮係止手段で保持する必要がある。
上述したように、本発明によれば、電流センサーに不具合等が発生して取り外す必要が生じた場合、ケースの上面に電流センサーを貫通させた検知用バスバーと入力側バスバーおよび出力側バスバーとの固定用ボルト頭部が露出しているため、該ボルトを上方から解除作業を行うだけで、電流センサーを電気接続箱内の回路体から切り離してケースから取り出すことができる。よって、ケースの上面にアッパーカバーを被せている場合は、アッパーカバーを取り外すだけでよく、電気接続箱全体を解体することなく電流センサーの取り外しを行うことができ、メンテナンス性を向上させることができる。
また、電流センサーをケース内の上端部に配置しているために放熱性を高めることができると共に、ケースに設ける電流センサー用の収容部と電流センサーとの間に空隙を設けておくと、該空隙が放熱通路となり、発熱量の高い電流センサーの放熱性を高めることができる。よって、電流センサーをケースの底面側に配置する場合と比較して、ケース内の温度上昇を抑制でき、ケース内部に収容するバスバーおよび電気部品への熱影響を低減することができる。
以下、本発明の実施形態を図面を参照して説明する。
図1乃至図5に、本発明の第一実施形態に係る自動車用の電気接続箱10を示す。
電気接続箱10は、図1に示すように、ケース11と、該ケース11の上面に被せるアッパーカバー12と、ケース11の下面に被せるロアカバー13とを備えている。ケース11には、縦バスバー(図示せず)からなる内部回路体を収容固定すると共に、ヒューズ15、複数のヒュージブルリンク17A、17B、17Cを収容している。
前記ケース11の側壁11aに沿った位置には、図2および図3に示すように、一対の電源線用バスバー20とACG用バスバー21とをそれぞれ側壁11aの内外に跨がるように組み付けている。電源線用バスバー20は、前記側壁11aの外面側で上端を水平方向に屈曲させ、バッテリーと接続した電源線端末に接続された端子(図示せず)をボルト締め締結する電源線接続部20aを設け、側壁11aの内面側でも上端を水平方向に屈曲させてバスバー接続部20bを設けている。電源線接続部20aとバスバー接続部20bには、それぞれボルト穴20c、20dを設けている。
ACG用バスバー21は前記電源線用バスバー20と略左右対称形状よりなり、側壁11aの外側にオルタネータ用接続部21aを設け、側壁11aの内面側にバスバー接続部21bを設けている。オルタネータ用接続部21aとバスバー接続部21bには、それぞれボルト穴21c、20dを設けている。
前記電源線用バスバー20とACG用バスバー21とは、図1に示すように、ヒューズ15を介して接続している。具体的には、図2に示すように、ヒューズ15は両側から水平に突出した板状の接続部15a、15bを有し、電源線用バスバー20のバスバー接続部20bとACG用バスバー21のバスバー接続部21bの上面に、ヒューズ15の前記接続部15a、15bを配置して、ボルト41、42にて締め付け接続している。
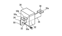
前記ケース11の上面には凹部25を形成し、該凹部25に電流センサー30の下部を収容して、電流センサー30をケース11の上面より突出させ、ケース11内の上端部に配置している。
前記凹部25は、図4(A)(B)に示すように、該凹部25内に収容固定される電流センサー30の下面30bおよび外周面30cと、該凹部25の底面25aおよび内周面25bとの間に空隙S1を設けている。本実施形態においては、この空隙の幅を0.2mmとしている。
前記凹部25の上面開口周縁には、上端に係止爪26aを突設した一対の仮係止片26を上向きに突設し、電流センサー30の上面30dを前記係止爪26aで押さえて仮係止する構成としている。
前記電流センサー30は、検知用バスバー31を貫通させる貫通穴30aを設けている。また、電流センサー30の下面側にはコネクタを介して電線が接続され、検知用バスバー31の電流を検知したときに、該電流を介して検知信号をエンジンコントロールユニット(図示せず)に伝達する構成としている。
検知用バスバー31は、水平方向に配置される平バスバーからなり、図2および図5に示すように、電流センサー30を貫通する貫通部32より入力側に突出する入力側部33を略直線状に延在し、一つのボルト穴34を設けている。貫通部32より出力側に突出する出力側部35は水平方向にクランク状に屈曲して延在し、2つのボルト穴36、37を設けている。
前記検知用バスバー31の入力側部33は、図1および図5(A)(B)に示すように、前記電源線用バスバー20に接続されるヒューズ15の接続部15bの上面に載置している。該入力側部33のボルト穴34と、ヒューズ15の接続部15bのボルト穴15cと、ACG用バスバー21のバスバー接続部21bのボルト穴21dとを連通させ、この連通したボルト穴34、15c、21dにボルト42を上方から挿入し、検知用バスバー31をヒューズ15とACG用バスバー21と一体にボルト締め接続してケース11に固定している。
検知用バスバー31の出力側部35は、図1および図5(A)(B)に示すように、ヒュージブルリンク17A、17Bの上端より水平方向に突出させたバスバーからなる入力端子部18A、18Bの上面に載置している。該出力側部35のボルト穴36とヒュージブルリンク17Aの入力端子部18Aに設けたボルト穴19Aとを連通させ、かつ、出力側部35のボルト穴37とヒュージブルリンク17Bの入力端子部18Bに設けたボルト穴19Bとを連通させ、各連通したボルト穴36、19Aとボルト穴37、19Bにボルト43、44をそれぞれ上方から挿入し、検知用バスバー31とヒュージブルリンク17A、17Bとをボルト締め接続している。
ヒュージブルリンク17Cは、電流センサー30を介することなく電源線用バスバー20と接続している。具体的には、電源線用バスバー20のバスバー接続部20bに平バスバー24をボルト41で締結接続し、該平バスバー24とヒュージブルリンク17Cの入力端子部18Cとをボルト45で締結接続している。
前記構成によれば、電流センサー30を貫通する検知用バスバー31は、図5(A)(B)に示すように、電源線用バスバー20に接続されたヒューズ15の接続部15bとヒュージブルリンク17A、17Bの入力端子部18A、18Bとのみボルト締め接続され、他の回路とは直接的に接続していない。よって、ボルト42、43、44を解除するだけで、検知用バスバー31を電気接続箱10内の回路体から完全に切り離すことができる。
また、検知用バスバー31の入力側部33とボルト42で接続されるヒューズ15の接続部15bを前記入力側部33の下面側に配置していると共に、検知用バスバー31の出力側部35とボルト43、44で接続されるヒュージブルリンク17A、17Bの入力端子部18A、18Bを前記出力側部35の下面側に配置し、かつ、前記ボルト42、43、44を上方から挿入している。よって、メンテナンスに際しては、アッパーケース12を外してボルト42、43、44をそれぞれ解除するだけで、電流センサー30と検知用バスバー31を上方に引き上げて取り外すことができる。
従って、電流センサー30に何らかの不具合等が発生した場合には、ケース11を解体することなく、ケース11の上面側における作業のみで電流センサー30をケース11から容易に取り外すことができるため、電流センサー30のメンテナンス性を高めることができる。
また、電流センサー30をケース11の上端部に配置し、電流センサー30の上部をケース11の上面側に露出させて収容しているため、電流センサー30から発する熱の放熱性に優れ、ケース11内の過熱に起因する不具合発生を防止できる。
さらに、電流センサー30を収容する凹部25と電流センサー30とを密着させず、間に空隙S1を設けているため、電流センサー30の周囲全体から熱を効率よく放出することができ、放熱性を一層高めることができる。
図6に、第1実施形態の変形例1を示す。
電流センサー30を収容する凹部25の内周面25bに、上下方向に延在する複数のリブ27を周方向に間隔をあけて突設している。このように上方への放熱通路を設けていることにより、電流センサー30の底面側に発生する熱を凹部25の上面開口へと効率良く放熱することができる。
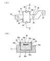
図7に、本発明の第2実施形態を示す。
第2実施形態では電流センサー30を貫通する検知用バスバー31の出力側部35を、ケース11内に固定した縦バスバー28と接続している。
具体的には、縦バスバー28は、複数の音叉状端子部28aを上向きに並設していると共に、上端を水平方向に屈曲させてバスバー接続部28bを形成し、該バスバー接続部28bにボルト穴28cを設けている。
検知用バスバー31の入力側部33と出力側部35は貫通部32からそれぞれ直線状に延在し、入力側部33には1つのボルト穴34を、出力側部35には1つのボルト穴38を設けている。該検知用バスバー31の出力側部35の下面側に前記縦バスバー28のバスバー接続部28bを配置し、出力側部35に設けたボルト穴38を前記バスバー接続部28bのボルト穴28cと連通させてボルト46を上方から挿入し、互いに締結接続している。前記縦バスバー28の音叉状端子部28aにはプラグインヒューズ29が挿入接続される。その他の構成は前記第1実施形態と同一構成とする。
本実施形態においても、ボルト42、46を解除するだけで、検知用バスバー31を他の回路から切り離し、電流センサー30と共に上方に引き上げて取り外すことができるため、電流センサー30のメンテナンス性を高めることができる。
なお、検知用バスバー31の出力側部35は、図8(A)に示すように分岐させても、あるいは、図8(B)に示すように垂直方向に屈曲させてもよい。
さらには、図9に示すように、検知用バスバーに縦バスバーを用い、電流センサー30の側部に設けた貫通穴30aに貫通させて垂直方向に配置してもよい。この場合、電流センサー30の貫通穴30aから直線状に延在する出力側部35の上端を水平方向に屈曲させて接続部35aを形成し、該接続部35aにボルト穴38を設けている。入力側部33は直線状に延在させているだけで、屈曲させた接続部は設けていない。該入力側部33には、上端に水平方向に屈曲させた接続部50aを有するL形状の接続用バスバー50をボルトで締結している。前記接続部50aにボルト穴50bを設けている。該接続部35a、50aの下面側に相手方バスバーをそれぞれ配置して前記ボルト穴38、ボルト穴50bに上方からボルトを挿入して接続している。
本発明の第一実施形態に係る電気接続箱を示す分解斜視図である。 ケースへの電装部品組み付け構成を示す分解斜視図である。 ケースへの電源線用バスバーの組み付け構成を示す要部分解斜視図である。 ケースの凹部に電流センサーを収容した状態を示し、(A)は平面図、(B)は(A)のB−B線断面図である。 (A)(B)は電流センサーと検知用バスバーをケースにボルト固定する工程を示す説明断面図である。 第1実施形態の変形例を示す要部平面図である。 第2実施形態の要部を示す説明断面図である。 (A)(B)は検知用バスバーの他の形状を示す斜視図である。 検知用バスバーの他の形状を示す斜視図である。 従来例を示す図である。
符号の説明
10 電気接続箱
11 ケース
15 ヒューズ
15a、15b 接続部(入力側バスバー)
17A、17B、17C ヒュージブルリンク
18A、18B、18C 入力端子部(出力側バスバー)
20 電源線用バスバー
30 電流センサー
31 検知用バスバー
33 入力側部
34 ボルト穴
35 出力側部
36、37、38 ボルト穴
41、42、43、44、45、46 ボルト

Claims (4)

  1. 電気接続箱のケース内の上端部に配置される電流センサーと、
    前記電流センサーの貫通穴に貫通させて両側を突出させ、該両側部にボルト穴が設けられた検知用バスバーと、
    前記検知用バスバーの両側の下部に配置され、前記検知用バスバーのボルト穴と連通するボルト穴が設けられた入力側バスバーおよび出力側バスバーと、
    前記検知用バスバーと前記入力側バスバーおよび出力側バスバーと連通させて前記ボルト穴に上方より挿入して締結するボルトとを備え、
    前記ボルトを解除して前記電流センサーを取り外せる構成としていることを特徴とする電流センサーを備えた電気接続箱。
  2. 前記検知用バスバーは水平方向に配置される平バスバーまたは垂直方向に配置される縦バスバーからなり、かつ、
    前記電流センサー貫通部より延在する一方側は直線状に延在し、他方側は屈曲または分岐している請求項1に記載の電流センサーを備えた電気接続箱。
  3. 前記電流センサーは上部に貫通穴を備え、該電流センサーの下部は前記ケースの上面に設けた凹部に収容され、該凹部の底面および内周面との間に放熱用の空隙が設けられている請求項1または請求項2に記載の電流センサーを備えた電気接続箱。
  4. 前記凹部の周縁に前記電流センサーの仮係止手段が設けられ、前記ボルトの締結で本係止される請求項3に記載の電流センサーを備えた電気接続箱。
JP2008198298A 2008-07-31 2008-07-31 電流センサーを備えた電気接続箱 Active JP5228679B2 (ja)

Priority Applications (4)

Application Number Priority Date Filing Date Title
JP2008198298A JP5228679B2 (ja) 2008-07-31 2008-07-31 電流センサーを備えた電気接続箱
US12/453,992 US8035040B2 (en) 2008-07-31 2009-05-28 Electrical junction box provided with electric current sensor
DE102009023607.4A DE102009023607B4 (de) 2008-07-31 2009-06-02 Verteiler für elektrische Leistung mit Stromsensor
CN2009101609302A CN101640397B (zh) 2008-07-31 2009-07-24 设有电流传感器的电接线盒

Applications Claiming Priority (1)

Application Number Priority Date Filing Date Title
JP2008198298A JP5228679B2 (ja) 2008-07-31 2008-07-31 電流センサーを備えた電気接続箱

Publications (2)

Publication Number Publication Date
JP2010041746A true JP2010041746A (ja) 2010-02-18
JP5228679B2 JP5228679B2 (ja) 2013-07-03

Family

ID=41461812

Family Applications (1)

Application Number Title Priority Date Filing Date
JP2008198298A Active JP5228679B2 (ja) 2008-07-31 2008-07-31 電流センサーを備えた電気接続箱

Country Status (4)

Country Link
US (1) US8035040B2 (ja)
JP (1) JP5228679B2 (ja)
CN (1) CN101640397B (ja)
DE (1) DE102009023607B4 (ja)

Cited By (3)

* Cited by examiner, † Cited by third party
Publication number Priority date Publication date Assignee Title
JP2019170126A (ja) * 2018-03-26 2019-10-03 古河電気工業株式会社 電気接続箱
JP2023161360A (ja) * 2022-04-25 2023-11-07 矢崎総業株式会社 電気接続箱
US12504447B2 (en) 2021-08-19 2025-12-23 Alps Alpine Co., Ltd. Current sensor

Families Citing this family (19)

* Cited by examiner, † Cited by third party
Publication number Priority date Publication date Assignee Title
JP5500518B2 (ja) * 2009-06-10 2014-05-21 矢崎総業株式会社 電流センサ付きバッテリーターミナル
JP2011096636A (ja) * 2009-09-30 2011-05-12 Sanyo Electric Co Ltd 回路モジュールおよびそれを備えた電動車両
JP5382525B2 (ja) * 2009-11-05 2014-01-08 住友電装株式会社 電気接続箱
JP5338932B2 (ja) * 2011-07-26 2013-11-13 株式会社デンソー 電力変換装置
JP5648981B2 (ja) * 2012-06-20 2015-01-07 住友電装株式会社 電気接続箱
JP5875154B2 (ja) * 2012-07-25 2016-03-02 矢崎総業株式会社 電気接続箱
CN106099790A (zh) * 2013-04-27 2016-11-09 颜建峰 电动童车接线盒
JP6297904B2 (ja) * 2014-04-21 2018-03-20 矢崎総業株式会社 被支持部材と支持体との係止構造
JP6252872B2 (ja) * 2015-02-24 2017-12-27 株式会社オートネットワーク技術研究所 電気接続箱及び接続端子部品
WO2017135024A1 (ja) * 2016-02-01 2017-08-10 パナソニックIpマネジメント株式会社 バッテリーセンサー装置
US10527464B2 (en) * 2016-08-18 2020-01-07 Ford Global Technologies, Llc Rotatable sensor cover
US11754426B2 (en) * 2019-01-04 2023-09-12 Westinghouse Air Brake Technologies Corporation Transducer sensor system
JP7346844B2 (ja) * 2019-02-21 2023-09-20 住友電装株式会社 電子モジュール
JP6904996B2 (ja) * 2019-03-11 2021-07-21 矢崎総業株式会社 樹脂構造体
JP7375512B2 (ja) * 2019-12-05 2023-11-08 株式会社オートネットワーク技術研究所 電気接続箱
JP7013496B2 (ja) * 2020-01-07 2022-01-31 矢崎総業株式会社 電気接続箱及びワイヤハーネス
DE102020203560A1 (de) * 2020-03-19 2021-09-23 Ellenberger & Poensgen Gmbh Stromverteiler eines Bordnetzes eines Kraftfahrzeugs
JP7471469B2 (ja) * 2021-01-19 2024-04-19 アルプスアルパイン株式会社 電流検出装置
JP2022128669A (ja) * 2021-02-24 2022-09-05 サンコール株式会社 電流センサ

Citations (3)

* Cited by examiner, † Cited by third party
Publication number Priority date Publication date Assignee Title
JP2000324667A (ja) * 1999-05-13 2000-11-24 Yazaki Corp 電気接続箱の電流検出装置
JP2003004775A (ja) * 2001-06-19 2003-01-08 Sumitomo Wiring Syst Ltd 車両搭載用電流センサー
JP2007037375A (ja) * 2005-07-29 2007-02-08 Suzuki Motor Corp 電源ボックスのバスバー構造

Family Cites Families (16)

* Cited by examiner, † Cited by third party
Publication number Priority date Publication date Assignee Title
JP3010422B2 (ja) * 1995-09-20 2000-02-21 矢崎総業株式会社 電気接続箱のバスバー構造
US6404628B1 (en) * 2000-07-21 2002-06-11 General Motors Corporation Integrated power electronics cooling housing
FI109566B (fi) * 2000-11-24 2002-08-30 Ensto Busch Jaeger Oy Asennusrasia sähkökojeita varten
JP2003123734A (ja) * 2001-10-16 2003-04-25 Auto Network Gijutsu Kenkyusho:Kk バッテリー端子とバスバーの接続構造
US7084617B2 (en) * 2004-04-21 2006-08-01 Denso Corporation Electric current sensor having magnetic gap
JP2006085945A (ja) * 2004-09-14 2006-03-30 Denso Corp 電流センサの取付け構造
JP2006166528A (ja) * 2004-12-03 2006-06-22 Yazaki Corp 電気接続箱
JP2006320147A (ja) * 2005-05-13 2006-11-24 Yazaki Corp 電気接続箱
JP2007002873A (ja) 2005-06-21 2007-01-11 Special Parts Takegawa:Kk クランクシャフトの支持構造
JP4756935B2 (ja) * 2005-06-29 2011-08-24 本田技研工業株式会社 コンデンサ搭載型インバータユニット
JP2007028773A (ja) 2005-07-14 2007-02-01 Sumitomo Wiring Syst Ltd 車載用電気接続箱
JP4612554B2 (ja) * 2006-02-16 2011-01-12 株式会社東海理化電機製作所 電流センサ
JP4628987B2 (ja) * 2006-04-10 2011-02-09 矢崎総業株式会社 温度検出機能付き電流センサ
JP4560011B2 (ja) * 2006-06-08 2010-10-13 住友電装株式会社 電流センサーを備えた電源回路構造およびその組立方法
JP4442593B2 (ja) * 2006-07-20 2010-03-31 株式会社日立製作所 電力変換装置
JP2008198298A (ja) 2007-02-14 2008-08-28 Oki Electric Ind Co Ltd 半導体記憶装置

Patent Citations (3)

* Cited by examiner, † Cited by third party
Publication number Priority date Publication date Assignee Title
JP2000324667A (ja) * 1999-05-13 2000-11-24 Yazaki Corp 電気接続箱の電流検出装置
JP2003004775A (ja) * 2001-06-19 2003-01-08 Sumitomo Wiring Syst Ltd 車両搭載用電流センサー
JP2007037375A (ja) * 2005-07-29 2007-02-08 Suzuki Motor Corp 電源ボックスのバスバー構造

Cited By (4)

* Cited by examiner, † Cited by third party
Publication number Priority date Publication date Assignee Title
JP2019170126A (ja) * 2018-03-26 2019-10-03 古河電気工業株式会社 電気接続箱
US12504447B2 (en) 2021-08-19 2025-12-23 Alps Alpine Co., Ltd. Current sensor
JP2023161360A (ja) * 2022-04-25 2023-11-07 矢崎総業株式会社 電気接続箱
JP7518126B2 (ja) 2022-04-25 2024-07-17 矢崎総業株式会社 電気接続箱

Also Published As

Publication number Publication date
US20100025102A1 (en) 2010-02-04
CN101640397A (zh) 2010-02-03
DE102009023607A1 (de) 2010-02-04
DE102009023607B4 (de) 2016-12-22
CN101640397B (zh) 2012-05-30
US8035040B2 (en) 2011-10-11
JP5228679B2 (ja) 2013-07-03

Similar Documents

Publication Publication Date Title
JP5228679B2 (ja) 電流センサーを備えた電気接続箱
JP4769621B2 (ja) 車載用電気接続箱に収容されるバスバー
JP4341464B2 (ja) 電気機器の端子装置
JP4238797B2 (ja) 電気接続箱
JP2003009347A (ja) 電気接続箱
WO2017141784A1 (ja) 回路構成体および電気接続箱
JP5382525B2 (ja) 電気接続箱
JP2013506274A (ja) 太陽電池モジュール用接続箱及び太陽電池モジュール
CN111614195A (zh) 功率控制单元的供电连接部结构
CN105493222A (zh) 蓄电池直接安装熔线
JP2007087823A (ja) バッテリー接続用のヒューズユニット
JP6630489B2 (ja) 電子部品ユニット及びワイヤハーネス
JP5286055B2 (ja) 電気接続箱
JP4665750B2 (ja) ヒューズ取付構造および電気接続箱
JP5974971B2 (ja) リレーユニット
JP4306602B2 (ja) 電気接続箱
JP2015122884A (ja) 電力変換装置、及びその配置構造
JP4914746B2 (ja) 電気接続箱のハーネス付設構造
JP5068054B2 (ja) 電気接続箱の取付構造
JP6638309B2 (ja) 電力変換装置
JP2009278799A (ja) 電気接続箱
JP2012243700A (ja) 板状端子と接続相手との接続構造、及び電気接続箱
KR101001887B1 (ko) 차량용 박스
US20130049920A1 (en) Power shutoff device
JP2016096653A (ja) 電気接続箱

Legal Events

Date Code Title Description
A621 Written request for application examination

Free format text: JAPANESE INTERMEDIATE CODE: A621

Effective date: 20101117

A977 Report on retrieval

Free format text: JAPANESE INTERMEDIATE CODE: A971007

Effective date: 20120125

A131 Notification of reasons for refusal

Free format text: JAPANESE INTERMEDIATE CODE: A131

Effective date: 20120710

A521 Written amendment

Free format text: JAPANESE INTERMEDIATE CODE: A523

Effective date: 20120910

TRDD Decision of grant or rejection written
A01 Written decision to grant a patent or to grant a registration (utility model)

Free format text: JAPANESE INTERMEDIATE CODE: A01

Effective date: 20130219

A61 First payment of annual fees (during grant procedure)

Free format text: JAPANESE INTERMEDIATE CODE: A61

Effective date: 20130304

FPAY Renewal fee payment (event date is renewal date of database)

Free format text: PAYMENT UNTIL: 20160329

Year of fee payment: 3

R150 Certificate of patent or registration of utility model

Ref document number: 5228679

Country of ref document: JP

Free format text: JAPANESE INTERMEDIATE CODE: R150

Free format text: JAPANESE INTERMEDIATE CODE: R150