JP2010040739A - 電子部品搭載装置 - Google Patents

電子部品搭載装置 Download PDF

Info

Publication number
JP2010040739A
JP2010040739A JP2008201617A JP2008201617A JP2010040739A JP 2010040739 A JP2010040739 A JP 2010040739A JP 2008201617 A JP2008201617 A JP 2008201617A JP 2008201617 A JP2008201617 A JP 2008201617A JP 2010040739 A JP2010040739 A JP 2010040739A
Authority
JP
Japan
Prior art keywords
pressure
ejector
flow rate
negative pressure
pipe
Prior art date
Legal status (The legal status is an assumption and is not a legal conclusion. Google has not performed a legal analysis and makes no representation as to the accuracy of the status listed.)
Granted
Application number
JP2008201617A
Other languages
English (en)
Other versions
JP5147589B2 (ja
Inventor
Hitoshi Kobayashi
仁 小林
Ayumi Shimizu
歩 清水
Current Assignee (The listed assignees may be inaccurate. Google has not performed a legal analysis and makes no representation or warranty as to the accuracy of the list.)
Juki Corp
Original Assignee
Juki Corp
Priority date (The priority date is an assumption and is not a legal conclusion. Google has not performed a legal analysis and makes no representation as to the accuracy of the date listed.)
Filing date
Publication date
Application filed by Juki Corp filed Critical Juki Corp
Priority to JP2008201617A priority Critical patent/JP5147589B2/ja
Publication of JP2010040739A publication Critical patent/JP2010040739A/ja
Application granted granted Critical
Publication of JP5147589B2 publication Critical patent/JP5147589B2/ja
Expired - Fee Related legal-status Critical Current
Anticipated expiration legal-status Critical

Links

Images

Landscapes

  • Supply And Installment Of Electrical Components (AREA)

Abstract

【課題】流量計とバルブが無くとも、エジェクタを取り付けたまま、背圧特性を容易に取得でき、負圧発生能力の良否を容易に判定できるようにする。
【解決手段】吸着ノズル20に、連結された配管22を通して負圧を供給するエジェクタ24と、前記エジェクタによる圧力を測定する圧力計30とを備えていると共に、前記配管のみ及び該配管に装着した1以上の吸着ノズルの少なくとも1つの装着状態について、該配管を流れる気体の流量と圧力の関係を流量特性として予め求めておき、前記いずれかの装着状態でエジェクタを動作した時に、前記圧力計により検出される検出圧力を、前記流量特性に適用して対応する流量を求め、該流量と検出圧力を該エジェクタの背圧特性として取得し、取得された背圧特性を予め作成されている良否判定基準と比較し、該エジェクタの負圧発生能力を判定する判定手段40を備えた。
【選択図】図6

Description

本発明は、電子部品搭載装置、特に電子部品を負圧により吸着する負圧吸着装置を備えた電子部品搭載装置に関する。
吸着ノズルの先端に電子部品を負圧により吸着保持して搬送する方法は、機械的なチャックにより保持して搬送する方法と比較して、構成が簡単である上に、省スペースで、高速性である等の理由から電子部品の搭載装置等で広く採用されている。
このような目的で負圧を発生させる機器には真空ポンプ等数種類あるが、中でもノズルからディフューザに噴射された空気の流速により負圧を発生させるタイプの真空発生器であるエジェクタは、省スペースである上に、負圧・正圧の切替性も良好であることから電子部品の搭載装置では広く採用されている。
しかしながら、エジェクタは使用する環境や頻度等により負圧発生能力が低下していき、部品の吸着不良を引き起こすようになる。このように能力が低下したエジェクタは、新品に交換することで対応可能であるが、日々緻密に組まれている生産日程の中で稼動している電子部品搭載装置等においては、突然発生したエジェクタの部品交換による時間的損失は、そのまま利益に影響するため、簡単に交換することができない。
よって、エジェクタの負圧発生能力の低下から不具合の発生を予知し、計画的にエジェクタを交換することが損失を回避するための有効な手段となっている。
電子部品搭載装置に組み込まれているエジェクタの負圧発生能力は、真空到達圧で判断する方法が一般である。特許文献1ではエジェクタ側に圧力センサを設けて、到達圧が初期値に達しない場合には、エジェクタの故障(例えばそのノズルの詰まり)が考えられるので、エジェクタを清掃するか、あるいは交換するようにしている。
しかしながら、真空到達圧だけでエジェクタの負圧発生能力を判断しようとした場合には、問題があることがある。
例えば、吸着する部品とノズルの接触が隙間無く密着した状態で行なわれる場合はエア流量が0となるため、エジェクタの負圧発生能力は吸い込み流量が0になったときの圧力を見ることで真空到達圧を容易に判断できる。
ところが、ノズルと部品の接触部に隙間の発生が避けられない状況、例えばコネクタ等の電子部品のように表面形状に凹凸が多いため、密着した状態でノズルを接触させることができない場合等では、常に隙間からエアを吸い込み続けることになるため、流量0で検出される真空到達圧によってはエジェクタの負圧発生能力を判断することはできない。
流量0の真空到達圧以外でエジェクタの負圧発生能力を判断する場合は、エジェクタが負圧により吸い込むエアの流量と圧力値との関係を表わす背圧特性を取得する必要がある。
特開2000−59100号公報
しかしながら、従来の電子部品搭載装置には、背圧特性を取得する目的の機能が付いていなかったため、背圧特性を取得するためには該装置からエジェクタを一旦取り外し、別途設けた専用の測定器具に取り付けて計測しなければならず、時間的にも作業的にも損失が大きくなってしまう。そのため、一度装置に組み付けられたエジェクタに関しては、背圧特性を取得することは困難であるため行われていなかった。
そこで、本出願人は、エジェクタを装置に取り付けたままでもその背圧特性を容易に取得することができ、結果としてエジェクタの良否判定を時間的・作業的な損失を伴うことなく行なうことができるようにするために、部品供給部から電子部品を吸着保持し、基板上に搭載する搭載ヘッドを備えた電子部品搭載装置において、前記搭載ヘッドに装着され、電子部品を負圧により吸着する吸着ノズルと、該吸着ノズルに、連結された配管を通して負圧を供給するエジェクタと、該配管内を流れる気体の流量を調整するバルブと、該バルブにより調整される気体の流量を検出する流量計と、前記エジェクタによる負圧側の圧力を測定する圧力計とを備えていると共に、前記エジェクタの動作時に、前記流量計により検出される流量と、前記圧力計により検出される圧力との関係から、該エジェクタの背圧特性を測定し、測定された背圧特性を予め作成されている良否判定基準と比較し、該エジェクタの負圧発生能力を判定する判定手段を備えたものを、特願2008−31889により既に提案している。
この提案済の発明によれば、搭載ヘッドに装着されている吸着ノズルに負圧を供給するエジェクタについて、負圧発生時の流量と圧力とを適宜測定して背圧特性を取得できるようにしたので、予め作成してある良否判定基準と比較することにより、装置に取り付けたままでも該エジェクタの負圧発生能力の良否判定を容易に行なうことが可能となる。
以下、この提案済の電子部品搭載装置を図面を参照して具体的に説明する。
この電子部品搭載装置10は、その概要を図1に示すように、搭載ヘッド11を備え、該搭載ヘッド11は、X軸ガイド12によりX方向に移動されると共に、該Xガイド12と一体的にY軸ガイド13によりY方向に移動されることにより、テープフィーダ(部品供給部)14から後述する吸着ノズルにより電子部品(図示せず)を吸着保持し、部品認識カメラ15で認識した後、位置決めされている基板S上に搭載することが可能になっている。
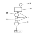
この搭載装置10は、図2に模式的に示すように、前記搭載ヘッド11に装着され、図示しない電子部品を負圧により吸着する吸着ノズル20と、該吸着ノズル20に連結された配管(シャフト)22を通して負圧を供給する、前記搭載ヘッド11に取付けられているエジェクタ24とを備えている。又、該配管22を通る気体の流量を調整するバルブ26と、該バルブ26により調整される気体の流量を検出する流量計28と、前記エジェクタ24による負圧側の圧力を測定する圧力計30とを備えている。ここで、バルブ26、流量計28及び圧力計30は、エジェクタ24の吸込側(負圧側)であればどこに配置してもよい。
この搭載装置では、図2に対応する気体制御回路を図3に示すように、搭載装置10の全体を制御する制御装置(図示せず)に含まれる制御部32により、バルブ26の開度を調整できるようになっている。
又、この制御部32には、バルブ26の任意の開度調整位置に対応して流量計28と圧力計30からそれぞれセンサ出力として検出値が入力されるようになっている。
一方、この制御部32には、流量計28により検出される流量と、圧力計30により検出される圧力との関係から測定される前記エジェクタ24の背圧特性について、負圧発生能力の良否を判定するための良否判定基準を表わす基準線が実験的に予め作成され、保存されている。図4には、この良否判定基準線の一例を示す。
ここでは、上記制御部(判定手段)32により、エジェクタ24の動作時に適宜検出される流量と圧力との関係(背圧特性)を、上記良否判定基準線と比較することにより、該エジェクタ24の負圧発生能力を判定するようになっている。
即ち、図5のフローチャートに示すように、エジェクタ24を動作させてバキュームをONにして電子部品を吸着し(ステップ1)、その部品の吸着時に圧力を検出する(ステップ2)と共に、流量を検出する(ステップ3)。
次いで、検出した圧力と流量の関係を図4の良否判定基準線と比較し(ステップ4)、良否判定基準線より下回っていれば警告を発する。
又、部品吸着時以外でも、必要に応じてバルブ26により流量調整を行ない、流量と圧力の関係を検出できるようにし、検出した流量と圧力が良否判定基準線より下回れば同様に警告を発する。
以上詳述した搭載装置によれば、エジェクタ24の動作時の圧力検出機能と流量検出機能を搭載ヘッド11に有するようにしたため、電子部品の吸着時や任意の時に圧力と流量を検出することができ、その検出した圧力と流量の関係を予め定めてある良否判定基準線と比較することにより、良否判定を行なう機能を持たせることが可能となった。
従って、エジェクタを電子部品搭載装置から取り外すことなく、該エジェクタの良否判定を行なうことができるため、時間的・作業的な損失を削減できる。
又、容易にエジェクタの良否判定を行なうことができるため、エジェクタの能力低下をいち早く知ることができ、計画的な生産を行なうことができるようになる。
本出願人が既に提案している技術によれば、以上詳述した如く優れた効果が得られるが、この技術には、流量を測定するための流量計と、流量を調整するためのバルブを搭載ヘッド11に装着されるシャフト毎に設ける必要があるため、その分だけ搭載ヘッド(ヘッド部)11による部品搭載時の負荷が大きくなり、部品の搭載精度にはマイナスの影響を及ぼすことになる上に、ヘッド部を小型化することができず、しかもコストがかかるという新たな問題があることが明らかとなった。
本発明は、この新たな問題を解決するべくなされたもので、搭載ヘッドの小型化を実現した上で、提案済みの技術と同様にエジェクタの良否判定を容易に行なうことができる電子部品実装装置を提供することを課題とする。
本発明は、部品供給部から電子部品を吸着保持し、基板上に搭載する搭載ヘッドを備えた電子部品搭載装置において、前記搭載ヘッドに装着され、電子部品を負圧により吸着する吸着ノズルと、該吸着ノズルに、連結された配管を通して負圧を供給するエジェクタと、前記エジェクタによる圧力を測定する圧力計とを備えていると共に、前記配管のみ及び該配管に装着した1以上の吸着ノズルの少なくとも1つの装着状態について、該配管を流れる気体の流量と圧力の関係を流量特性として予め求めておき、前記いずれかの装着状態でエジェクタを動作した時に、前記圧力計により検出される検出圧力を、前記流量特性に適用して対応する流量を求め、該流量と検出圧力を該エジェクタの背圧特性として取得し、取得された背圧特性を予め作成されている良否判定基準と比較し、該エジェクタの負圧発生能力を判定する判定手段を備えたことにより、前記課題を解決したものである。
本発明によれば、シャフトに装着された1以上の(2以上の場合は径が異なる)吸着ノズル及びシャフト自体の少なくとも1つの装着状態について予め流量特性を求めておき、適宜エジェクタを動作したときに圧力を検出し、検出される圧力を該当する流量特性を適用して流量を求めることにより、背圧特性を取得するようにしたので、ヘッド部に流量計やバルブを取り付けることなく、エジェクタの良否判定を容易に行なうことができる。
以下、図面を参照して、本発明の実施の形態について詳細に説明する。
本発明に係る一実施形態の電子部品実装装置は、前記図2からバルブ26と流量計28を除外するハード構成とすると共に、気体制御回路を図3の代わりに図6の構成にした以外は、提案済みの電子部品搭載装置と基本的な構成は同一である。従って、同一の符号を使用し、詳細な説明を省略する。
本実施形態では、図6に示されるように、前記制御部32に相当する判定部40が備えられ、ここに圧力計30から検出値が入力されるようになっている。
この判定部40には、図7に示すノズル等の流量特性のデータが保存されている。図中“ノズル装着無し”は吸着ノズルが装着されていないシャフト22のみについて、ノズルA、B、Cはそれぞれシャフト22に装着されたノズル径が小、中、大の吸着ノズルについて取得された流量特性を表わしている。ここではシャフト22のみも装着状態の1つと考える。
この流量特性は、シャフト22と、該シャフト22にそれぞれ装着したノズルA、B、Cについて、別途用意した専用の装置を使って、圧力と流量の関係をそれぞれ予め測定して求め、インプットしたものである。専用の装置としては、例えば提案済みのようにバルブと流量計を備えたものを利用できる。
又、この判定部40には、エジェクタ(真空発生器)24の背圧特性を比較・判定するために、図8に示す良否判定基準データが保存されている。
従って、本実施形態では、前記図5に示したフローチャートと同様に、ステップ2で前記圧力計30から検出された圧力が適宜入力されると、ステップ3の検出の代わりに上記判定部40でその圧力を前記流量特性の関係式(グラフ)に適用して該当する流量を求め、求めた圧力と流量によって決まる背圧特性を、図8の良否判定基準と比較し、同様に良否判定を行なう。
その際、同一のエジェクタ(真空発生器)について、ノズルA〜C等のように、複数の径が異なる吸着ノズルやシャフト22のみについても同様に背圧特性を取得し、図8に示すようにグラフ上にプロットし、基準線と比較することが精度向上のために有効である。
以上詳述した本実施形態によれば、流量計と流量を調整するバルブが付いていなくても流量を取得することができ、又、ノズル径を変更することにより複数の流量に相当する圧力値(背圧特性)を取得することができる。
従って、以下の効果を得ることができる。
(1)流量計とバルブが不要となるため、ヘッド部への負荷が減り、該ヘッド部による部品の搭載精度に対してプラスになる。
(2)流量計とバルブが不要となるため、ヘッド部の小型化が実現でき、コストを削減することができる。
なお、前記実施形態では、エジェクタの背圧特性とノズルの流量特性を負圧で取得したが、正圧で取得することもできる。
電子部品搭載装置の概要を示す斜視図 提案済みの電子部品搭載装置が備えている搭載ヘッドの負圧発生部に含まれる吸着ノズルとエジェクタの関係を示す模式図 上記負圧発生部の判定制御部の概要を示す気体制御回路図 エジェクタの背圧特性と良否判定基準線との関係を示す線図 搭載装置の作用を示すフローチャート 本発明に係る一実施形態の負圧発生部の判定制御部の概要を示す気体制御回路図 ノズルの流量特性を示す線図 本実施形態による真空発生器の背圧特性と良否判定基準線との関係を示す線図
符号の説明
10…電子部品搭載装置
11…搭載ヘッド
12…X軸ガイド
13…Y軸ガイド
14…テープフィーダ
15…部品認識カメラ
20…吸着ノズル
22…配管(シャフト)
24…エジェクタ
26…バルブ
28…流量計
30…圧力計
32…制御部
40…判定部
S…基板

Claims (1)

  1. 部品供給部から電子部品を吸着保持し、基板上に搭載する搭載ヘッドを備えた電子部品搭載装置において、
    前記搭載ヘッドに装着され、電子部品を負圧により吸着する吸着ノズルと、
    該吸着ノズルに、連結された配管を通して負圧を供給するエジェクタと、
    前記エジェクタによる圧力を測定する圧力計とを備えていると共に、
    前記配管のみ及び該配管に装着した1以上の吸着ノズルの少なくとも1つの装着状態について、該配管を流れる気体の流量と圧力の関係を流量特性として予め求めておき、
    前記いずれかの装着状態でエジェクタを動作した時に、前記圧力計により検出される検出圧力を、前記流量特性に適用して対応する流量を求め、該流量と検出圧力を該エジェクタの背圧特性として取得し、取得された背圧特性を予め作成されている良否判定基準と比較し、該エジェクタの負圧発生能力を判定する判定手段を備えたことを特徴とする電子部品搭載装置。
JP2008201617A 2008-08-05 2008-08-05 電子部品搭載装置 Expired - Fee Related JP5147589B2 (ja)

Priority Applications (1)

Application Number Priority Date Filing Date Title
JP2008201617A JP5147589B2 (ja) 2008-08-05 2008-08-05 電子部品搭載装置

Applications Claiming Priority (1)

Application Number Priority Date Filing Date Title
JP2008201617A JP5147589B2 (ja) 2008-08-05 2008-08-05 電子部品搭載装置

Publications (2)

Publication Number Publication Date
JP2010040739A true JP2010040739A (ja) 2010-02-18
JP5147589B2 JP5147589B2 (ja) 2013-02-20

Family

ID=42012981

Family Applications (1)

Application Number Title Priority Date Filing Date
JP2008201617A Expired - Fee Related JP5147589B2 (ja) 2008-08-05 2008-08-05 電子部品搭載装置

Country Status (1)

Country Link
JP (1) JP5147589B2 (ja)

Citations (2)

* Cited by examiner, † Cited by third party
Publication number Priority date Publication date Assignee Title
JPH0569997A (ja) * 1991-09-06 1993-03-23 Smc Corp 真空ユニツト
JP2006179588A (ja) * 2004-12-21 2006-07-06 Juki Corp 部品実装装置

Patent Citations (2)

* Cited by examiner, † Cited by third party
Publication number Priority date Publication date Assignee Title
JPH0569997A (ja) * 1991-09-06 1993-03-23 Smc Corp 真空ユニツト
JP2006179588A (ja) * 2004-12-21 2006-07-06 Juki Corp 部品実装装置

Also Published As

Publication number Publication date
JP5147589B2 (ja) 2013-02-20

Similar Documents

Publication Publication Date Title
CN103869750B (zh) 通过至少一个加工射流来加工一系列工件的方法和加工装置
JP2016518959A (ja) 基材上に粘性材料を供給する方法及び装置
JPWO2009005058A1 (ja) 吸着センサコントローラおよびそれを用いた吸着搬送装置
JP7022886B2 (ja) 作業装置及び作業装置の検査方法
WO2009090775A1 (ja) 真空発生装置
WO2015004804A1 (ja) 部品実装機
CN110858553B (zh) 基板处理装置及方法
KR102357456B1 (ko) 고주파 전력 공급 장치 및 고주파 전력의 공급 방법
JP6491903B2 (ja) 基板洗浄装置および方法
JP5147589B2 (ja) 電子部品搭載装置
WO2014073088A1 (ja) 部品実装ラインの生産監視システム及び生産監視方法
WO2013132879A1 (ja) 演算装置、部品実装装置、及びプログラム
JP6349396B2 (ja) 検査方法
JP2009194078A (ja) 電子部品搭載装置
JP4821246B2 (ja) 電子部品実装方法
JP2019010681A (ja) 作業装置及び作業方法
CN101439329B (zh) 涂敷装置及其基板保持方法
JP6755143B2 (ja) マスククリーニング装置、印刷機、マスククリーニング方法
JP4791392B2 (ja) 加工治具
US20070267392A1 (en) Welding workpiece movement sensing system
WO2018163394A1 (ja) 部品実装機
JP5493933B2 (ja) 真空圧制御装置及び真空圧制御方法
KR100846783B1 (ko) 불량기판 검출장치 및 방법
EP2905103A1 (en) Electrode arrangement for welding a nut welding assembly with monitoring of purge air supply
CN103028564A (zh) 溶液供应单元、清洁系统及其清洁方法

Legal Events

Date Code Title Description
A621 Written request for application examination

Free format text: JAPANESE INTERMEDIATE CODE: A621

Effective date: 20110803

A977 Report on retrieval

Free format text: JAPANESE INTERMEDIATE CODE: A971007

Effective date: 20120802

A131 Notification of reasons for refusal

Free format text: JAPANESE INTERMEDIATE CODE: A131

Effective date: 20120807

A521 Request for written amendment filed

Free format text: JAPANESE INTERMEDIATE CODE: A523

Effective date: 20121005

TRDD Decision of grant or rejection written
A01 Written decision to grant a patent or to grant a registration (utility model)

Free format text: JAPANESE INTERMEDIATE CODE: A01

Effective date: 20121030

A61 First payment of annual fees (during grant procedure)

Free format text: JAPANESE INTERMEDIATE CODE: A61

Effective date: 20121127

R150 Certificate of patent or registration of utility model

Ref document number: 5147589

Country of ref document: JP

Free format text: JAPANESE INTERMEDIATE CODE: R150

Free format text: JAPANESE INTERMEDIATE CODE: R150

FPAY Renewal fee payment (event date is renewal date of database)

Free format text: PAYMENT UNTIL: 20151207

Year of fee payment: 3

LAPS Cancellation because of no payment of annual fees