JP2010040513A - 補強膜付き触媒層−電解質膜積層体、補強膜付き電極−電解質膜積層体、及び固体高分子形燃料電池 - Google Patents

補強膜付き触媒層−電解質膜積層体、補強膜付き電極−電解質膜積層体、及び固体高分子形燃料電池 Download PDF

Info

Publication number
JP2010040513A
JP2010040513A JP2009156935A JP2009156935A JP2010040513A JP 2010040513 A JP2010040513 A JP 2010040513A JP 2009156935 A JP2009156935 A JP 2009156935A JP 2009156935 A JP2009156935 A JP 2009156935A JP 2010040513 A JP2010040513 A JP 2010040513A
Authority
JP
Japan
Prior art keywords
electrolyte membrane
catalyst layer
layer
membrane
reinforcing
Prior art date
Legal status (The legal status is an assumption and is not a legal conclusion. Google has not performed a legal analysis and makes no representation as to the accuracy of the status listed.)
Granted
Application number
JP2009156935A
Other languages
English (en)
Other versions
JP5828613B2 (ja
Inventor
Yasuki Yoshida
安希 吉田
Rei Hiromitsu
礼 弘光
Current Assignee (The listed assignees may be inaccurate. Google has not performed a legal analysis and makes no representation or warranty as to the accuracy of the list.)
Dai Nippon Printing Co Ltd
Original Assignee
Dai Nippon Printing Co Ltd
Priority date (The priority date is an assumption and is not a legal conclusion. Google has not performed a legal analysis and makes no representation as to the accuracy of the date listed.)
Filing date
Publication date
Application filed by Dai Nippon Printing Co Ltd filed Critical Dai Nippon Printing Co Ltd
Priority to JP2009156935A priority Critical patent/JP5828613B2/ja
Publication of JP2010040513A publication Critical patent/JP2010040513A/ja
Application granted granted Critical
Publication of JP5828613B2 publication Critical patent/JP5828613B2/ja
Expired - Fee Related legal-status Critical Current
Anticipated expiration legal-status Critical

Links

Images

Classifications

    • YGENERAL TAGGING OF NEW TECHNOLOGICAL DEVELOPMENTS; GENERAL TAGGING OF CROSS-SECTIONAL TECHNOLOGIES SPANNING OVER SEVERAL SECTIONS OF THE IPC; TECHNICAL SUBJECTS COVERED BY FORMER USPC CROSS-REFERENCE ART COLLECTIONS [XRACs] AND DIGESTS
    • Y02TECHNOLOGIES OR APPLICATIONS FOR MITIGATION OR ADAPTATION AGAINST CLIMATE CHANGE
    • Y02EREDUCTION OF GREENHOUSE GAS [GHG] EMISSIONS, RELATED TO ENERGY GENERATION, TRANSMISSION OR DISTRIBUTION
    • Y02E60/00Enabling technologies; Technologies with a potential or indirect contribution to GHG emissions mitigation
    • Y02E60/30Hydrogen technology
    • Y02E60/50Fuel cells

Landscapes

  • Fuel Cell (AREA)

Abstract

【課題】電解質膜の破損を確実に防止でき、また電解質膜を有効に利用することのできる触媒層−電解質膜積層体、電極−電解質膜積層体、及び固体高分子形燃料電池を提供することを課題とする。
【解決手段】パーフルオロカーボンスルホン酸系のフッ素イオン交換樹脂を材料とする固体高分子電解質膜2と、電解質膜2の両面にそれぞれ形成された触媒層3と、パーフルオロカーボンスルホン酸系のフッ素イオン交換樹脂を材料とし、電解質2膜及び触媒層3からなる触媒層−電解質膜積層体10の外周縁部を覆うように触媒層−電解質膜積層体10の両面に溶着された枠状の溶着層43を有する補強膜4と、を備えている。
【選択図】図1

Description

本発明は、補強膜付き触媒層−電解質膜積層体、補強膜付き電極−電解質膜積層体、及び固体高分子形燃料電池に関するものである。
燃料電池は、電解質膜の両面に電極が配置され、水素と酸素の電気化学反応により発電する電池であり、発電時に発生するのは水のみである。このように従来の内燃機関と異なり、二酸化炭素等の環境負荷ガスを発生しないために次世代のクリーンエネルギーシステムとして普及が見込まれている。その中でも特に固体高分子形燃料電池は、作動温度が低く、電解質膜の抵抗が少ないことに加え、活性の高い触媒を用いるので小型でも高出力を得ることができ、家庭用コージェネレーションシステム等として早期の実用化が見込まれている。
この固体高分子形燃料電池は、通常、プロトン伝導性を有する固体高分子電解質膜を用い、この電解質膜の両面に触媒層及びガス拡散層を順に積層して電極を形成している。そして、この触媒層及びガス拡散層からなる電極の周囲を囲むようにガスケットを配置し、さらにこれをセパレータで挟んだ構造を有している(例えば、特許文献1の図1参照)。
特開2006−236671号公報
ところで、上記固体高分子形燃料電池は、ガスケットが位置精度の観点から電極の一回り外側を囲むように設置されているため、ガスケットと電極との間に隙間が形成されており、この隙間部分に対応する電解質膜は、電極またはガスケットのどちらにも押さえられていない状態となっている。ここで、固体高分子形燃料電池は発電・非発電を繰り返すと電解質膜が湿潤状態と乾燥状態とを繰り返すが、上記隙間部分に対応する電解質膜は、電極またはガスケットで押さえられていないために膨張と収縮が繰り返される。この結果、電解質膜に応力が生じて疲労してしまい、電解質膜が破損してしまうおそれがあった。
また、上記固体高分子形燃料電池は、ガスケットが設置される電解質膜の外周縁部は発電に寄与しない部分であり、一般的に高価な電解質膜を有効に利用できていないといった問題もあった。
そこで、本発明は、電解質膜の破損を確実に防止でき、また電解質膜を有効に利用することのできる触媒層−電解質膜積層体、電極−電解質膜積層体、及び固体高分子形燃料電池を提供することを課題とする。
本発明に係る補強膜付き触媒層−電解質膜積層体は、上記課題を解決するためになされたものであり、パーフルオロカーボンスルホン酸系のフッ素イオン交換樹脂を材料とする固体高分子電解質膜と、前記電解質膜の両面にそれぞれ形成された触媒層と、パーフルオロカーボンスルホン酸系のフッ素イオン交換樹脂を材料とし、前記電解質膜及び触媒層からなる触媒層−電解質膜積層体の外周縁部を覆うように前記触媒層−電解質膜積層体の少なくとも一方面に溶着された枠状の溶着層を有する補強膜と、を備えている。
上述した本発明によれば、補強膜が触媒層−電解質膜積層体の外周縁部を覆うように触
媒層−電解質膜積層体の少なくとも一方面に溶着されているため、電解質膜よりも触媒層が小さい場合に、触媒層が形成されていない電解質膜の外周縁部を補強膜によって拘束することができる。このため、電解質膜の膨張・収縮を抑制することが可能となり、電解質膜の破損を防止することができる。また、補強膜が触媒層−電解質膜積層体の少なくとも一方面に溶着されているため、この補強膜を触媒層−電解質膜積層体よりも一回り大きく形成することで補強膜上にガスケットを設置することができる。このように電解質膜にガスケットを設置する必要がなくなるため触媒層と電解質膜とを同じ大きさにすることができ、ひいては、発電に寄与しない電解質膜を削減して電解質膜を有効に利用することができる。さらには、補強膜は、電解質膜と同じようにパーフルオロカーボンスルホン酸系のフッ素イオン交換樹脂を使用しているため、電解質膜と同じように膨張収縮し、その結果、補強膜が電解質膜から剥がれることを確実に防ぐことができる。そして、触媒層は、通常、電解質膜と同じ材料、すなわちパーフルオロカーボンスルホン酸系のフッ素イオン交換樹脂を含んでいるため、補強膜が触媒層から剥がれることも確実に防ぐことができる。
上記補強膜付き触媒層−電解質膜積層体は種々の構成をとることができるが、例えば上記補強膜は、電解質膜と同一の材料で構成されていることが好ましい。この構成によれば、補強膜が電解質膜や触媒層から剥がれることをより確実に防ぐことができる。
また、上記補強膜は、溶着層上に形成され溶着層を保護する保護層をさらに有していることが好ましい。この構成によれば、補強膜付き触媒層−電解質膜積層体が輸送時や取り扱い時に損傷することを防ぐことができる。
また、上記補強膜は、溶着層上に形成され、燃料ガス及び酸化剤ガスの透過を防止するガスバリア層をさらに有していることが好ましい。この構成によれば、ガス漏れを確実に防ぐことができる。
なお、上記ガスバリア層は、ガスバリア性の観点からポリエステル系樹脂とすることが好ましい。
また、上記触媒層−電解質膜積層体は、触媒層が電解質膜の外周縁部を除いて電解質膜上に形成されており、補強膜は、溶着層が触媒層の外周縁部と電解質膜の外周縁部に溶着しているように構成することができる。この他にも触媒層−電解質膜積層体は、触媒層が前記電解質膜の両面全体に形成されており、補強膜は、触媒層−電解質膜積層体よりも一回り大きく形成されており、触媒層−電解質膜積層体を超えた部分において溶着層同士が互いに溶着しているように構成することもできる。
また、本発明に係る補強膜付き電極−電解質膜積層体は、上記課題を解決するためになされたものであり、上記いずれかに記載の補強膜付き触媒層−電解質膜積層体と、前記補強膜の開口部内から露出した前記触媒層上に形成されたガス拡散層と、を備えている。
また、本発明に係る固体高分子形燃料電池は、上記課題を解決するためになされたものであり、上記補強膜付き電極−電解質膜積層体と、前記触媒層及びガス拡散層からなる各電極の周囲を囲むように前記補強膜上にそれぞれ設置されたガスケットと、前記各電極及びガスケット上にそれぞれ設置されたセパレータと、を備えている。
本発明によれば、電解質膜の破損を確実に防止でき、また電解質膜を有効に利用することのできる触媒層−電解質膜積層体、電極−電解質膜積層体、及び固体高分子形燃料電池を提供することができる。
本発明に係る固体高分子形燃料電池の実施形態を示す正面断面図である。 本発明に係る固体高分子形燃料電池の実施形態を示す平面図である。 本実施形態に係る固体高分子形燃料電池の外周縁部の詳細を示す一部拡大断面図である。 本実施形態に係る固体高分子形燃料電池の製造方法を示す説明図である。 本実施形態に係る固体高分子形燃料電池の製造方法の一部を示す説明図である。 本発明に係る固体高分子形燃料電池の他の実施形態を示す正面断面図である。 本発明に係る固体高分子形燃料電池の他の実施形態を示す正面断面図である。
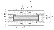
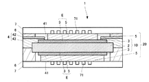
以下、本発明に係る固体高分子形燃料電池の実施形態について図面を参照しつつ説明する。図1は本実施形態に係る固体高分子形燃料電池の正面断面図、図2は本実施形態に係る固体高分子形燃料電池の平面図、図3は補強膜付き電極−電解質膜積層体の外周縁部の詳細を示す拡大正面断面図である。なお、図2において、説明を分かりやすくするため、セパレータ及びガスケットの記載を省略しており、補強膜を想像線(二点鎖線)で示している。
図1及び図2に示すように、固体高分子形燃料電池1は、平面視矩形状の電解質膜2を備えており、電解質膜2の上面及び下面に電解質膜2よりも一回り小さい平面視矩形状の触媒層3が形成されている。この電解質膜2の両面に触媒層3が形成されたものを触媒層−電解質膜積層体10という。このように、触媒層3は電解質膜2よりも一回り小さく形成されているため、電解質膜2の外周縁部21上には触媒層3が形成されていない。なお、電解質膜2の外周縁から触媒層3の外周縁までの距離C(図3参照)は、0〜5mmであることが好ましい。
そして、この触媒層−電解質膜積層体10の上面及び下面に、中央に開口部41を有する枠状の補強膜4がそれぞれ設置されている。補強膜4は2層構造となっており、燃料電池の発電に用いられる燃料ガスや酸化剤ガスの透過を防止するガスバリア層42と、触媒層−電解質膜積層体10の外周縁部に溶着する溶着層43とから構成されている。このガスバリア層42の膜厚は、10〜100μmとすることが好ましく、溶着層43の膜厚は、5〜100μmとすることが好ましい。補強膜4が触媒層−電解質膜積層体10に溶着された状態では、触媒層3がその外周縁部31を除いて補強膜4の開口部41から露出しており、補強膜4が触媒層3の外周縁部31と電解質2の外周縁部21上に溶着されている。なお、触媒層3の外周縁から補強膜4の内周縁までの距離B(図3参照)は、1〜10mmとすることが好ましい。また、補強膜4は電解質膜2よりも一回り大きく形成されているため、電解質膜2を超えた部分において電解質膜2からはみ出た各補強膜4の外周縁部45同士が溶着されている。この補強膜4の外周縁から電解質膜2の外周縁までの距離D(図3参照)は1〜100mmであることが好ましい。なお、このように触媒層−電解質膜積層体10に補強膜4が溶着されたものが、本発明の補強膜付き触媒層−電解質膜積層体に相当する。
補強膜4の開口部41から露出している触媒層3上に平面視矩形状のガス拡散層5が設置されている。このガス拡散層5の外周縁から補強膜4の内周縁までの距離A(図3参照)は、0〜5mmであることが好ましい。このように、触媒層3上にガス拡散層5が形成されて電極Eを構成しており、電解質膜2の両面に電極Eが形成されたものを電極−電解質膜積層体20という。なお、本実施形態のように電極−電解質膜積層体20に補強膜4が設置されているものが、本発明の補強膜付き電極−電解質膜積層体に相当する。
そして、電極Eの周囲を囲むように各補強膜4上に枠状のガスケット6がそれぞれ設置され、電極E及びガスケット6上にセパレータ7が設置されている。セパレータ7は、ガス拡散層5と対向する領域にガス流路71が形成されている。
次に上記のように構成された固体高分子形燃料電池1の各構成要素の材質について説明する。
電解質膜2は、例えば、基材上に水素イオン伝導性高分子電解質を含有する溶液を塗工し、乾燥することにより形成される。水素イオン伝導性高分子電解質としては、例えば、パーフルオロスルホン酸系のフッ素イオン交換樹脂、より具体的には、炭化水素系イオン
交換膜のC−H結合をフッ素で置換したパーフルオロカーボンスルホン酸系ポリマー(PFS系ポリマー)等が挙げられる。電気陰性度の高いフッ素原子を導入することで、化学的に非常に安定し、スルホン酸基の解離度が高く、高いイオン伝導性が実現できる。このような水素イオン伝導性高分子電解質の具体例としては、デュポン社製の「Nafion」(登録商標)、旭硝子(株)製の「Flemion」(登録商標)、旭化成(株)製の「Aciplex」(登録商標)、ゴア(Gore)社製の「Gore Select」(登録商標)等が挙げられる。水素イオン伝導性高分子電解質含有溶液中に含まれる水素イオン伝導性高分子電解質の濃度は、通常5〜60重量%程度、好ましくは20〜40重量%程度である。なお、電解質膜2の膜厚は通常20〜250μm程度、好ましくは20〜80μm程度である。
触媒層3は、公知の白金含有の触媒層(カソード触媒及びアノード触媒)である。詳しくは、触媒層3は、触媒粒子を担持させた炭素粒子及び水素イオン伝導性高分子電解質を含有する。触媒粒子としては、例えば、白金や白金化合物等が挙げられる。白金化合物としては、例えば、ルテニウム、パラジウム、ニッケル、モリブデン、イリジウム、鉄等からなる群から選ばれる少なくとも1種の金属と、白金との合金等が挙げられる。なお、通常は、カソード触媒層に含まれる触媒粒子は白金であり、アノード触媒層に含まれる触媒粒子は前記金属と白金との合金である。また、水素イオン伝導性高分子電解質としては、上述した電解質膜2に使用されるものと同じ材料を使用することができ、例えばパーフルオロカーボンスルホン酸系のフッ素イオン交換樹脂を挙げることができる。
補強膜4は、ガスバリア層42と溶着層43から構成されているが、ガスバリア層42は、水蒸気、水、燃料ガス及び酸化剤ガスに対するバリア性を有するポリエステル系樹脂やポリカーボネートを好ましく使用でき、具体的には、ポリエチレンテレフタレート、ポリエチレンナフタレート、ポリブチレンテレフタレート、ポリブチレンナフタレート、共重合体ポリエステル等を挙げることができる。
また、溶着層43の材料としては、パーフルオロカーボンスルホン酸系のフッ素イオン交換樹脂といったような上記電解質膜2と同様の材料を挙げることができ、具体的には、デュポン社製の「Nafion」(登録商標)、旭硝子(株)製の「Flemion」(登録商標)、旭化成(株)製の「Aciplex」(登録商標)、ゴア(Gore)社製の「Gore Select」(登録商標)等を挙げることができる。その他に溶着層43の材料としては、ポリオレフィン系樹脂を好ましく挙げることができ、例えば、中密度ポリエチレン、高密度ポリエチレン、線状低密度ポリエチレン、エチレン−α・オレフィン共重合体、ポリプロピレン、ポリブテン、ポリイソブテン、ポエイソブチレン、ポリブタジエン、ポリイソプレン、エチレン−メタクリル酸共重合体、あるいはエチレン−アクリル酸共重合体等のエチレンと不飽和カルボン酸との共重合体、あるいはそれらを変性した酸変性ポリオレフィン系樹脂、シラン変性ポリオレフィン系樹脂、エチレン−アクリル酸エチル共重合体、アイオノマー樹脂、エチレン−酢酸ビニル共重合体等を使用することができる。
ガス拡散層5としては、公知であり、燃料極、空気極を構成する各種のガス拡散層を使用でき、燃料である燃料ガス及び酸化剤ガスを効率よく触媒層3に供給するため、多孔質の導電性基材からなっている。多孔質の導電性基材としては、例えば、カーボンペーパーやカーボンクロス等が挙げられる。
ガスケット6としては、熱プレスに耐えうる強度を保ち、かつ、外部に燃料及び酸化剤を漏出しない程度のガスバリア性を有しているものを使用することができ、例えば、ポリエチレンテレフタレートシートやテフロン(登録商標)シート、シリコンゴムシート等を例示することができる。
セパレータ7としては、公知であり、燃料電池内の環境においても安定な導電性板であればよく、一般的には、カーボン板にガス流路71を形成したものが用いられる。また、セパレータ7をステンレス等の金属により構成し、金属の表面にクロム、白金族金属又はその酸化物、導電性ポリマーなどの導電性材料からなる被膜を形成したものや、同様にセパレータを金属によって構成し、該金属の表面に銀、白金族の複合酸化物、窒化クロム等の材料によるメッキ処理を施したもの等も使用可能である。
次に上述した固体高分子形燃料電池1の製造方法について図面を参照しつつ説明する。図4は、本実施形態に係る固体高分子形燃料電池1の製造方法を示す説明図である。
まず、上述した材料からなる電解質膜2を準備し、この電解質膜2の両面に触媒層形成用転写シート8を重ねて配置する(図4(a))。ここで触媒層形成用転写シート8とは、転写される触媒層3が転写用基材81に形成されたものである。この触媒層形成用転写シート8の製造方法について説明すると、まず、上述した触媒粒子を担持させた炭素粒子及び水素イオン伝導性高分子電解質を適当な溶剤に混合、分散して触媒ペーストを作製する。そして、形成される触媒層3が所望の膜厚になるように触媒ペーストを公知の方法に従い、必要に応じて離型層を介して転写用基材81上に塗工する。このとき、触媒層3が、電解質膜2よりも一回り小さい形状となるように、触媒ペーストを転写用基材81に塗工する。触媒ペーストの塗工方法としては、スクリーン印刷や、スプレーコーティング、ダイコーティング、ナイフコーティングなどの公知の塗工方法を挙げることができる。また、上記の溶剤としては、各種アルコール類、各種エーテル類、各種ジアルキルスルホキシド類、水またはこれらの混合物等が挙げられ、これらの中でもアルコール類が好ましい。アルコール類としては、例えば、メタノール、エタノール、n−プロパノール、イソプロパノール、n−ブタノール、tert−ブタノール、等の炭素数1〜4の一価アルコール、各種の多価アルコール等が挙げられる。転写用基材81としては、例えば、ポリイミド、ポリエチレンテレフタレート、ポリパルバン酸アラミド、ポリアミド(ナイロン)、ポリサルホン、ポリエーテルサルホン、ポリフェニレンサルファイド、ポリエーテル・エーテルケトン、ポリエーテルイミド、ポリアリレート、ポリエチレンナフタレート等の高分子フィルムを挙げることができる。また、エチレンテトラフルオロエチレン共重合体(ETFE)、テトラフルオロエチレン−ヘキサフルオロプロピレン共重合体(FEP)、テトラフルオロパーフルオロアルキルビニルエーテル共重合体(PFA)、ポリテトラフルオロエチレン(PTFE)等の耐熱性フッ素樹脂を用いることもできる。さらに転写用基材81は、高分子フィルム以外にアート紙、コート紙、軽量コート紙等の塗工紙、ノート用紙、コピー用紙などの非塗工紙であっても良い。転写用基材81の厚さは、取り扱い性及び経済性の観点から通常6〜100μm程度、好ましくは10〜30μm程度程度とするのがよい。従って、転写用基材81としては、安価で入手が容易な高分子フィルムが好ましく、ポリエチレンテレフタレート等がより好ましい。
そして、触媒ペーストを塗工した後、所定の温度及び時間で乾燥することにより転写用基材81上に触媒層3が形成される。乾燥温度は、通常40〜100℃程度、好ましくは60〜80℃程度である。乾燥時間は、乾燥温度にもよるが、通常5分〜2時間程度、好ましくは10分〜1時間程度である。
固体高分子形燃料電池の製造方法について説明を続ける。上述したように作製した触媒層形成用転写シート8を触媒層3が電解質膜1に対面するように配置し(図4(a))、転写シート8の背面側から加熱プレスを施して触媒層3を電解質膜2に転写させて、転写シート8の転写用基材81を剥離する(図4(b))。作業性を考慮すると、触媒層3を電解質膜2の両面に同時に積層することが好ましいが片面ずつ触媒層3を形成することもできる。加熱プレスの加圧レベルは、転写不良を避けるために、通常0.5〜20MPa程度、好ましくは1〜10MPa程度がよい。また、この加圧操作の際に、転写不良を避けるために加圧面を加熱するのが好ましい。加熱温度は、電解質膜2の破損、変形等を避けるために、通常200℃以下、好ましくは150℃以下がよい。このように電解質膜2の両面に触媒層3を形成することで触媒層−電解質膜積層体10が形成される。このとき、触媒層3は、電解質膜2よりも一回り小さいため、電解質膜2の外周縁部21は露出された状態となっている。
次に、このようにして形成された触媒層−電解質膜積層体10に、補強膜4を取り付け
る(図4(c))。この工程について図5を参照しつつ詳細に説明する。図5は、触媒層−電解質膜積層体10に補強膜4を取り付ける工程を示した平面図である。図5に示すように、上述した材料からなる2枚の補強膜4を重ねて、1辺を残した残り3辺を互いに溶着させる。これによって、2枚の補強膜4は、コ字状に溶着部が形成されるとともに、左側の一辺が開口している袋体となる(図5(a))。なお、この溶着方法は種々の公知の方法を採用することができ、例えば、高周波溶着や、熱風式溶着、熱板式溶着、インパルス式溶着、コテ式溶着、超音波溶着などを採用することができる。
補強膜4によって袋体を形成すると、次に、この袋体を構成する各補強膜4の中央部に触媒層−電解質膜積層体10の触媒層3よりも一回り小さい易除去領域44を形成する(図5(b))。なお、この易除去領域44とは、容易に取り除ける領域のことをいい、例えば、その外周縁にミシン目を入れることや、一部だけ残して切込みを入れること等によって形成することができる。このように易除去領域44が形成された袋体に、その溶着されていない左側から、触媒層−電解質膜積層体10を挿入して所定位置まで移動させる(図5(c))。この所定位置とは、触媒層−電解質膜積層体10の触媒層3が外周縁部31を除いて易除去領域44に対向している位置のことをいう。
触媒層−電解質膜積層体10を所定位置まで移動させた後、易除去領域44の外周縁のミシン目を切断して易除去領域44を各補強膜4から取り外すことで、各補強膜4の中央部に開口部41が形成される(図5(d))。このように易除去領域44が各補強膜4から取り外されて開口部41が形成されると、触媒層−電解質膜積層体10の触媒層3が外周縁部31を除いて各開口部41から露出した状態となる。そして、この状態で補強膜4の溶着されていなかった残りの部分を公知の方法で溶着させることで、補強膜4は、電解質−触媒層接合体10の触媒層3の外周縁部31や、電解質膜2の外周縁部21に溶着するとともに、補強膜4同士でも溶着する。以上の工程によって、補強膜付き触媒層−電解質膜積層体が完成する(図5(e)、図4(c))。
図4に戻って、固体高分子形燃料電池1の製造方法の説明を続ける。上述した補強膜付き触媒層−電解質膜積層体の開口部41から露出している触媒層3上に、ガス拡散層5を圧着により積層形成して、補強膜付き電極−電解質膜積層体が完成する(図4(d))。そして、触媒層3及びガス拡散層5からなる電極Eの周囲を囲むように補強膜4上にガスケット6を配置する。そして、セパレータ7を、ガス流路71がガス拡散層5と対向するように、ガス拡散層5及びガスケット6上に配置して、ガス拡散層5とセパレータ7とが電気的に接続するようにセパレータ7で該電極−電解質膜積層体を挟持することによって、固体高分子形燃料電池1が完成する(図4(e))。
以上のように、本実施形態では、電解質膜2の外周縁部21は、溶着された補強膜4によって拘束されているため、電解質膜2の膨張・収縮を抑制することができ、その結果、電解質膜2の破損を防止することができる。また、補強膜4は、電解質膜2と同じパーフルオロカーボンスルホン酸系のフッ素イオン交換樹脂を使用するため、電解質膜2と同じような挙動を示し、この結果、電解質膜2から剥がれるのを防ぐことができる。また、触媒層3もパーフルオロカーボンスルホン酸系のフッ素イオン交換樹脂を含んでいるため、補強膜4は触媒層3から剥がれることも防ぐことができる。
以上、本発明の実施形態について説明したが、本発明はこれらに限定されるものではなく、本発明の趣旨を逸脱しない限りにおいて種々の変更が可能である。例えば、上記実施形態では、補強膜4を一旦、袋体にして、触媒層−電解質膜積層体10を挿入するという製造方法を採用しているが、特にこれに限定されるものではない。例えば、触媒層−電解質膜積層体10の両面に、予め開口部41が形成された補強膜4を、溶着層43が触媒層−電解質膜積層体10を向くようにそれぞれ配置し、公知の溶着方法などよって触媒層−
電解質膜積層体10の両面に補強膜4を溶着させて、補強膜付き触媒層−電解質膜積層体を作製することもできる。
また、上記実施形態では、補強膜4は、ガスバリア層42と溶着層43の2層から構成されているが、特にこの2層構造に限定されるわけではなく、例えば溶着層43のみの1層構造としたり、もしくは、その他の機能を有する層をさらに含んで3層以上の層構成とすることができる。また、上記ガスバリア層42を、ガスバリア性を有しておらず単に溶着層43を保護するためだけの保護層とすることもできる。この保護層としては、例えば、購入時から補強膜4に予め付いているバッキングフィルムを使用することができる。
また、上記実施形態では、触媒層3は電解質膜2よりも一回り小さいサイズに形成されているが、図6に示すように、触媒層3を電解質膜2とほぼ同じサイズとし、電解質膜2の上面及び下面の全体に触媒層3を形成することもできる。この場合は、補強膜4の溶着層43を触媒層3の外周縁部31に溶着させて補強膜4上にガスケット6を設置している。このように構成することで電解質膜2の全てを発電に寄与させることができ、ひいては電解質膜2を有効に利用することができる。
また、上記実施形態では、固体高分子形燃料電池1を構成する電解質膜2や触媒層3、ガス拡散層5など全て平面視矩形状として説明したが、特に形状は限定されるものではなく、例えば平面視円形状とすることもできる。
また、上記実施形態では、補強膜4は、触媒層−電解質膜積層体10の両面に形成されているが、図7に示すように、触媒層−電解質膜積層体10の片面のみに形成されていてもよい。なお、この場合、補強膜4が形成されていない側のガスケット6は、補強膜4の裏側や電解質膜2の外周縁部に設置された状態となっている。また、補強膜4を触媒層−電解質膜積層体10の片面のみに形成する場合は、アノード側、カソード側のどちらに形成しても電解質膜2の膨潤収縮を抑制することができるが、アノード側に形成することで、燃料電池を低加湿又は無加湿運転した際のアノード側の電解質膜2の収縮をより効果的に抑制することができる。また、カソード側に形成することで、生成水による電解質膜2の膨張をより効果的に抑制することができる。
また、上記実施形態では、カソード側とアノード側の触媒層3の大きさは同じに形成されているが、カソード側とアノード側との触媒層3を互いに異なる大きさに形成することもできる。なお、この場合は、ラジカルの生成を防止する観点から、アノード側の触媒層3の大きさをカソード側の触媒層3よりも大きくすることが好ましいが、特にこれに限定されるわけではない。
以下に実施例及び比較例を示して、本発明をさらに具体的に説明する。なお、本発明は、下記実施例に限定されるものではない。
(実施例1)
電解質膜2は、63×63mmの大きさに切断された膜厚53μmのNRE212CS(Dupont社製)を使用した。
次に、触媒形成用転写シート8を次の要領で作製した。まず、白金触媒担持カーボン(白金担持量:45.7wt%、田中貴金属社製、TEC10E50E)2gに、1−ブタノール10g、3−ブタノール10g、フッ素イオン交換樹脂(5wt%ナフィオンバインダー、デュポン社製)20g及び水6gを加え、これらを分散機にて攪拌混合することにより、触媒形成用インク組成物を調製した。次に、該インクをPETフィルム(E5100、東洋紡績製、12μm)に触媒層乾燥後の白金重量が0.4mg/cm2となるように塗工し、触媒形成用転写シート8を作製した。
以上のように作製した触媒形成用転写シート8を60×60mmの大きさに切断し、電解質膜2の両面それぞれに触媒層3が電解質膜2側を向くように中心を合わせて配置した。そして、130℃、5.0MPa、150秒の条件で熱プレスすることで、電解質膜2の両面に触媒層3を形成し、触媒層−電解質膜積層体10を作製した。なお、触媒層3の厚さは20μmである。
続いて、一層構造の補強膜4を作製した。補強膜4の溶着層43として、NRE212CS(Dupont社製、膜厚53μm)を使用した。この補強膜4を80×80mmの大きさに切断し、その中央部に50×50mmの大きさの開口部41を形成した。そして、補強膜4を触媒層−電解質膜積層体10の両面に中心を合わせて配置し、130℃、1.0MPa、30秒の条件で熱プレスすることで補強膜4を触媒層−電解質膜積層体10に溶着し、補強膜付き触媒層−電解質膜積層体を作製した。
さらに続いて、開口部41から露出している触媒層3上に、49×49mmのガス拡散層5(東レ社製 カーボンペーパー TGP−H090)を形成し、補強膜付き電極−電解質膜積層体を形成した。
(実施例2)
電解質膜2は63×63mmの大きさに切断された膜厚50μmのAciplex SF−702X(旭化成社製)を使用した。
次に、触媒形成用転写シート8を次の要領で作製した。まず、白金触媒担持カーボン(白金担持量:45.7wt%、田中貴金属社製、TEC10E50E)2gに、1−ブタノール10g、3−ブタノール10g、フッ素イオン交換樹脂(5wt% Aciplexイオノマー、旭化成社製)20g及び水6gを加え、これらを分散機にて攪拌混合することにより、触媒形成用インク組成物を調製した。次に、該インクをPETフィルム(E5100、東洋紡績製、12μm)に触媒層乾燥後の白金重量が0.4mg/cm2となるように塗工し、触媒形成用転写シート8を作製した。
以上のように作製した触媒形成用転写シート8を60×60mmの大きさに切断し、電解質膜2の両面それぞれに触媒層3が電解質膜2側を向くように中心を合わせて配置した。そして、150℃、5.0MPa、150秒の条件で熱プレスすることで、電解質膜2の両面に触媒層3を形成し、触媒層−電解質膜積層体10を作製した。なお、触媒層3の厚さは20μmである。
続いて、一層構造の補強膜4を作製した。補強膜4の溶着層43として、Aciplex SF−702X(旭化成社製、膜厚50μm)を使用した。この補強膜4を80×80mmの大きさに切断し、その中央部に50×50mmの大きさの開口部41を形成した。そして、補強膜4を触媒層−電解質膜積層体10の両面に中心を合わせて配置し、150℃、1.0MPa、30秒の条件で熱プレスすることで補強膜4を触媒層−電解質膜積層体10に溶着し、補強膜付き触媒層−電解質膜積層体を作製した。
さらに続いて、開口部41から露出している触媒層3上に、49×49mmのガス拡散層5(東レ社製 カーボンペーパー TGP−H090)を形成し、補強膜付き電極−電解質膜積層体を形成した。
(実施例3)
実施例1と同様に触媒層−電解質膜積層体10を作製した。
続いて、二層構造の補強膜4を作製した。補強膜4のガスバリア層42として、二軸延伸ポリエチレンテレフタラート(帝人社製 テオネックス、12μm)を使用した。このポリエチレンテレフタラート上に、フッ素イオン交換樹脂(5wt%ナフィオンバインダー、デュポン社製)を乾燥後膜厚が20μmの厚さになるようにダイコーティングで形成し、溶着層43を形成した。この補強膜を80×80mmの大きさに切断し、その中央部に50×50mmの大きさの開口部を形成した。そして、補強膜4を触媒層−電解質膜積層体10の両面に中心を合わせて配置し、130℃、1.0MPa、30秒の条件で熱プレスすることで補強膜4を触媒層−電解質膜積層体10に溶着し、補強膜付き触媒層−電解質膜積層体を作製した。
さらに続いて、開口部41から露出している触媒層3上に、49×49mmのガス拡散層5(東レ社製 カーボンペーパー TGP−H090)を形成し、補強膜付き電極−電解質膜積層体を形成した。
(実施例4)
実施例1と同様に触媒層−電解質膜積層体10を作製した。
続いて、二層構造の補強膜4を作製した。補強膜4の溶着層43として、NRE212CS(Dupont社製、膜厚53μm)を使用し、ガスバリア層42として、NRE212CSのバックフィルム(ポリエステルフィルム、膜厚50μm)を使用した。この補強膜4を80×80mmの大きさに切断し、その中央部に50×50mmの大きさの開口部41を形成した。そして、補強膜4を触媒層−電解質膜積層体10の両面に中心を合わせて配置し、130℃、1.0MPa、30秒の条件で熱プレスすることで補強膜4を触媒層−電解質膜積層体10に溶着し、補強膜付き触媒層−電解質膜積層体を作製した。
さらに続いて、開口部41から露出している触媒層3上に、49×49mmのガス拡散層5(東レ社製 カーボンペーパー TGP−H090)を形成し、補強膜付き電極−電解質膜積層体を形成した。
(実施例5)
電解質膜2は63×63mmの大きさに切断された膜厚53μmのNRE212CS(Dupont社製)を使用した。
続いて、実施例1と同様にして作製した触媒形成用転写シート8をカソード用に60×60mm、アノード用に50×50mmの大きさに切断し、電解質膜2の両面それぞれに触媒層3が電解質膜2側を向くように中心を合わせて配置した。そして、130℃、5.0MPa、150秒の条件で熱プレスすることで、電解質膜2の両面に大きさの異なる触媒層3を形成し、触媒層−電解質膜積層体10を作製した。
続いて実施例1と同様、開口部を形成した一層構造の補強膜4を、触媒層−電解質膜積層体10のカソード側にのみ中心を合わせて配置し、130℃、1.0MPa、30秒の条件で熱プレスすることで補強膜4を触媒層−電解質膜積層体10のカソード側にのみ溶着し、補強膜付き触媒層−電解質膜積層体を作製した。
さらに続いて、両極の触媒層3上に、49×49mmのガス拡散層5(東レ社製 カーボンペーパー TGP−H090)を形成し、補強膜付き電極−電解質膜積層体を形成した。
(実施例6)
実施例5と同様に触媒層−電解質膜積層体10を作製した。
続いて実施例3と同様の補強膜4を、触媒層−電解質膜積層体10のカソード側にのみ中心を合わせて配置し、130℃、1.0MPa、30秒の条件で熱プレスすることで補強膜4を触媒層−電解質膜積層体10に溶着し、補強膜付き触媒層−電解質膜積層体を作製した。
さらに続いて、両極の触媒層3上に、49×49mmのガス拡散層5(東レ社製 カーボンペーパー TGP−H090)を形成し、補強膜付き電極−電解質膜積層体を形成した。
(実施例7)
実施例5と同様に触媒層−電解質膜積層体10を作製した。
続いて実施例4と同様の補強膜4を、触媒層−電解質膜積層体10のカソード側にのみ中心を合わせて配置し、130℃、1.0MPa、30秒の条件で熱プレスすることで補強膜4を触媒層−電解質膜積層体10に溶着し、補強膜付き触媒層−電解質膜積層体を作製した。
さらに続いて、両極の触媒層3上に、49×49mmのガス拡散層5(東レ社製 カーボンペーパー TGP−H090)を形成し、補強膜付き電極−電解質膜積層体を形成した。
(実施例8)
実施例1と同様に触媒層−電解質膜積層体10を作製した。
続いてカソード側の補強膜4として、実施例3と同様の補強膜4を準備した。また、アノード側の補強膜4としてガスバリア層42である二軸延伸ポリエチレンテレフタラート(PEN:帝人社製 テオネックス、12μm)上に、溶融押出し法により、溶着層43である不飽和カルボン酸変性ポリプロピレンを厚さ20μmになるように形成し、二層構造の補強膜4を作製した。
さらに続いて、これら補強膜4をそれぞれ80×80mmの大きさに切断し、その中央部に50×50mmの大きさの開口部41を形成し、触媒層−電解質膜積層体10のアノード側、カソード側のそれぞれに中心を合わせて配置した。そして、130℃、1.0MPa、30秒の条件で熱プレスすることで各補強膜4を触媒層−電解質膜積層体10に溶着し、補強膜付き触媒層−電解質膜積層体を作製した。
そして、開口部41から露出している触媒層3上に、49×49mmのガス拡散層5(東レ社製 カーボンペーパー TGP−H090)を形成し、補強膜付き電極−電解質膜積層体を形成した。
(実施例9)
電解質膜2は63×63mmの大きさに切断された膜厚53μmのNRE212CS(Dupont社製)を使用した。
続いて、実施例1と同様にして作製した触媒形成用転写シート8をアノード用として60×60mmの大きさに切断し、カソード用として50×50mmの大きさに切断し、電解質膜2の両面それぞれに触媒層3が電解質膜2側を向くように中心を合わせて配置した。そして、130℃、5.0MPa、150秒の条件で熱プレスすることで、電解質膜2の両面に大きさの異なる触媒層3を形成し、触媒層−電解質膜積層体10を作製した。
続いて実施例4と同様の補強膜4を、触媒層−電解質膜積層体10のアノード側にのみ中心を合わせて配置し、130℃、1.0MPa、30秒の条件で熱プレスすることで補強膜4を触媒層−電解質膜積層体10に溶着し、補強膜付き触媒層−電解質膜積層体を作製した。
さらに続いて、両極の触媒層3上に、49×49mmのガス拡散層5(東レ社製 カーボンペーパー TGP−H090)を形成し、補強膜付き電極−電解質膜積層体を形成した。
(実施例10)
電解質膜2は63×63mmの大きさに切断された膜厚53μmのNRE212CS(Dupont社製)を使用した。
続いて、実施例1と同様にして作製した触媒形成用転写シート8をアノード用・カソード用に56×56mmの大きさに切断し、電解質膜2の両面それぞれに触媒層3が電解質膜2側を向くように中心を合わせて配置した。そして、130℃、5.0MPa、150秒の条件ナ熱プレスすることで、電解質膜2の両面に同じサイズの触媒層3を形成し、触媒層−電解質膜積層体10を作製した。
続いて実施例1と同様、開口部を形成した一層構造の補強膜4を、触媒層−電解質膜積層体10のカソード面に中心を合わせて配置し、130℃、1.0MPa、30秒の条件で熱プレスすることで補強膜4を触媒層−電解質膜積層体10に溶着し、補強膜付き触媒層−電解質膜積層体を作製した。
さらに続いて、カソード極の触媒層3上に、49×49mm、アノード極の触媒層3上に55×55mmのガス拡散層5(東レ社製 カーボンペーパー TGP−H090)を形成し、補強膜付き電極−電解質膜積層体を形成した。
(比較例1)
補強膜4が設置されていない点以外は、上述した実施例1と同一の材料、製造方法で、電極−電解質膜積層体20を作製した。
(比較例2)
補強膜4が設置されていない点以外は、上述した実施例2と同一の材料、製造方法で、電極−電解質膜積層体20を作製した。
(評価方法)
実施例1〜10の補強膜付き電極−電解質膜積層体及び比較例1及び2の電極−電解質膜積層体について、ガスケット6及びセパレータ7を設置して固体高分子形燃料電池をそれぞれ作製し、負荷変動サイクル試験を実施した。このときの測定条件は、セル温度80℃、燃料利用率70%、酸化剤利用率40%、加湿温度50℃とした。電流電圧測定評価の結果、実施例1〜10の燃料電池セルの耐久性時間は1000時間であり、評価後、電解質膜の破損は見られなかった。一方、比較例1及び2の燃料電池セルの耐久性時間は300時間であり、300時間評価後、電解質膜の破損が見られた。
このように、実施例1〜10の固体高分子形燃料電池では、耐久時間の上昇がみられることから、本発明の固体高分子型燃料電池を用いると電解質膜破損の問題が解決されたことがわかる。また、上記負荷変動サイクル試験を実施した後、実施例1〜10の固体高分子形燃料電池を目視により確認したところ、補強膜4は、電解質膜2又は触媒層3に溶着された状態を維持しており、電解質膜2や触媒層3に対して剥がれは生じていなかった。
1 固体高分子形燃料電池
2 電解質膜
3 触媒層
4 補強膜
42 ガスバリア層
43 溶着層
5 ガス拡散層
6 ガスケット
7 セパレータ
10 触媒層−電解質膜積層体
20 電極−電解質膜積層体

Claims (9)

  1. パーフルオロカーボンスルホン酸系のフッ素イオン交換樹脂を材料とする固体高分子電解質膜と、
    前記電解質膜の両面にそれぞれ形成された触媒層と、
    パーフルオロカーボンスルホン酸系のフッ素イオン交換樹脂を材料とし、前記電解質膜及び触媒層からなる触媒層−電解質膜積層体の外周縁部を覆うように前記触媒層−電解質膜積層体の少なくとも一方面に溶着された枠状の溶着層を有する補強膜と、
    を備えた、補強膜付き触媒層−電解質膜積層体。
  2. 前記補強膜は、前記電解質膜と同一の材料で構成されている、請求項1に記載の補強膜付き触媒層−電解質膜積層体。
  3. 前記補強膜は、前記溶着層上に形成され前記溶着層を保護する保護層をさらに有している、請求項1又は2に記載の補強膜付き触媒層−電解質膜積層体。
  4. 前記補強膜は、前記溶着層上に形成され、燃料ガス及び酸化剤ガスの透過を防止するガスバリア層をさらに有する、請求項1又は2に記載の補強膜付き触媒層−電解質膜積層体。
  5. 前記ガスバリア層は、ポリエステル系樹脂である、請求項4に記載の補強膜付き触媒層−電解質膜積層体。
  6. 前記触媒層−電解質膜積層体は、前記触媒層が前記電解質膜の外周縁部を除いて前記電解質膜上に形成されており、
    前記補強膜は、前記溶着層が前記触媒層の外周縁部と前記電解質膜の外周縁部に溶着している、請求項1〜5のいずれかに記載の補強膜付き触媒層−電解質膜積層体。
  7. 前記触媒層−電解質膜積層体は、前記触媒層が前記電解質膜の両面全体に形成されており、
    前記補強膜は、前記触媒層−電解質膜積層体よりも一回り大きく形成されており、前記触媒層−電解質膜積層体を超えた部分において前記溶着層同士が互いに溶着している、請求項1〜5のいずれかに記載の補強膜付き触媒層−電解質膜積層体。
  8. 請求項1〜7のいずれかに記載の補強膜付き触媒層−電解質膜積層体と、
    前記補強膜の開口部内から露出した前記触媒層上に形成されたガス拡散層と、
    を備えた、補強膜付き電極−電解質膜層積層体。
  9. 請求項8に記載の補強膜付き電極−電解質膜積層体と、
    前記触媒層及びガス拡散層からなる各電極の周囲を囲むように前記補強膜上にそれぞれ設置されたガスケットと、
    前記各電極及びガスケット上にそれぞれ設置されたセパレータと、
    を備えた、固体高分子形燃料電池。
JP2009156935A 2008-07-10 2009-07-01 補強膜付き触媒層−電解質膜積層体、補強膜付き電極−電解質膜積層体、及び固体高分子形燃料電池 Expired - Fee Related JP5828613B2 (ja)

Priority Applications (1)

Application Number Priority Date Filing Date Title
JP2009156935A JP5828613B2 (ja) 2008-07-10 2009-07-01 補強膜付き触媒層−電解質膜積層体、補強膜付き電極−電解質膜積層体、及び固体高分子形燃料電池

Applications Claiming Priority (3)

Application Number Priority Date Filing Date Title
JP2008180553 2008-07-10
JP2008180553 2008-07-10
JP2009156935A JP5828613B2 (ja) 2008-07-10 2009-07-01 補強膜付き触媒層−電解質膜積層体、補強膜付き電極−電解質膜積層体、及び固体高分子形燃料電池

Publications (2)

Publication Number Publication Date
JP2010040513A true JP2010040513A (ja) 2010-02-18
JP5828613B2 JP5828613B2 (ja) 2015-12-09

Family

ID=42012802

Family Applications (1)

Application Number Title Priority Date Filing Date
JP2009156935A Expired - Fee Related JP5828613B2 (ja) 2008-07-10 2009-07-01 補強膜付き触媒層−電解質膜積層体、補強膜付き電極−電解質膜積層体、及び固体高分子形燃料電池

Country Status (1)

Country Link
JP (1) JP5828613B2 (ja)

Cited By (1)

* Cited by examiner, † Cited by third party
Publication number Priority date Publication date Assignee Title
JP2011210588A (ja) * 2010-03-30 2011-10-20 Dainippon Printing Co Ltd 触媒層−電解質膜積層体、エッジシール付き触媒層−電解質膜積層体、膜−電極接合体、エッジシール付き膜−電極接合体、およびこれらの製造方法

Citations (7)

* Cited by examiner, † Cited by third party
Publication number Priority date Publication date Assignee Title
JPH05242897A (ja) * 1992-02-26 1993-09-21 Fuji Electric Co Ltd 固体高分子電解質型燃料電池
JPH06251780A (ja) * 1993-02-26 1994-09-09 Fuji Electric Co Ltd 固体高分子電解質型燃料電池
JP2003068318A (ja) * 2001-08-23 2003-03-07 Osaka Gas Co Ltd 固体高分子型燃料電池のセル及び固体高分子型燃料電池
JP2004047230A (ja) * 2002-07-10 2004-02-12 Asahi Glass Co Ltd 固体高分子型燃料電池
JP2007503688A (ja) * 2003-08-22 2007-02-22 ジョンソン、マッセイ、パブリック、リミテッド、カンパニー メンブラン電極組立構造の密封
JP2007087728A (ja) * 2005-09-21 2007-04-05 Toyota Motor Corp 積層体及びその製造方法並びに燃料電池
JP2008071542A (ja) * 2006-09-12 2008-03-27 Matsushita Electric Ind Co Ltd 高分子電解質形燃料電池およびその製造方法

Patent Citations (7)

* Cited by examiner, † Cited by third party
Publication number Priority date Publication date Assignee Title
JPH05242897A (ja) * 1992-02-26 1993-09-21 Fuji Electric Co Ltd 固体高分子電解質型燃料電池
JPH06251780A (ja) * 1993-02-26 1994-09-09 Fuji Electric Co Ltd 固体高分子電解質型燃料電池
JP2003068318A (ja) * 2001-08-23 2003-03-07 Osaka Gas Co Ltd 固体高分子型燃料電池のセル及び固体高分子型燃料電池
JP2004047230A (ja) * 2002-07-10 2004-02-12 Asahi Glass Co Ltd 固体高分子型燃料電池
JP2007503688A (ja) * 2003-08-22 2007-02-22 ジョンソン、マッセイ、パブリック、リミテッド、カンパニー メンブラン電極組立構造の密封
JP2007087728A (ja) * 2005-09-21 2007-04-05 Toyota Motor Corp 積層体及びその製造方法並びに燃料電池
JP2008071542A (ja) * 2006-09-12 2008-03-27 Matsushita Electric Ind Co Ltd 高分子電解質形燃料電池およびその製造方法

Cited By (1)

* Cited by examiner, † Cited by third party
Publication number Priority date Publication date Assignee Title
JP2011210588A (ja) * 2010-03-30 2011-10-20 Dainippon Printing Co Ltd 触媒層−電解質膜積層体、エッジシール付き触媒層−電解質膜積層体、膜−電極接合体、エッジシール付き膜−電極接合体、およびこれらの製造方法

Also Published As

Publication number Publication date
JP5828613B2 (ja) 2015-12-09

Similar Documents

Publication Publication Date Title
JP5309518B2 (ja) 電解質膜補強用挟持体、電解質膜補強用挟持体付き電解質膜−触媒層接合体の製造方法、及び固体高分子形燃料電池の製造方法
US8512907B2 (en) Membrane catalyst layer assembly with reinforcing films, membrane electrode assembly with reinforcing films, and polymer electrolyte fuel cells
JP5552766B2 (ja) エッジシール付き触媒層−電解質膜積層体、電極−電解質膜接合体、固体高分子形燃料電池、触媒層−電解質膜積層体の製造方法、及びエッジシール付き触媒層−電解質膜積層体の製造方法
JP5338998B2 (ja) 電解質膜−電極接合体及びこれを用いた固体高分子形燃料電池
JP5326250B2 (ja) 固体高分子形燃料電池構造体及びこれを用いた固体高分子形燃料電池
JP5277792B2 (ja) 補助膜付き電解質膜−電極接合体、及びこれを用いた固体高分子形燃料電池
JP5332212B2 (ja) ガスケット付き電解質膜−触媒層接合体、これを用いたガスケット付き電解質膜−電極接合体、及び固体高分子形燃料電池
JP6120674B2 (ja) 固体高分子形燃料電池及びその製造方法
JP2011210588A (ja) 触媒層−電解質膜積層体、エッジシール付き触媒層−電解質膜積層体、膜−電極接合体、エッジシール付き膜−電極接合体、およびこれらの製造方法
JP5533131B2 (ja) エッジシール付き触媒層−電解質膜積層体、エッジシール付き膜−電極接合体、及び固体高分子形燃料電池
JP5233256B2 (ja) 補強シート付き電解質膜−触媒層接合体
JP5887692B2 (ja) 補強膜付き触媒層−電解質膜積層体、補強膜付き膜−電極接合体、及び固体高分子形燃料電池、並びにこれらの製造方法
JP5828613B2 (ja) 補強膜付き触媒層−電解質膜積層体、補強膜付き電極−電解質膜積層体、及び固体高分子形燃料電池
JP5239434B2 (ja) 触媒層転写シート、並びにこれを用いた電解質膜−触媒層接合体の製造方法、電解質膜−電極接合体の製造方法、固体高分子形燃料電池用電極の製造方法、及び固体高分子形燃料電池の製造方法
JP2011159458A (ja) 触媒層−電解質膜積層体、膜電極接合体、固体高分子形燃料電池、及び触媒層−電解質膜積層体の製造方法
JP5577797B2 (ja) 触媒層−電解質膜積層体、並びにこれを備える膜−電極接合体及び固体高分子形燃料電池
JP2010021023A (ja) 触媒層転写シート、並びにこれを用いた触媒層−電解質膜積層体の製造方法、電極−電解質膜積層体の製造方法、及び固体高分子形燃料電池の製造方法
JP5699343B2 (ja) 補強シート付き電解質膜−触媒層接合体
JP5544781B2 (ja) 補強膜付き触媒層−電解質膜積層体、補強膜付き膜電極接合体、固体高分子形燃料電池、及び補強膜
JP2009230964A (ja) 触媒層転写シート、並びにこれを用いた電解質膜−触媒層接合体の製造方法、電解質膜−電極接合体の製造方法、及び固体高分子形燃料電池の製造方法
JP5791222B2 (ja) 補強膜付き触媒層−電解質膜積層体、補強膜付き膜電極接合体、及び固体高分子形燃料電池
JP5266734B2 (ja) 補強シート付き電解質膜−触媒層接合体、これを用いた補強シート付き電解質膜−電極接合体、固体高分子形燃料電池及び補強シート付き電解質膜−触媒層接合体の製造方法
JP5700087B2 (ja) 電解質膜−触媒層接合体、これを用いた電解質膜−電極接合体及び固体高分子形燃料電池、触媒層転写フィルム、並びに電解質膜−触媒層接合体の製造方法
JP5338097B2 (ja) 電解質膜−触媒層接合体、これを用いた電解質膜−電極接合体及び固体高分子形燃料電池、触媒層転写フィルム、並びに電解質膜−触媒層接合体の製造方法
JP2010257930A (ja) 補強膜付き触媒層−電解質膜積層体、補強膜付き膜電極接合体、及び固体高分子形燃料電池

Legal Events

Date Code Title Description
A621 Written request for application examination

Free format text: JAPANESE INTERMEDIATE CODE: A621

Effective date: 20120528

A977 Report on retrieval

Free format text: JAPANESE INTERMEDIATE CODE: A971007

Effective date: 20130529

A131 Notification of reasons for refusal

Free format text: JAPANESE INTERMEDIATE CODE: A131

Effective date: 20130730

A521 Written amendment

Free format text: JAPANESE INTERMEDIATE CODE: A523

Effective date: 20130930

A02 Decision of refusal

Free format text: JAPANESE INTERMEDIATE CODE: A02

Effective date: 20140401

A521 Written amendment

Free format text: JAPANESE INTERMEDIATE CODE: A523

Effective date: 20140624

A911 Transfer to examiner for re-examination before appeal (zenchi)

Free format text: JAPANESE INTERMEDIATE CODE: A911

Effective date: 20140701

A912 Re-examination (zenchi) completed and case transferred to appeal board

Free format text: JAPANESE INTERMEDIATE CODE: A912

Effective date: 20140905

A521 Written amendment

Free format text: JAPANESE INTERMEDIATE CODE: A523

Effective date: 20150615

A521 Written amendment

Free format text: JAPANESE INTERMEDIATE CODE: A523

Effective date: 20150914

A61 First payment of annual fees (during grant procedure)

Free format text: JAPANESE INTERMEDIATE CODE: A61

Effective date: 20151020

R150 Certificate of patent or registration of utility model

Ref document number: 5828613

Country of ref document: JP

Free format text: JAPANESE INTERMEDIATE CODE: R150

LAPS Cancellation because of no payment of annual fees