JP2010040446A - 放電電極清掃機構付きイオナイザ - Google Patents

放電電極清掃機構付きイオナイザ Download PDF

Info

Publication number
JP2010040446A
JP2010040446A JP2008204689A JP2008204689A JP2010040446A JP 2010040446 A JP2010040446 A JP 2010040446A JP 2008204689 A JP2008204689 A JP 2008204689A JP 2008204689 A JP2008204689 A JP 2008204689A JP 2010040446 A JP2010040446 A JP 2010040446A
Authority
JP
Japan
Prior art keywords
electrode
discharge
support frame
electrode support
cleaning member
Prior art date
Legal status (The legal status is an assumption and is not a legal conclusion. Google has not performed a legal analysis and makes no representation as to the accuracy of the status listed.)
Granted
Application number
JP2008204689A
Other languages
English (en)
Other versions
JP5098883B2 (ja
Inventor
Masayuki Orihara
正幸 折原
Takayuki Toshida
孝之 土志田
Akira Tadano
晃 唯野
Current Assignee (The listed assignees may be inaccurate. Google has not performed a legal analysis and makes no representation or warranty as to the accuracy of the list.)
SMC Corp
Original Assignee
SMC Corp
Priority date (The priority date is an assumption and is not a legal conclusion. Google has not performed a legal analysis and makes no representation as to the accuracy of the date listed.)
Filing date
Publication date
Application filed by SMC Corp filed Critical SMC Corp
Priority to JP2008204689A priority Critical patent/JP5098883B2/ja
Priority to US12/503,195 priority patent/US7940509B2/en
Priority to DE102009035066.7A priority patent/DE102009035066B4/de
Priority to TW098125530A priority patent/TWI392180B/zh
Priority to CN2009101636333A priority patent/CN101645581B/zh
Priority to KR1020090072238A priority patent/KR101099510B1/ko
Publication of JP2010040446A publication Critical patent/JP2010040446A/ja
Application granted granted Critical
Publication of JP5098883B2 publication Critical patent/JP5098883B2/ja
Active legal-status Critical Current
Anticipated expiration legal-status Critical

Links

Images

Classifications

    • HELECTRICITY
    • H01ELECTRIC ELEMENTS
    • H01TSPARK GAPS; OVERVOLTAGE ARRESTERS USING SPARK GAPS; SPARKING PLUGS; CORONA DEVICES; GENERATING IONS TO BE INTRODUCED INTO NON-ENCLOSED GASES
    • H01T19/00Devices providing for corona discharge
    • H01T19/04Devices providing for corona discharge having pointed electrodes
    • HELECTRICITY
    • H01ELECTRIC ELEMENTS
    • H01TSPARK GAPS; OVERVOLTAGE ARRESTERS USING SPARK GAPS; SPARKING PLUGS; CORONA DEVICES; GENERATING IONS TO BE INTRODUCED INTO NON-ENCLOSED GASES
    • H01T23/00Apparatus for generating ions to be introduced into non-enclosed gases, e.g. into the atmosphere
    • BPERFORMING OPERATIONS; TRANSPORTING
    • B08CLEANING
    • B08BCLEANING IN GENERAL; PREVENTION OF FOULING IN GENERAL
    • B08B1/00Cleaning by methods involving the use of tools
    • B08B1/10Cleaning by methods involving the use of tools characterised by the type of cleaning tool
    • B08B1/12Brushes

Landscapes

  • Physics & Mathematics (AREA)
  • Engineering & Computer Science (AREA)
  • Plasma & Fusion (AREA)
  • Elimination Of Static Electricity (AREA)

Abstract

【課題】放電電極を清掃するための清掃部材でファンからのエア流が遮断されたり乱されたりすることがなく、かつ、清掃により放電電極から剥離した汚れがエア流により周囲に飛散して除電環境や除電対象物を汚染することがないイオナイザを得る。
【解決手段】イオナイザのケース5に脱着自在に取り付けられた電極支持枠11a,11bに、イオン発生用の放電電極3a,3bと該放電電極清掃用の清掃部材23とを取り付け、該清掃部材23は、上記電極支持枠11a,11bが上記ケース5に装着されている状態では、ファン4からのエア流を乱さない待避位置を占め、上記電極支持枠11a,11bをケース5から取り外すと移動可能となって、各放電電極3a,3bの放電部14bと接触しつつ移動することにより該放電部14bの汚れを除去するように構成する。
【選択図】図4

Description

本発明は、正又は負の電荷で帯電したワークから上記電荷を除去(中和)するために使用されるイオナイザに関するものであり、更に詳しくは、コロナ放電によって正及び負のイオンを発生させる放電電極が汚れた際に清掃部材で該放電電極を清掃することができるように構成した放電電極清掃機構付きイオナイザに関するものである。
半導体ウエハや液晶ガラスなどの各種ワークの処理工程においては、静電気で帯電したワークの正及び負の電荷を中和(除電)するのに、コロナ放電を利用したイオナイザが使用される。このコロナ放電を利用したイオナイザには、大きく分類すると直流方式と交流方式とがあり、例えば直流方式のイオナイザは、一般に、針状をした正の放電電極と負の放電電極とを有していて、これらの放電電極に正及び負の高電圧を印加することにより電極先端の放電部でコロナ放電を生じさせ、そのとき発生する正及び負のイオンをエア流で搬送してワークに吹き付けることにより、該ワーク上の正及び負の電荷を中和させるものである。また、交流方式のイオナイザは、放電電極に交流電圧を印加することによってこの放電電極から正及び負のイオンを交互に発生させるものである。
この種のイオナイザにおいては、放電電極がコロナ放電を生じると、放電部に空気中のごみが吸引されて付着し、該放電部が徐々に絶縁された状態になっていくため、コロナ放電が生じにくくなってイオンの発生が阻害され、除電効率が低下する。このため、ブラシ等の清掃部材で定期的に放電部の清掃を行う必要がある。この場合、清掃に別途用意した清掃部材を使用すると、清掃を行わないときに該清掃部材を仕舞い忘れたり、紛失したりするなどの問題がある。
このような問題を生じないイオナイザとして、特許文献1には、ケースの送風口内に放電電極とファンと清掃部材(ブラシ部材)とを設けたものが開示されている。このイオナイザは、上記送風口内にファンからのエア流により回転する可動部材を設け、この可動部材に上記清掃部材を取り付けたもので、この清掃部材が上記可動部材と一緒に回転する際に放電電極の先端に触れ、該先端に付着した汚れを落とすように構成されている。
特開2004−234972号公報
しかし、上記特許文献1に記載のイオナイザは、上記可動部材と清掃部材とが送風口内に設置されているため、イオンを含むエア流がこれらの可動部材と清掃部材とによって遮断されたり乱されたりし、エアの吹き出し効率が低下するばかりでなく、正及び負のイオンがエアの乱れで互いに混ざり合って再結合し、ワークに送られるイオン量が減少するという問題がある。
また、イオナイザの使用中に放電電極の清掃が行われるため、該放電電極から剥離した汚れがエア流によって飛散し、イオナイザの他の部分に再付着したり、イオナイザから流出して除電環境を汚染したり、ワークに吹き付けられて該ワークを汚染させるというような問題も生じる。
本発明の目的は、放電電極用の清掃部材を備えたイオナイザを、上記清掃部材でファンからのエア流が遮断されたり乱されたりすることがなく、また、清掃により放電電極から剥離した汚れが周囲に飛散して除電環境や除電対象物を汚染することがないように構成することにある。
上記目的を達成するため、本発明は、ケースに開口する送風口内に送風用のファンを設けると共に、該ケースにおける上記送風口に臨む位置に、コロナ放電により正、負のイオンを発生する複数の放電電極を設けたイオナイザにおいて、上記放電電極が、上記ケースに脱着自在の電極支持枠に取り付けられていて、この電極支持枠には、上記放電電極清掃用の清掃部材が、複数の放電電極間を各放電電極と接触しつつ移動可能なるように取り付けられ、該清掃部材は、上記電極支持枠が上記ケースに装着されている状態では上記送風口の領域から離れた待避位置を占め、上記電極支持枠が該ケースから取り外されると放電電極清掃のために移動可能となることを特徴とするものである。
本発明において好ましくは、上記電極支持枠が、上記送風口の一半部側に位置する第1の電極支持枠と、他半部側に位置する第2の電極支持枠とからなっていて、各電極支持枠にそれぞれ上記放電電極と清掃部材とが取り付けられていることである。
本発明の具体的な構成態様においては、上記第1及び第2の電極支持枠が、円形の上記送風口の一部に適合する円弧状の湾曲部と、上記送風口内に先端の放電部を突出させた姿勢でこの湾曲部に取り付けられた上記放電電極と、上記電極支持枠の前後両面の上記湾曲部に隣接する位置に形成されたガイドと、このガイドに沿って移動自在の上記清掃部材とを有し、上記清掃部材は、上記湾曲部の位置に上記電極支持枠を挟むように取り付けられたブラシホルダと、該ブラシホルダの内部に上記放電電極と接するように取り付けられたブラシと、上記ガイドに対して摺動自在のスライダとを有する。
本発明においては、上記ガイドが溝からなっていて、上記湾曲部に沿って緩やかに湾曲する主体部と、該主体部の一端に折れ曲がった形で連なる逃げ部とを有し、また、上記スライダがこのガイドに摺動自在に嵌合する摺動突起からなっていて、上記ブラシホルダの両側板部内面にそれぞれ複数の摺動突起が形成され、上記清掃部材を上記ガイドの端部に移動させて一部の摺動突起を上記逃げ部内に嵌合させることにより、この清掃部材が上記待避位置を占めるように構成されている。
本発明において好ましくは、上記第1の電極支持枠と第2の電極支持枠とが相互に互換性を有し、互いを入れ換えて上記ケースに装着可能とされていることである。
本発明において、上記ケースには、高電圧源に導通する複数の給電端子が設けられ、上記電極支持枠には、上記放電電極に導通する複数の受電端子が設けられ、該電極支持枠を上記ケースに装着すると、上記受電端子が上記給電端子に個別に接続されるように構成されている。
また、本発明においては、異なる極性のイオンを発生する2つの放電電極の組み合わせからなる放電電極対を複数有し、該放電電極対における2つの放電電極の電極先端から送風口の中心までの距離が互いに異なっている。
本発明のイオナイザは、ケースに対して脱着自在の電極支持枠に放電電極と清掃部材とを取り付け、イオナイザの運転を停止しかつ上記電極支持枠をケースから取り外した状態で上記清掃部材により放電電極の清掃を行うようにしたので、上記従来品とは違い、該放電電極から剥離した汚れがファンからのエア流により周囲に飛散して除電環境や除電対象物を汚染することがない。また、上記電極支持枠をケースに装着したとき上記清掃部材が送風口の領域から離れた待避位置を占めるため、イオナイザの運転時に該清掃部材によってファンからのエア流が遮断されたり乱されたりすることがない。
図1−図4には、本発明に係る電極清掃機構付きイオナイザの一実施形態が示されている。このイオナイザは直流式で、正及び負の放電電極3a及び3bに高電圧源12a,12bから正及び負の直流高電圧を印加することによりコロナ放電を生じさせ、そのとき発生する正及び負のイオンをファン4からのエア流によって除電対象物(ワーク)に吹き付けるもので、上記放電電極3a,3b及びファン4を有するファンユニット1と、上記高電圧源12a,12b及びファン4を制御する制御装置7を内蔵したコントロールユニット2とを、上下に重ねて配置することにより構成されている。
上記ファンユニット1は、全体形状が矩形をなす合成樹脂製の上部ケース5aを有している。この上部ケース5aの内部には、円形の送風口10が該ファンユニット1の前後方向に開放するように形成されていて、この送風口10の内周部分に、電極支持枠11a,11bに取り付けられた複数の正の放電電極3aと複数の負の放電電極3bとが、電極先端を上記送風口10の中心Oに向けた姿勢で、該中心Oの回りに所定の間隔を保って規則的に配設されている。また、上記送風口10の内部には上記ファン4が設けられ、このファン4からのエア流により、上記放電電極3a及び3bで発生した正及び負のイオンが帯電したワークに向けて搬送されるようになっている。
一方、上記コントロールユニット2は、合成樹脂製の下部ケース5bの中に上記制御装置7が収容され、該下部ケース5bの前面には、電源スイッチ8a、外部電源や外部機器との間で配線を接続するためのコネクタ8b、風量調整用のロータリスイッチ8c、外部センサ接続用のモジュラーコネクタ8d、ACアダプタ接続用ジャック8e、動作状態表示のためのインジケータ8f等が設けられている。
このコントロールユニット2は、イオナイザを所定の設置場所に設置する際の基台を兼ねるものであり、該コントロールユニット2の前後方向幅は、ファンユニット1の前後方向幅より広く形成されている。しかし、これらのファンユニット1とコントロールユニット2との前後方向幅は互いに同じであっても良い。
上記ファンユニット1の上部ケース5aとコントロールユニット2の下部ケース5bとは、それぞれがイオナイザ全体のケース5の一部を形成するものである。従って、以下の説明においては、これらの上部ケース5aと下部ケース5bとを「ケース5」と称する場合もある。これらの上部ケース5aと下部ケース5bとは、互いに一体に形成されていても、別々に形成されて分離可能に結合されていても構わない。
上記ファン4は、中心に位置する電動式のモーター4aと、このモーターの出力軸に取り付けられた羽根4bとからなるもので、上記送風口10の内部に同心状に配設され、上記モーター4aが上記制御装置7に電気的に接続されている。
上記ファンユニット1の内部には、上記正の放電電極3aに正の高電圧を印加するための正の高電圧源12aと、負の放電電極3bに負の高電圧を印加するための負の高電圧源12bとが収容され、これらの高電圧源12a及び12bが、上記制御装置7と各放電電極3a及び3bとに接続されている。
なお、直流式のイオナイザには、一定大きさの高電圧を連続的に印加するDC方式と、パルス状の高電圧を印加するDCパルス方式とがあるが、本実施形態はそのどちらでも良い。
また、上記高電圧源12a,12bは、上記制御装置7と共に上記コントロールユニット2の内部に配設しても良く、あるいは、これらの制御装置7と高電圧源12a,12bとを上記ファンユニット1の内部に配設することもできる。
上記正の放電電極3aと負の放電電極3bとは、2本が1組になって放電電極対3A,3Bを形成している。図示の例では、4本の正の放電電極3aと4本の負の放電電極3bとが1本ずつ交互に配設されていて、隣接する正の放電電極3aと負の放電電極3bとの組み合わせによって全部で4組の放電電極対3A,3Bが形成され、これらの放電電極対3A,3Bが、上記送風口10の中心Oの回りに一定の間隔を保って配設されている。
上記各放電電極対3A,3Bにおける正の放電電極3aと負の放電電極3bとは、送風口10内に突出する長さ即ち電極長さが互いに異なっている。換言すれば、電極先端から上記送風口10の中心Oまでの距離(先端−中心間距離)が互いに異なっている。この場合、正の放電電極3aと負の放電電極3bとにおける先端−中心間距離の大小関係は、全ての放電電極対3A,3Bにおいて同じではなく、第1の放電電極対3Aと第2の放電電極対3Bとで互いに異なっている。即ち、第1の放電電極対3Aは、電極長さを短くすることによって上記先端−中心間距離を長くした正の放電電極3aと、電極長さを長くすることによって上記先端−中心間距離を短くした負の放電電極3bとを有するものであり、第2の放電電極対3Bは、電極長さを長く形成することによって上記先端−中心間距離を短くした正の放電電極3aと、電極長さを短く形成することによって上記先端−中心間距離を長くした負の放電電極3bとを有するものである。
そして、2組の第1の放電電極対3Aと2組の第2の放電電極対3Bとが、第1の放電電極対3A同士及び第2の放電電極対3B同士が上記送風口10の中心Oに対して互いに対称の位置を占めるように、該中心Oの回りに交互に配設されている。この場合、4組の放電電極対3A,3B相互間における正の放電電極3a同士の配設間隔及び負の放電電極3b同士の配設間隔は、それぞれほぼ90度であるが、各放電電極対3A,3Bにおける正の放電電極3aと負の放電電極3bとの配設間隔は、90度より小さい。
上記放電電極3a,3bは、図5に示すように、円柱状をした本体部分14aと、次第に先細り形状をなす先端部分14bとを有するもので、上記本体部分14aは、合成樹脂等の電気絶縁材15で被覆されるか、又は合成樹脂等の電気絶縁材からなる上記電極支持枠11a,11bの内部に埋め込まれることにより、上記先端部分14bだけが外部に露出しており、この露出する先端部分14bでコロナ放電を生じることによってイオンを発生するものである。従って、この先端部分14bが放電部を形成するものである。従って以下の説明においては、この「放電部」にも符号「14b」を付すことがある。
なお、上記放電電極3a,3bの先端部分14bの形状は、円錐形のように先端が尖った形状であっても、やや丸みを帯びた形状であっても良い。
上記放電電極3a,3bは、上記放電部14bを除くその他の部分が電気絶縁物で被覆されているため、正及び負の放電電極3a及び3bが互いに近接して配置されていても、両放電電極3a及び3bの放電部14b同士を上記電気絶縁材15の表面と電極支持枠11a及び11bの表面とを介して結ぶ沿面距離は、該放電電極3a,3bが被覆されていない場合よりは長い。このため、長時間の使用や劣悪環境下での使用により不純物が放電電極に付着して絶縁破壊を起こすまでの期間が長くなる。
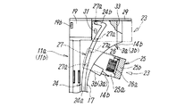
上記放電電極3a,3bは、図4から明らかなように、上記2つの電極支持枠11a及び11bにそれぞれ取り付けられている。これらの電極支持枠11a,11bは、矩形の部材を縦に二分割したものの相対する側辺の中間部分を、上記送風口10の内周形状に適合する円弧の形に湾曲させたような形状をしていて、2つの電極支持枠11aと11bとは互いに対称形をなしている。そして、各電極支持枠11a及び11bの湾曲部17に、それぞれ2組の放電電極対3A及び3Bが取り付けられている。具体的には、各電極支持枠11a及び11bの湾曲部17に、第1の放電電極対3Aと第2の放電電極対3Bとがそれぞれ取り付けられている。このとき、湾曲部17の両端に電極長さの短い放電電極が位置し、中間に電極長さの長い放電電極が位置するように、各放電電極3a及び3bが配置されている。
このように、各放電電極対3A,3Bにおける正の放電電極3aと負の放電電極3bとの先端−中心間距離を違えると、正のイオンと負のイオンとが送風口10の半径方向の異なる位置で発生するため、ファン4からの旋回するエア流によって正、負のイオンが混ざり合って再結合する割合が減少し、除電対象ワークに到達するイオン量が多くなる。
しかも、第1の放電電極対3Aと第2の放電電極対3Bとを混在させることにより、送風口10の半径方向のイオン分布が平均化され、イオンバランスが良くなる。
上記電極支持枠11a,11bは、上記上部ケース5aの上面に開口する2つの支持枠取付孔18a,18bから該上部ケース5aの内部に、上記湾曲部17を互いに向かい合わせにした状態で挿入することにより、一方の第1の電極支持枠11aが上記送風口10の一半部側に位置し、他方の第2の電極支持枠11bが該送風口10の他半部側に位置する態様で、該上部ケース5aに脱着自在に取り付けられている。
上記第1の電極支持枠11aと第2の電極支持枠11bとは、外形形状が同じであるだけでなく、上記放電電極3a,3bの取付構造や、後述する受電端子21a−21d及び清掃部材23の取付構造等を含めて、互いに同一の構成を有している。従って相互に互換性を有し、上記上部ケース5aの支持枠取付孔18a,18bに、互いを入れ換えて装着することができるものである。
上記電極支持枠11a,11bの上端部には、弾力的に開閉する一対の弾片19aからなるロック部材19が取り付けられている。上記弾片19aは、上記電極支持枠11a,11bの側面から上向きに延びたあと、上端が該側面の外方に向けてほぼ直角に折れ曲がった形をしており、各弾片19aの側面には係止突起19bが形成されている。そして、上記電極支持枠11a,11bを上部ケース5aの支持枠取付孔18a,18bに挿入すると、上記係止突起19bが上部ケース5aに弾力的に係止し、該電極支持枠11a,11bが該上部ケース5aに固定されるようになっている。
上記電極支持枠11a,11bを上部ケース5aから取り出すときは、上記弾片19aを互いが接近する方向に弾性変形させて上記係止突起19bの係止を外し、その状態で該電極支持枠11a,11bを上記支持枠取付孔18a,18bから引き抜けば良い。
また、上記電極支持枠11a,11bの前後両面には、上記湾曲部17の反対側の側辺に近接する位置に、図6及び図7からも分かるように、上記各放電電極3a及び3bに個別に導通する複数の上記受電端子21a−21dが設けられている。即ち、電極支持枠11a,11bの前後一方の面には、電極長さの短い一番上の放電電極3a又は3bと電極長さの長い上から3番目の放電電極3a又は3bとに個別に導通する2つの受電端子21a及び21cが設けられ、電極支持枠11a,11bの他方の面には、電極長さの長い上から2番目の放電電極3b又は3aと電極長さの短い一番下の放電電極3b又は3aとに個別に導通する2つの受電端子21b及び21dが設けられていて、これら4つの受電端子21a−21dは、電極支持枠11a,11bの上下方向に互い違いの位置を占めている。
これに対して上記上部ケース5aの支持枠取付孔18a及び18bのそれぞれには、図2及び図4に示すように、上記高電圧源12a及び12bに導通する正及び負の複数(4個ずつ)の給電端子22a−22d及び22e−22hが設けられていて、上記電極支持枠11a,11bを上記支持枠取付孔18a,18b内に挿入して上部ケース5aに装着すると、対応する受電端子21a−21dと給電端子22a−22hとが相互に接触して電気接続され、各放電電極3a及び3bに決められた極性の高電圧が印加されるようになっている。
図示した例では、第1の支持枠取付孔18aにおける前後の孔壁面のうち、後側の孔壁面の上下異なる位置に、正の高電圧源12aに導通する2つの正の給電端子22a及び22cが設けられ、前側の内壁面の上下異なる位置に、負の高電圧源12bに導通する2つの負の給電端子22b及び22dが設けられている。また、第2の支持枠取付孔18bにおける前後の孔壁面のうち、後側の孔壁面の上下異なる位置には、正の高電圧源12aに導通する2つの正の給電端子22f及び22hが設けられ、前側の孔壁面の上下異なる位置には、負の高電圧源12bに導通する2つの負の給電端子22e及び22gが設けられている。
従って、第1の電極支持枠11aを第1の支持枠取付孔18a内に挿入し、第2の電極支持枠11bを第2の支持枠取付孔18b内に挿入すると、上記第1の電極支持枠11aにおいては、受電端子21a及び21cが正の給電端子22a及び22cに接続されると共に、受電端子21b及び21dが負の給電端子22b及び22dに接続され、また、第2の電極支持枠11bにおいては、受電端子21a及び21cが負の給電端子22e及び22gに接続されると共に、受電端子21b及び21dが正の給電端子22f及び22hに接続されるため、両電極支持枠11a及び11bの各放電電極3a及び3bに印加される高電圧の極性は図4に示すようになる。
また、上記第1の電極支持枠11aと第2の電極支持枠11bとを前後反転させて互いに入れ換え、第1の電極支持枠11aを第2の支持枠取付孔18b内に挿入し、第2の電極支持枠11bを第1の支持枠取付孔18a内に挿入すると、両電極支持枠11a及び11bにおける各放電電極3a及び3bの極性は逆転する。即ち、図4において符号「11a」と「11b」とを入れ換えた状態となる。
一般に、放電電極にコロナ放電を生じさせた場合、正の放電電極と負の放電電極とで摩耗の度合いが異なることが知られている。そこで、上述したように2つの電極支持枠11aと11bとに互換性を持たせ、それらを定期的に入れ換えて放電電極を正と負とに交互に使用することにより、各放電電極の摩耗を均一化してトータル的な使用期間を延長することが可能になる。
上記電極支持枠11a,11bには、上記放電電極3a及び3bを清掃するための清掃部材23が、該電極支持枠11a,11bに形成されたガイド24に沿って移動自在なるように取り付けられている。
上記清掃部材23は、図4、図9及び図10からも分かるように、上記電極支持枠11a,11bに上記湾曲部17の側から該電極支持枠11a,11bを挟むように取り付けられた溝形断面のブラシホルダ25と、該ブラシホルダ25の内部に上記放電電極3a及び3bと接するように取り付けられたブラシ26と、上記ブラシホルダ25の基端部に上記ガイド24と摺動自在に係合し合うように形成されたスライダ27とを有している。
上記ブラシホルダ25は、合成樹脂などの電気絶縁材で形成されたもので、左右の側板部25aと、該側板部25aの先端部同士を連結する端板部25bとを有し、該端板部25bの内面に上記ブラシ26が、毛先をブラシホルダ25の基端部側に向けて取り付けられ、該清掃部材23が放電電極3a,3bの位置を横切るとき、このブラシ26が該放電電極3a,3bの先端部分即ち放電部14bに接触して該放電部14bの汚れを除去するようになっている。上記ブラシ26は、ブラシ基台26aに取り付けられていて、このブラシ基台26aが上記ブラシホルダ25の端板部25bに取り付けられている。このブラシ基台26aは着脱自在であっても良い。
上記ガイド24は、上記電極支持枠11a,11bの前後両面の上記湾曲部17に隣接する位置に形成された円弧状の溝からなるもので、上記湾曲部17に沿って延びる主体部24aと、該主体部24aの一端(上端)に上記湾曲部17の反対側に向けて急激に折れ曲がったように連なる逃げ部24bとを有している。
上記主体部24aの曲率半径は、上記湾曲部17の曲率半径より大きく、また、該主体部24aの曲率中心は、上記湾曲部17の曲率中心と同じ位置にはなく、該湾曲部17の曲率半径の延長線上にある。このため、該主体部24aは、上記湾曲部17の中央付近で該湾曲部17に最も接近し、該湾曲部17の両端方向に行くに従って次第に該湾曲部17から遠ざかるように延びている。これにより、該湾曲部17の両端寄りの位置に取り付けられている電極長さの短い放電電極3a,3bと、該湾曲部17の中間位置に取り付けられている電極長さの長い放電電極3a,3bとの、上記主体部24aから各放電部14bまでの上記ブラシホルダ25に沿った距離がほぼ同じになり、この結果、上記清掃部材23のブラシ26で、電極長さの異なる各放電電極3a及び3bの放電部14bを確実に清掃することが可能となる。
上記スライダ27は、上記ブラシホルダ25の両側板部25aの内面に形成された摺動突起27aからなっている。各側板部25aの内面にはそれぞれ2つの摺動突起27aが形成され、これらの摺動突起27aが上記ガイド24を形成する溝内に嵌合している。そして、上記清掃部材23による放電電極3a及び3bの清掃時には、上記摺動突起27aが、図8及び図9に示すように、上記主体部24a内に嵌合して該主体部24a内を摺動する。また、放電電極3a及び3bの非清掃時には、図9に鎖線で示すように、上方にある1つの摺動突起27aが上記逃げ部24b内に嵌合することにより、上記清掃部材23が待避位置に移動する。
上記待避位置での上記清掃部材23の姿勢は、電極支持枠11a,11bの上辺と平行を向き、かつ、該電極支持枠11a,11bの上端に取り付けられた縁枠29の下面に当接する姿勢であり、このように清掃部材23を待避位置に移動させた状態で上記電極支持枠11a,11bが、上部ケース5aに取り付けられている。このとき上記清掃部材23は、上記送風口10の領域から離れているため、イオナイザの稼働時に、上記送風口10内を流れるエア流がこの清掃部材23で遮断されたり乱されたりすることがない。
なお、上記待避位置において上記清掃部材23は、左右の側板部25aに形成した係止孔30に、電極支持枠11a,11bに形成した係止突起31が嵌合することにより、この待避位置に係止する。
また、上記清掃部材23には、左右の側板部25aの外面にロック用突起32が形成されていて、上記電極支持枠11a,11bを上部ケース5aに取り付けたとき、このロック用突起32が上部ケース5aの一部に係止することにより、該清掃部材23が清掃位置に移動できないようになっている。
図9中の符号33は、上記電極支持枠11a,11bの上記湾曲部17がある側の端面に形成された凹溝であり、上記清掃部材23が上記待避位置にあるとき、ブラシ26の先端部がこの凹溝33内に嵌合する。
上記構成を有するイオナイザにおいて、上記清掃部材23により放電電極3a及び3bの清掃を行うときは、該イオナイザの運転を停止し、図4に示すように、上記電極支持枠11a,11bを上部ケース5aから取り外す。そして、図8及び図9に示すように、各電極支持枠11a,11bについて、待避位置にある上記清掃部材23をガイド24に沿って摺動可能な位置まで移動させ、該ガイド24の主体部24aに沿って一往復あるいは複数往復させる。このとき該清掃部材23は、上記湾曲部17から送風口10の領域内に突出した状態で姿勢を少しずつ変えながら各放電電極3a及び3b間を移動し、上記ブラシ26が各放電電極3a及び3bの放電部14bに順番に摺接することによって該放電部14bに付着した汚れを取り除く。
このように、汚れた放電電極3a及び3bの清掃を、イオナイザの運転を停止し、電極支持枠11a,11bをケースから取り外した状態で行うようにすれば、該放電電極3a及び3bから剥離した汚れがエア流によって飛散することがないため、従来品のように汚れがイオナイザの他の部分に再付着したり、イオナイザから流出して除電環境を汚染したり、除電対象ワークに吹き付けられて該ワークを汚染させるといった問題が確実に回避される。
放電電極3a,3bの清掃が終わり、上記清掃部材23をガイド24の上端まで移動させて上方の摺動突起27aを上記逃げ部24b内に嵌合させると、図6に示すように、この清掃部材23は、上記送風口10の領域から離れた待避位置を占める。その状態で上記電極支持枠11a,11bを上部ケース5aに取り付けることにより、イオナイザの運転が可能になる。そして、この状態でイオナイザを運転しても、上記清掃部材23は送風口10の領域から離れた待避位置を占めているため、該清掃部材23によってファン4からのエア流が遮断されたり乱されたりすることがなく、その結果、従来のイオナイザの欠点であったエアの吹き出し効率の低下や、正及び負のイオンがエアの乱れのために互いに混ざり合って再結合し、除電対象ワークに送られるイオン量が減少するといったような問題が確実に回避される。
なお、上記電極支持枠11a,11bの上端の上記縁枠29は、上記清掃部材23の待避位置での位置決め用部材としての機能を有するほか、該電極支持枠11a,11bを上部ケース5aの取付孔18に取り付けたとき、該取付孔18の上端を塞ぐ機能をも有するものである。
上記実施形態においては、清掃部材23のブラシ26が一定長さの繊維により形成されていて、該ブラシ26の先端は一つの平面をなしているが、図11に示すように、ブラシ26の先端形状は、外に凸の形に湾曲する曲面に形成することもできる。ブラシ26をこのような形に形成すると、該ブラシ26の先端が放電電極3a,3bの色々な場所に接触するため、清掃能力が向上する。また、正及び負の2つの放電電極3a,3bの電極長さがそれほど違わないような場合に、ブラシ26の先端形状を上述したような形に形成することにより、上記ガイド24の主体部24aを湾曲部17と同心の円弧に形成することも可能となる。
図示した実施形態においては、各電極支持枠11a,11bにそれぞれ2組の放電電極対3A,3Bが取り付けられているが、各電極支持枠11a,11bには、1組又は3組以上の放電電極対3A,3Bが取り付けられていても良い。
また、上記実施形態においては、2つの電極支持枠11a,11bを備えているが、これらの電極支持枠11aと11bとは一つに連なっていても良い。即ち、電極支持枠は1つであっても良い。この場合、清掃部材23は、1つの電極支持枠の一半部側と他半部側とにそれぞれ設けられていても良いが、送風口10の全周に沿って移動できるように1つだけ設けられていても良い。
さらに、放電電極対3A,3Bにおける正の放電電極3aと負の放電電極3bとの電極長さ即ち先端−中心間距離は、必ずしも異なっている必要はなく、正及び負のイオンの再結合の問題をそれほど考慮する必要がない場合には、互いに同じであっても構わない。この場合、ガイド24の主体部24aは、上記湾曲部17と同心の円弧に形成される。
また、上記実施形態のイオナイザは直流式であるが、本発明は交流式のイオナイザにも適用することができる。この場合、各放電電極対3A,3Bにおける2つの放電電極3a及び3bに、両放電電極3a及び3bの極性が互いに逆になるようなタイミングで交流の高電圧が印加されるように構成すれば良い。
本発明に係るイオナイザの一実施形態を示す斜視図である。 図1のイオナイザの要部の概略的な断面図である。 ファンユニットの内部構造を概略的に示す要部正面図である。 図1のイオナイザの電極支持枠を取り出した状態での斜視図である。 放電電極の構造を示す要部断面図である。 一方の電極支持枠の正面図である。 図6の電極支持枠の背面図である。 清掃部材で放電電極を清掃する状態を示す正面図である。 図8の要部拡大図である。 清掃部材の斜視図である。 清掃部材の異なる例を示す部分断面図である。
符号の説明
3a,3b 放電電極
3A,3B 放電電極対
4 ファン
5 ケース
10 送風口
11a 第1の電極支持枠
11b 第2の電極支持枠
12a,12b 高電圧源
14b 放電部(先端部分)
17 湾曲部
21a,21b,21c,21d 受電端子
22a,22b,22c,22d,22e,22f,22g,22h 給電端子
23 清掃部材
24 ガイド
24a 主体部
24b 逃げ部
25 ブラシホルダ
25a 側板部
26 ブラシ
27 スライダ
27a 摺動突起
O 送風口の中心

Claims (7)

  1. ケースに開口する送風口内に送風用のファンを設けると共に、該ケースにおける上記送風口に臨む位置に、コロナ放電により正、負のイオンを発生する複数の放電電極を設けたイオナイザにおいて、
    上記放電電極が、上記ケースに脱着自在の電極支持枠に取り付けられていて、この電極支持枠には、上記放電電極清掃用の清掃部材が、複数の放電電極間を各放電電極と接触しつつ移動可能なるように取り付けられ、該清掃部材は、上記電極支持枠が上記ケースに装着されている状態では上記送風口の領域から離れた待避位置を占め、上記電極支持枠が該ケースから取り外されると放電電極清掃のために移動可能となることを特徴とする放電電極清掃機構付きイオナイザ。
  2. 上記電極支持枠が、上記送風口の一半部側に位置する第1の電極支持枠と、他半部側に位置する第2の電極支持枠とからなっていて、各電極支持枠にそれぞれ上記放電電極と清掃部材とが取り付けられていることを特徴とする請求項1に記載のイオナイザ。
  3. 上記第1及び第2の電極支持枠が、円形の上記送風口の一部に適合する円弧状の湾曲部と、上記送風口内に放電部を突出させた姿勢でこの湾曲部に取り付けられた上記放電電極と、上記電極支持枠の前後両面の上記湾曲部に隣接する位置に形成されたガイドと、このガイドに沿って移動自在の上記清掃部材とを有し、
    上記清掃部材は、上記湾曲部の位置に上記電極支持枠を挟むように取り付けられたブラシホルダと、該ブラシホルダの内部に上記放電電極と接するように取り付けられたブラシと、上記ガイドに対して摺動自在のスライダとを有することを特徴とする請求項2に記載のイオナイザ。
  4. 上記ガイドが溝からなっていて、上記湾曲部に沿って緩やかに湾曲する主体部と、該主体部の一端に折れ曲がった形で連なる逃げ部とを有し、また、上記スライダがこのガイドに摺動自在に嵌合する摺動突起からなっていて、上記ブラシホルダの両側板部内面にそれぞれ複数の摺動突起が形成され、上記清掃部材を上記ガイドの端部に移動させて一部の摺動突起を上記逃げ部内に嵌合させることにより、この清掃部材が上記待避位置を占めるように構成されていることを特徴とする請求項3に記載のイオナイザ。
  5. 上記第1の電極支持枠と第2の電極支持枠とが相互に互換性を有し、互いを入れ換えて上記ケースに装着可能であることを特徴とする請求項2から4の何れかに記載の記載のイオナイザ。
  6. 上記ケースには、高電圧源に導通する複数の給電端子が設けられ、また、上記電極支持枠には、上記放電電極に導通する複数の受電端子が設けられ、該電極支持枠を上記ケースに装着すると、上記受電端子が上記給電端子に個別に接続されるように構成されていることを特徴とする請求項1から5の何れかに記載のイオナイザ。
  7. 異なる極性のイオンを発生する2つの放電電極の組み合わせからなる放電電極対を複数有し、該放電電極対における2つの放電電極の電極先端から送風口の中心までの距離が互いに異なることを特徴とする請求項1から6の何れかに記載のイオナイザ。
JP2008204689A 2008-08-07 2008-08-07 放電電極清掃機構付きイオナイザ Active JP5098883B2 (ja)

Priority Applications (6)

Application Number Priority Date Filing Date Title
JP2008204689A JP5098883B2 (ja) 2008-08-07 2008-08-07 放電電極清掃機構付きイオナイザ
US12/503,195 US7940509B2 (en) 2008-08-07 2009-07-15 Ionizer having mechanism for cleaning discharge electrodes
DE102009035066.7A DE102009035066B4 (de) 2008-08-07 2009-07-28 Ionisator mit Mechanismus zum Reinigen von Entladungselektroden
TW098125530A TWI392180B (zh) 2008-08-07 2009-07-29 附有放電電極清掃機構之離子器
CN2009101636333A CN101645581B (zh) 2008-08-07 2009-08-06 带放电电极清扫装置的电离器
KR1020090072238A KR101099510B1 (ko) 2008-08-07 2009-08-06 방전 전극 청소 기구가 부착된 이오나이저

Applications Claiming Priority (1)

Application Number Priority Date Filing Date Title
JP2008204689A JP5098883B2 (ja) 2008-08-07 2008-08-07 放電電極清掃機構付きイオナイザ

Publications (2)

Publication Number Publication Date
JP2010040446A true JP2010040446A (ja) 2010-02-18
JP5098883B2 JP5098883B2 (ja) 2012-12-12

Family

ID=41606335

Family Applications (1)

Application Number Title Priority Date Filing Date
JP2008204689A Active JP5098883B2 (ja) 2008-08-07 2008-08-07 放電電極清掃機構付きイオナイザ

Country Status (6)

Country Link
US (1) US7940509B2 (ja)
JP (1) JP5098883B2 (ja)
KR (1) KR101099510B1 (ja)
CN (1) CN101645581B (ja)
DE (1) DE102009035066B4 (ja)
TW (1) TWI392180B (ja)

Cited By (4)

* Cited by examiner, † Cited by third party
Publication number Priority date Publication date Assignee Title
JP2012237458A (ja) * 2011-05-09 2012-12-06 Sharp Corp 空気清浄装置
WO2015025541A1 (ja) * 2013-08-20 2015-02-26 シャープ株式会社 空気調和機およびイオン発生装置
JP2020516017A (ja) * 2017-03-24 2020-05-28 イリノイ トゥール ワークス インコーポレイティド 自動エミッター尖端清掃機
CN114156735A (zh) * 2021-12-20 2022-03-08 天长市泽创电子科技有限公司 一种输出端多方位调节式的负离子发生器

Families Citing this family (27)

* Cited by examiner, † Cited by third party
Publication number Priority date Publication date Assignee Title
JP4790068B2 (ja) * 2009-10-09 2011-10-12 シャープ株式会社 肌表面の水分量を増加させると共に真皮の水分保持機能を向上させる方法および美容器具
US8405951B2 (en) * 2010-06-21 2013-03-26 Tessera, Inc. Cleaning mechanism with tandem movement over emitter and collector surfaces
DE102010043331B4 (de) * 2010-11-03 2014-09-04 Haug Gmbh & Co. Kg. Luftionisationsgerät
US9579664B2 (en) * 2011-06-22 2017-02-28 Koninklijke Philips N.V. Cleaning device for cleaning the air-ionizing part of an electrode
US9948071B2 (en) 2012-09-21 2018-04-17 Desco Industries, Inc. Ionizer with a needle cleaning device
US9107278B2 (en) * 2012-10-29 2015-08-11 Shenzhen China Star Optoelectronics Technology Co., Ltd Stacker and static elimination device for the same
KR101589055B1 (ko) * 2013-12-19 2016-01-27 주식회사동일기연 제전기 구조체
TWI572831B (zh) * 2014-12-04 2017-03-01 財團法人工業技術研究院 靜電式氣體清淨機
US9925567B2 (en) * 2014-12-19 2018-03-27 Global Plasma Solutions, Llc Self cleaning ion generator
KR101700218B1 (ko) * 2015-01-09 2017-01-26 (주)선재하이테크 코로나 방전 이오나이저의 방전침을 청소하는 방법
CN104661420A (zh) * 2015-03-05 2015-05-27 京东方科技集团股份有限公司 一种去除静电装置
CN105188245B (zh) * 2015-10-22 2017-03-15 四川大学 静电消除器
US10980911B2 (en) 2016-01-21 2021-04-20 Global Plasma Solutions, Inc. Flexible ion generator device
JP6114430B1 (ja) * 2016-03-30 2017-04-12 株式会社 片野工業 イオン風発生装置
US11695259B2 (en) 2016-08-08 2023-07-04 Global Plasma Solutions, Inc. Modular ion generator device
US11283245B2 (en) 2016-08-08 2022-03-22 Global Plasma Solutions, Inc. Modular ion generator device
WO2018193435A1 (en) * 2017-04-19 2018-10-25 Ionics - Ionic Systems Ltd. Method and device for cleaning of ionizing electrodes
US10258922B2 (en) * 2017-09-10 2019-04-16 Xetin Co., Ltd Device for deodorization and disinfection
FR3072891B1 (fr) * 2017-10-28 2019-11-08 Ancilia Protect Ltd Ioniseur equipe d’un accelerateur de flux ionique notamment pour la protection contre les moustiques
KR20200133334A (ko) 2018-02-12 2020-11-27 글로벌 프라즈마 솔루션스, 인코포레이티드 셀프 클리닝 이온 발생기 장치
US11259393B2 (en) * 2018-03-13 2022-02-22 A&D Company, Limited Electric neutralizer, electronic scale equipped with electric neutralizer, and neutralization method
US11581709B2 (en) 2019-06-07 2023-02-14 Global Plasma Solutions, Inc. Self-cleaning ion generator device
CN110351939A (zh) * 2019-08-13 2019-10-18 深圳市中明科技股份有限公司 一种离子风机
JP1693755S (ja) * 2020-12-01 2021-08-30
WO2023034247A1 (en) 2021-08-30 2023-03-09 Global Plasma Solutions, Inc. Self-cleaning device for generating ions
CN114308784B (zh) * 2021-11-22 2023-03-03 深圳供电局有限公司 蓄电池防护系统
KR200497356Y1 (ko) 2021-11-30 2023-10-17 코어인사이트 (주) 방전 전극 세정 시스템을 구비한 막대형 이오나이저

Citations (7)

* Cited by examiner, † Cited by third party
Publication number Priority date Publication date Assignee Title
US4734580A (en) * 1986-06-16 1988-03-29 The Simco Company, Inc. Built-in ionizing electrode cleaning apparatus
US5768087A (en) * 1996-11-05 1998-06-16 Ion Systems, Inc. Method and apparatus for automatically cleaning ionizing electrodes
JP2004234972A (ja) * 2003-01-29 2004-08-19 Shishido Seidenki Kk 送風式イオン生成装置
JP2005216539A (ja) * 2004-01-27 2005-08-11 Vessel Industrial Co Ltd 放電電極と電極組立体とイオン発生装置
JP2006196380A (ja) * 2005-01-17 2006-07-27 Koganei Corp 除電装置および放電モジュール
KR20070114345A (ko) * 2005-03-25 2007-12-03 휴글엘렉트로닉스가부시키가이샤 이온 송풍기
KR20070114679A (ko) * 2007-11-06 2007-12-04 주식회사 테크라인 방전 침 청소기능을 포함한 송풍형 이온 발생장치

Family Cites Families (6)

* Cited by examiner, † Cited by third party
Publication number Priority date Publication date Assignee Title
US5055963A (en) * 1990-08-15 1991-10-08 Ion Systems, Inc. Self-balancing bipolar air ionizer
US6002573A (en) * 1998-01-14 1999-12-14 Ion Systems, Inc. Self-balancing shielded bipolar ionizer
US6137670A (en) * 1999-02-18 2000-10-24 Desco Industries, Inc. Replaceable electrical ionizer module
JP4317699B2 (ja) * 2003-02-18 2009-08-19 株式会社キーエンス 除電装置および除電装置用脱着ユニット
JP2006039303A (ja) * 2004-07-28 2006-02-09 Sumitomo Electric Ind Ltd 光情報記録媒体およびその記録方法と製造方法
CN2776556Y (zh) * 2005-03-26 2006-05-03 麦翠媚 紧凑型卧式空气清新器

Patent Citations (7)

* Cited by examiner, † Cited by third party
Publication number Priority date Publication date Assignee Title
US4734580A (en) * 1986-06-16 1988-03-29 The Simco Company, Inc. Built-in ionizing electrode cleaning apparatus
US5768087A (en) * 1996-11-05 1998-06-16 Ion Systems, Inc. Method and apparatus for automatically cleaning ionizing electrodes
JP2004234972A (ja) * 2003-01-29 2004-08-19 Shishido Seidenki Kk 送風式イオン生成装置
JP2005216539A (ja) * 2004-01-27 2005-08-11 Vessel Industrial Co Ltd 放電電極と電極組立体とイオン発生装置
JP2006196380A (ja) * 2005-01-17 2006-07-27 Koganei Corp 除電装置および放電モジュール
KR20070114345A (ko) * 2005-03-25 2007-12-03 휴글엘렉트로닉스가부시키가이샤 이온 송풍기
KR20070114679A (ko) * 2007-11-06 2007-12-04 주식회사 테크라인 방전 침 청소기능을 포함한 송풍형 이온 발생장치

Cited By (8)

* Cited by examiner, † Cited by third party
Publication number Priority date Publication date Assignee Title
JP2012237458A (ja) * 2011-05-09 2012-12-06 Sharp Corp 空気清浄装置
WO2015025541A1 (ja) * 2013-08-20 2015-02-26 シャープ株式会社 空気調和機およびイオン発生装置
JP2015039392A (ja) * 2013-08-20 2015-03-02 シャープ株式会社 空気調和機およびイオン発生装置
JP2020516017A (ja) * 2017-03-24 2020-05-28 イリノイ トゥール ワークス インコーポレイティド 自動エミッター尖端清掃機
JP7136799B2 (ja) 2017-03-24 2022-09-13 イリノイ トゥール ワークス インコーポレイティド 自動エミッター尖端清掃機
JP2022184853A (ja) * 2017-03-24 2022-12-13 イリノイ トゥール ワークス インコーポレイティド 自動エミッター尖端清掃システム
JP7338019B2 (ja) 2017-03-24 2023-09-04 イリノイ トゥール ワークス インコーポレイティド 自動エミッター尖端清掃システム
CN114156735A (zh) * 2021-12-20 2022-03-08 天长市泽创电子科技有限公司 一种输出端多方位调节式的负离子发生器

Also Published As

Publication number Publication date
CN101645581A (zh) 2010-02-10
DE102009035066B4 (de) 2016-11-17
US20100033891A1 (en) 2010-02-11
CN101645581B (zh) 2012-08-22
JP5098883B2 (ja) 2012-12-12
US7940509B2 (en) 2011-05-10
KR101099510B1 (ko) 2011-12-27
TWI392180B (zh) 2013-04-01
TW201014095A (en) 2010-04-01
KR20100019353A (ko) 2010-02-18
DE102009035066A1 (de) 2010-03-04

Similar Documents

Publication Publication Date Title
JP5098883B2 (ja) 放電電極清掃機構付きイオナイザ
TWI395516B (zh) 除電裝置以及放電模組
CN107925224B (zh) 离子发生装置及电气设备
CN101442870B (zh) 电极丝式离子发生器
US7706120B2 (en) Ion generating element, ion generator and neutralizer
CN103477720A (zh) 除电装置
KR101589055B1 (ko) 제전기 구조체
CN103733733B (zh) 除电装置
JP2014087732A (ja) 電気集塵機
KR20160138931A (ko) 세정유닛을 갖춘 송풍형 이오나이저
WO2016163335A1 (ja) 荷電装置及び電気集塵機
US7465340B2 (en) Ionizer with parts-extension unit
US7612981B2 (en) Ion generator and neutralizer
JP4910214B2 (ja) イオナイザ
US7898791B2 (en) Ionizer with drop-off prevention device for electrode
JP2009099472A (ja) 送風式イオン生成装置
WO2007141885A1 (ja) イオン発生装置
CN107925225A (zh) 离子产生装置及电器设备
JP2008021571A (ja) ファン型除電器
JP4963624B2 (ja) 除電器
JP2011096583A (ja) 除電装置
JP2011076719A (ja) 放電電極
KR20210050859A (ko) 대향 전극이 구비된 방전 전극 소켓
JPH10186798A (ja) コロナ放電装置
JP2000314863A (ja) 液晶パネルの製造装置及びその製造方法

Legal Events

Date Code Title Description
A621 Written request for application examination

Free format text: JAPANESE INTERMEDIATE CODE: A621

Effective date: 20110222

A977 Report on retrieval

Free format text: JAPANESE INTERMEDIATE CODE: A971007

Effective date: 20120723

TRDD Decision of grant or rejection written
A01 Written decision to grant a patent or to grant a registration (utility model)

Free format text: JAPANESE INTERMEDIATE CODE: A01

Effective date: 20120807

A01 Written decision to grant a patent or to grant a registration (utility model)

Free format text: JAPANESE INTERMEDIATE CODE: A01

A61 First payment of annual fees (during grant procedure)

Free format text: JAPANESE INTERMEDIATE CODE: A61

Effective date: 20120910

FPAY Renewal fee payment (event date is renewal date of database)

Free format text: PAYMENT UNTIL: 20151005

Year of fee payment: 3

R150 Certificate of patent or registration of utility model

Free format text: JAPANESE INTERMEDIATE CODE: R150

Ref document number: 5098883

Country of ref document: JP

R250 Receipt of annual fees

Free format text: JAPANESE INTERMEDIATE CODE: R250

R250 Receipt of annual fees

Free format text: JAPANESE INTERMEDIATE CODE: R250

R250 Receipt of annual fees

Free format text: JAPANESE INTERMEDIATE CODE: R250

R250 Receipt of annual fees

Free format text: JAPANESE INTERMEDIATE CODE: R250

R250 Receipt of annual fees

Free format text: JAPANESE INTERMEDIATE CODE: R250

R250 Receipt of annual fees

Free format text: JAPANESE INTERMEDIATE CODE: R250

R250 Receipt of annual fees

Free format text: JAPANESE INTERMEDIATE CODE: R250

R250 Receipt of annual fees

Free format text: JAPANESE INTERMEDIATE CODE: R250

R250 Receipt of annual fees

Free format text: JAPANESE INTERMEDIATE CODE: R250

R250 Receipt of annual fees

Free format text: JAPANESE INTERMEDIATE CODE: R250

R250 Receipt of annual fees

Free format text: JAPANESE INTERMEDIATE CODE: R250