JP2010039429A - ズームレンズ及びそれを有する撮像装置 - Google Patents
ズームレンズ及びそれを有する撮像装置 Download PDFInfo
- Publication number
- JP2010039429A JP2010039429A JP2008205516A JP2008205516A JP2010039429A JP 2010039429 A JP2010039429 A JP 2010039429A JP 2008205516 A JP2008205516 A JP 2008205516A JP 2008205516 A JP2008205516 A JP 2008205516A JP 2010039429 A JP2010039429 A JP 2010039429A
- Authority
- JP
- Japan
- Prior art keywords
- lens
- lens group
- zoom
- lens unit
- zoom lens
- Prior art date
- Legal status (The legal status is an assumption and is not a legal conclusion. Google has not performed a legal analysis and makes no representation as to the accuracy of the status listed.)
- Granted
Links
Images
Classifications
-
- G—PHYSICS
- G02—OPTICS
- G02B—OPTICAL ELEMENTS, SYSTEMS OR APPARATUS
- G02B15/00—Optical objectives with means for varying the magnification
- G02B15/14—Optical objectives with means for varying the magnification by axial movement of one or more lenses or groups of lenses relative to the image plane for continuously varying the equivalent focal length of the objective
- G02B15/16—Optical objectives with means for varying the magnification by axial movement of one or more lenses or groups of lenses relative to the image plane for continuously varying the equivalent focal length of the objective with interdependent non-linearly related movements between one lens or lens group, and another lens or lens group
- G02B15/20—Optical objectives with means for varying the magnification by axial movement of one or more lenses or groups of lenses relative to the image plane for continuously varying the equivalent focal length of the objective with interdependent non-linearly related movements between one lens or lens group, and another lens or lens group having an additional movable lens or lens group for varying the objective focal length
-
- G—PHYSICS
- G02—OPTICS
- G02B—OPTICAL ELEMENTS, SYSTEMS OR APPARATUS
- G02B15/00—Optical objectives with means for varying the magnification
- G02B15/14—Optical objectives with means for varying the magnification by axial movement of one or more lenses or groups of lenses relative to the image plane for continuously varying the equivalent focal length of the objective
- G02B15/144—Optical objectives with means for varying the magnification by axial movement of one or more lenses or groups of lenses relative to the image plane for continuously varying the equivalent focal length of the objective having four groups only
- G02B15/1441—Optical objectives with means for varying the magnification by axial movement of one or more lenses or groups of lenses relative to the image plane for continuously varying the equivalent focal length of the objective having four groups only the first group being positive
- G02B15/144113—Optical objectives with means for varying the magnification by axial movement of one or more lenses or groups of lenses relative to the image plane for continuously varying the equivalent focal length of the objective having four groups only the first group being positive arranged +-++
-
- G—PHYSICS
- G02—OPTICS
- G02B—OPTICAL ELEMENTS, SYSTEMS OR APPARATUS
- G02B15/00—Optical objectives with means for varying the magnification
- G02B15/14—Optical objectives with means for varying the magnification by axial movement of one or more lenses or groups of lenses relative to the image plane for continuously varying the equivalent focal length of the objective
- G02B15/145—Optical objectives with means for varying the magnification by axial movement of one or more lenses or groups of lenses relative to the image plane for continuously varying the equivalent focal length of the objective having five groups only
- G02B15/1451—Optical objectives with means for varying the magnification by axial movement of one or more lenses or groups of lenses relative to the image plane for continuously varying the equivalent focal length of the objective having five groups only the first group being positive
- G02B15/145113—Optical objectives with means for varying the magnification by axial movement of one or more lenses or groups of lenses relative to the image plane for continuously varying the equivalent focal length of the objective having five groups only the first group being positive arranged +-++-
-
- G—PHYSICS
- G02—OPTICS
- G02B—OPTICAL ELEMENTS, SYSTEMS OR APPARATUS
- G02B15/00—Optical objectives with means for varying the magnification
- G02B15/14—Optical objectives with means for varying the magnification by axial movement of one or more lenses or groups of lenses relative to the image plane for continuously varying the equivalent focal length of the objective
- G02B15/145—Optical objectives with means for varying the magnification by axial movement of one or more lenses or groups of lenses relative to the image plane for continuously varying the equivalent focal length of the objective having five groups only
- G02B15/1451—Optical objectives with means for varying the magnification by axial movement of one or more lenses or groups of lenses relative to the image plane for continuously varying the equivalent focal length of the objective having five groups only the first group being positive
- G02B15/145129—Optical objectives with means for varying the magnification by axial movement of one or more lenses or groups of lenses relative to the image plane for continuously varying the equivalent focal length of the objective having five groups only the first group being positive arranged +-+++
Landscapes
- Physics & Mathematics (AREA)
- General Physics & Mathematics (AREA)
- Optics & Photonics (AREA)
- Nonlinear Science (AREA)
- Lenses (AREA)
Abstract
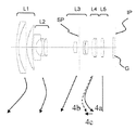
【解決手段】 物体側より像側へ順に、正の屈折力の第1レンズ群、負の屈折力の第2レンズ群、正の屈折力の第3レンズ群、正の屈折力の第4レンズ群を有し、
ズーミングに際して、各レンズ群が移動するズームレンズであって、
該第1レンズ群および第3レンズ群は広角端に比べ望遠端において物体側に位置するように移動し、
該第4レンズ群は物体側へ凸状の軌跡を描くように移動し、
望遠端における該第1レンズ群と第2レンズ群との間隔DT12、望遠端における該第2レンズ群と第3レンズ群との間隔DT23、該第1、第2、第3レンズ群の焦点距離を順にf1、f2、f3、広角端における全系の焦点距離fwを各々適切に設定すること。
【選択図】 図1
Description
ズーミングに際して、各レンズ群が移動するズームレンズであって、
該第1レンズ群および第3レンズ群は広角端に比べ望遠端において物体側に位置するように移動し、
該第4レンズ群は物体側へ凸状の軌跡を描くように移動し、
望遠端における該第1レンズ群と第2レンズ群との間隔をDT12、望遠端における該第2レンズ群と第3レンズ群との間隔をDT23、該第1、第2、第3レンズ群の焦点距離を順にf1、f2、f3、広角端における全系の焦点距離をfwとするとき
0.00<DT23/DT12<0.06
6.5<f1/fw<30.0
−0.75<f2/f3<−0.10
なる条件式を満足することを特徴としている。
なお、本実施形態では第3レンズ群L3を光軸と垂直方向に移動させて防振を行っているが、第3レンズ群L3を光軸に垂直な方向の成分を持つようにさえ移動させれば、画像のぶれを補正することができる。
0.00<DT23/DT12<0.06 ・・・(1)
6.5<f1/fw<30.0 ・・・(2)
−0.75<f2/f3<−0.10 ・・・(3)
なる条件式を満足している。
6.7<f1/fw<20.0 ・・・(2a)
−0.7<f2/f3<−0.2 ・・・(3a)
各実施例によれば以上の如く構成することにより、高ズーム比でズーム全域にわたり高い光学性能を有した小型のズームレンズを得ることができる。
−2.5<f2/fw<−1.0 ・・・(4)
0.00<DT23/DT34<0.08 ・・・(5)
0.1<f3/f4<0.8 ・・・(6)
−0.5<f2/f4<−0.2 ・・・(7)
0.2<DL3/DG3<0.5 ・・・(8)
0.5<β4t/β4w<2.0 ・・・(9)
2.0<β2t/β2w<6.0 ・・・(10)
なる条件式のうち1以上を満足するのが良い。
0.001<DT23/DT34<0.070・・・(5a)
0.15<f3/f4<0.70 ・・・(6a)
−0.45<f2/f4<−0.2 ・・・(7a)
0.22<DL3/DG3<0.44 ・・・(8a)
0.7<β4t/β4w<1.8 ・・・(9a)
2.2<β2t/β2w<5.8 ・・・(10a)
各実施例において、更に好ましくは各実施例の第1レンズ群は物体側から像側へ順に負、正、正レンズの3枚のレンズから構成するのが良い。
さらに好ましくは第4レンズ群L4は正レンズまたは正レンズと負レンズの貼りあわせた接合レンズからなる構成にするのが良い。
x=(h2/R)/[1+[1−(1+k)(h/R)2]1/2]+A4h4+A6h6
+A8h8+A10h10
で表示される。但しRは曲率半径である。また例えば「E−Z」の表示は「10−Z」を意味する。
面データ
面番号 r d nd νd
1 48.562 1.20 1.84666 23.9
2 24.861 4.20 1.48749 70.2
3 -322.030 0.20
4 22.336 2.80 1.77250 49.6
5 70.138 (可変)
6* 220.348 1.10 1.85960 40.4
7* 5.055 3.60
8 -11.343 0.65 1.58313 59.4
9 259.998 0.20
10 18.720 1.60 1.92286 18.9
11 -103.908 (可変)
12* 8.606 2.00 1.68540 52.3
13 -88.984 1.30
14(絞り) ∞ 1.91
15 20.814 0.70 1.92286 18.9
16 7.381 0.50
17 17.325 1.60 1.51742 52.4
18 -17.325 (可変)
19* 16.501 2.10 1.68540 52.3
20 -34.252 0.65 1.92286 18.9
21 -101.656 (可変)
像面 ∞
非球面データ
第6面
K =-4.36817e+003 A 4= 7.84461e-005 A 6=-1.11803e-006 A 8= 4.37742e-009
第7面
K =-7.53573e-001 A 4= 3.38148e-004 A 6= 1.09789e-005 A 8= 5.57043e-008
第12面
K = 3.10477e+000 A 4=-8.34539e-004 A 6=-3.11372e-005 A 8= 1.83787e-006
A10=-2.66664e-007
第19面
K = 5.97792e+000 A 4=-1.62077e-004 A 6=-2.19872e-008 A 8=-1.24320e-007
各種データ
ズーム比 10.31
焦点距離 5.11 19.63 52.65 41.09 7.52
Fナンバー 3.39 4.60 5.84 5.15 3.87
画角 37.18 11.17 4.21 5.39 27.28
像高 3.88 3.88 3.88 3.88 3.88
レンズ全長 52.30 60.93 72.25 70.14 50.88
BF 8.17 13.23 4.84 8.90 10.12
d 5 0.70 12.62 20.31 19.25 2.04
d11 14.38 2.43 1.20 1.00 8.52
d18 2.75 6.35 19.59 14.68 3.90
d21 7.01 12.07 3.68 7.74 8.96
d23 0.50 0.50 0.50 0.50 0.50
ズームレンズ群データ
群 始面 焦点距離
1 1 35.24
2 6 -6.72
3 12 13.68
4 19 23.01
面データ
面番号 r d nd νd
1 56.442 1.20 1.84666 23.9
2 30.613 4.50 1.48749 70.2
3 -145.984 0.20
4 24.934 2.80 1.69680 55.5
5 69.079 (可変)
6* 55.305 1.55 1.84862 40.0
7* 5.338 3.40
8 -12.484 0.60 1.77250 49.6
9 54.683 0.20
10 16.904 1.50 1.92286 18.9
11 -95.759 (可変)
12* 9.832 1.80 1.76753 49.3
13 -125.855 1.00
14(絞り) ∞ 1.50
15 16.189 0.70 1.94595 18.0
16 8.072 0.58
17 48.328 1.60 1.48749 70.2
18 -13.136 (可変)
19* 15.762 2.50 1.58313 59.4
20 -23.313 0.60 1.84666 23.9
21 -76.868 (可変)
像面 ∞
非球面データ
第6面
K = 0.00000e+000 A 8=-2.71167e-008 A10= 2.91406e-010
第7面
K =-1.29019e+000 A 4= 9.02395e-004 A 6= 1.36547e-005 A 8=-1.79305e-008
第12面
K =-1.65091e+000 A 4= 1.15345e-005 A 6= 4.90350e-006 A 8=-5.77855e-007
A10= 2.46059e-008
第19面
K =-8.33205e+000 A 4= 2.53126e-004 A 6=-1.28096e-006
各種データ
ズーム比 11.43
焦点距離 5.12 20.92 58.56 46.77 8.98
Fナンバー 3.50 4.56 5.51 5.14 3.93
画角 35.69 10.49 3.79 4.74 23.35
像高 3.68 3.88 3.88 3.88 3.88
レンズ全長 56.59 66.32 77.41 75.50 57.95
BF 6.34 12.79 7.75 10.30 9.24
d 5 0.75 15.61 23.99 22.79 6.22
d11 16.78 3.93 0.67 1.21 9.63
d18 6.47 7.75 18.76 14.97 6.62
d21 5.18 11.64 6.59 9.14 8.08
d23 0.50 0.50 0.50 0.50 0.50
ズームレンズ群データ
群 始面 焦点距離
1 1 40.49
2 6 -6.65
3 12 13.30
4 19 27.30
面データ
面番号 r d nd νd
1 46.100 1.20 1.84666 23.9
2 24.294 4.10 1.48749 70.2
3 -533.604 0.20
4 23.154 2.80 1.77250 49.6
5 78.257 (可変)
6* 137.194 1.10 1.85960 40.4
7* 4.989 3.50
8 -11.597 0.65 1.60311 60.6
9 113.625 0.20
10 17.794 1.60 1.92286 18.9
11 -128.482 (可変)
12(絞り) ∞ 0.50
13* 8.505 2.00 1.68540 52.3
14 -88.984 3.13
15 18.584 0.70 1.92286 18.9
16 7.186 0.50
17 16.972 1.50 1.51742 52.4
18 -21.703 (可変)
19* 16.149 2.40 1.68540 52.3
20 -25.089 0.60 1.92286 18.9
21 -54.039 (可変)
像面 ∞
非球面データ
第6面
K = 1.44609e+001 A 4= 3.70710e-005 A 6=-1.29006e-006 A 8= 9.45173e-009
第7面
K =-6.46572e-001 A 4= 2.80717e-004 A 6= 7.91116e-006 A 8=-2.52287e-008
第13面
K = 3.41865e+000 A 4=-9.21812e-004 A 6=-3.48871e-005 A 8= 1.25417e-006
A10=-2.66664e-007
第19面
K = 4.70183e+000 A 4=-1.49494e-004 A 6= 1.35226e-007 A 8=-8.47311e-008
各種データ
ズーム比 10.30
焦点距離 5.11 16.20 52.65 37.05 7.45
Fナンバー 3.39 4.16 5.35 4.65 3.74
画角 37.17 13.45 4.21 5.97 27.49
像高 3.88 3.88 3.88 3.88 3.88
レンズ全長 52.42 60.03 73.59 70.77 50.71
BF 7.78 12.76 6.67 10.40 10.08
d 5 0.70 10.97 20.82 19.01 1.68
d11 13.60 2.86 0.50 0.76 7.66
d18 3.65 6.76 18.92 13.92 4.61
d21 6.49 11.47 5.38 9.10 8.79
d23 0.50 0.50 0.50 0.50 0.50
ズームレンズ群データ
群 始面 焦点距離
1 1 35.49
2 6 -6.53
3 12 13.75
4 19 20.24
面データ
面番号 r d nd νd
1 47.493 1.20 1.84666 23.9
2 24.370 4.20 1.48749 70.2
3 -261.849 0.20
4 22.346 2.80 1.77250 49.6
5 72.489 (可変)
6* 179.521 1.20 1.85960 40.4
7* 5.066 3.60
8 -10.829 0.65 1.58313 59.4
9 102.210 0.20
10 18.849 1.60 1.92286 18.9
11 -88.665 (可変)
12* 8.613 2.00 1.68540 52.3
13 -88.984 1.30
14(絞り) ∞ 1.90
15 19.090 0.70 1.92286 18.9
16 7.413 0.50
17 20.593 1.60 1.51742 52.4
18 -20.593 (可変)
19* 16.542 2.10 1.68540 52.3
20 -26.247 0.65 1.92286 18.9
21 -66.702 (可変)
22 -124.575 1.30 1.51633 64.1
23 -54.482 (可変)
像面 ∞
非球面データ
第6面
K =-2.60799e+003 A 4= 8.89173e-005 A 6=-1.21653e-006 A 8= 4.09157e-009
第7面
K =-6.60842e-001 A 4= 2.98790e-004 A 6= 1.11252e-005 A 8= 1.10444e-007
第12面
K = 3.13668e+000 A 4=-8.35642e-004 A 6=-3.08920e-005 A 8= 1.76517e-006
A10=-2.66664e-007
第19面
K = 5.36390e+000 A 4=-1.54107e-004 A 6= 6.45448e-008 A 8=-9.79706e-008
各種データ
ズーム比 10.31
焦点距離 5.11 19.80 52.65 41.71 7.44
Fナンバー 3.39 4.66 5.14 4.83 3.89
画角 37.20 11.07 4.21 5.31 27.51
像高 3.88 3.88 3.88 3.88 3.88
レンズ全長 52.28 61.29 71.68 69.83 51.07
BF 5.71 5.71 5.71 5.71 5.71
d 5 0.70 12.17 20.41 19.15 1.78
d11 13.83 2.31 0.51 0.50 8.32
d18 1.81 4.82 15.79 11.83 2.82
d21 2.53 8.57 1.55 4.94 4.73
d23 4.55 4.55 4.55 4.55 4.55
d25 0.50 0.50 0.50 0.50 0.50
ズームレンズ群データ
群 始面 焦点距離
1 1 34.33
2 6 -6.47
3 12 14.13
4 19 21.82
5 22 186.36
面データ
面番号 r d nd νd
1 35.420 1.20 1.80518 25.4
2 23.694 4.60 1.48749 70.2
3 101.691 0.20
4 27.989 3.00 1.69680 55.5
5 70.601 (可変)
6* 424.632 1.10 1.85960 40.4
7* 5.051 4.18
8 -11.688 0.80 1.69680 55.5
9 -34.798 0.20
10 27.287 1.80 1.92286 18.9
11 -52.859 (可変)
12(絞り) ∞ -0.20
13* 8.560 2.50 1.68540 52.3
14 -45.840 2.77
15 24.534 0.76 1.92286 18.9
16 6.941 0.50
17 13.835 1.70 1.69680 55.5
18 -23.089 (可変)
19* 18.124 2.20 1.69350 53.2
20 -160.163 (可変)
像面 ∞
非球面データ
第6面
K =-4.49652e+004 A 4= 1.06321e-004 A 6=-1.55003e-006 A 8= 7.91875e-009
第7面
K =-7.34115e-001 A 4= 1.12003e-004 A 6= 1.23574e-005 A 8=-1.69913e-007
第13面
K = 2.96284e+000 A 4=-8.34192e-004 A 6=-2.80046e-005 A 8= 1.68691e-006
A10=-2.66664e-007
第19面
K = 9.10560e+000 A 4=-2.73974e-004 A 6= 4.44006e-006 A 8=-2.70039e-007
各種データ
ズーム比 8.01
焦点距離 4.38 7.62 35.10 18.33 5.86
Fナンバー 3.40 3.90 5.85 5.18 3.55
画角 41.50 26.96 6.30 11.94 33.46
像高 3.88 3.88 3.88 3.88 3.88
レンズ全長 53.81 53.20 74.81 67.30 50.90
BF 4.65 6.04 2.26 3.38 6.22
d 5 0.80 5.31 25.65 17.75 2.56
d11 16.01 7.52 0.98 3.67 9.99
d18 5.05 7.03 18.62 15.19 4.82
d20 3.49 4.88 1.10 2.22 5.06
d22 0.50 0.50 0.50 0.50 0.50
ズームレンズ群データ
群 始面 焦点距離
1 1 50.53
2 6 -7.47
3 12 12.08
4 19 23.60
面データ
面番号 r d nd νd
1 35.154 1.20 1.80518 25.4
2 23.910 4.60 1.48749 70.2
3 104.921 0.20
4 28.022 3.00 1.69680 55.5
5 66.714 (可変)
6* 141.854 1.10 1.85960 40.4
7* 5.066 4.36
8 -11.688 0.80 1.69680 55.5
9 -36.194 0.20
10 28.062 1.80 1.92286 18.9
11 -55.338 (可変)
12(絞り) ∞ -0.20
13* 8.903 2.50 1.68540 52.3
14 -41.123 3.02
15 23.473 0.76 1.92286 18.9
16 6.940 0.50
17 12.648 1.70 1.69680 55.5
18 -32.555 (可変)
19* 16.307 2.20 1.68540 52.3
20 -44.972 (可変)
21 -91.464 0.60 1.69680 55.5
22 92.915 (可変)
像面 ∞
非球面データ
第6面
K =-1.46574e+003 A 4= 8.10927e-005 A 6=-1.03070e-006 A 8= 4.68000e-009
第7面
K =-7.21778e-001 A 4= 9.68862e-005 A 6= 9.30949e-006 A 8=-7.11366e-008
第13面
K = 2.92555e+000 A 4=-7.37954e-004 A 6=-2.56766e-005 A 8= 2.18221e-006 A10=-2.66664e-007
第19面
K = 5.79008e+000 A 4=-2.56772e-004 A 6= 4.16766e-006 A 8=-1.99073e-007
各種データ
ズーム比 8.04
焦点距離 4.37 7.69 35.10 18.50 5.95
Fナンバー 3.40 3.91 5.69 5.14 3.60
画角 41.58 26.73 6.30 11.83 33.06
像高 3.88 3.88 3.88 3.88 3.88
レンズ全長 55.70 54.78 76.69 68.92 52.62
BF 2.71 2.71 2.71 2.71 2.71
d 5 0.80 5.19 25.68 17.73 2.39
d11 17.08 7.98 0.97 3.86 10.58
d18 5.66 8.26 18.35 15.41 6.37
d20 1.10 2.29 0.64 0.85 2.23
d22 1.55 1.55 1.55 1.55 1.55
d24 0.50 0.50 0.50 0.50 0.50
ズームレンズ群データ
群 始面 焦点距離
1 1 50.84
2 6 -7.47
3 12 12.37
4 19 17.72
5 21 -66.06
L2 第2レンズ群
L3 第3レンズ群
L4 第4レンズ群
d d線
g g線
ΔM メリディオナル像面
ΔS サジタル像面
SP 絞り
G CCDのフォースプレートやローパスフィルター等のガラスブロック
ω 半画角
Fno Fナンバー
Claims (15)
- 物体側より像側へ順に、正の屈折力の第1レンズ群、負の屈折力の第2レンズ群、正の屈折力の第3レンズ群、正の屈折力の第4レンズ群を有し、
ズーミングに際して、各レンズ群が移動するズームレンズであって、
該第1レンズ群および第3レンズ群は広角端に比べ望遠端において物体側に位置するように移動し、
該第4レンズ群は物体側へ凸状の軌跡を描くように移動し、
望遠端における該第1レンズ群と第2レンズ群との間隔をDT12、望遠端における該第2レンズ群と第3レンズ群との間隔をDT23、該第1、第2、第3レンズ群の焦点距離を順にf1、f2、f3、広角端における全系の焦点距離をfwとするとき
0.00<DT23/DT12<0.06
6.5<f1/fw<30.0
−0.75<f2/f3<−0.10
なる条件式を満足することを特徴とするズームレンズ。 - 前記第2レンズ群の焦点距離f2は
−2.5<f2/fw<−1.0
なる条件式を満足することを特徴とする請求項1に記載のズームレンズ。 - 望遠端における前記第3レンズ群と第4レンズ群との間隔をDT34とするとき
0.00<DT23/DT34<0.08
なる条件を満足することを特徴とする請求項1または2に記載のズームレンズ。 - 前記第4レンズ群の焦点距離をf4とするとき、
0.1<f3/f4<0.8
なる条件式を満足することを特徴とする請求項1乃至3のいずれか1項に記載のズームレンズ。 - 前記第4レンズ群の焦点距離をf4とするとき
−0.5<f2/f4<−0.2
なる条件式を満足することを特徴とする請求項1乃至4のいずれか1項に記載のズームレンズ。 - 前記第3レンズ群中のレンズ空気間隔のうち最大となるレンズ空気間隔をDL3、該第3レンズ群全体の厚みをDG3とするとき、
0.2<DL3/DG3<0.5
なる条件式を満足することを特徴とする請求項1乃至5のいずれか1項に記載のズームレンズ。 - 広角端と望遠端における前記第4レンズ群の横倍率をそれぞれβ4w、β4tとするとき、
0.5<β4t/β4w<2.0
なる条件式を満足することを特徴とする請求項1乃至6のいずれか1項に記載のズームレンズ。 - 広角端と望遠端における前記第2レンズ群の横倍率をそれぞれβ2w、β2tとするとき、
2.0<β2t/β2w<6.0
なる条件式を満足することを特徴とする請求項1乃至7のいずれか1項に記載のズームレンズ。 - 前記第1レンズ群は物体側から像側へ順に、負レンズ、正レンズ、正レンズからなることを特徴とする請求項1乃至8のいずれか1項に記載のズームレンズ。
- 前記第3レンズ群は物体側から像側へ順に、正レンズ、負レンズを含むことを特徴とする請求項1乃至9のいずれか1項に記載のズームレンズ。
- 前記第3レンズ群は2枚の正レンズと1枚の負レンズを含むことを特徴とする請求項1乃至10のいずれか1項に記載のズームレンズ。
- 前記第4レンズ群は正レンズまたは正レンズと負レンズを貼りあわせた接合レンズからなることを特徴とする請求項1乃至11のいずれか1項に記載のズームレンズ。
- 前記第3レンズ群を、光軸方向と垂直方向の成分を持つように移動させて、前記ズームレンズが振動したときの撮影画像のぶれを補正する事を特徴とする、請求項1乃至12のいずれか1項に記載のズームレンズ。
- 固体撮像素子に像を形成することを特徴とする、請求項1乃至13のいずれか1項に記載のズームレンズ。
- 請求項1乃至14のいずれか1項に記載のズームレンズと、該ズームレンズによって形成される像を受光する固体撮像素子とを有していることを特徴とする撮像装置。
Priority Applications (3)
| Application Number | Priority Date | Filing Date | Title |
|---|---|---|---|
| JP2008205516A JP5344549B2 (ja) | 2008-08-08 | 2008-08-08 | ズームレンズ及びそれを有する撮像装置 |
| US12/508,427 US7782543B2 (en) | 2008-08-08 | 2009-07-23 | Zoom lens and image pickup apparatus having the same |
| CN2009101603274A CN101644825B (zh) | 2008-08-08 | 2009-08-07 | 变焦透镜和具有变焦透镜的图像拾取装置 |
Applications Claiming Priority (1)
| Application Number | Priority Date | Filing Date | Title |
|---|---|---|---|
| JP2008205516A JP5344549B2 (ja) | 2008-08-08 | 2008-08-08 | ズームレンズ及びそれを有する撮像装置 |
Publications (3)
| Publication Number | Publication Date |
|---|---|
| JP2010039429A true JP2010039429A (ja) | 2010-02-18 |
| JP2010039429A5 JP2010039429A5 (ja) | 2011-09-22 |
| JP5344549B2 JP5344549B2 (ja) | 2013-11-20 |
Family
ID=41652691
Family Applications (1)
| Application Number | Title | Priority Date | Filing Date |
|---|---|---|---|
| JP2008205516A Expired - Fee Related JP5344549B2 (ja) | 2008-08-08 | 2008-08-08 | ズームレンズ及びそれを有する撮像装置 |
Country Status (3)
| Country | Link |
|---|---|
| US (1) | US7782543B2 (ja) |
| JP (1) | JP5344549B2 (ja) |
| CN (1) | CN101644825B (ja) |
Cited By (8)
| Publication number | Priority date | Publication date | Assignee | Title |
|---|---|---|---|---|
| JP2010160329A (ja) * | 2009-01-08 | 2010-07-22 | Panasonic Corp | ズームレンズ系、撮像装置及びカメラ |
| JP2010160334A (ja) * | 2009-01-08 | 2010-07-22 | Panasonic Corp | ズームレンズ系、撮像装置及びカメラ |
| JP2011221224A (ja) * | 2010-04-08 | 2011-11-04 | Canon Inc | 撮像装置 |
| JP2011232502A (ja) * | 2010-04-27 | 2011-11-17 | Nikon Corp | ズームレンズ、光学機器及びズームレンズの製造方法 |
| JP2013152372A (ja) * | 2012-01-25 | 2013-08-08 | Nikon Corp | ズームレンズ、光学機器及びズームレンズの製造方法 |
| WO2014017025A1 (ja) * | 2012-07-26 | 2014-01-30 | 株式会社ニコン | ズームレンズ、光学機器及びズームレンズの製造方法 |
| JP2014089288A (ja) * | 2012-10-30 | 2014-05-15 | Nikon Corp | 変倍光学系、光学装置、変倍光学系の製造方法 |
| US9329371B2 (en) | 2010-04-27 | 2016-05-03 | Nikon Corporation | Zoom lens, optical apparatus and method of manufacturing zoom lens |
Families Citing this family (11)
| Publication number | Priority date | Publication date | Assignee | Title |
|---|---|---|---|---|
| JP5618752B2 (ja) * | 2010-10-08 | 2014-11-05 | キヤノン株式会社 | ズームレンズ及びそれを有する撮像装置 |
| JP5730138B2 (ja) * | 2011-06-10 | 2015-06-03 | キヤノン株式会社 | ズームレンズ及びそれを有する撮像装置 |
| US8995064B2 (en) * | 2011-08-22 | 2015-03-31 | Nikon Corporation | Zoom lens, imaging apparatus, and method for manufacturing zoom lens |
| WO2013114515A1 (ja) * | 2012-02-02 | 2013-08-08 | パナソニック株式会社 | ズームレンズ系、撮像装置及びカメラ |
| JP2013250339A (ja) * | 2012-05-30 | 2013-12-12 | Canon Inc | ズームレンズ及びそれを有する撮像装置 |
| CN106104352B (zh) * | 2014-03-31 | 2018-11-09 | 富士胶片株式会社 | 变焦透镜装置及其控制方法 |
| JP6173279B2 (ja) * | 2014-08-28 | 2017-08-02 | キヤノン株式会社 | ズームレンズ及びそれを有する撮像装置 |
| WO2021068098A1 (en) * | 2019-10-08 | 2021-04-15 | Huawei Technologies Co., Ltd. | Optical apparatus, imaging apparatus and mobile equipment |
| CN113534422B (zh) * | 2021-07-01 | 2024-08-23 | 舜宇光学(中山)有限公司 | 变焦镜头 |
| US20240080635A1 (en) * | 2022-09-01 | 2024-03-07 | Starkey Laboratories, Inc. | Swappable rechargeable battery cartridge for hearing aid and charger system |
| CN116027530B (zh) * | 2023-03-29 | 2023-06-30 | 深圳市东正光学技术股份有限公司 | 光学成像系统及光学镜头 |
Citations (10)
| Publication number | Priority date | Publication date | Assignee | Title |
|---|---|---|---|---|
| JPH07294814A (ja) * | 1994-04-26 | 1995-11-10 | Canon Inc | フレアーカット絞りを有するズームレンズ |
| JP2002098893A (ja) * | 2000-09-26 | 2002-04-05 | Minolta Co Ltd | 撮像レンズ装置 |
| JP2004212512A (ja) * | 2002-12-27 | 2004-07-29 | Canon Inc | ズームレンズ及びそれを有する撮像装置 |
| JP2006133631A (ja) * | 2004-11-09 | 2006-05-25 | Olympus Corp | ズームレンズ |
| JP2006285019A (ja) * | 2005-04-01 | 2006-10-19 | Canon Inc | ズームレンズ及びそれを有する撮像装置 |
| JP2007122019A (ja) * | 2005-09-28 | 2007-05-17 | Nikon Corp | 高変倍ズームレンズ |
| JP2007264173A (ja) * | 2006-03-28 | 2007-10-11 | Konica Minolta Opto Inc | 撮像光学系および撮像装置 |
| JP2008032923A (ja) * | 2006-07-27 | 2008-02-14 | Nikon Corp | 高変倍ズームレンズと、これを有する光学機器 |
| JP2009128606A (ja) * | 2007-11-22 | 2009-06-11 | Nikon Corp | ズームレンズ、これを搭載する光学機器および結像方法 |
| JP2010014844A (ja) * | 2008-07-02 | 2010-01-21 | Sony Corp | ズームレンズおよび撮像装置 |
Family Cites Families (17)
| Publication number | Priority date | Publication date | Assignee | Title |
|---|---|---|---|---|
| US5963378A (en) | 1994-03-30 | 1999-10-05 | Canon Kabushiki Kaisha | Zoom lens |
| US6166864A (en) | 1998-03-10 | 2000-12-26 | Canon Kabushiki Kaisha | Zoom lens and optical apparatus using the same |
| JP4366063B2 (ja) * | 2002-09-19 | 2009-11-18 | キヤノン株式会社 | ズームレンズ及びそれを有するカメラ |
| JP4636812B2 (ja) * | 2004-04-28 | 2011-02-23 | キヤノン株式会社 | ズームレンズ |
| JP2006133632A (ja) | 2004-11-09 | 2006-05-25 | Olympus Corp | ズームレンズ |
| JP3960334B2 (ja) | 2004-12-20 | 2007-08-15 | コニカミノルタフォトイメージング株式会社 | 撮影光学系および撮像装置 |
| JP4902191B2 (ja) * | 2005-12-20 | 2012-03-21 | キヤノン株式会社 | ズームレンズ及びそれを有する撮像装置 |
| JP4829629B2 (ja) | 2006-02-07 | 2011-12-07 | キヤノン株式会社 | ズームレンズ及びそれを有する撮像装置 |
| JP4881035B2 (ja) * | 2006-02-27 | 2012-02-22 | キヤノン株式会社 | ズームレンズ及びそれを有する撮像装置 |
| JP4829668B2 (ja) * | 2006-04-27 | 2011-12-07 | キヤノン株式会社 | ズームレンズ及びそれを有する撮像装置 |
| JP4898410B2 (ja) * | 2006-12-14 | 2012-03-14 | キヤノン株式会社 | ズームレンズ及びそれを有する撮像装置 |
| JP4976867B2 (ja) * | 2007-01-30 | 2012-07-18 | キヤノン株式会社 | ズームレンズ及びそれを有する撮像装置 |
| JP5046747B2 (ja) * | 2007-05-24 | 2012-10-10 | キヤノン株式会社 | ズームレンズ及びそれを有する撮像装置 |
| JP5173260B2 (ja) * | 2007-05-28 | 2013-04-03 | キヤノン株式会社 | ズームレンズおよびそれを有する撮像装置 |
| JP5046766B2 (ja) * | 2007-07-17 | 2012-10-10 | キヤノン株式会社 | ズームレンズ及びそれを有する撮像装置 |
| JP5053750B2 (ja) * | 2007-08-06 | 2012-10-17 | キヤノン株式会社 | ズームレンズ及びそれを有する撮像装置 |
| JP5111007B2 (ja) * | 2007-08-06 | 2012-12-26 | キヤノン株式会社 | ズームレンズ及びそれを有する撮像装置 |
-
2008
- 2008-08-08 JP JP2008205516A patent/JP5344549B2/ja not_active Expired - Fee Related
-
2009
- 2009-07-23 US US12/508,427 patent/US7782543B2/en not_active Expired - Fee Related
- 2009-08-07 CN CN2009101603274A patent/CN101644825B/zh not_active Expired - Fee Related
Patent Citations (10)
| Publication number | Priority date | Publication date | Assignee | Title |
|---|---|---|---|---|
| JPH07294814A (ja) * | 1994-04-26 | 1995-11-10 | Canon Inc | フレアーカット絞りを有するズームレンズ |
| JP2002098893A (ja) * | 2000-09-26 | 2002-04-05 | Minolta Co Ltd | 撮像レンズ装置 |
| JP2004212512A (ja) * | 2002-12-27 | 2004-07-29 | Canon Inc | ズームレンズ及びそれを有する撮像装置 |
| JP2006133631A (ja) * | 2004-11-09 | 2006-05-25 | Olympus Corp | ズームレンズ |
| JP2006285019A (ja) * | 2005-04-01 | 2006-10-19 | Canon Inc | ズームレンズ及びそれを有する撮像装置 |
| JP2007122019A (ja) * | 2005-09-28 | 2007-05-17 | Nikon Corp | 高変倍ズームレンズ |
| JP2007264173A (ja) * | 2006-03-28 | 2007-10-11 | Konica Minolta Opto Inc | 撮像光学系および撮像装置 |
| JP2008032923A (ja) * | 2006-07-27 | 2008-02-14 | Nikon Corp | 高変倍ズームレンズと、これを有する光学機器 |
| JP2009128606A (ja) * | 2007-11-22 | 2009-06-11 | Nikon Corp | ズームレンズ、これを搭載する光学機器および結像方法 |
| JP2010014844A (ja) * | 2008-07-02 | 2010-01-21 | Sony Corp | ズームレンズおよび撮像装置 |
Cited By (11)
| Publication number | Priority date | Publication date | Assignee | Title |
|---|---|---|---|---|
| JP2010160329A (ja) * | 2009-01-08 | 2010-07-22 | Panasonic Corp | ズームレンズ系、撮像装置及びカメラ |
| JP2010160334A (ja) * | 2009-01-08 | 2010-07-22 | Panasonic Corp | ズームレンズ系、撮像装置及びカメラ |
| JP2011221224A (ja) * | 2010-04-08 | 2011-11-04 | Canon Inc | 撮像装置 |
| JP2011232502A (ja) * | 2010-04-27 | 2011-11-17 | Nikon Corp | ズームレンズ、光学機器及びズームレンズの製造方法 |
| US9329371B2 (en) | 2010-04-27 | 2016-05-03 | Nikon Corporation | Zoom lens, optical apparatus and method of manufacturing zoom lens |
| JP2013152372A (ja) * | 2012-01-25 | 2013-08-08 | Nikon Corp | ズームレンズ、光学機器及びズームレンズの製造方法 |
| WO2014017025A1 (ja) * | 2012-07-26 | 2014-01-30 | 株式会社ニコン | ズームレンズ、光学機器及びズームレンズの製造方法 |
| JP2014026074A (ja) * | 2012-07-26 | 2014-02-06 | Nikon Corp | ズームレンズ、光学機器及びズームレンズの製造方法 |
| CN104508532A (zh) * | 2012-07-26 | 2015-04-08 | 株式会社尼康 | 变焦镜头、光学设备和用于制造变焦镜头的方法 |
| US9563043B2 (en) | 2012-07-26 | 2017-02-07 | Nikon Corporation | Zoom lens, optical apparatus and method for manufacturing the zoom lens |
| JP2014089288A (ja) * | 2012-10-30 | 2014-05-15 | Nikon Corp | 変倍光学系、光学装置、変倍光学系の製造方法 |
Also Published As
| Publication number | Publication date |
|---|---|
| US20100033839A1 (en) | 2010-02-11 |
| CN101644825B (zh) | 2011-11-16 |
| US7782543B2 (en) | 2010-08-24 |
| JP5344549B2 (ja) | 2013-11-20 |
| CN101644825A (zh) | 2010-02-10 |
Similar Documents
| Publication | Publication Date | Title |
|---|---|---|
| JP5344549B2 (ja) | ズームレンズ及びそれを有する撮像装置 | |
| JP5618752B2 (ja) | ズームレンズ及びそれを有する撮像装置 | |
| JP5495655B2 (ja) | ズームレンズ及びそれを有する撮像装置 | |
| JP5178322B2 (ja) | ズームレンズ及びそれを有する撮像装置 | |
| JP5111059B2 (ja) | ズームレンズ及びそれを有する撮像装置 | |
| JP5328484B2 (ja) | ズームレンズ及びそれを有する撮像装置 | |
| JP5046747B2 (ja) | ズームレンズ及びそれを有する撮像装置 | |
| JP4976867B2 (ja) | ズームレンズ及びそれを有する撮像装置 | |
| US8649105B2 (en) | Zoom lens system and image pickup apparatus including the same | |
| JP5414205B2 (ja) | ズームレンズおよびそれを有する撮像装置 | |
| JP2012083472A5 (ja) | ||
| JP5773796B2 (ja) | ズームレンズ及びそれを有する撮像装置 | |
| JP5274265B2 (ja) | ズームレンズ及びそれを有する撮像装置 | |
| JP5773793B2 (ja) | ズームレンズ及びそれを有する撮像装置 | |
| JP2014021232A (ja) | ズームレンズ及びそれを有する撮像装置 | |
| JP5202076B2 (ja) | ズームレンズ及びそれを有する撮像装置 | |
| JP5599022B2 (ja) | ズームレンズ及びそれを有する撮像装置 | |
| JP2010160243A (ja) | ズームレンズ及びそれを有する撮像装置 | |
| JP2009210691A (ja) | ズームレンズおよびそれを有する撮像装置 | |
| JP2017122793A (ja) | ズームレンズ及びそれを有する撮像装置 | |
| JP5730134B2 (ja) | ズームレンズ及びそれを有する撮像装置 | |
| JP4847091B2 (ja) | ズームレンズ及びそれを有する撮像装置 | |
| JP2007212537A (ja) | ズームレンズ及びそれを有する撮像装置 | |
| JP5464873B2 (ja) | ズームレンズ及びそれを有する撮像装置 | |
| JP5893422B2 (ja) | ズームレンズ及びそれを有する撮像装置 |
Legal Events
| Date | Code | Title | Description |
|---|---|---|---|
| A521 | Request for written amendment filed |
Free format text: JAPANESE INTERMEDIATE CODE: A523 Effective date: 20110802 |
|
| A621 | Written request for application examination |
Free format text: JAPANESE INTERMEDIATE CODE: A621 Effective date: 20110802 |
|
| A977 | Report on retrieval |
Free format text: JAPANESE INTERMEDIATE CODE: A971007 Effective date: 20121108 |
|
| A131 | Notification of reasons for refusal |
Free format text: JAPANESE INTERMEDIATE CODE: A131 Effective date: 20121113 |
|
| TRDD | Decision of grant or rejection written | ||
| A01 | Written decision to grant a patent or to grant a registration (utility model) |
Free format text: JAPANESE INTERMEDIATE CODE: A01 Effective date: 20130716 |
|
| A61 | First payment of annual fees (during grant procedure) |
Free format text: JAPANESE INTERMEDIATE CODE: A61 Effective date: 20130808 |
|
| R151 | Written notification of patent or utility model registration |
Ref document number: 5344549 Country of ref document: JP Free format text: JAPANESE INTERMEDIATE CODE: R151 |
|
| RD03 | Notification of appointment of power of attorney |
Free format text: JAPANESE INTERMEDIATE CODE: R3D03 |
|
| LAPS | Cancellation because of no payment of annual fees |
