JP2010038558A - 光波干渉による距離測定方法及び装置 - Google Patents
光波干渉による距離測定方法及び装置 Download PDFInfo
- Publication number
- JP2010038558A JP2010038558A JP2008198312A JP2008198312A JP2010038558A JP 2010038558 A JP2010038558 A JP 2010038558A JP 2008198312 A JP2008198312 A JP 2008198312A JP 2008198312 A JP2008198312 A JP 2008198312A JP 2010038558 A JP2010038558 A JP 2010038558A
- Authority
- JP
- Japan
- Prior art keywords
- distance
- wavelengths
- laser
- wavelength
- measuring
- Prior art date
- Legal status (The legal status is an assumption and is not a legal conclusion. Google has not performed a legal analysis and makes no representation as to the accuracy of the status listed.)
- Granted
Links
Images
Classifications
-
- G—PHYSICS
- G01—MEASURING; TESTING
- G01B—MEASURING LENGTH, THICKNESS OR SIMILAR LINEAR DIMENSIONS; MEASURING ANGLES; MEASURING AREAS; MEASURING IRREGULARITIES OF SURFACES OR CONTOURS
- G01B9/00—Measuring instruments characterised by the use of optical techniques
- G01B9/02—Interferometers
- G01B9/02001—Interferometers characterised by controlling or generating intrinsic radiation properties
- G01B9/02007—Two or more frequencies or sources used for interferometric measurement
- G01B9/02008—Two or more frequencies or sources used for interferometric measurement by using a frequency comb
-
- G—PHYSICS
- G01—MEASURING; TESTING
- G01B—MEASURING LENGTH, THICKNESS OR SIMILAR LINEAR DIMENSIONS; MEASURING ANGLES; MEASURING AREAS; MEASURING IRREGULARITIES OF SURFACES OR CONTOURS
- G01B9/00—Measuring instruments characterised by the use of optical techniques
- G01B9/02—Interferometers
- G01B9/02001—Interferometers characterised by controlling or generating intrinsic radiation properties
- G01B9/02002—Interferometers characterised by controlling or generating intrinsic radiation properties using two or more frequencies
- G01B9/02005—Interferometers characterised by controlling or generating intrinsic radiation properties using two or more frequencies using discrete frequency stepping or switching
-
- G—PHYSICS
- G01—MEASURING; TESTING
- G01B—MEASURING LENGTH, THICKNESS OR SIMILAR LINEAR DIMENSIONS; MEASURING ANGLES; MEASURING AREAS; MEASURING IRREGULARITIES OF SURFACES OR CONTOURS
- G01B9/00—Measuring instruments characterised by the use of optical techniques
- G01B9/02—Interferometers
- G01B9/02055—Reduction or prevention of errors; Testing; Calibration
- G01B9/02062—Active error reduction, i.e. varying with time
- G01B9/02067—Active error reduction, i.e. varying with time by electronic control systems, i.e. using feedback acting on optics or light
- G01B9/02069—Synchronization of light source or manipulator and detector
-
- G—PHYSICS
- G01—MEASURING; TESTING
- G01B—MEASURING LENGTH, THICKNESS OR SIMILAR LINEAR DIMENSIONS; MEASURING ANGLES; MEASURING AREAS; MEASURING IRREGULARITIES OF SURFACES OR CONTOURS
- G01B2290/00—Aspects of interferometers not specifically covered by any group under G01B9/02
- G01B2290/60—Reference interferometer, i.e. additional interferometer not interacting with object
Landscapes
- Physics & Mathematics (AREA)
- General Physics & Mathematics (AREA)
- Engineering & Computer Science (AREA)
- Automation & Control Theory (AREA)
- Optics & Photonics (AREA)
- Instruments For Measurement Of Length By Optical Means (AREA)
- Length Measuring Devices By Optical Means (AREA)
Abstract
【解決手段】干渉計本体からターゲット110までの幾何学距離Lを、複数の波長λ1、λ2のレーザ光を用いた光波干渉測定により求めた距離測定値D1、D2から、空気の屈折率を補正して高精度に測定する際に、光コム104を用いて複数のレーザ光の波長を測定する。その際、光コムを用いて波長可変レーザ101の発振波長を測定してフィードバック制御をかけることにより、所定の複数の波長のレーザ光を得たり、波長可変レーザを任意の複数波長で発振させて複数の距離測定値を得、各距離測定値を得た時のレーザ光の波長(周波数)を光コムで測定し、幾何学距離の演算に用いたり、複数のレーザ416、417を用い、各レーザから発振されるレーザ光の波長を光コムで測定しながら距離測定値を得ることができる。
【選択図】図2
Description
L=D2−A1(D2−D1)−A2(D3−D1) …(2)
を用いて、前記幾何学距離Lを決定することができる。
L=D2−A1(D2−D1)−A2(D3−D1)
を用いて、前記幾何学距離Lを決定する手段を備えることができる。
(1)レーザ101の波長を設計波長λ1に制御する。
(2)干渉測定し、距離測定値D1を得る。
(3)レーザ101の波長を設計波長λ2に制御する。
(4)干渉測定し、距離測定値D2を得る。
(5)予め設計した波長λ1とλ2の定数Aの値を使った式(1)に代入し、幾何学距離Lを算出する。
(1)レーザ101を任意の波長λ1’で発振させる。
(2)干渉測定し、距離測定値D1を得ると同時に、そのときの正確な発振波長λ1を測定する。
(3)レーザ101を別の波長λ2’に可変し発振させる。
(4)干渉測定し、距離測定値D2を得ると同時に、そのときの正確な発振波長λ2を測定する。
(5)距離測定値D1とD2と正確な波長λ1とλ2の組み合わせによる定数Aを使った式(1)に代入し、幾何学距離Lを算出する。
(1)レーザ101の波長を設計波長λ1に制御する。
(2)干渉測定し、距離測定値D1を得る。
(3)レーザ101の波長を設計波長λ2に制御する。
(4)干渉測定し、距離測定値D2を得る。
(5)レーザ101の波長を設計波長λ3に制御する。
(6)干渉測定し、距離測定値D3を得る。
(7)波長λ1とλ2とλ3の組み合わせに応じた定数Aiの値を使った式(3)で、幾何学距離Lを算出する。
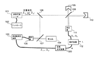
102…コントローラ
103…周波数測定装置
104…光コム
105、111、213…検出器
106、107、108、210…ビームスプリッタ
109…参照鏡
110…ターゲット
112…解析装置
214、215…バンドパスフィルタ
320…定数決定装置
416、417…レーザ
601…波長計
Claims (16)
- 干渉計本体からターゲットまでの幾何学距離を、複数の波長のレーザ光を用いた光波干渉測定により求めた距離測定値から、空気の屈折率を補正して高精度に測定する際に、
光コムを用いて前記複数のレーザ光の波長を測定することを特徴とする光波干渉による距離測定方法。 - 前記光コムを用いて波長可変レーザの発振波長を測定してフィードバック制御をかけることにより、所定の複数の波長のレーザ光を得ることを特徴とする請求項1に記載の光波干渉による距離測定方法。
- 波長可変レーザを任意の複数波長で発振させて複数の距離測定値を得、各距離測定値を得た時のレーザ光の波長(周波数)を光コムで測定し、前記幾何学距離の演算に用いることを特徴とする請求項1に記載の光波干渉による距離測定方法。
- 複数のレーザを用い、各レーザから発振されるレーザ光の波長を光コムで測定しながら前記距離測定値を得ることを特徴とする請求項1に記載の光波干渉による距離測定方法。
- 前記光コムを含む一つの周波数測定系で、前記複数の波長を測定することを特徴とする請求項1乃至4のいずれかに記載の光波干渉による距離測定方法。
- 任意の波長で前記複数の距離測定値を得て、波長の組み合わせにより定められる定数を使い、空気屈折率を補正した前記幾何学距離を求めることを特徴とする請求項3乃至5のいずれかに記載の光波干渉による距離測定方法。
- 3つ以上の前記距離測定値から、2つずつの組み合わせによって複数の前記幾何学距離を算出し、それらの平均値によって前記幾何学距離を決定することを特徴とする請求項1乃至6のいずれかに記載の光波干渉による距離測定方法。
- 波長がそれぞれλ1、λ2、λ3のレーザ光により得られる、干渉計本体からターゲットまでの、空気屈折率の影響を受けた3つの距離測定値D1、D2、D3とレーザ光の波長λ1、λ2、λ3の組み合わせによってきまる定数Aiを使い、次式
L=D2−A1(D2−D1)−A2(D3−D1)
を用いて、前記幾何学距離Lを決定することを特徴とする請求項1乃至6のいずれかに記載の光波干渉による距離測定方法。 - 干渉計本体からターゲットまでの幾何学距離を、複数の波長のレーザ光を用いた光波干渉測定により求めた距離測定値から、空気の屈折率を補正して高精度に測定するための距離測定装置において、
前記複数のレーザ光の波長を測定するための光コムを備えたことを特徴とする光波干渉による距離測定装置。 - 前記光コムを用いて波長可変レーザの発振波長を測定してフィードバック制御をかける手段を備えることにより、所定の複数の波長のレーザ光を得ることを特徴とする請求項9に記載の光波干渉による距離測定装置。
- 波長可変レーザを任意の複数波長で発振させる手段と、複数の距離測定値を得た時のレーザ光の波長(周波数)を光コムで測定し、前記幾何学距離の演算に用いる手段とを備えたことを特徴とする請求項9に記載の光波干渉による距離測定装置。
- 複数のレーザと、各レーザから発振されるレーザ光の波長を光コムで測定しながら前記距離測定値を得る手段とを備えたことを特徴とする請求項9に記載の光波干渉による距離測定装置。
- 前記光コムを用いて、前記複数の波長を測定する一つの周波数測定系を備えたことを特徴とする請求項9乃至12のいずれかに記載の光波干渉による距離測定装置。
- 任意の波長で前記複数の距離測定値を得て、波長の組み合わせにより定められる定数を使い、空気屈折率を補正した前記幾何学距離を求める手段を備えたことを特徴とする請求項11乃至14のいずれかに記載の光波干渉による距離測定装置。
- 3つ以上の前記距離測定値から、2つずつの組み合わせによって複数の前記幾何学距離を算出する手段と、それらの平均値によって前記幾何学距離を決定する手段と、を備えたことを特徴とする請求項9乃至14のいずれかに記載の光波干渉による距離測定装置。
- 波長がそれぞれλ1、λ2、λ3のレーザ光により得られる、干渉計本体からターゲットまでの、空気屈折率の影響を受けた3つの距離測定値D1、D2、D3とレーザ光の波長λ1、λ2、λ3の組み合わせによってきまる定数Aiを使い、次式
L=D2−A1(D2−D1)−A2(D3−D1)
を用いて、前記幾何学距離Lを決定する手段を備えたことを特徴とする請求項9乃至14のいずれかに記載の光波干渉による距離測定装置。
Priority Applications (3)
| Application Number | Priority Date | Filing Date | Title |
|---|---|---|---|
| JP2008198312A JP5511163B2 (ja) | 2008-07-31 | 2008-07-31 | 光波干渉による距離測定方法及び装置 |
| US12/511,406 US8368900B2 (en) | 2008-07-31 | 2009-07-29 | Lightwave interferometric distance measuring method and apparatus using an optical comb |
| EP09166895.4A EP2149779B1 (en) | 2008-07-31 | 2009-07-30 | Lightwave interferometric distance measuring method and apparatus |
Applications Claiming Priority (1)
| Application Number | Priority Date | Filing Date | Title |
|---|---|---|---|
| JP2008198312A JP5511163B2 (ja) | 2008-07-31 | 2008-07-31 | 光波干渉による距離測定方法及び装置 |
Publications (2)
| Publication Number | Publication Date |
|---|---|
| JP2010038558A true JP2010038558A (ja) | 2010-02-18 |
| JP5511163B2 JP5511163B2 (ja) | 2014-06-04 |
Family
ID=41328944
Family Applications (1)
| Application Number | Title | Priority Date | Filing Date |
|---|---|---|---|
| JP2008198312A Expired - Fee Related JP5511163B2 (ja) | 2008-07-31 | 2008-07-31 | 光波干渉による距離測定方法及び装置 |
Country Status (3)
| Country | Link |
|---|---|
| US (1) | US8368900B2 (ja) |
| EP (1) | EP2149779B1 (ja) |
| JP (1) | JP5511163B2 (ja) |
Cited By (4)
| Publication number | Priority date | Publication date | Assignee | Title |
|---|---|---|---|---|
| JP2016138795A (ja) * | 2015-01-27 | 2016-08-04 | 株式会社東京精密 | 干渉計測装置及び干渉計測方法 |
| KR101792632B1 (ko) * | 2016-06-01 | 2017-11-01 | 한국표준과학연구원 | 측정 불가 구간과 방향 모호성이 없는 절대거리 측정을 위한 분광형 간섭계 시스템 |
| JP2018503872A (ja) * | 2014-12-29 | 2018-02-08 | エーエスエムエル ホールディング エヌ.ブイ. | アライメントシステムのフィードバック制御システム |
| KR20220125431A (ko) * | 2021-03-05 | 2022-09-14 | 부산대학교 산학협력단 | 복수개의 광주파수 도약스캔 레이저를 이용한 광간섭 거리측정 시스템 및 방법 |
Families Citing this family (10)
| Publication number | Priority date | Publication date | Assignee | Title |
|---|---|---|---|---|
| CN102679950B (zh) * | 2012-05-18 | 2014-06-18 | 中国航空工业集团公司北京长城计量测试技术研究所 | 一种基于三波长飞秒激光的测距装置及方法 |
| EP2816315B1 (en) * | 2013-06-18 | 2015-09-23 | Hexagon Technology Center GmbH | Interferometric determination of distance change with laser diode, high bandwidth detection and fast signal processing |
| PL223582B1 (pl) | 2013-08-02 | 2016-10-31 | Aic Spółka Akcyjna | Rura opalanego wymiennika ciepła |
| JP6553967B2 (ja) | 2015-07-14 | 2019-07-31 | 株式会社ミツトヨ | 瞬時位相シフト干渉計 |
| CN105445749A (zh) * | 2015-11-13 | 2016-03-30 | 中国人民解放军空军装备研究院雷达与电子对抗研究所 | 一种基于波长分割的多脉冲激光测距系统和方法 |
| CN106370111B (zh) * | 2016-09-23 | 2019-11-26 | 中国航空工业集团公司北京长城计量测试技术研究所 | 一种基于变频测相原理的飞秒激光测长装置及方法 |
| US11598628B1 (en) * | 2017-06-15 | 2023-03-07 | Ball Aerospace & Technologies Corp. | High dynamic range picometer metrology systems and methods |
| DE102018211913B4 (de) | 2018-07-17 | 2022-10-13 | Carl Zeiss Industrielle Messtechnik Gmbh | Vorrichtung und Verfahren zum Erfassen einer Objektoberfläche mittels elektromagnetischer Strahlung |
| JP2021148634A (ja) * | 2020-03-19 | 2021-09-27 | 株式会社ミツトヨ | レーザ干渉装置 |
| CN111609798B (zh) * | 2020-05-12 | 2021-04-16 | 浙江理工大学 | 锁至动态边带的可变合成波长绝对距离测量装置与方法 |
Citations (4)
| Publication number | Priority date | Publication date | Assignee | Title |
|---|---|---|---|---|
| JP2553276B2 (ja) * | 1991-03-27 | 1996-11-13 | エイチイー・ホールディングス・インコーポレーテッド・ディービーエー・ヒューズ・エレクトロニクス | 3波長光学測定装置及び方法 |
| JPH08320206A (ja) * | 1995-03-23 | 1996-12-03 | Nikon Corp | 光波干渉測定装置および光波干渉測定方法 |
| JPH0961109A (ja) * | 1995-08-24 | 1997-03-07 | Nikon Corp | 光波干渉測定装置 |
| JP2007040994A (ja) * | 2005-08-01 | 2007-02-15 | Mitsutoyo Corp | 干渉計測システム |
Family Cites Families (5)
| Publication number | Priority date | Publication date | Assignee | Title |
|---|---|---|---|---|
| US628456A (en) * | 1898-12-03 | 1899-07-11 | Albert Fuller | Injector. |
| JP3423229B2 (ja) | 1998-11-17 | 2003-07-07 | 株式会社ミツトヨ | 光波干渉計及び光波干渉計を用いた測長方法 |
| JP3739987B2 (ja) * | 2000-02-18 | 2006-01-25 | 財団法人神奈川科学技術アカデミー | トモグラフィー装置 |
| US7440112B2 (en) * | 2004-08-18 | 2008-10-21 | National University Corporation | Method and an apparatus for shape measurement, and a frequency comb light generator |
| KR100951618B1 (ko) * | 2008-02-19 | 2010-04-09 | 한국과학기술원 | 광주파수 발생기를 이용한 절대거리 측정방법 및 시스템 |
-
2008
- 2008-07-31 JP JP2008198312A patent/JP5511163B2/ja not_active Expired - Fee Related
-
2009
- 2009-07-29 US US12/511,406 patent/US8368900B2/en not_active Expired - Fee Related
- 2009-07-30 EP EP09166895.4A patent/EP2149779B1/en not_active Not-in-force
Patent Citations (4)
| Publication number | Priority date | Publication date | Assignee | Title |
|---|---|---|---|---|
| JP2553276B2 (ja) * | 1991-03-27 | 1996-11-13 | エイチイー・ホールディングス・インコーポレーテッド・ディービーエー・ヒューズ・エレクトロニクス | 3波長光学測定装置及び方法 |
| JPH08320206A (ja) * | 1995-03-23 | 1996-12-03 | Nikon Corp | 光波干渉測定装置および光波干渉測定方法 |
| JPH0961109A (ja) * | 1995-08-24 | 1997-03-07 | Nikon Corp | 光波干渉測定装置 |
| JP2007040994A (ja) * | 2005-08-01 | 2007-02-15 | Mitsutoyo Corp | 干渉計測システム |
Non-Patent Citations (6)
| Title |
|---|
| JPN6013011339; Jonghan Jin, Young-Jin Kim, Yunseok Kim and Seung-Woo Kim: '"Absolute length calibration of gauge blocks using optical comb of a femtosecond pulse laser"' OPTICS EXPRESS Vol.14, No.13, 20060626, pages 5968-5974 * |
| JPN6013011343; Nicolas Schuler, Yves Salvade, Samuel Leveque, Rene Dandliker, Ronald Holzwarth: '"Frequency-comb-referenced two-wavelength source for absolute distance measurement"' OPTICS LETTERS Vol.31, No.21, 200611, pages 3101-3103 * |
| JPN6013011345; Mikko Merimma, K. Nyholm, M. Vainio, Antti Lassila: '"Traceability of Laser Frequency Calibrations at MIKES"' IEEE TRANSACTIONS ON INSTRUMENTATION AND MEASUREMENT Vol.56, No.2, 200704, pages 500-504 * |
| JPN6013011349; Youichi Bitou, Thomas R. Schibli, Kaoru Minoshima: '"Accurate wide-range displacement measurement using tunable diode laser and optical frequency comb g' OPTICS EXPRESS Vol.14, No.2, 200601, pages 644-654 * |
| JPN6013011353; T.R.Schibli, K.Minoshima, Y.Bitou, F.-L.Hong, H.Inaba, A.Onae, H.Matsumoto: '"Displacement metrology with sub-pm resolution in air based on a fs-comb wavelength synthesizer"' OPTICS EXPRESS Vol.14, No.13, 200606, pages 5984-5993 * |
| JPN6013011356; Yves Salvade, Nicolas Schuler, Samuel Leveque, Sebastien Le Floch: '"High-accuracy absolute distance measurement using frequency comb referenced multiwavelength source"' APPLIED OPTICS Vol.47, No.14, 20080510, pages 2715-2720 * |
Cited By (7)
| Publication number | Priority date | Publication date | Assignee | Title |
|---|---|---|---|---|
| JP2018503872A (ja) * | 2014-12-29 | 2018-02-08 | エーエスエムエル ホールディング エヌ.ブイ. | アライメントシステムのフィードバック制御システム |
| US10082740B2 (en) | 2014-12-29 | 2018-09-25 | Asml Holding N.V. | Feedback control system of an alignment system |
| JP2016138795A (ja) * | 2015-01-27 | 2016-08-04 | 株式会社東京精密 | 干渉計測装置及び干渉計測方法 |
| KR101792632B1 (ko) * | 2016-06-01 | 2017-11-01 | 한국표준과학연구원 | 측정 불가 구간과 방향 모호성이 없는 절대거리 측정을 위한 분광형 간섭계 시스템 |
| WO2017209352A1 (ko) * | 2016-06-01 | 2017-12-07 | 한국표준과학연구원 | 측정 불가 구간과 방향 모호성이 없는 절대거리 측정을 위한 분광형 간섭계 시스템 |
| KR20220125431A (ko) * | 2021-03-05 | 2022-09-14 | 부산대학교 산학협력단 | 복수개의 광주파수 도약스캔 레이저를 이용한 광간섭 거리측정 시스템 및 방법 |
| KR102571110B1 (ko) | 2021-03-05 | 2023-08-25 | 부산대학교 산학협력단 | 복수개의 광주파수 도약스캔 레이저를 이용한 광간섭 거리측정 시스템 및 방법 |
Also Published As
| Publication number | Publication date |
|---|---|
| US8368900B2 (en) | 2013-02-05 |
| JP5511163B2 (ja) | 2014-06-04 |
| EP2149779A1 (en) | 2010-02-03 |
| US20100026983A1 (en) | 2010-02-04 |
| EP2149779B1 (en) | 2013-06-19 |
Similar Documents
| Publication | Publication Date | Title |
|---|---|---|
| JP5511163B2 (ja) | 光波干渉による距離測定方法及び装置 | |
| JP5226078B2 (ja) | 干渉計装置及びその作動方法 | |
| US5541730A (en) | Interferometric measuring apparatus for making absolute measurements of distance or refractive index | |
| KR101812541B1 (ko) | 온도 측정 방법 및 기억 매체 | |
| US10024647B2 (en) | Method of air refractive index correction for absolute long distance measurement | |
| JPH0749207A (ja) | 絶対干渉測定方法とこの方法に適したレーザー干渉装置 | |
| JP5265918B2 (ja) | モード選択同調器からの光フィードバック | |
| EP2904347B1 (en) | Position monitoring system with reduced noise | |
| JP2009300263A (ja) | 2波長レーザ干渉計および2波長レーザ干渉計の光軸調整方法 | |
| JP5511162B2 (ja) | 多波長干渉変位測定方法及び装置 | |
| EP2634525A1 (en) | Absolute distance measuring multiwavelength interferometer | |
| JP2023524907A (ja) | 光の波長の測定 | |
| JP2013083581A (ja) | 計測装置 | |
| JP6635758B2 (ja) | 屈折率補正法、距離測定法及び距離測定装置 | |
| JP6628030B2 (ja) | 距離測定装置及びその方法 | |
| JP6370633B2 (ja) | 光周波数コムによるレーザ周波数測定の精度評価方法及び装置 | |
| JP2554363B2 (ja) | 光干渉測定装置 | |
| JP2012184967A (ja) | 波長走査干渉計 | |
| US12379494B2 (en) | Optical distance measurement device and machining device | |
| JP2017044565A (ja) | 距離測定装置及びその方法 | |
| JP2013057619A (ja) | 計測装置および計測方法 | |
| US20230288562A1 (en) | Optical interferometric range sensor | |
| CN222166010U (zh) | 距离测定装置 | |
| JP5580718B2 (ja) | 計測装置 | |
| JP2024115237A (ja) | 光路長差計測装置および振動計測装置 |
Legal Events
| Date | Code | Title | Description |
|---|---|---|---|
| A621 | Written request for application examination |
Free format text: JAPANESE INTERMEDIATE CODE: A621 Effective date: 20110601 |
|
| A977 | Report on retrieval |
Free format text: JAPANESE INTERMEDIATE CODE: A971007 Effective date: 20130228 |
|
| A131 | Notification of reasons for refusal |
Free format text: JAPANESE INTERMEDIATE CODE: A131 Effective date: 20130312 |
|
| A521 | Request for written amendment filed |
Free format text: JAPANESE INTERMEDIATE CODE: A523 Effective date: 20130513 |
|
| TRDD | Decision of grant or rejection written | ||
| A01 | Written decision to grant a patent or to grant a registration (utility model) |
Free format text: JAPANESE INTERMEDIATE CODE: A01 Effective date: 20140311 |
|
| A61 | First payment of annual fees (during grant procedure) |
Free format text: JAPANESE INTERMEDIATE CODE: A61 Effective date: 20140325 |
|
| R150 | Certificate of patent or registration of utility model |
Ref document number: 5511163 Country of ref document: JP Free format text: JAPANESE INTERMEDIATE CODE: R150 |
|
| R250 | Receipt of annual fees |
Free format text: JAPANESE INTERMEDIATE CODE: R250 |
|
| R250 | Receipt of annual fees |
Free format text: JAPANESE INTERMEDIATE CODE: R250 |
|
| LAPS | Cancellation because of no payment of annual fees |
