JP2010036951A - 紙製食品包装袋 - Google Patents

紙製食品包装袋 Download PDF

Info

Publication number
JP2010036951A
JP2010036951A JP2008201273A JP2008201273A JP2010036951A JP 2010036951 A JP2010036951 A JP 2010036951A JP 2008201273 A JP2008201273 A JP 2008201273A JP 2008201273 A JP2008201273 A JP 2008201273A JP 2010036951 A JP2010036951 A JP 2010036951A
Authority
JP
Japan
Prior art keywords
paper
oil
absorbing
water
packaging bag
Prior art date
Legal status (The legal status is an assumption and is not a legal conclusion. Google has not performed a legal analysis and makes no representation as to the accuracy of the status listed.)
Granted
Application number
JP2008201273A
Other languages
English (en)
Other versions
JP4809404B2 (ja
Inventor
Hidetoshi Tomii
英稔 富井
Current Assignee (The listed assignees may be inaccurate. Google has not performed a legal analysis and makes no representation or warranty as to the accuracy of the list.)
FUKOKU SHIGYO KK
Original Assignee
FUKOKU SHIGYO KK
Priority date (The priority date is an assumption and is not a legal conclusion. Google has not performed a legal analysis and makes no representation as to the accuracy of the date listed.)
Filing date
Publication date
Application filed by FUKOKU SHIGYO KK filed Critical FUKOKU SHIGYO KK
Priority to JP2008201273A priority Critical patent/JP4809404B2/ja
Publication of JP2010036951A publication Critical patent/JP2010036951A/ja
Application granted granted Critical
Publication of JP4809404B2 publication Critical patent/JP4809404B2/ja
Expired - Fee Related legal-status Critical Current
Anticipated expiration legal-status Critical

Links

Images

Landscapes

  • Wrappers (AREA)
  • Paper (AREA)

Abstract

【課題】本発明は油揚げ食品から出る油分及び水分を内層の吸油吸水紙で吸収し、同時に吸油吸水紙で吸収した油分及び水分を耐油紙で遮断し、両者相俟って油分と水分の底溜まり、結露の問題を適切に解決しつつ、外部への滲み出しを有効に防止するようにした紙製食品包装袋を提供する。
【解決手段】フライドポテト、フライドチキン、ハンバーガー、コロッケ等の油揚げ食品の包装に適した耐油紙2から成る紙製食品包装袋1に係り、該紙製食品包装袋1を耐油紙2で形成しつつ、該耐油紙2内面(袋内面)に吸油吸水紙3を添合する構成とした紙製食品包装袋。
【選択図】 図3

Description

本発明はフライドポテト、フライドチキン、ハンバーガー、コロッケ等の油揚げ食品の包装に適した耐油紙から成る紙製食品包装袋に関する。
既知の通り、上記油揚げ食品をテイクアウトするときに使用される紙製食品包装袋は耐油紙で製袋し、袋外表面への油分の滲み出しを防止している。
上記耐油紙としてはフッ素系の耐油剤を抄き込んだ紙、或いは外表面に同耐油剤をコーティングし耐油剤層を形成した紙が一般に用いられている。
然しながら、上記耐油紙から成る紙製食品包装袋は油分の滲み出し防止には有効であるが、耐油紙によって透過滲潤を阻止された油揚げ食品の油分や水分が袋底に溜まったり袋内面に結露を生じ、内包された油揚げ食品の食感を損なう問題、或いは袋底に溜まった油分や水分が流れ出してごみ箱やごみ収集所を汚損する問題を有している。
本発明は上記問題を有効に解消できる紙製食品包装袋を提供するものである。
要述すると、本発明は上記耐油紙から成る紙製食品包装袋の上記問題を解決する手段として、紙製食品包装袋の基材として耐油紙を用いつつ、該耐油紙内面、即ち油揚げ食品と接する包装袋内面に吸油吸水紙を添合し、油揚げ食品から出る油分及び水分を内層の吸油吸水紙で吸収し、同時に吸油吸水紙で吸収した油分及び水分を耐油紙で遮断し、両者相俟って油分と水分の底溜まり、結露の問題を適切に解決しつつ、外部への滲み出しを有効に防止する作用効果を達成できるようにしたものである。
上記吸油吸水紙としてはクレープ加工を施したクレープ紙を用い、該クレープ紙を上記包装袋内面(上記耐油紙内面)に添合することにより油分吸収効果と捕捉効果を高めることができる。
好ましくは、上記クレープ紙のクレープの山と谷が袋の横幅方向に延在するように配向する。これにより油揚げ食品から出る油分及び水分をクレープの山と谷で捕捉しつつ吸収する効果を向上する。
上記吸油吸水紙は澱粉糊を介し耐油紙内面(包装袋内面)に添合し、食品の安全性に資する。
紙製食品包装袋を耐油紙で形成しつつ、該耐油紙内面に吸油吸水紙を添合する構成により、油揚げ食品から出る油分及び水分を内層の吸油吸水紙で吸収し、同時に吸油吸水紙で吸収した油分及び水分を耐油紙で遮断し、両者相俟って油分と水分の底溜まり、結露の問題を適切に解決しつつ、外部への滲み出しを有効に防止することができる。
ひいては、袋内に内包した油揚げ食品のからっとした食感を保ち、品質保持に有効である。
加えてクレープ紙を吸油吸水紙として使用した場合には耐油紙とクレープ紙との界面に空気層を形成し、その断熱効果により食品の保温効果を向上する。
以下本発明を実施するための最良の形態を図1乃至図5に基づき説明する。
本発明はフライドポテト、フライドチキン、ハンバーガー、コロッケ等の油揚げ食品の包装に適した紙製食品包装袋1を提供することを目的とするものである。該紙製食品包装袋1本体はその基材として耐油紙2を用い製袋する。該耐油紙2内面、即ち油揚げ食品と接する包装袋内面に吸油吸水紙3を添合し、耐油紙2と吸油吸水紙3の貼り合わせ紙から成る袋構造にする。
上記紙製食品包装袋1の袋形態としては、図1に示すように、袋底8と対向する上端でのみ開口11する袋、又は図2に示すように、上端で開口11し且つ該上端に連なる一側縁でL字形に開口する袋を対象とする。
上記紙製食品包装袋1は油揚げ食品から出る油分及び水分を内層の吸油吸水紙3で吸収し、同時に吸油吸水紙3で吸収した油分及び水分を耐油紙2で遮断し、両者相俟って油分と水分の底溜まり、結露の問題を適切に解決しつつ、包装袋1外表面への滲み出し防止目的を達成する。
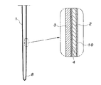
上記吸油吸水紙3は澱粉糊4を介し耐油紙2内面(包装袋内面)に添合し、食品の安全性に資する。
図4,5に示すように、上記吸油吸水紙3としてはクレープ加工を施したクレープ紙5を用い、該クレープ紙5を上記包装袋1内面(上記耐油紙2内面)に添合することにより油分吸収効果と捕捉効果を高める。
好ましくは、上記クレープ紙5から成る吸油吸水紙3の添合に当たり、クレープの山6と谷7が袋の横幅方向(袋底8と並行)に延在するように配向する。換言すると、紙製食品包装袋1の袋底8の垂直線に対し、クレープの山6と谷7が交差する方向に延在するように配向する。更に換言すると、袋底8へ流下せんとする油又は水分の流下を妨げる方向に配向する。
上記クレープの山6と谷7の配向により、油揚げ食品から出る油分及び水分をクレープの山6と谷7で捕捉しつつ吸収する効果を向上する。
上記クレープ紙5を吸油吸水紙3として使用した場合には耐油紙2とクレープ紙5との界面に空気層9を形成し、その断熱効果により食品の保温効果を発揮し、紙製食品包装袋1に加わる外力に対する保護効果を発揮する。
即ち図4に示すように、上記吸油吸水紙3を形成するクレープ紙5を縮み皺の山6の頂面を以って吸油吸水紙3に上記澱粉糊4を介し貼り合わせる。これによって耐油紙2と吸油吸水紙3の貼り合わせ界面に縮み皺の谷7による空気層9を形成し、この空気層9によって上記食品を保護する緩衝効果と断熱効果を得る。
又上記耐油紙2の内面に添合する、即ち紙製食品包装袋1を形成する耐油紙2の内面に添合する吸油吸水紙3としては、上記クレープ紙5を適用できる他、図3に示すように、クレープを施さない平紙を用いる場合を包含する。
上記クレープ加工を施した吸油吸水紙3、又はクレープ加工を施さない吸油吸水紙3はバージンパルプで抄紙した紙を用い、食品の安全性に資する。該吸油吸水紙3の厚みは任意に設定して厚みに応じた吸油吸水機能を具有せしめる。例えば1平方メートル当たりの坪量が30〜50gである吸油吸水紙3を用いる。
又上記紙製食品包装袋1の製袋用紙として使用される耐油紙2としては、従来使用されているフッ素系の耐油剤を抄き込んだ紙、或いは表面に同耐油剤をコーティングして耐油剤層10を形成した紙の何れか、又は紙の外表面に合成樹脂フィルムをラミネートした耐油紙2を用いる。好ましくは上記耐油紙2も吸油吸水紙3と同様、バージンパルプで抄紙した紙を適用する。
一般には上記耐油紙2の耐油度はキット値(TAPPI UM−557)が8以上であることが望ましく、これはサラダ油をはじくレベルであり、任意な耐油度にすることができる。例えば3〜10程度の耐油度を有すれば現存する油揚げ食品に対応できる。
又上記耐油紙2の耐油剤としては既知のフッ素系耐油剤を用いることができる。又は該フッ素系耐油剤の他、変性デンプン、アミロース、ポリビニルアルコールの1種または2種以上を混合した耐油剤を用いることができる。該耐油剤は抄紙に当たり内填するか、抄紙後、耐油剤をコーティングして耐油剤層10を形成して上記耐油紙2を形成する。
上記耐油紙2と吸油吸水紙3、即ち吸油吸水紙3を添合した耐油紙2は通気性を有しながら、上記吸油吸水紙3による油分と水分の吸収作用と耐油紙によるその遮断効果を発揮する構造のものである。
紙製食品包装袋の袋形態の一例を示す斜視図。 同袋形態の他例を示す斜視図。 上記各例の紙製食品包装袋に平紙から成る吸油吸水紙を添合した袋構造を示す一部拡大縦断面図。 上記紙製食品包装袋にクレープ紙から成る吸油吸水紙を添合した袋構造を示す一部拡大断面図。 上記各例の紙製食品包装袋の内面に添合したクレープ紙の縮み皺の配向例を説明する一部切欠側面図。
符号の説明
1…紙製食品包装袋、2…耐油紙、3…吸油吸水紙、4…澱粉糊、5…クレープ紙、6…クレープ紙のクレープの山、7…同谷、8…袋底、9…空気層、10…耐油剤層、11…開口。

Claims (4)

  1. 紙製食品包装袋を形成する耐油紙の内面に吸油吸水紙を添合したことを特徴とする紙製食品包装袋。
  2. 上記吸油吸水紙としてクレープ加工を施したクレープ紙を添合したことを特徴とする請求項1記載の紙製食品包装袋。
  3. 上記クレープ紙のクレープの山と谷が袋の横幅方向に延在するように配向したことを特徴とする請求項2記載の紙製食品包装袋。
  4. 上記吸油吸水紙を澱粉糊を介して添合したことを特徴とする請求項1記載の紙製食品包装袋。
JP2008201273A 2008-08-04 2008-08-04 紙製食品包装袋 Expired - Fee Related JP4809404B2 (ja)

Priority Applications (1)

Application Number Priority Date Filing Date Title
JP2008201273A JP4809404B2 (ja) 2008-08-04 2008-08-04 紙製食品包装袋

Applications Claiming Priority (1)

Application Number Priority Date Filing Date Title
JP2008201273A JP4809404B2 (ja) 2008-08-04 2008-08-04 紙製食品包装袋

Publications (2)

Publication Number Publication Date
JP2010036951A true JP2010036951A (ja) 2010-02-18
JP4809404B2 JP4809404B2 (ja) 2011-11-09

Family

ID=42009907

Family Applications (1)

Application Number Title Priority Date Filing Date
JP2008201273A Expired - Fee Related JP4809404B2 (ja) 2008-08-04 2008-08-04 紙製食品包装袋

Country Status (1)

Country Link
JP (1) JP4809404B2 (ja)

Cited By (2)

* Cited by examiner, † Cited by third party
Publication number Priority date Publication date Assignee Title
WO2012063916A1 (ja) * 2010-11-11 2012-05-18 Yokouchi Minoru 紙製袋
CN103263234A (zh) * 2013-05-23 2013-08-28 金红叶纸业集团有限公司 纸巾及其制备方法

Families Citing this family (2)

* Cited by examiner, † Cited by third party
Publication number Priority date Publication date Assignee Title
CN107841901A (zh) * 2017-11-09 2018-03-27 常德金德新材料科技股份有限公司 果蔬保鲜纸及其制备方法
CN107604765A (zh) * 2017-11-09 2018-01-19 常德金德新材料科技股份有限公司 表面施胶剂及其制备方法和应用

Citations (4)

* Cited by examiner, † Cited by third party
Publication number Priority date Publication date Assignee Title
JPH0558668U (ja) * 1992-01-13 1993-08-03 味の素株式会社 ファーストフードサービス用紙
JPH0622275U (ja) * 1992-08-25 1994-03-22 三菱アルミニウム株式会社 食品の包装袋
JPH0680165A (ja) * 1992-08-31 1994-03-22 Dainippon Printing Co Ltd テイクアウト食品用カートン
JP2005255250A (ja) * 2004-02-12 2005-09-22 Toppan Printing Co Ltd 袋状容器

Patent Citations (4)

* Cited by examiner, † Cited by third party
Publication number Priority date Publication date Assignee Title
JPH0558668U (ja) * 1992-01-13 1993-08-03 味の素株式会社 ファーストフードサービス用紙
JPH0622275U (ja) * 1992-08-25 1994-03-22 三菱アルミニウム株式会社 食品の包装袋
JPH0680165A (ja) * 1992-08-31 1994-03-22 Dainippon Printing Co Ltd テイクアウト食品用カートン
JP2005255250A (ja) * 2004-02-12 2005-09-22 Toppan Printing Co Ltd 袋状容器

Cited By (2)

* Cited by examiner, † Cited by third party
Publication number Priority date Publication date Assignee Title
WO2012063916A1 (ja) * 2010-11-11 2012-05-18 Yokouchi Minoru 紙製袋
CN103263234A (zh) * 2013-05-23 2013-08-28 金红叶纸业集团有限公司 纸巾及其制备方法

Also Published As

Publication number Publication date
JP4809404B2 (ja) 2011-11-09

Similar Documents

Publication Publication Date Title
US5310587A (en) Wrapping for foods
JP4809404B2 (ja) 紙製食品包装袋
CN203878420U (zh) 一种包装用防潮纸板
JP2020022731A (ja) 使い捨てコート紙製ストロー
CN206633549U (zh) 一种带有干燥剂的瓦楞纸箱
JP2007529382A (ja) 持ち帰り用の食品のための吸収および断熱トレー
CN1956843A (zh) 用于包装热食品的多层片材或衬垫
JP2001199451A (ja) 二重底袋
JPH09290867A (ja) 調理済食品用包装箱
CN103407689A (zh) 一种食品内包装纸
JP2002079642A (ja) 消臭シート
JP2017105528A (ja) 炊飯米輸送用容器の内装シート
JP2020189673A (ja) 電子レンジ用カップ
CN216103241U (zh) 一种防水防油包装盒
JPH0565825U (ja) 食品包装容器
KR102419376B1 (ko) 조리음식물 포장용 골판지 박스의 결로방지 코팅액을 이용하여 제조된 골판지 박스
JP4874753B2 (ja) 衛生薄葉用紙
JP2008007887A (ja) 多層抄き板紙及び紙製容器
JP5368956B2 (ja) 食材包装用シート材料と食材包装容器
KR200399536Y1 (ko) 쥐 포획용 점착대
JP4423637B2 (ja) 耐油性乾燥剤及び耐油性乾燥剤の製造方法
JP2001301107A (ja) 吸水吸油性積層体および吸水吸油トレー
JP2646072B2 (ja) 折 箱
CN205149104U (zh) 一种耐用箱片
JP2508165Y2 (ja) 洗剤箱用防湿耐油紙

Legal Events

Date Code Title Description
A977 Report on retrieval

Free format text: JAPANESE INTERMEDIATE CODE: A971007

Effective date: 20101028

A131 Notification of reasons for refusal

Free format text: JAPANESE INTERMEDIATE CODE: A131

Effective date: 20101109

A521 Written amendment

Free format text: JAPANESE INTERMEDIATE CODE: A523

Effective date: 20110111

RD03 Notification of appointment of power of attorney

Free format text: JAPANESE INTERMEDIATE CODE: A7423

Effective date: 20110111

TRDD Decision of grant or rejection written
A01 Written decision to grant a patent or to grant a registration (utility model)

Free format text: JAPANESE INTERMEDIATE CODE: A01

Effective date: 20110802

A01 Written decision to grant a patent or to grant a registration (utility model)

Free format text: JAPANESE INTERMEDIATE CODE: A01

A61 First payment of annual fees (during grant procedure)

Free format text: JAPANESE INTERMEDIATE CODE: A61

Effective date: 20110818

FPAY Renewal fee payment (prs date is renewal date of database)

Free format text: PAYMENT UNTIL: 20140826

Year of fee payment: 3

R150 Certificate of patent (=grant) or registration of utility model

Free format text: JAPANESE INTERMEDIATE CODE: R150

LAPS Cancellation because of no payment of annual fees