JP2010035715A - 台板、及び盤面部品 - Google Patents

台板、及び盤面部品 Download PDF

Info

Publication number
JP2010035715A
JP2010035715A JP2008200091A JP2008200091A JP2010035715A JP 2010035715 A JP2010035715 A JP 2010035715A JP 2008200091 A JP2008200091 A JP 2008200091A JP 2008200091 A JP2008200091 A JP 2008200091A JP 2010035715 A JP2010035715 A JP 2010035715A
Authority
JP
Japan
Prior art keywords
base plate
transparent protective
protective member
base
thin film
Prior art date
Legal status (The legal status is an assumption and is not a legal conclusion. Google has not performed a legal analysis and makes no representation as to the accuracy of the status listed.)
Granted
Application number
JP2008200091A
Other languages
English (en)
Other versions
JP5226416B2 (ja
Inventor
Kuniaki Izumi
邦秋 泉
Current Assignee (The listed assignees may be inaccurate. Google has not performed a legal analysis and makes no representation or warranty as to the accuracy of the list.)
Kyoraku Sangyo Co Ltd
Original Assignee
Kyoraku Sangyo Co Ltd
Priority date (The priority date is an assumption and is not a legal conclusion. Google has not performed a legal analysis and makes no representation as to the accuracy of the date listed.)
Filing date
Publication date
Application filed by Kyoraku Sangyo Co Ltd filed Critical Kyoraku Sangyo Co Ltd
Priority to JP2008200091A priority Critical patent/JP5226416B2/ja
Publication of JP2010035715A publication Critical patent/JP2010035715A/ja
Application granted granted Critical
Publication of JP5226416B2 publication Critical patent/JP5226416B2/ja
Expired - Fee Related legal-status Critical Current
Anticipated expiration legal-status Critical

Links

Images

Landscapes

  • Pinball Game Machines (AREA)

Abstract

【課題】盤面部品を遊技盤面に取り付けるための台板の端縁に設けた鈍角状の角部を被覆する装飾薄膜が、繰り返し衝突する遊技球によって損耗して外観を悪化させることを防止すると共に、前記角部の存在によって生じる台板状面と外周のテーパー面との間の濃淡、色合いの変化を維持することができる台板を提供する。
【解決手段】遊技盤面2aに固定される盤面部品取付け用の台板20であって、略平坦な表面を有する台板基部21と、該台板基部の周縁の少なくとも一部に連設されて外周方向へ下り傾斜するテーパー部(薄肉部)25と、台板基部及びテーパー部の各表面に形成された装飾薄膜30と、を備え、少なくともテーパー部に沿った適所に、台板基部とテーパー部との境界線に沿って形成された角部を保護する透明保護部材40を配置した。
【選択図】図3

Description

本発明は盤面部品を遊技盤面に取り付けるための台板の改良に関し、特に遊技盤面から突出した台板の端縁が繰り返し衝突する遊技球によって損耗して外観を悪化させることを防止する構成を備えた台板、及び盤面部品に関する。
パチンコ遊技機においては、遊技盤の遊技領域内に遊技釘、入賞口、風車、図柄表示装置、電飾装置等の各種盤面部品を設けて遊技内容の多様性を図っている。盤面部品は、台板に搭載された状態で、この台板を遊技盤面にネジ止めすることにより盤面に取り付けられる。
図7は台板100を遊技盤面110に設置した状態を示す断面図であり、台板100は、厚さ2mm程度の樹脂板から成る心材(例えば、黒色)101の表面に、金属膜等から成る装飾薄膜(例えば、金色)102をメッキ、塗装等の手法によって被覆形成した構成を備えている。また、台板100の外周縁103は、遊技球が当たったときのダメージや、遊技球の経路に与える影響を低減するために、外周方向へ向かってテーパー状に傾斜(肉厚が漸減)したテーパー面となっている。また、台板を正面から視認した際に台板上面とテーパー面との間の角度差に起因して各面の濃淡、色合いに変化がもたらされるため、遊技者の興趣を高めることができる。
ところで、発射装置から毎分100個程度発射されて遊技領域に進入する遊技球が遊技領域内を流下する過程で台板100の外周縁に繰り返し衝突すると、台板上面と外周のテーパー面との境界線(鈍角状の角部)105を被覆する装飾薄膜102が損耗、破損して黒色の心材101の一部が露出し、外観を悪化させる要因となる。
このような不具合は、遊技球が通過する過程で衝突する頻度が高い台板の局部に発生し易く、また稼働率の高い人気機種において特に発生し易い。
このような不具合に対処するために台板上面と、その外周のテーパー面との間の鈍角状の境界線(稜線)を湾曲面状に面取りしてエッジをなくし、遊技球が衝突したときのダメージを低減することも考えられる。しかし、台板の設計者は、台板上面とテーパー面との間の境界線に鈍角状の稜線を設けることによって、台板を正面から視認した際に各面における光の反射方向を異ならせて、各面の見かけ上の濃淡や色が異なって認識されるデザイン効果を狙っているため、稜線をR状に加工することは回避したい傾向にある。
特許文献1(特開平05−168747号公報)には、台板の心材を強度の高い低発泡合成樹脂により構成する旨が開示されているが、心材表面に形成される装飾薄膜を衝突する遊技球から保護する構成については一切言及されていない。
特許文献2(特開2005−013589公報)にも台板の強度を高めるための構成が開示されているが、装飾薄膜を衝突する遊技球から保護する構成については一切言及されていない。
特開平05−168747号公報 特開2005−013589公報
以上のように従来のパチンコ遊技機の遊技盤面に取り付けられる台板にあっては、その外周縁に沿って鈍角状の角部(稜線)を設ける必要があるため、この角部に遊技球が当たった時に装飾薄膜が損耗、破損して見栄えのよくない心材が露出して外観を悪化させるという問題があった。
本発明は上記に鑑みてなされたものであり、盤面部品を遊技盤面に取り付けるための台板の端縁に設けた鈍角状の角部を被覆する装飾薄膜が、繰り返し衝突する遊技球によって損耗して外観を悪化させることを防止すると共に、前記角部の存在によって生じる台板状面と外周のテーパー面との間の見かけ上の濃淡、色合いの変化を維持することができる台板、及び盤面部品を提供することを目的としている。
上記目的を達成するため、請求項1の発明に係る台板は、パチンコ遊技機の遊技盤面に固定される盤面部品取付け用の台板であって、略平坦な表面を有する台板基部と、該台板基部の周縁の少なくとも一部に連設されて外周方向へ下り傾斜するテーパー部(薄肉部)と、前記台板基部及び前記テーパー部の各表面に形成された装飾薄膜と、を備え、少なくとも前記テーパー部に沿った適所に、前記台板基部と前記テーパー部との境界線に沿って形成された角部を保護する透明保護部材を配置したことを特徴とする。
盤面部品を遊技盤面に固定する際には、台板を介した取付けが行われる。台板を構成する台板基部は遊技球の進路に与える影響を少なくするために薄肉化され、且つその外周縁はテーパー状に厚みが漸減するように薄肉化されているが、台板基部とテーパー部との境界線の角部(鈍角状の稜線)に遊技球が繰り返し衝突した場合には当該角部、及びその周辺に被覆された装飾薄膜が損耗、破損して台板の基材が露出して外観を悪化させる。本発明では、角部に遊技球が直撃することを防止するための手段として透明保護部材をテーパー部に沿った適所に配置している。透明保護部材は台板基部とテーパー部の外観をそのまま視認できる透明材料から構成されているため、デザイン上の効果(角度が異なる両面からの反射光による見かけ上の美的効果)を喪失することもない。
請求項2の発明に係る台板は、パチンコ遊技機の遊技盤面に固定される盤面部品取付け用の台板であって、略平坦な表面を有する台板基部と、該台板基部の周縁の少なくとも一部に連設されて外周方向へ階段状に下る段差部と、前記台板基部及び前記段差部の各表面に形成された装飾用の被膜、又は塗膜などから成る装飾薄膜と、を備え、少なくとも前記段差部に沿った適所に、前記台板基部と前記段差部との境界線に沿って形成された角部を保護する透明保護部材を配置したことを特徴とする。
請求項1のテーパー部に代えて段差部を設けた場合にも、透明保護部材は同様の角部損傷防止効果と、デザイン効果を発揮する。
請求項3の発明は、請求項1又は2において、前記透明保護部材を、少なくとも前記テーパー部、又は前記段差部の装飾薄膜上に積層一体化したことを特徴とする。
透明保護部材は台板基部と、テーパー部又は段差部との間の角部に遊技球が直撃、接触することを防止する手段であるため、テーパー部、又は段差部の前面だけに積層されるように構成しても上記効果を発揮させることができる。積層一体化とは、台板本体(台板基部、及びテーパー部、又は段差部)と透明保護部材とを一体成形する場合の他に、別部材としての透明保護部材を台板本体に積層してネジ止め、接着等により固定する場合も含むものである。
請求項4の発明は、請求項1、2又は3において、前記透明保護部材は、前記テーパー部、又は前記段差部の周縁から張出し形成されてそれらの少なくとも一部の外形形状を構成し、前記テーパー部表面の透明保護部材、又は前記段差部表面の透明保護部材は、外周方向へ下り傾斜する透明テーパー面をなしていることを特徴とする。
テーパー部、又は段差部に積層される透明保護部材は、テーパー部、又は段差部の外周縁を越えて遊技盤面上に張出し形成される場合においても、台板の本来の設置位置を越えることがないように構成される。また、従来の台板に設けられているテーパー部は遊技球が衝突した際のダメージを最小限に抑えるようにその寸法、傾斜角度が適切に設定されているため、このテーパー部に積層される明保護部材の外面形状を同様に設定することにより、透明保護部材が遊技球から受けるダメージを減少することができる。
請求項5の発明は、請求項1乃至4の何れか一項において、前記台板基部表面の装飾薄膜上に透明保護部材を積層一体化し、該台板基部表面の透明保護部材を、前記テーパー部上の透明保護部材、又は前記段差部上の透明保護部材と連設一体化した構成としたことを特徴とする。
透明保護部材の設置範囲を、テーパー部又は段差部のみ成らず、台板基部の表面にまで拡張することにより、台板本体の角部に対する保護を厚くすることができる。
請求項6の発明は、請求項1乃至3又は5において、前記透明保護部材は、前記テーパー部、又は前記段差部の周縁から張出し形成されてそれらの少なくとも一部の外形形状を構成し、少なくとも前記角部に積層される前記透明保護部材の外面を曲面状にしたことを特徴とする。
透明保護部材が遊技球から受けるダメージを更に低減するためには、その表面を曲面状に構成するのが有効である。
請求項8の発明は、請求項1乃至7の何れか一項において、前記テーパー部の外周縁、又は前記段差部の外周縁に夫々立ち上げ面が連設されている場合に、該立ち上げ面に前記透明保護部材を積層したことを特徴とする。
請求項9の発明に係る盤面部品は、請求項1乃至8の何れか一項に記載の台板を備えたことを特徴とする。
本発明に係る台板は、センター役物、その他の各種盤面部品を遊技盤面に取り付ける際に使用される部材であり、本発明に係る台板を備えた盤面部品は全て本発明の技術的範囲に属するものである。
以上のように本発明によれば、略平坦な表面を有する台板基部と、該台板基部の周縁の少なくとも一部に連設されて外周方向へ下り傾斜するテーパー部(薄肉部)と、台板基部及びテーパー部の各表面に形成された装飾薄膜と、を備え、少なくともテーパー部に沿った適所に、台板基部とテーパー部との境界線に沿って形成された角部を保護する透明保護部材を配置したので、台板の端縁に沿って設けた鈍角状の角部を被覆する装飾薄膜が、繰り返し衝突する遊技球によって損耗して外観を悪化させることを防止すると共に、角部の存在によって生じる台板状面と外周のテーパー面との間の見かけ上の濃淡、色合いの変化を維持することができる。
以下、本発明に係る台板を図面に示した実施の形態により詳細に説明する。
図1は本発明に係るパチンコ遊技機の遊技盤の一例を示す正面図であり、図2(a)及び(b)は本発明の台板、及び盤面部品(センター役物)の正面図、及びこの盤面部品を搭載する台板の斜視図である。
この図に示すパチンコ遊技機1は、図示しない矩形形状の枠の窓孔に対して裏側から装着される遊技盤2を備えている。
遊技盤2には、遊技領域の外周縁に沿って前方に突出されたガイドレールが設けられている。ガイドレールは発射装置から発射された遊技球を遊技領域の上部に案内したり、アウト球を回収するアウト口15に案内したりする外レールR1及び内レールR2により構成される。
遊技盤2の前面側には、図示しないガラス枠が開閉可能に取り付けられている。また遊技盤2の下部には遊技球を貯留する図示しない受け皿部と、受け皿部内の遊技球を発射する図示しない発射レバー等が設けられている。また、受け皿部の上部には、例えば遊技演出用のチャンスボタンや十字キーなどの操作部や、遊技球の購入ボタンや購入取り消しボタンなどが設けられている。
遊技盤2の略中央に設けた開口部内にはセンター役物3が配置され、センター役物3の内部開口内には画像表示装置5が配置されている。画像表示装置5は、例えば、液晶表示装置等の液晶表示パネルによって構成され、通常動作状態の時は図示しない特別図柄画像が表示される。また、所謂リーチ状態や特別遊技状態の時はそれぞれの遊技状態であることを示す演出画像等が表示される。
画像表示装置5の下方には、画像表示装置5の特別図柄を可変表示させるための可変入賞装置6が設けられている。
また、画像表示装置5の左側には、遊技盤2の右下部に配置された普通図柄表示装置10に表示される普通図柄を作動させるためのゲート11が設けられている。
さらに、可変入賞装置6の下方には、特別遊技状態の一つである大当り状態のときに開成状態になる開閉扉を有する大入賞口7が設けられている。
可変入賞装置6は、画像表示装置5を可変表示させるための上始動ポケット6aと、左右一対の開閉爪(可動片)を有する電動式チューリップ6bとを備えている。
また遊技盤2には、普通入賞口8が設けられていると共に、風車9や多数の遊技釘が突設されている。遊技釘は、遊技球の落下速度を遅くすると共に、落下方向を複雑に変化させて遊技進行上の興趣を高めている。
普通図柄表示装置10に表示される普通図柄は、1個または複数個の図柄を変動表示可能であり、普通図柄始動口としてのゲート11が遊技球を検出することを条件に、その図柄が乱数制御等により所定時間可変して停止するようになっている。
普通図柄としては、数字図柄、アルファベット図柄、キャラクター図柄、その他の適宜の遊技図柄が使用される。そして、ゲート11を遊技球が通過したことを条件に乱数制御により普通図柄が所定態様となった場合に、可変入賞装置6に設けられた電動式チューリップから成る可動片を所定時間、開成動作するように構成されている。
画像表示装置5に表示される特別図柄は、停止図柄が予め定められた図柄の組合せ、例えば同一図柄の組合せとなった場合に大当り状態となるように構成されている。また特別図柄は、可変入賞装置6の上始動ポケット6a、又は電動式チューリップ6bの開成動作により遊技球が誘導される下始動口(図示していない)への遊技球の入賞を検出することを条件に乱数制御等により表示がスクロールする等、所定の変動パターンで所定時間変動(可変)して図柄で停止するようになっている。
その際、有効ライン上に2個の停止図柄が同一となった場合に、リーチ状態が発生し、このリーチ状態において、有効ライン上の最後の停止図柄が既に停止している2個の図柄と同一となった場合に大当り状態が発生する。なお、特別図柄としては、数字図柄、アルファベット図柄、キャラクター図柄等が使用可能である。
図2(a)に示したセンター役物3は、同図(b)に示した台板20に組み付けられた状態で、台板を遊技盤面にネジ止め固定することにより遊技盤面に固定される。
図1中に示された構成例では、センター役物3の左下側にある台板20の部位Aが遊技球が衝突する頻度が高く、最も損耗し易い領域である。
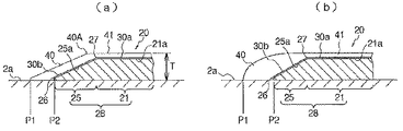
図3(a)及び(b)は本発明の一実施形態に係る台板の要部断面図であり、この台板20は、略平坦な表面(上面)21aを有する台板基部21と、台板基部の周縁の少なくとも一部に連設されて外周方向へ下り傾斜するテーパー部(外周薄肉部)25と、台板基部21及びテーパー部25の各表面21a、25aに夫々形成された装飾用の被膜、又は塗膜から成る装飾薄膜30(30a、30b)と、透明保護部材40と、を備えている。また、テーパー部25の先端縁は遊技盤面2aに対して垂直に切り立った立ち上げ面26となっている。台板基部21とテーパー部25は、台板本体28を構成している。
台板20は、遊技盤面上を流下する遊技球に対する影響を最小限に抑えると共に、遊技球が端縁に衝突した際のダメージを最小限に抑えるために、台板基部21の厚さTは約2〜3mmに設定され、テーパー部25の長さLは約3mm、立ち上げ面26の高さHは約0.5mmに設定されている。なお、遊技盤面2aから図示しない前面のガラス板までの距離は約20mmであり、遊技球の直径は11mmであるため、装飾薄膜30を含めた台板20の表面とガラス板との間には約17〜18mmの遊技球通過スペースが確保される。
台板基部表面21aとテーパー部25との境界には鈍角状(非曲面状)の角部27が形成されている。角部27を湾曲面状に面取りすることによりデザイン上のデメリットが発生することは前述の如くであり、本発明では、角部27の存在によるデザイン上の効果を維持しながらも、角部に遊技球が直撃して装飾薄膜を損耗させる不具合を解消するための方策を提供する。
即ち、本発明の台板20の特徴的な構成は、台板本体28の外周縁に沿った適所に透明保護部材を配置することにより、角部27、及びその周辺の装飾薄膜に対して遊技球が直撃することを防止した構成にある。
図3の実施形態に係る台板20は、少なくともテーパー部25上の装飾薄膜30b上に透明保護部材40を積層一体化(被覆一体化)することにより、遊技盤面を流下してきた遊技球が角部27に接触することを防止している。透明保護部材40としては、耐久性に優れた透明樹脂であれば、どのような材料であってもよいが、例えばポリカーボネイトを例示することができる。また、透明保護部材40の硬度は、台板本体28の硬度とほぼ同等に設定する。
透明保護部材40は、テーパー部25及び立ち上げ部26の表面を被覆すると同時に、その下面が遊技盤面2aの一部を覆うようにテーパー部25の周縁から張出し形成されている。
透明保護部材40がテーパー部25を被覆する範囲は角部27から斜めに傾斜するテーパー面の少なくとも上部であればよく、必ずしもテーパー部の下部にまで達する必要はないが、設計上は透明保護部材40の底面が遊技盤面2a上に接触する構成の方が設置安定性を確保する上で有利である。
本実施形態では、テーパー部25上の透明保護部材40は、テーパー部25の表面と同様に外周方向へ下り傾斜する透明テーパー面をなしている。透明保護部材40の透明テーパー面をテーパー部25の前面と平行にすることにより、遊技球が突き当たった際のダメージを最小に抑えることができる。
テーパー部25及び立ち上げ面26を被覆する装飾薄膜30bを透明保護部材40により被覆しているため、前方から視認した場合の見え方は、透明保護部材40が存在しない場合と全く変わりが無い。従って台板基部とテーパー部の各表面21a、25a(30a、30b)との間の光の反射方向の変化による濃淡、色合いの違いを維持することができ、デザイン上のメリットを発揮できる。
図3(a)の実施形態では、テーパー部25上に被覆した透明保護部材40の外面形状を、テーパー部25及び立ち上げ面26の形状と整合した形状としているため遊技球の衝突によるダメージを低減できるが、透明保護部材40の角部40Aを曲面状に面取りしたり、透明保護部材40の前面を湾曲状に加工する等の手法により、同図(b)のように透明保護部材40の外面形状を曲面状に形成して遊技球によるダメージを更に低減するようにしてもよい。
なお、図3の実施形態では、遊技盤面上における透明保護部材40の最外周縁の位置P1を、遊技盤面2a上における台板本体28の本来の最外周縁位置(本来の設置位置)と一致するように構成しているため、遊技球に与える影響は透明保護部材40が存在しない場合と変わりがない。このように構成したため、台板本体28の外周縁P2の位置は本来の位置P1よりも内側に退避している。
なお、台板本体28の外周縁の位置P2を本来の位置P1と一致する位置に設定すると共に、本来の位置P1を越えた位置に透明保護部材40を配置するように構成してもよい。このことは、以下の全ての実施形態においても同様に当てはまる。
また、透明保護部材40を台板本体28に固定する方法としては、両者を予め一体成形したり、透明な接着剤により接着したり、両者の接触面は固定せずに、他の部位をネジにより共締めする等の方法が考えられる。従って、本明細書において積層一体化、或いは被覆一体化とは、台板本体と透明保護部材を一体成形する場合の他に、別部材としての透明保護部材を台板本体に積層してネジ止め、接着等により固定する場合も含むものである。
図3(c)及び(d)は本実施形態に係る台板20を遊技盤2にネジ止め固定する場合の具体的構成を示す縦断面図、及び台板の要部(ボス部)の裏面側斜視図である。
この台板20を構成する台板本体28の裏面側には、遊技盤面にネジ止め固定するためのボス部29が突設されている。このボス部29に対応する透明保護部材40の特定部分からはボス部29の外面に密着する半筒状の延長片40Bが裏側に向けて延びており、延長片40Bの先端にはボス部29のネジ穴29と連通する穴40B`を備えた先端部材が一体形成されている。このネジ穴29及び穴40B`に図示しないネジを螺着して共締めすることにより遊技盤面に台板20は固定される。
なお、ここに示した台板の固定構造は、以下の他の実施形態にも同様に適用することができる。
次に、図4(a)及び(b)は本発明の他の実施形態に係る台板の要部断面図であり、この台板20は、略平坦な表面(上面)21aを有する台板基部21と、台板基部21の周縁の少なくとも一部に連設されて外周方向へ下り傾斜するテーパー部(外周薄肉部)25と、台板基部21及びテーパー部25の各表面21a、25aに夫々形成された装飾用の被膜、又は塗膜から成る装飾薄膜30(30a、30b)と、テーパー部25上の装飾薄膜30b上に被覆一体化した透明保護部材40と、透明保護部材40と連設して台板基部21の表面の装飾薄膜30a上に被覆一体化された透明保護部材41と、を備えている。
台板基部21とテーパー部25は、台板本体28を構成している。
本実施形態に係る台板20の特徴的な構成は、テーパー部25上の装飾薄膜30b上に透明保護部材40を被覆形成すると共に、台板基部21上の装飾薄膜30a上にも透明保護部材41を被覆形成し、両透明保護部材40、41を連設一体化した構成にある。このため、角部27上の装飾薄膜を透明保護部材により被覆することができ、角部27に対して遊技球が直接接触して装飾薄膜を損耗させることを防止することができる。透明保護部材40、41としては、例えばポリカーボネイトを用いる。
透明保護部材41は、装飾薄膜30a上に均一厚で被覆することが好ましく、前方に位置するガラス板との間に十分な遊技球通過スペースを確保できるようにその膜厚を設定する。
台板基部表面21a及びテーパー部表面25aを夫々被覆する装飾薄膜30b、30aを透明保護部材41、40により被覆しているため、前方から視認した場合の各面の見え方は、透明保護部材が存在しない場合と全く変わりが無い。従って台板基部とテーパー部の各表面21a、25aとの間の反射光の変化による見かけ上の濃淡、色合いの違いを維持することができ、デザイン上のメリットを発揮できる。
台板基部21上に透明保護部材41を積層した際の台板本体28の厚みT1は透明保護部材41の肉厚分だけ増大するが、前方に配置された図示しないガラス板との間に十分な遊技球の通過スペースを確保できるため問題はない。
図4(a)の実施形態では、透明保護部材40、及び41の外面形状を、テーパー部25、及び台板基部21の形状と整合した形状としているため遊技球の衝突によるダメージを低減できるが、両透明保護部材の境界に位置する角部40Aを曲面状に面取りしたり、透明保護部材40を曲面状に構成する等の手法により同図(b)のように透明保護部材40の外面形状を曲面状に形成して遊技球によるダメージを更に低減するようにしてもよい。
次に、図5は本発明の他の実施形態に係る台板の要部縦断面図であり、この台板20は、略平坦な表面(上面)21aを有する台板基部21と、台板基部21の周縁の少なくとも一部に連設されて外周方向へ下り傾斜するテーパー部25と、台板基部21及びテーパー部25の各表面21a、25aに夫々形成された装飾用の被膜、又は塗膜から成る装飾薄膜30(30a、30b)と、テーパー部25の外周縁に沿った遊技盤面2a上に配置された透明保護部材42と、台板本体(台板基部21及びテーパー部25)28の下面と遊技盤面2aとの間に介在する薄板状の透明保護部材43と、を備えている。
本実施形態に係る透明保護部材42は、上記実施形態における透明保護部材40のようにテーパー部25の表面25aを被覆している訳ではなく、テーパー部25(立ち上げ面26)の外周縁に沿った遊技盤面2a上に下面を密着させた状態でテーパー部の外周縁に沿って配置され、垂直な内壁面42aを屹立させることにより角部27に遊技球が直撃することを防止している。また、透明保護部材42の内周下部からは薄板状の透明保護部材43が台板本体28の下面に向けて伸びており、透明保護部材43上に台板本体28(テーパー部25及び台板基部21)を固定した状態で、台板20は遊技盤面にネジ止め固定される。
透明保護部材42の表面は、図示のように鈍角状に屈曲してテーパー面を形成するようにしてもよいし、表面全体を湾曲状に面取りして遊技球衝突時のダメージを低減するように構成してもよい。
台板本体28は、その外周縁に沿った遊技盤面2a上に突設された透明保護部材42の存在によって遊技球の直撃を回避することができる。また、台板本体28は被覆、隠蔽されていないため、遊技者は台板基部21とテーパー部25との間の角度の違いに起因して発生する濃淡や色合いの違いを視認することができる。
次に、図6は本発明の他の実施形態に係る台板の要部縦断面図であり、台板本体28の外周縁の少なくとも一部に設けた階段状の段差部(外周薄肉部)50を透明保護部材44により保護することによって台板本体が遊技球の直撃を受けて装飾薄膜30が損耗することを防止することができる。
まず、図6(a)に係る台板20は、略平坦な表面(上面)21aを有する台板基部21と、台板基部の周縁の少なくとも一部に連設されて外周方向へ段差状に肉厚が減少する段差部50と、台板基部21及び段差部50の各表面21a、50aに夫々形成された装飾用の被膜、又は塗膜から成る装飾薄膜30(30a、30c)と、透明保護部材44と、を備えている。
段差部(外周薄肉部)50は、台板基部表面21aよりも一段低い中段部51と、中段部51の外周縁に沿って形成された立ち上げ部52と、台板基部表面21aと中段部51との間に位置する壁面53と、を有した階段状を成している。
中段部51は図示のように遊技盤面と平行であってもよいし、外周方向へ向かって肉厚が漸減するテーパー状であってもよい。中段部51の角度を台板基部21の表面の角度と異ならせることにより、両表面の角度差に起因した濃淡、色合いの変化を表現することが可能となる。
壁面53は図示のようにテーパー面であってもよいし、垂直面(遊技盤面と直交する面)であってもよい。この壁面53をテーパー面とすることにより、台板基部表面21aとの間の角度差に起因した濃淡、色合いの変化を表現することが可能となる。
透明保護部材44は段差部50の全面(中段部51、立ち上げ部52、壁面53)を被覆することにより角部54、その他も段差面に遊技球が直撃することによって装飾薄膜30が損耗することを防止できる。
透明保護部材44の表面は、外周側が図示のように鈍角状に屈曲してテーパー面を形成するようにしてもよいし、外周側全体を湾曲状に面取りして遊技球からのダメージを緩衝するように構成してもよい。このことは以下の各実施形態においても同様に当てはまる。
次に、図6(b)に係る台板20は、透明保護部材44を台板基部21の表面21a(装飾薄膜30a上)にまで延長形成した透明保護部材45を備えている点が特徴的である。台板本体28の角部54は透明保護部材44、45により被覆保護されているため、遊技球の直撃を受けることがなく、その内部に視認される台板基部表面21aと壁面53と中段部51との濃淡差、色合い差をデザイン上の効果として有効利用することができる。
次に、図6(c)に係る台板20に装備される透明保護部材は、段差部50の外周縁の少なくとも一部に沿った遊技盤面2a上に配置された透明保護部材46と、台板本体(台板基部21及び段差部50)28の下面と遊技盤面2aとの間に介在する薄板状の透明保護部材47と、を備えている。
本実施形態に係る透明保護部材46は、段差部50の外周に沿った遊技盤面2a上に下面を密着させた状態で段差部の外周縁に沿って配置され、垂直な内壁面46aを屹立させることにより角部54に遊技球が直撃することを防止している。また、透明保護部材46の内周下部からは板状の透明保護部材47が台板本体28の下面に向けて伸びており、透明保護部材47上に台板本体28(テーパー部25及び台板基部21)を固定した状態で、台板20は遊技盤面にネジ止め固定される。
なお、従来の不透明なベニヤ製の遊技盤に代えて、アクリル等の透明樹脂製の遊技盤を使用する場合には、予めアクリル製遊技盤面に彫り込み形成した凹所内に台板を埋め込んで突出部を無くすることができる。
以上のように本発明によれば、台板基部とテーパー部との境界の角部(鈍角状の稜線)に遊技球が繰り返し衝突して装飾薄膜が損耗、破損して台板の基材が露出し、外観を悪化させる不具合を防止することができる。本発明では、角部に遊技球が直撃することを防止するための手段として透明保護部材をテーパー部に沿った適所に配置している。透明保護部材は台板基部とテーパー部の外観をそのまま視認できる透明材料から構成されているため、デザイン上の効果(見かけ上の美的効果)を喪失することもない。
テーパー部に代えて段差部を設けた場合にも、透明保護部材は同様の角部損傷防止効果と、デザイン効果を発揮する。
透明保護部材は台板基部と、テーパー部又は段差部との間の角部に遊技球が直撃、接触することを防止する手段であるため、テーパー部、又は段差部の前面だけを被覆するように構成しても上記効果を発揮させることができる。
テーパー部、又は段差部に被覆される透明保護部材は、テーパー部、又は段差部の外周縁を越えて遊技盤面上に張出し形成される場合においても、台板の本来の設置位置を越えることがないように構成される。
透明保護部材の設置範囲を、テーパー部又は段差部のみ成らず、台板基部の表面にまで拡張することにより、台板本体の角部に対する保護を厚くすることができる。
従来の台板に設けられているテーパー部は遊技球が衝突した際のダメージを最小限に抑えるようにその寸法、傾斜角度が適切に設定されているため、このテーパー部を被覆する透明保護部材の外面形状を同様に設定することにより、透明保護部材が遊技球から受けるダメージを減少することができる。
透明保護部材が遊技球から受けるダメージを更に低減するためには、その表面を曲面状に構成するのが有効である。
本発明に係る台板は、センター役物、その他の各種盤面部品を遊技盤面に取り付ける際に使用される部材であり、本発明に係る台板を備えた盤面部品は全て本発明の技術的範囲に属するものである。
本発明に係るパチンコ遊技機の遊技盤の一例を示す正面図である。 (a)及び(b)は本発明の台板、及び盤面部品(センター役物)の正面図、及びこの盤面部品を搭載する台板の斜視図である。 (a)及び(b)は本発明の一実施形態に係る台板の要部断面図であり、(c)及び(d)は本実施形態に係る台板を遊技盤にネジ止め固定する場合の具体的構成を示す縦断面図、及び台板の要部(ボス部)の裏面側斜視図である。 (a)及び(b)は本発明の他の実施形態に係る台板の要部断面図である。 本発明の他の実施形態に係る台板の要部縦断面図である。 (a)〜(c)は本発明の他の実施形態に係る台板の要部縦断面図である。 従来例の説明図である。
符号の説明
1…パチンコ遊技機、2…遊技盤、2a…遊技盤面、3…センター役物、5…画像表示装置、6…可変入賞装置、6a…上始動ポケット、6b…電動式チューリップ、7…大入賞口、8…普通入賞口、9…風車、10…普通図柄表示装置、11…ゲート、15…アウト口、20…台板、21…台板基部、21a…表面、25…テーパー部、25a…表面、27…角部、28…台板本体、30…装飾薄膜、30a…装飾薄膜、30b…装飾薄膜、30b…装飾薄膜、40…透明保護部材、40A…角部、41…透明保護部材、42…透明保護部材、42a…内壁面、43…透明保護部材、44、45…透明保護部材、46…透明保護部材、46a…内壁面、47…透明保護部材、50…段差部、51…中段部、53…壁面、54…角部

Claims (9)

  1. パチンコ遊技機の遊技盤面に固定される盤面部品取付け用の台板であって、
    略平坦な表面を有する台板基部と、該台板基部の周縁の少なくとも一部に連設されて外周方向へ下り傾斜するテーパー部と、前記台板基部及び前記テーパー部の各表面に形成された装飾薄膜と、を備え、
    少なくとも前記テーパー部表面の装飾薄膜上の適所に、前記台板基部と前記テーパー部との境界線に沿って形成された角部を保護する透明保護部材を配置したことを特徴とする台板。
  2. パチンコ遊技機の遊技盤面に固定される盤面部品取付け用の台板であって、
    略平坦な表面を有する台板基部と、該台板基部の周縁の少なくとも一部に連設されて外周方向へ階段状に下る段差部と、前記台板基部及び前記段差部の各表面に形成された装飾用薄膜と、を備え、
    少なくとも前記段差部表面の装飾薄膜上の適所に、前記台板基部と前記段差部との境界線に沿って形成された角部を保護する透明保護部材を配置したことを特徴とする台板。
  3. 前記透明保護部材を、少なくとも前記テーパー部、又は前記段差部表面の装飾薄膜上に積層一体化したことを特徴とする請求項1又は2に記載の台板。
  4. 前記透明保護部材は、前記テーパー部、又は前記段差部の周縁から張出し形成されてそれらの少なくとも一部の外形形状を構成し、
    前記テーパー部表面の透明保護部材、又は前記段差部表面の透明保護部材は、外周方向へ下り傾斜する透明テーパー面をなしていることを特徴とする請求項1、2又は3に記載の台板。
  5. 前記台板基部表面の装飾薄膜上に前記透明保護部材を積層一体化し、該台板基部表面の透明保護部材を、前記テーパー部表面の透明保護部材、又は前記段差部表面の透明保護部材と連設一体化した構成としたことを特徴とする請求項1乃至4の何れか一項に記載の台板。
  6. 前記透明保護部材は、前記テーパー部、又は前記段差部の周縁から張出し形成されてそれらの少なくとも一部の外形形状を構成し、
    少なくとも前記角部に積層される前記透明保護部材の外面を曲面状にしたことを特徴とする請求項1乃至3又は5の何れか一項に記載の台板。
  7. 前記テーパー部に沿って配置された透明保護部材の下部、又は前記段差部に沿って配置された透明保護部材の下部を、前記遊技盤面と、前記台板基部の下面及び前記テーパー部の下面との間に延在させたことを特徴とする請求項1乃至6の何れか一項に記載の台板。
  8. 前記テーパー部の外周縁、又は前記段差部の外周縁に夫々立ち上げ面が連設されている場合に、該立ち上げ面に前記透明保護部材を積層したことを特徴とする請求項1乃至7の何れか一項に記載の台板。
  9. 請求項1乃至8の何れか一項に記載の台板を備えたことを特徴とする盤面部品。
JP2008200091A 2008-08-01 2008-08-01 台板 Expired - Fee Related JP5226416B2 (ja)

Priority Applications (1)

Application Number Priority Date Filing Date Title
JP2008200091A JP5226416B2 (ja) 2008-08-01 2008-08-01 台板

Applications Claiming Priority (1)

Application Number Priority Date Filing Date Title
JP2008200091A JP5226416B2 (ja) 2008-08-01 2008-08-01 台板

Publications (2)

Publication Number Publication Date
JP2010035715A true JP2010035715A (ja) 2010-02-18
JP5226416B2 JP5226416B2 (ja) 2013-07-03

Family

ID=42008870

Family Applications (1)

Application Number Title Priority Date Filing Date
JP2008200091A Expired - Fee Related JP5226416B2 (ja) 2008-08-01 2008-08-01 台板

Country Status (1)

Country Link
JP (1) JP5226416B2 (ja)

Citations (7)

* Cited by examiner, † Cited by third party
Publication number Priority date Publication date Assignee Title
JPH10323426A (ja) * 1997-05-26 1998-12-08 Okumura Yuki Kk 遊技盤用構造物
JP2001190750A (ja) * 2000-01-13 2001-07-17 Shuya Yamashita パチンコゲーム機における配電構造
JP2002272929A (ja) * 2001-03-14 2002-09-24 Heiwa Corp 遊技部品
JP2004008645A (ja) * 2002-06-10 2004-01-15 Okumura Yu-Ki Co Ltd 遊技機
JP2004181139A (ja) * 2002-12-06 2004-07-02 Sanyo Product Co Ltd 遊技機
JP2004267542A (ja) * 2003-03-10 2004-09-30 Sanyo Product Co Ltd 遊技機
JP2007143925A (ja) * 2005-11-29 2007-06-14 Daiichi Shokai Co Ltd 遊技機

Patent Citations (7)

* Cited by examiner, † Cited by third party
Publication number Priority date Publication date Assignee Title
JPH10323426A (ja) * 1997-05-26 1998-12-08 Okumura Yuki Kk 遊技盤用構造物
JP2001190750A (ja) * 2000-01-13 2001-07-17 Shuya Yamashita パチンコゲーム機における配電構造
JP2002272929A (ja) * 2001-03-14 2002-09-24 Heiwa Corp 遊技部品
JP2004008645A (ja) * 2002-06-10 2004-01-15 Okumura Yu-Ki Co Ltd 遊技機
JP2004181139A (ja) * 2002-12-06 2004-07-02 Sanyo Product Co Ltd 遊技機
JP2004267542A (ja) * 2003-03-10 2004-09-30 Sanyo Product Co Ltd 遊技機
JP2007143925A (ja) * 2005-11-29 2007-06-14 Daiichi Shokai Co Ltd 遊技機

Also Published As

Publication number Publication date
JP5226416B2 (ja) 2013-07-03

Similar Documents

Publication Publication Date Title
JP4650872B2 (ja) 弾球遊技機
JP5138495B2 (ja) 台板
JPH07250954A (ja) 遊技機
JP2005125074A (ja) 弾球遊技機
JP2014008286A (ja) 遊技機
JP5226416B2 (ja) 台板
JP3874550B2 (ja) 遊技機
JP2014212910A (ja) 弾球遊技機
JP5126468B2 (ja) 遊技機
JP5392513B2 (ja) 遊技機
JP2005143911A (ja) パチンコ機の遊技盤
JP7006935B2 (ja) 遊技機
JP2003093615A (ja) パチンコ遊技機
JP2005006963A (ja) 弾球遊技機
JP6913894B2 (ja) 遊技機
JP4842542B2 (ja) 遊技盤
JP2021023716A5 (ja)
JP4530266B2 (ja) 弾球遊技機
JP2003093614A (ja) パチンコ遊技機
JP5804287B2 (ja) 遊技機
JP5392514B2 (ja) 遊技機
JP4583199B2 (ja) 遊技盤
JP2004024401A (ja) 遊技盤カバー体
JP2008194299A (ja) 遊技機と遊技機の製造方法
JP2009195338A (ja) 前飾り板の構造、遊技盤、及びパチンコ遊技機

Legal Events

Date Code Title Description
A621 Written request for application examination

Free format text: JAPANESE INTERMEDIATE CODE: A621

Effective date: 20110629

A131 Notification of reasons for refusal

Free format text: JAPANESE INTERMEDIATE CODE: A131

Effective date: 20120724

A521 Written amendment

Free format text: JAPANESE INTERMEDIATE CODE: A523

Effective date: 20120731

A02 Decision of refusal

Free format text: JAPANESE INTERMEDIATE CODE: A02

Effective date: 20121106

A521 Written amendment

Free format text: JAPANESE INTERMEDIATE CODE: A523

Effective date: 20121119

A911 Transfer of reconsideration by examiner before appeal (zenchi)

Free format text: JAPANESE INTERMEDIATE CODE: A911

Effective date: 20130115

TRDD Decision of grant or rejection written
A01 Written decision to grant a patent or to grant a registration (utility model)

Free format text: JAPANESE INTERMEDIATE CODE: A01

Effective date: 20130305

A61 First payment of annual fees (during grant procedure)

Free format text: JAPANESE INTERMEDIATE CODE: A61

Effective date: 20130314

R150 Certificate of patent or registration of utility model

Ref document number: 5226416

Country of ref document: JP

Free format text: JAPANESE INTERMEDIATE CODE: R150

Free format text: JAPANESE INTERMEDIATE CODE: R150

FPAY Renewal fee payment (event date is renewal date of database)

Free format text: PAYMENT UNTIL: 20160322

Year of fee payment: 3

R250 Receipt of annual fees

Free format text: JAPANESE INTERMEDIATE CODE: R250

LAPS Cancellation because of no payment of annual fees