JP2010034231A - 薄膜太陽電池及び薄膜太陽電池用表面電極 - Google Patents
薄膜太陽電池及び薄膜太陽電池用表面電極 Download PDFInfo
- Publication number
- JP2010034231A JP2010034231A JP2008193904A JP2008193904A JP2010034231A JP 2010034231 A JP2010034231 A JP 2010034231A JP 2008193904 A JP2008193904 A JP 2008193904A JP 2008193904 A JP2008193904 A JP 2008193904A JP 2010034231 A JP2010034231 A JP 2010034231A
- Authority
- JP
- Japan
- Prior art keywords
- film
- semiconductor layer
- solar cell
- thin
- surface electrode
- Prior art date
- Legal status (The legal status is an assumption and is not a legal conclusion. Google has not performed a legal analysis and makes no representation as to the accuracy of the status listed.)
- Granted
Links
Images
Classifications
-
- Y—GENERAL TAGGING OF NEW TECHNOLOGICAL DEVELOPMENTS; GENERAL TAGGING OF CROSS-SECTIONAL TECHNOLOGIES SPANNING OVER SEVERAL SECTIONS OF THE IPC; TECHNICAL SUBJECTS COVERED BY FORMER USPC CROSS-REFERENCE ART COLLECTIONS [XRACs] AND DIGESTS
- Y02—TECHNOLOGIES OR APPLICATIONS FOR MITIGATION OR ADAPTATION AGAINST CLIMATE CHANGE
- Y02E—REDUCTION OF GREENHOUSE GAS [GHG] EMISSIONS, RELATED TO ENERGY GENERATION, TRANSMISSION OR DISTRIBUTION
- Y02E10/00—Energy generation through renewable energy sources
- Y02E10/50—Photovoltaic [PV] energy
Landscapes
- Photovoltaic Devices (AREA)
Abstract
【解決手段】透光性基板上に、透明導電膜からなる表面電極と、p型半導体層、i型半導体層、n型半導体層の順に積層された光電変換半導体層と、少なくとも光反射性金属電極を備える裏面電極とを順次形成した薄膜太陽電池において、前記透光性基板が、前記表面電極が設けられる側の基板面が凹凸構造を呈し、前記透光性基板の凹凸構造基板面に、Tiをドープした酸化インジウム膜、AlとGaをドープした酸化亜鉛膜の順に設けられた積層体からなる透明導電膜の表面電極が設けられていることを特徴とする薄膜太陽電池。
【選択図】図1
Description
この薄膜太陽電池では、光電変換作用が主としてこのi型半導体層内で生じるため、i型半導体層が薄いと光吸収係数が小さい長波長領域の光が十分に吸収されないため、光電変換量は本質的にi型半導体層の膜厚によって制約を受ける。そこで、i型半導体層を含む光電変換半導体層に入射した光をより有効に利用するために、光入射側の表面電極に表面凹凸構造を設けて光を光電変換半導体層内へ散乱させ、さらに裏面電極で反射した光を乱反射させる工夫がなされている。
更に、その凹凸構造基板面は、ブラスト加工により形成された表面であることを特徴とするものである。
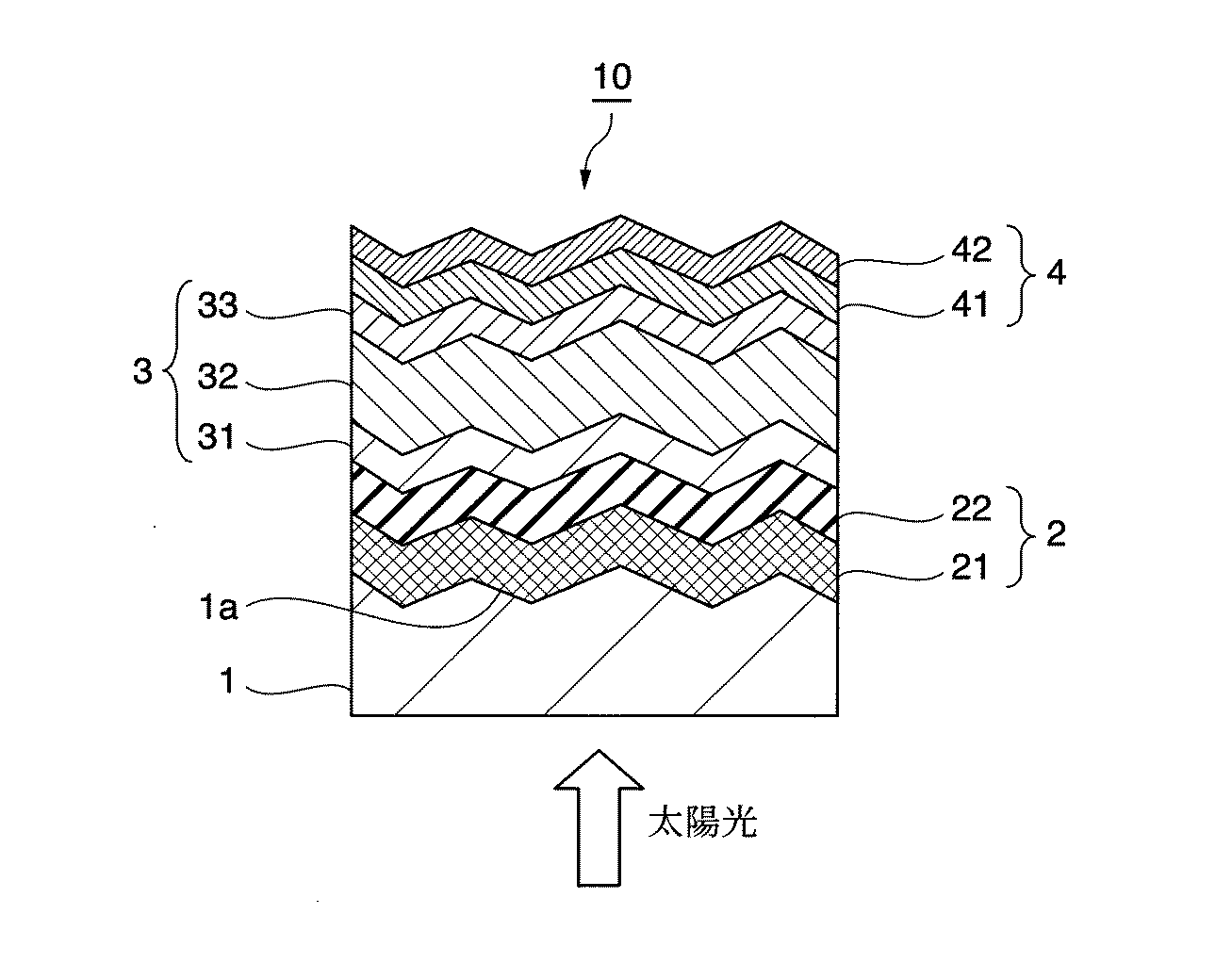
図1において、1は透光性基板、1aは透光基板面の凹凸構造、2は表面電極、表面電極2はTiがドープされた酸化インジウム膜21とAl及びGaがドープされた酸化亜鉛膜22から構成される。3は光電変換半導体層で、p型半導体層31、i型半導体層32、n型半導体層33が積層されたものである。4は裏面電極で、本発明薄膜太陽電池10は、これらを順次積層した構造を有する。この薄膜太陽電池10に対しては、光電変換されるべき光は透光性基板1側から入射される。
更に、透光性基板1としては、有機フィルム、セラミックス、又は低融点の安価なガラスなどの透明基板を用いることができる。
用いるプラズマCVD法は、一般によく知られている平行平板型のRFプラズマCVDを用いてもよいし、周波数150MHz以下のRF帯からVHF帯までの高周波電源を利用するプラズマCVD法でも良い。
この透明導電性酸化膜41は、必ずしも必要としないが、n型半導体層33と光反射性金属電極42との付着性を高めることで、光反射性金属電極42の反射効率を高め、且つn型半導体層33に対する化学変化を防止する機能を有している。
(実施例1)
以下の作製法により図1の構造のシリコン系薄膜太陽電池を作製した。
先ず、ガラス基板を透光性基板1として用い、透光性基板1の基板面をブラスト加工により、表面凹凸の高低差が平均粗さ(Ra)で88nmになるように透光基板面の凹凸構造1aを形成した。
次に、プラズマCVD法により、厚み10nmのBをドープしたp型微結晶シリコン層からなるp型半導体層31、厚み3μmのi型微結晶シリコン層からなるi型半導体層32、厚み15nmのPをドープしたn型微結晶シリコン層からなるn型半導体層33を順次成膜してpin接合の光電変換半導体層3を形成した。
この透明導電性酸化膜41は、酸化亜鉛に酸化ガリウム2.3重量%、酸化アルミニウム1.2重量%をドープした膜を用いた。
このようにして得られた薄膜太陽電池10を、AM(エアマス)1.5の光を100mW/cm2の光量で照射して、25℃で特性を測定したところ、光電変換効率は8.6%であった。
Tiをドープした酸化インジウム膜に代えて、酸化錫10質量%をドープしたITO膜を用いたこと、AlとGaをドープした酸化亜鉛膜に代えて、Gaのみを酸化ガリウムとして6質量%をドープしたGZO膜を用いた以外は、実施例1と同様にして薄膜太陽電池を作製した。
得られた薄膜太陽電池を、AM(エアマス)1.5の光を100mW/cm2の光量で照射して、25℃で特性を測定したところ、光電変換効率は8.1%であった。
1a 透光基板の凹凸構造
2 表面電極(透明導電膜)
10 薄膜太陽電池
21 Tiをドープした酸化インジウム膜(酸化インジウム[Ti]膜)
22 Al,Gaをドープした酸化亜鉛膜(酸化亜鉛[Al,Ga]膜)
3 光電変換半導体層
31 p型半導体層
32 i型半導体層
33 n型半導体層
4 裏面電極
41 透明導電性酸化物
42 光反射性金属電極
Claims (3)
- 透光性基板上に、透明導電膜からなる表面電極と、p型半導体層、i型半導体層、n型半導体層の順に積層された光電変換半導体層と、少なくとも光反射性金属電極を備える裏面電極とを順次形成した薄膜太陽電池において、
前記透光性基板が、前記表面電極が設けられる側の基板面が凹凸構造を呈し、
前記透光性基板の凹凸構造基板面に、Tiをドープした酸化インジウム膜、AlとGaをドープした酸化亜鉛膜の順に設けられた積層体からなる透明導電膜の表面電極が設けられており、前記酸化亜鉛膜の光電変換半導体層側の膜面が凹凸構造であることを特徴とする薄膜太陽電池。 - 前記透光性基板の凹凸構造基板面が、ブラスト加工により形成された表面であることを特徴とする請求項1記載の薄膜太陽電池。
- Tiをドープした酸化インジウム膜、AlとGaをドープした酸化亜鉛膜の順に設けられた積層体からなる透明導電膜で、前記酸化亜鉛膜の光電変換半導体層側の膜面が凹凸構造であることを特徴とする薄膜太陽電池用表面電極。
Priority Applications (1)
| Application Number | Priority Date | Filing Date | Title |
|---|---|---|---|
| JP2008193904A JP5093502B2 (ja) | 2008-07-28 | 2008-07-28 | 薄膜太陽電池及び薄膜太陽電池用表面電極 |
Applications Claiming Priority (1)
| Application Number | Priority Date | Filing Date | Title |
|---|---|---|---|
| JP2008193904A JP5093502B2 (ja) | 2008-07-28 | 2008-07-28 | 薄膜太陽電池及び薄膜太陽電池用表面電極 |
Publications (2)
| Publication Number | Publication Date |
|---|---|
| JP2010034231A true JP2010034231A (ja) | 2010-02-12 |
| JP5093502B2 JP5093502B2 (ja) | 2012-12-12 |
Family
ID=41738375
Family Applications (1)
| Application Number | Title | Priority Date | Filing Date |
|---|---|---|---|
| JP2008193904A Expired - Fee Related JP5093502B2 (ja) | 2008-07-28 | 2008-07-28 | 薄膜太陽電池及び薄膜太陽電池用表面電極 |
Country Status (1)
| Country | Link |
|---|---|
| JP (1) | JP5093502B2 (ja) |
Cited By (3)
| Publication number | Priority date | Publication date | Assignee | Title |
|---|---|---|---|---|
| KR20120096177A (ko) * | 2011-02-22 | 2012-08-30 | 엘지전자 주식회사 | 박막 태양 전지 |
| CN111446373A (zh) * | 2020-03-20 | 2020-07-24 | 杭州电子科技大学 | 一种锯齿形ito透明电极及有机太阳能电池 |
| CN111564112A (zh) * | 2020-06-09 | 2020-08-21 | 京东方科技集团股份有限公司 | 显示装置、显示面板及其制造方法 |
Citations (3)
| Publication number | Priority date | Publication date | Assignee | Title |
|---|---|---|---|---|
| JP2000269529A (ja) * | 1999-03-16 | 2000-09-29 | Kanegafuchi Chem Ind Co Ltd | シリコン系薄膜光電変換装置 |
| JP2004207221A (ja) * | 2002-10-04 | 2004-07-22 | Sumitomo Metal Mining Co Ltd | 酸化物透明電極膜とその製造方法、透明導電性基材、太陽電池および光検出素子 |
| JP2008110911A (ja) * | 2006-10-06 | 2008-05-15 | Sumitomo Metal Mining Co Ltd | 酸化物焼結体、その製造方法、透明導電膜、およびそれを用いて得られる太陽電池 |
-
2008
- 2008-07-28 JP JP2008193904A patent/JP5093502B2/ja not_active Expired - Fee Related
Patent Citations (3)
| Publication number | Priority date | Publication date | Assignee | Title |
|---|---|---|---|---|
| JP2000269529A (ja) * | 1999-03-16 | 2000-09-29 | Kanegafuchi Chem Ind Co Ltd | シリコン系薄膜光電変換装置 |
| JP2004207221A (ja) * | 2002-10-04 | 2004-07-22 | Sumitomo Metal Mining Co Ltd | 酸化物透明電極膜とその製造方法、透明導電性基材、太陽電池および光検出素子 |
| JP2008110911A (ja) * | 2006-10-06 | 2008-05-15 | Sumitomo Metal Mining Co Ltd | 酸化物焼結体、その製造方法、透明導電膜、およびそれを用いて得られる太陽電池 |
Cited By (5)
| Publication number | Priority date | Publication date | Assignee | Title |
|---|---|---|---|---|
| KR20120096177A (ko) * | 2011-02-22 | 2012-08-30 | 엘지전자 주식회사 | 박막 태양 전지 |
| KR101632451B1 (ko) * | 2011-02-22 | 2016-06-21 | 엘지전자 주식회사 | 박막 태양 전지 |
| CN111446373A (zh) * | 2020-03-20 | 2020-07-24 | 杭州电子科技大学 | 一种锯齿形ito透明电极及有机太阳能电池 |
| CN111564112A (zh) * | 2020-06-09 | 2020-08-21 | 京东方科技集团股份有限公司 | 显示装置、显示面板及其制造方法 |
| CN111564112B (zh) * | 2020-06-09 | 2022-09-23 | 京东方科技集团股份有限公司 | 显示装置、显示面板及其制造方法 |
Also Published As
| Publication number | Publication date |
|---|---|
| JP5093502B2 (ja) | 2012-12-12 |
Similar Documents
| Publication | Publication Date | Title |
|---|---|---|
| JP5093503B2 (ja) | 薄膜太陽電池及び薄膜太陽電池用表面電極 | |
| TWI521722B (zh) | 附表面電極之透明導電基板及其製造方法以及薄膜太陽電池及其製造方法 | |
| JP3056200B1 (ja) | 薄膜光電変換装置の製造方法 | |
| JP2908067B2 (ja) | 太陽電池用基板および太陽電池 | |
| JP5156641B2 (ja) | 光電変換装置用透明導電膜付基板及び光電変換装置の製造方法 | |
| JP4418500B2 (ja) | 光電変換装置及びその製造方法 | |
| JP4928337B2 (ja) | 光電変換装置の製造方法 | |
| JP2000252500A (ja) | シリコン系薄膜光電変換装置 | |
| JP2016029675A (ja) | 薄膜太陽電池用透光性絶縁基板、及び集積型薄膜シリコン太陽電池 | |
| JP2008270562A (ja) | 多接合型太陽電池 | |
| JP5291633B2 (ja) | シリコン系薄膜光電変換装置およびその製造方法 | |
| JP2000058892A (ja) | シリコン系薄膜光電変換装置 | |
| JP2000261011A (ja) | シリコン系薄膜光電変換装置 | |
| WO2012053569A1 (ja) | 表面電極付透明導電基板の製造方法及び薄膜太陽電池の製造方法 | |
| JP5093502B2 (ja) | 薄膜太陽電池及び薄膜太陽電池用表面電極 | |
| JP2016127179A (ja) | 薄膜太陽電池およびその製造方法 | |
| JP5056651B2 (ja) | 薄膜太陽電池及び薄膜太陽電池用表面電極 | |
| JP2011119480A (ja) | 薄膜太陽電池の製造方法 | |
| JP2011077454A (ja) | 結晶シリコン系太陽電池とその製造方法 | |
| JP2000252501A (ja) | シリコン系薄膜光電変換装置の製造方法 | |
| JP5405923B2 (ja) | 光電変換素子及びその製造方法 | |
| JP2010103347A (ja) | 薄膜光電変換装置 | |
| JP2000252504A (ja) | シリコン系薄膜光電変換装置およびその製造方法 | |
| JP2000252497A (ja) | 薄膜光電変換装置の製造方法 | |
| JP2003008036A (ja) | 太陽電池及びその製造方法 |
Legal Events
| Date | Code | Title | Description |
|---|---|---|---|
| A621 | Written request for application examination |
Free format text: JAPANESE INTERMEDIATE CODE: A621 Effective date: 20101111 |
|
| A131 | Notification of reasons for refusal |
Free format text: JAPANESE INTERMEDIATE CODE: A131 Effective date: 20110909 |
|
| A977 | Report on retrieval |
Free format text: JAPANESE INTERMEDIATE CODE: A971007 Effective date: 20110914 |
|
| A521 | Request for written amendment filed |
Free format text: JAPANESE INTERMEDIATE CODE: A523 Effective date: 20111107 |
|
| A131 | Notification of reasons for refusal |
Free format text: JAPANESE INTERMEDIATE CODE: A131 Effective date: 20120703 |
|
| A521 | Request for written amendment filed |
Free format text: JAPANESE INTERMEDIATE CODE: A523 Effective date: 20120808 |
|
| TRDD | Decision of grant or rejection written | ||
| A01 | Written decision to grant a patent or to grant a registration (utility model) |
Free format text: JAPANESE INTERMEDIATE CODE: A01 Effective date: 20120822 |
|
| A01 | Written decision to grant a patent or to grant a registration (utility model) |
Free format text: JAPANESE INTERMEDIATE CODE: A01 |
|
| A61 | First payment of annual fees (during grant procedure) |
Free format text: JAPANESE INTERMEDIATE CODE: A61 Effective date: 20120904 |
|
| R150 | Certificate of patent or registration of utility model |
Free format text: JAPANESE INTERMEDIATE CODE: R150 |
|
| FPAY | Renewal fee payment (event date is renewal date of database) |
Free format text: PAYMENT UNTIL: 20150928 Year of fee payment: 3 |
|
| LAPS | Cancellation because of no payment of annual fees |
