JP2010033784A - アース端子 - Google Patents

アース端子 Download PDF

Info

Publication number
JP2010033784A
JP2010033784A JP2008192836A JP2008192836A JP2010033784A JP 2010033784 A JP2010033784 A JP 2010033784A JP 2008192836 A JP2008192836 A JP 2008192836A JP 2008192836 A JP2008192836 A JP 2008192836A JP 2010033784 A JP2010033784 A JP 2010033784A
Authority
JP
Japan
Prior art keywords
terminal body
mounting hole
terminal
notch
groove
Prior art date
Legal status (The legal status is an assumption and is not a legal conclusion. Google has not performed a legal analysis and makes no representation as to the accuracy of the status listed.)
Granted
Application number
JP2008192836A
Other languages
English (en)
Other versions
JP5168008B2 (ja
Inventor
Osamu Hirabayashi
修 平林
Current Assignee (The listed assignees may be inaccurate. Google has not performed a legal analysis and makes no representation or warranty as to the accuracy of the list.)
Sumitomo Wiring Systems Ltd
Original Assignee
Sumitomo Wiring Systems Ltd
Priority date (The priority date is an assumption and is not a legal conclusion. Google has not performed a legal analysis and makes no representation as to the accuracy of the date listed.)
Filing date
Publication date
Application filed by Sumitomo Wiring Systems Ltd filed Critical Sumitomo Wiring Systems Ltd
Priority to JP2008192836A priority Critical patent/JP5168008B2/ja
Publication of JP2010033784A publication Critical patent/JP2010033784A/ja
Application granted granted Critical
Publication of JP5168008B2 publication Critical patent/JP5168008B2/ja
Expired - Fee Related legal-status Critical Current
Anticipated expiration legal-status Critical

Links

Images

Landscapes

  • Connections By Means Of Piercing Elements, Nuts, Or Screws (AREA)

Abstract

【課題】電線を接地部材から外す際の作業性向上を図る。
【解決手段】端子本体11に、端子本体11の外周縁に開口し、且つ取付孔13とは非連通のスリット状の切欠部15L,15Rを形成した。電線Wを引っ張ると、端子本体11には切欠部15L,15Rを延長させるような亀裂が生じ、この亀裂により、端子本体11が、電線接続部12に連なる離脱領域11Bと、ボルト25の挟み付けにより接地部材20に取り付けられたままとなる残留領域11Aとに分断され、端子本体11の離脱領域が電線Wとともに接地部材20から外される。ボルト25を緩める準備作業が不要なので、作業工数が少なくて済む。
【選択図】図1

Description

本発明は、アース端子に関するものである。
特許文献1に記載されているアース端子は、電線接続部に電線を接続した状態で、取付孔に通したボルトの締付け作用により、接地部材に固定されるようになっている。このアース端子は、電線を接地部材から外してリサイクルのために回収する手段として、取付孔からアース端子の外周縁に開口するスリットを有している。電線を接地部材から外す際には、ボルトを緩め、その後、電線を掴んでアース端子を引っ張る。すると、ボルトがスリットを通過することによって、アース端子がボルトから離脱し、電線が接地部材から外される。
特開2003−229185号公報
上記従来のアース端子では、電線を接地部材から外す際には、アース端子をボルトから分離する作業に先立って、ボルトの締付けを解除するという準備作業が必要であるため、作業工数が多くなり、作業性の点で改善が望まれる。
本発明は上記のような事情に基づいて完成されたものであって、電線を接地部材から外す際の作業性向上を図ることを目的とする。
上記の目的を達成するための手段として、請求項1の発明は、取付孔が形成され、接地部材に対し電気的導通可能に当接されるようになっている板状の端子本体と、前記端子本体の外周縁から突出した形態であって、電線が接続される電線接続部とを備え、前記端子本体における前記取付孔の周縁部が、前記接地部材と、前記取付孔に貫通させた締付部材との間で挟み付けられて固定されるようになっているアース端子において、前記端子本体には、前記端子本体の外周縁に開口し、且つ前記取付孔とは非連通のスリット状の切欠部が形成されているところに特徴を有する。
請求項2の発明は、請求項1に記載のものにおいて、前記端子本体の外周縁における前記切欠部の開口位置は、その開口位置と前記電線接続部とを結んだ直線が前記締付部材による締付け領域外を通るように配置されているところに特徴を有する。
請求項3の発明は、請求項1または請求項2に記載のものにおいて、前記切欠部は、一対、形成されており、前記端子本体の外周縁における前記一対の切欠部の開口は、前記電線接続部と前記取付孔を結ぶ線を挟んで両側に位置し、且つ前記一対の切欠部の開口を結ぶ線が、前記取付孔の中心又はそれよりも前記電線接続部寄りの位置を通るように配置されているところに特徴を有する。
請求項4の発明は、請求項1ないし請求項3のいずれかに記載のものにおいて、記端子本体には、前記締付部材による締付け領域外に配置されて、前記取付孔を包囲する周方向に沿った形態の溝部が形成されているところに特徴を有する。
請求項5の発明は、請求項4に記載のものにおいて、前記溝部が、前記切欠部の奥端に連通した形態となっているところに特徴を有する。
請求項6の発明は、請求項4に記載のものにおいて、前記溝部が、前記切欠部とは非連通であって、前記溝部における前記切欠部の奥端に最も近い位置から前記取付孔の中心までの距離は、前記切欠部の奥端から前記取付孔の中心までの距離とほぼ同じ寸法とされているところに特徴を有する。
<請求項1の発明>
電線を引っ張ると、端子本体には、スリット状の切欠部を延長させるような亀裂が生じ、この亀裂により、端子本体が、電線接続部に連なる離脱領域と、締付部材の挟み付けにより接地部材に取り付けられた状態のままとなる残留領域とに分断され、端子本体の離脱領域が電線とともに接地部材から外される。本発明では、締付部材を緩めるという準備作業が不要なので、作業工数が少なくて済み、作業性に優れる。
<請求項2の発明>
電線に付与した引張力は、電線接続部を介して、端子本体の外周縁における切欠部の開口に直接作用するので、切欠部が開き易くなり、ひいては、端子本体が離脱領域と残留領域とに分裂し易くなる。
<請求項3の発明>
電線を接地部材から離すように引っ張ると、端子本体のうち一対の切欠部よりも電線接続部側の部分が、接地部材から離間し、離脱領域となって残留領域から分裂する。
<請求項4の発明>
端子本体は、溝部において容易に裂けるので、溝部を境界線として離脱領域と残留領域とに分裂し易い。
<請求項5の発明>
溝部が切欠部の奥端に連通しているので、端子本体は、離脱領域と残留領域とに分裂し易い。
<請求項6の発明>
切欠部の奥端から亀裂が延びたときに、その亀裂は確実に溝部に到達するようになり、端子本体は、離脱領域と残留領域とに分裂し易い。
<実施形態1>
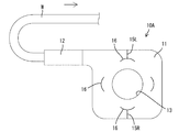
以下、本発明を具体化した実施形態1を図1乃至図8を参照して説明する。本実施形態のアース端子10Aは、自動車のボディ等の接地部材20の上面に、アース回路を構成する電線Wを電気的導通可能に接続するためのものであって、所定形状をなす金属板材に曲げ加工等を施して製造され、端子本体11と電線接続部12とを一体化した形態である。尚、以下の説明において、前後方向については、図1における右方を前方ということにする。
端子本体11は、全体として四隅が四半円弧形とされた正方形をなし、その板厚は全領域に亘って一定である。端子本体11の中央には、円形をなす取付孔13が、端子本体11の表面(上面)から裏面(下面)に貫通した形態で形成されている。取付孔13の中心から端子本体11の四辺までの距離は同じ寸法とされている。
電線接続部12は、端子本体11の一辺(後辺)における一方(左側)の端部から後方(図1における左方)へ延出した形態であり、端子本体11に対してほぼ面一状に連なる基板部の左右両側縁から上方(端子本体11の表面側)へ前後二対のカシメ片を立ち上げた周知のオープンバレル状をなすものである。電線接続部12の略前半領域は、基板部と前側の一対のカシメ片とで構成されたワイヤバレル部14aとなっており、略後半領域は、基板部と後側の一対のカシメ片とで構成されたインシュレーションバレル部14bとなっている。
かかる電線接続部12には、電線Wの前端部が周知構造のアプリケータと称される自動機(図示せず)を用いて圧着により電気的導通可能に固着されている。電線Wが圧着された状態では、電線Wのうち絶縁被覆Wbが除去されて絶縁被覆Wbから前方へ露出した導体Waが、ワイヤバレル部14aに圧着され、電線Wのうち絶縁被覆Wbで覆われている前端部が、インシュレーションバレル部14bに圧着されている。また、電線Wの軸線は、前後方向を向き、その軸線の延長線は、取付孔13の中心から左方へ外れた位置(取付孔13の開口領域よりも更に左方へ外れた位置)を通る。
かかるアース端子10Aを接地部材20に接続する際には、端子本体11を接地部材20の上面に載せて、接地部材20に形成されている雌ネジ孔21に取付孔13を対応させるように位置決めし、その状態で、上方からボルト25(本発明の構成要件である締付部材)の軸部26を取付孔13に貫通させて雌ネジ孔21に螺合する。ボルト25を締め付けると、ボルト25の頭部27が端子本体11の上面を押圧し、端子本体11のうち取付孔13の周縁部が頭部27と接地部材20との間で上下に挟み付けられる。これにより、アース端子10A(端子本体11)が、接地部材20に対して電気的導通可能に且つボルト25を中心とする水平回転を規制された状態で固着される。アース端子10Aが接地部材20に固着された状態では、電線Wが、接地部材20の上面に沿って水平に配索される。
次に、電線Wを接地部材20から簡単に外すための手段について説明する。端子本体11には、左右対称な一対のスリット状をなす切欠部15L,15Rと、4つのスリット状をなす溝部16とが形成されている。一対の切欠部15L,15Rは、電線接続部12に固着されている電線Wの軸線に対して直角をなす1本の仮想直線(図示せず)に沿うように延びており、その両切欠部15L,15Rを結ぶ仮想直線(図示せず)が取付孔13の中心を通るように位置している。また、左右方向における切欠部15L,15Rの奥端の位置は、端子本体11のうちボルト25の頭部27が接触して接地部材20側へ押圧される締付け領域よりも外側(端子本体11の外周縁寄り)に外れた位置に配されている。つまり、切欠部15L,15Rは取付孔13の開口領域とは非連通である。
4つの溝部16は、取付孔13と同心の周方向において90°の等ピッチで取付孔13の開口縁を包囲するように、取付孔13の前方、左右両側方及び後方の4箇所に配置されている。4つの溝部16は、全て同じ形状であり、取付孔13の開口縁よりも曲率半径の小さい円弧形をなしている。各溝部16は、その円弧が取付孔13とは反対側へ膨らむ向きに配置されている。これら4つの溝部16は、いずれも、切欠部15L,15Rと同様、ボルト25の頭部27による締付け領域よりも外側に外れた位置に配されている。各溝部16の両端部における接線方向線(図示しない仮想直線)は、周方向において隣り合う溝部16同士の間で一致するようになっている。つまり、4つの溝部16と、上記接線方向線のうち溝部16間の領域とを結ぶと、四隅が四半円弧をなす正方形が形成されるようになっている。また、4つの溝部16のうち左右一対の溝部16は、その長さ方向(周方向)における中央位置において一対の切欠部15L,15Rの奥端に連なっている。
次に、本実施形態の作用を説明する。
ボルト25によってアース端子10Aが接地部材20に固定されている状態において、電線Wを接地部材20から外す際には、ボルト25を緩めることなく、電線Wを掴んで引っ張ればよい。電線Wを引っ張る方向と形態については、図4〜図8のいずれであってもよい。
図4では、電線Wを接地部材20から離間するように上方へ引っ張っている。この場合、端子本体11の左側縁部(電線接続部12側の縁部)が左側の切欠部15Lとこの切欠部15Lに連なる溝部16を境として折れ曲がり、この溝部16の後端から後側の溝部16に向かって亀裂が生じ、更に、後側の溝部16から右側の溝部16に向かう亀裂が生じる。この結果、図3に示すように、一対の切欠部15L,15Rと、後側及び左右両側の3つの溝部16を通る境界線により、端子本体11が、ボルト25の頭部27で締め付けられて接地部材20に接触した状態のままで残る残留領域11Aと、電線接続部12を含んで接地部材20から離間する離脱領域11Bとの2つの領域に分断(分裂)する。これにより、電線Wが、離脱領域11Bとともに接地部材20から外される。
また、図5に示すように、電線Wを後方(電線Wの軸線と平行な方向)へ引っ張った場合には、端子本体11の左後端部が、左側の切欠部15Lとこの切欠部15Lに連なる溝部16が拡幅するように斜め後方へ変位し、この溝部16の後端から後側の溝部16に向かって亀裂が生じ、更に、後側の溝部16から右側の溝部16に向かう亀裂が生じる。その結果、電線Wを上方へ引っ張った場合と同様、図3に示すように、端子本体11は、離脱領域11Bと残留領域11Aとに分裂し、電線Wが接地部材20から外れる。また、図6の示すように、電線Wを右方へ引っ張った場合も、後方へ引っ張った場合と同様にして、端子本体11が分裂して電線Wが接地部材20から外される。
図7に示すように、電線Wを左方へ引っ張った場合には、端子本体11の右後端部が、右側の切欠部15Rとこの切欠部15Rに連なる溝部16が拡幅するように斜め後方へ変位し、この溝部16の後端から後側の溝部16に向かって亀裂が生じ、更に、後側の溝部16から左側の溝部16に向かう亀裂が生じる。その結果、電線Wを上方や後方や左方へ引っ張った場合と同様、図3に示すように、端子本体11は、離脱領域11Bと残留領域11Aとに分裂し、電線Wが接地部材20から外れる。また、図8の示すように、電線接続部12から左方へ折り返すように曲げた電線Wを前方へ引っ張った場合も、左方へ引っ張った場合と同様にして、端子本体11が分裂して電線Wが接地部材20から外される。
本実施形態においては、端子本体11に、端子本体11の外周縁に開口し、且つ取付孔13とは非連通のスリット状の切欠部15L,15Rを形成した。これにより、電線Wを掴んで引っ張るだけで、端子本体11には、スリット状の切欠部15L,15Rを延長させるような亀裂が生じ、この亀裂により、端子本体11が、電線接続部12に連なる離脱領域11Bと、ボルト25の挟み付けにより接地部材20に取り付けられた状態のままとなる残留領域11Aとに分断され、端子本体11の離脱領域11Bが電線Wとともに接地部材20から外される。このように、電線Wを接地部材20から外す際に、ボルト25を緩めるという準備作業が不要なので、作業工数が少なくて済み、作業性に優れる。
また、端子本体11の外周縁における切欠部15L,15Rの開口位置は、その開口位置と電線接続部12とを結んだ直線(図示せず)がボルト25による締付け領域外を通るように配置されている。これにより、電線Wに付与した引張力は、電線接続部12を介して、端子本体11の外周縁における切欠部15L,15Rの開口に直接作用するので、切欠部15L,15Rが開いて亀裂が生じ易くなり、ひいては、端子本体11が離脱領域11Bと残留領域11Aとに分裂し易くなる。
また、端子本体11の外周縁における一対の切欠部15L,15Rの開口は、電線接続部12と取付孔13を結ぶ仮想直線を挟んで左右両側に位置し、且つ一対の切欠部15L,15Rの開口同士を結ぶ仮想直線が、取付孔13の中心を通るように配置されている。これにより、電線Wを接地部材20から離すように引っ張ったときには、端子本体11のうち一対の切欠部15L,15Rよりも電線接続部12側の部分が、接地部材20から離間し、離脱領域11Bとなって残留領域11Aから分裂する。
また、端子本体11には、ボルト25による締付け領域外に配置されて、取付孔13を包囲する周方向に沿った形態の溝部16を形成しているので、端子本体11は、溝部16において容易に裂けるようになり、溝部16を境界線として離脱領域11Bと残留領域11Aとに分裂し易い。
また、溝部16が、切欠部15L,15Rの奥端に連通した形態となっているので、非連通の場合に比べると、端子本体11は、離脱領域11Bと残留領域11Aとに分裂し易くなっている。
<実施形態2>
以下、本発明を具体化した実施形態2を図9を参照して説明する。本実施形態2のアース端子10Bは4つの溝部16を実施形態1とは異なる形態としたものである。その他の構成及び作用、効果については、実施形態1と同じなので、同じ構成については同一符号を付して詳しい説明は省略する。
端子本体11における4つの溝部16は、実施形態1の4つの溝部16を、取付孔13と同心の円周方向において45°回転させた配置となっている。つまり、4つの溝部16は、取付孔13に対し、斜め右前方、斜め左前方、斜め右方向及び斜め左後方の4位置に配置されている。換言すると、切欠部15L,15Rの奥端は、周方向に隣り合う溝部16の間に位置している。したがって、4つの溝部16は、いずれも、切欠部15L,15Rとは連通していない。
本実施形態2において、電線Wを引っ張ると、左右いずれか一方の切欠部15L又は15Rの奥端から亀裂が発生し、その破裂が左右方向において同じ側に位置する溝部16の前端部に到達し、この溝部16の後端部から後側の一方の溝部16に向かう亀裂が生じ、後側の溝部16の他方の端部から隣り合う溝部16の後端部に向かう亀裂が生じ、その溝部16の前端から上記とは反対側の切欠部15R又は15Lの奥端に向かう亀裂が生じる。この結果、端子本体11が、電線接続部12を含んで接地部材20から離脱される離脱領域11Bと、ボルト25による締付け領域を含んで接地部材20に固定された状態のままとなる残留領域11Aとに分断され、電線Wが接地部材20から外される。
また、溝部16における切欠部15L,15Rの奥端に最も近い位置(即ち、溝部16の周方向における両端位置)から取付孔13の中心までの距離は、切欠部15L,15Rの奥端から取付孔13の中心までの距離とほぼ同じ寸法とされている。したがって、切欠部15L,15Rの奥端から亀裂が延びたときに、その亀裂は確実に溝部16に到達するようになり、端子本体11は、離脱領域11Bと残留領域11Aとに分裂し易い。
<実施形態3〜8>
以下、本発明を具体化した実施形態3〜8を図10乃至図15を参照して説明する。実施形態3〜8は、切欠部15の形態を実施形態1とは異ならせたものであり、溝部16については、実施形態1と同じ形態、実施形態2と同じ形態、溝部16が形成されていない形態のいずれかを適用できる。
図10に示す実施形態3のアース端子10Cは、端子本体11の左側縁から斜め後方へ曲線状に延びる1つの切欠部15を形成したものである。図11に示す実施形態4のアース端子10Dは、端子本体11の右側縁から斜め後方へ曲線状に延びる1つの切欠部15を形成したものである。図12に示す実施形態5のアース端子10Eは、端子本体11の左右両側縁から斜め後方へ曲線状に延びる一対の切欠部15を左右対称に形成したものである。図13に示す実施形態6のアース端子10Fは、端子本体11の後側縁における左右方向中央位置から前方へ直線状に延びる1つの切欠部15を形成したものである。図14に示す実施形態7のアース端子10Gは、端子本体11の左右両側縁から左右方向へ直線状に延びる一対の切欠部15を左右対称に形成したものである。図15に示す実施形態8のアース端子10Hは、端子本体11の前側縁から後方へ直線状に延びる1つの切欠部15を形成したものである。
<他の実施形態>
本発明は上記記述及び図面によって説明した実施形態に限定されるものではなく、例えば次のような実施態様も本発明の技術的範囲に含まれる。
(1)上記実施形態では、締付部材が、接地部材の螺合されるボルトである場合について説明したが、締付部材は、接地部材に立設されて取付孔を貫通するスタッドボルトと、このスタッドボルトに螺合されるナットとから構成されていてもよい。
(2)上記実施形態では、端子本体の外周縁における切欠部の開口位置を、その開口位置と電線接続部とを結んだ直線が締付部材による締付け領域外を通るように配置したが、これに替えて、端子本体の外周縁における切欠部の開口位置を、その開口位置と電線接続部とを結んだ直線が締付部材による締付け領域内を通るように配置してもよい。
(3)上記実施形態では、切欠部を、その全長に亘って端子本体の表面から裏面に貫通する形態としたが、切欠部は、その全長に亘って端子本体の表面から裏面に貫通しない形態(端子本体の表面又は裏面を溝状に凹ませた形態)としてもよく、貫通部分と非貫通部分とが混在する形態としてもよい。
(4)上記実施形態では、溝部を、その全長に亘って端子本体の表面から裏面に貫通する形態としたが、溝部は、その全長に亘って端子本体の表面から裏面に貫通しない形態(端子本体の表面又は裏面を溝状に凹ませた形態)としてもよく、貫通部分と非貫通部分とが混在する形態としてもよい。
(5)上記実施形態1では、溝部は、その長さ方向における略中央位置において切欠部に連通するようにしたが、溝部は、その長さ方向における端部位置において切欠部に連通するようにしてもよい。
(6)上記実施形態2では、溝部における切欠部の奥端に最も近い位置から取付孔の中心までの距離を、切欠部の奥端から取付孔の中心までの距離とほぼ同じ寸法としたが、これに替えて、溝部における切欠部の奥端に最も近い位置から取付孔の中心までの距離を、切欠部の奥端から取付孔の中心までの距離よりも長い寸法又は短い寸法としてもよい。
(7)上記実施形態2では、切欠部の奥端が、周方向に隣り合う溝部の間に位置するようにしたが、これに替えて、切欠部の奥端が、周方向において1つの溝部の略中央部分と対応するように位置してもよい。
(8)上記実施形態では電線接続部に接続された電線の軸線の延長線が、取付孔の中心から外れた位置を通る形態であるが、電線接続部に接続された電線の軸線の延長線が取付孔の中心を通過する形態、即ち電線接続部が端子本体の一辺における中央位置から延出する形態であってもよい。
実施形態1のアース端子の平面図 アース端子を接地部材に取り付けた状態をあらわす側面図 端子本体を分断した状態をあらわす平面図 電線を上方へ引っ張る様子をあらわす概略平面図 電線を後方へ引っ張る様子をあらわす概略平面図 電線を右方へ引っ張る様子をあらわす概略平面図 電線を左方へ引っ張る様子をあらわす概略平面図 電線を前方へ引っ張る様子をあらわす概略平面図 実施形態2のアース端子の平面図 実施形態3のアース端子の概略平面図 実施形態4のアース端子の概略平面図 実施形態5のアース端子の概略平面図 実施形態6のアース端子の概略平面図 実施形態7のアース端子の概略平面図 実施形態8のアース端子の概略平面図
符号の説明
W…電線
10A…アース端子
11…端子本体
12…電線接続部
13…取付孔
15L,15R…切欠部
16…溝部
20…接地部材
25…ボルト(締付部材)

Claims (6)

  1. 取付孔が形成され、接地部材に対し電気的導通可能に当接されるようになっている板状の端子本体と、
    前記端子本体の外周縁から突出した形態であって、電線が接続される電線接続部とを備え、
    前記端子本体における前記取付孔の周縁部が、前記接地部材と、前記取付孔に貫通させた締付部材との間で挟み付けられて固定されるようになっているアース端子において、
    前記端子本体には、前記端子本体の外周縁に開口し、且つ前記取付孔とは非連通のスリット状の切欠部が形成されていることを特徴とするアース端子。
  2. 前記端子本体の外周縁における前記切欠部の開口位置は、その開口位置と前記電線接続部とを結んだ直線が前記締付部材による締付け領域外を通るように配置されていることを特徴とする請求項1記載のアース端子。
  3. 前記切欠部は、一対、形成されており、
    前記端子本体の外周縁における前記一対の切欠部の開口は、
    前記電線接続部と前記取付孔を結ぶ線を挟んで両側に位置し、且つ前記一対の切欠部の開口を結ぶ線が、前記取付孔の中心又はそれよりも前記電線接続部寄りの位置を通るように配置されていることを特徴とする請求項1又は請求項2記載のアース端子。
  4. 前記端子本体には、前記締付部材による締付け領域外に配置されて、前記取付孔を包囲する周方向に沿った形態の溝部が形成されていることを特徴とする請求項1ないし請求項3のいずれか1項に記載のアース端子。
  5. 前記溝部が、前記切欠部の奥端に連通した形態となっていることを特徴とする請求項4記載のアース端子。
  6. 前記溝部が、前記切欠部とは非連通であって、
    前記溝部における前記切欠部の奥端に最も近い位置から前記取付孔の中心までの距離は、前記切欠部の奥端から前記取付孔の中心までの距離とほぼ同じ寸法とされていることを特徴とする請求項4記載のアース端子。
JP2008192836A 2008-07-25 2008-07-25 アース端子 Expired - Fee Related JP5168008B2 (ja)

Priority Applications (1)

Application Number Priority Date Filing Date Title
JP2008192836A JP5168008B2 (ja) 2008-07-25 2008-07-25 アース端子

Applications Claiming Priority (1)

Application Number Priority Date Filing Date Title
JP2008192836A JP5168008B2 (ja) 2008-07-25 2008-07-25 アース端子

Publications (2)

Publication Number Publication Date
JP2010033784A true JP2010033784A (ja) 2010-02-12
JP5168008B2 JP5168008B2 (ja) 2013-03-21

Family

ID=41738027

Family Applications (1)

Application Number Title Priority Date Filing Date
JP2008192836A Expired - Fee Related JP5168008B2 (ja) 2008-07-25 2008-07-25 アース端子

Country Status (1)

Country Link
JP (1) JP5168008B2 (ja)

Citations (7)

* Cited by examiner, † Cited by third party
Publication number Priority date Publication date Assignee Title
JP2000243377A (ja) * 1999-02-16 2000-09-08 Seiko Instruments Inc リード端子付電池
JP2002231334A (ja) * 2001-01-26 2002-08-16 Auto Network Gijutsu Kenkyusho:Kk ワイヤーハーネス用アース端子構造
JP2003047121A (ja) * 2001-07-27 2003-02-14 Sumitomo Wiring Syst Ltd アース端子
JP2003115292A (ja) * 2001-07-31 2003-04-18 Matsushita Electric Ind Co Ltd 端子付き電池
JP2003178822A (ja) * 2001-12-11 2003-06-27 Auto Network Gijutsu Kenkyusho:Kk アース端子
JP2003217696A (ja) * 2002-01-18 2003-07-31 Auto Network Gijutsu Kenkyusho:Kk ボルト止め端子
JP2009181944A (ja) * 2008-02-01 2009-08-13 Yazaki Corp フランジの固定構造

Patent Citations (7)

* Cited by examiner, † Cited by third party
Publication number Priority date Publication date Assignee Title
JP2000243377A (ja) * 1999-02-16 2000-09-08 Seiko Instruments Inc リード端子付電池
JP2002231334A (ja) * 2001-01-26 2002-08-16 Auto Network Gijutsu Kenkyusho:Kk ワイヤーハーネス用アース端子構造
JP2003047121A (ja) * 2001-07-27 2003-02-14 Sumitomo Wiring Syst Ltd アース端子
JP2003115292A (ja) * 2001-07-31 2003-04-18 Matsushita Electric Ind Co Ltd 端子付き電池
JP2003178822A (ja) * 2001-12-11 2003-06-27 Auto Network Gijutsu Kenkyusho:Kk アース端子
JP2003217696A (ja) * 2002-01-18 2003-07-31 Auto Network Gijutsu Kenkyusho:Kk ボルト止め端子
JP2009181944A (ja) * 2008-02-01 2009-08-13 Yazaki Corp フランジの固定構造

Also Published As

Publication number Publication date
JP5168008B2 (ja) 2013-03-21

Similar Documents

Publication Publication Date Title
JP3868234B2 (ja) 圧着端子
US8512070B2 (en) Spring loaded clamp
US9130284B2 (en) Crimp terminal
JPWO2014189054A1 (ja) 端子金具の接続構造
JP2010040404A (ja) 端子金具及びワイヤーハーネス
WO2010024033A1 (ja) 端子金具及び端子金具の製造方法
JP2000243469A (ja) 導電体接続エレメント
JP2018206520A (ja) シールドコネクタ構造
WO2017014057A1 (ja) シールドコネクタ
JP2015103494A (ja) アース端子
JP6259439B2 (ja) 接続端子
JP5168008B2 (ja) アース端子
WO2016143466A1 (ja) 端子付き電線及び端子
WO2016143468A1 (ja) 端子および端子付き電線
JP4640986B2 (ja) ケーブルコネクタ及びケーブル接続方法
JP2006338986A (ja) 同軸ケーブル用コネクタ
US7644541B2 (en) Terminal for enameled electric wires
WO2016143476A1 (ja) 端子および端子付き電線
JP3308809B2 (ja) ケーブル分岐コネクタ
TWI747897B (zh) 馬達之定子組裝方法及馬達之定子構造
JP2018081813A (ja) バッテリーポスト端子
JP2018049742A (ja) L字型同軸プラグ
JP6164255B2 (ja) 組合せ端子金具
JP3177782U (ja) ジャンクションボックス
JP2014093132A (ja) アース兼用ケーブルクランプ構造

Legal Events

Date Code Title Description
A621 Written request for application examination

Free format text: JAPANESE INTERMEDIATE CODE: A621

Effective date: 20110228

A977 Report on retrieval

Free format text: JAPANESE INTERMEDIATE CODE: A971007

Effective date: 20120625

A131 Notification of reasons for refusal

Free format text: JAPANESE INTERMEDIATE CODE: A131

Effective date: 20120703

A521 Written amendment

Free format text: JAPANESE INTERMEDIATE CODE: A523

Effective date: 20120820

A01 Written decision to grant a patent or to grant a registration (utility model)

Free format text: JAPANESE INTERMEDIATE CODE: A01

Effective date: 20121127

A61 First payment of annual fees (during grant procedure)

Free format text: JAPANESE INTERMEDIATE CODE: A61

Effective date: 20121210

LAPS Cancellation because of no payment of annual fees