JP2010033000A - トナー及び現像剤 - Google Patents
トナー及び現像剤 Download PDFInfo
- Publication number
- JP2010033000A JP2010033000A JP2009007877A JP2009007877A JP2010033000A JP 2010033000 A JP2010033000 A JP 2010033000A JP 2009007877 A JP2009007877 A JP 2009007877A JP 2009007877 A JP2009007877 A JP 2009007877A JP 2010033000 A JP2010033000 A JP 2010033000A
- Authority
- JP
- Japan
- Prior art keywords
- toner
- vibration
- mass
- addition polymerizable
- copolymer
- Prior art date
- Legal status (The legal status is an assumption and is not a legal conclusion. Google has not performed a legal analysis and makes no representation as to the accuracy of the status listed.)
- Granted
Links
Images
Landscapes
- Developing Agents For Electrophotography (AREA)
Abstract
【解決手段】少なくとも結着樹脂、着色剤、及び帯電制御剤を含有するトナー組成物を有機溶剤に溶解ないしは分散したトナー組成液を、気相中で液滴化し、次いで該液滴を固化することによって製造されたトナーであって、前記帯電制御剤が付加重合性官能基を含むフルオロアルキルシルセスキオキサン(b1)と付加重合性単量体(b2)からなる共重合体であることを特徴とするトナー。
【選択図】なし
Description
これらの帯電特性を向上させるため従来からさまざまな帯電制御剤が提案され、一部実用化されているが、これら全ての帯電特性を充分に満足させる帯電制御剤は見出されていない。
これらの欠点の改良とともに、近年の環境負荷低減の要求から、トナーの粒度分布が狭く、トナー粒子表面の均一性が得られ、省エネルギーで環境汚染の少ない製造方法が求められている。
これらの重合型トナーは粉砕法トナーに比べて、トナー粒子表面の均一性が得られ易く、粒度分布も狭くできると言った利点があるものの、水系媒体中で分散剤を使用するために、トナーの帯電特性を損なう分散剤がトナー表面に残存して帯電量の環境安定性が損なわれるという問題が発生しやすく、この分散剤をできるだけ除去するために非常に大量の洗浄水を必要とすることが知られており、環境負荷の面から必ずしも満足のいく製法とは言えない。
これに代わるトナーの製造方法として、水を使わずにトナー組成液を気相中で液滴化した後に固化する、いわゆるスプレードライ法も提案されているが、粒度分布が広いといった欠点がある。
特に、付加重合性官能基を含むフルオロアルキルシルセスキオキサン(b1)と付加重合性単量体(b2)からなる共重合体を含むトナー組成物を有機溶剤に溶解ないしは分散したトナー組成液を、気相中で液滴化し、次いで該液滴を固化する製造方法によりトナー粒子表面の帯電均一性が得られ、トナー組成液を、微小な開口径の複数のノズルから機械的振動手段により周期的に放出し、気相中で液滴化することによりトナーの粒度分布が非常にシャープとすることにより現像を繰り返しても安定した画像を得ることができることを見出した。具体的な手段を以下に示した。
(2)前記液滴化が前記トナー組成液を、同じ開口径の複数のノズルを有する薄膜を機械的振動手段によって振動させることにより周期的に放出することによって行われたことを特徴とする(1)に記載のトナー。
(3)前記機械的振動手段が、前記薄膜のノズルを設けた領域の周囲に円環状に形成された振動発生手段であることを特徴とする(2)に記載のトナー。
(4)前記機械的振動手段は、前記薄膜に対して平行な振動面を有し、該振動面が垂直方向に縦振動する振動手段であることを特徴とする(2)に記載のトナー。
(5)前記機械的振動手段は、前記薄膜に対して平行な振動面を有し、該振動面が垂直方向に縦振動する振動手段であり、液の共振現象を利用してトナー組成液を前記薄膜に設けた複数のノズルから周期的に液滴化して放出させたことを特徴とする請求項3に記載のトナー。
(6)前記機械的振動手段がホーン型振動子であることを特徴とする(4)又は(5)に記載のトナー。
(7)前記付加重合性官能基を含むフルオロアルキルシルセスキオキサン(b1)と付加重合性単量体(b2)からなる共重合体におけるフッ素の含有量が7〜30質量%であることを特徴とする(1)〜(6)のいずれかに記載のトナー。
(8)前記付加重合性官能基を含むフルオロアルキルシルセスキオキサン(b1)と付加重合性単量体(b2)からなる共重合体の重量平均分子量が5000〜100000であることを特徴とする(1)〜(7)のいずれかに記載のトナー。
(9)前記付加重合性官能基を含むフルオロアルキルシルセスキオキサン(b1)と付加重合性単量体(b2)からなる共重合体のガラス転移点が50〜95℃あることを特徴とする(1)〜(8)のいずれかに記載のトナー。
(10)前記付加重合性官能基を含むフルオロアルキルシルセスキオキサン(b1)と付加重合性単量体(b2)からなる共重合体の含有量が、トナー組成物100質量部に対して0.05〜5質量部であることを特徴とする(1)〜(9)のいずれかに記載のトナー。
(11)前記トナー組成液の固形分が5〜40質量%であることを特徴とする(1)〜(10)のいずれかに記載のトナー。
(12)重量平均粒径が1〜15μmであり、粒度分布(重量平均粒径/個数平均粒径)が、1.00〜1.15の範囲にあることを特徴とする(1)〜(11)のいずれかに記載のトナー。
(13)少なくとも(1)〜(12)のいずれかに記載のトナーと磁性粒子を含むキャリアを含有することを特徴とする二成分系の現像剤。
以下にこれらのトナー用材料の詳細について述べる。
本発明のトナーは、帯電制御剤として少なくとも付加重合性官能基を含むフルオロアルキルシルセスキオキサン(b1)と付加重合性単量体(b2)からなる共重合体である。
前記の付加重合性官能基を含むフルオロシルセスキオキサン(b1)(以下、単にフルオロシルセスキオキサン(b1)と略記する)は、その分子構造にシルセスキオキサン骨格を有する。シルセスキオキサンとは、[(R-SiO1.5)n]で示される(Rは任意の置換基である)ポリシロキサンの総称である。このシルセスキオキサンの構造は、そのSi-O-Si骨格に応じて、一般的にランダム構造、ラダー構造、カゴ構造に分類される。さらに、カゴ構造はT8、T10、T12型などに分類される。その中で、本発明に使用されるフルオロシルセスキオキサン(b1)は、好ましくはT8型[(R-SiO1.5)8]のカゴ構造を有する。
上記のフルオロシルセスキオキサン(b1)は、1つの付加重合性官能基を有することを特徴とする。すなわち、下記(1)式で示したシルセスキオキサン[(R−SiO1.5)8]のRのうちの1つが付加重合性官能基である。
ルオロアリールアルキル、又はフルオロアリールを有することを特徴とする。すなわち、シルセスキオキサン(R−SiO1.5)nのRの1つ以上、好ましくは前記の付加重合性官能基以外のRがすべてフルオロアルキル、フルオロアリールアルキル及び/又はフルオロアリールである。
本発明の共重合体においては、前記のフルオロシルセスキオキサン(b1)に加え、必要に応じて前記付加重合性単量体(b2)も併用することができる。
前記付加重合性単量体(b2)としては、1つの付加重合性二重結合を有する(メタ)アクリル酸誘導体及び1つの付加重合性二重結合を有するスチレン誘導体が挙げられる。
含まれる。
本発明で好ましく用いられる付加重合性単量体(b2)の例には、サイラプレーン FM0711(チッソ株式会社製)、サイラプレーン FM0721(チッソ株式会社製)、サイラプレーン FM0725 (チッソ株式会社製)などオルガノポリシロキサンも含まれる。
なお、上記付加重合性単量体(b2)は1種類を単独で用いてもよく、複数種を組み合わせて用いてもよい。複数種を組み合わせて用いる場合には、目的とする共重合体の特定に応じて各種の組成比を適宜調整して用いることができる。
付加重合性官能基を含むフルオロアルキルシルセスキオキサン(b1)と付加重合性単量体(b2)からなる共重合体の重量平均分子量は、フルオロシルセスキオキサン(b1)
由来の構造単位の含有率などによって異なるが、5000〜10万であることが帯電性の
面から好ましい。一方、上記の付加共重合体の分子量分布(Mw/Mn)は、目安として
1.01〜2.5程度である。
付加重合は、重合開始剤を用いて行うことができる。
用いられる重合開始剤の例には、2,2'-アゾビスイソブチロニトリル、2,2'-アゾビス(2,4-ジメチルバレロニトリル)、2,2'-アゾビス(2-ブチロニトリル)、ジメチル-2,2'-アゾビスイソブチレート、1,1'-アゾビス(シクロヘキサン-1-カルボニトリル)などのアゾ化合物;ベンゾイルパーオキサイド、ラウリルパーオキサイド、オクタノイルパーオキサイド、アセチルパーオキサイド、ジ-t-ブチルパーオキサイド、t-ブチルクミルパーオキサイド、ジクミルパーオキサイド、t-ブチルパーオキシアセテート、t-ブチルパーオキシベンゾエート、t-ブチルパーオキシネオデカノエートなどの過酸化物;およびテトラエチルチウラムジスルフィドなどのジチオカルバメート;などのラジカル重合開始剤が含まれる。
さらに重合反応の例には、リビングラジカル重合、および活性エネルギー線重合などが含まれる。
・引用文献A: 蒲池幹治、遠藤剛監修、ラジカル重合ハンドブック、1999年8月10日発行、エヌティーエス発行)。
・引用文献B: HANDBOOK OF RADICAL POLYMERIZATION, K. Matyjaszewski, T. P. Davis, Eds., John Wiley and Sons, Canada 2002
・引用文献C: 特開2005-105265
活性エネルギー線重合は、引用文献Dに記載の化合物を活性エネルギー線重合開始剤として用いて行うことができる。
・引用文献D: フォトポリマー懇話会編、感光材料リストブック、1996年3月31日、ぶんしん出版発行)
れる。
上記の付加共重合において用いられる重合開始剤の量は、単量体の総モル数に対して0.01〜10mol%とすればよい。
ール、チオフェノール、n-ブチルメルカプタン、エチルチオグリコレート、メルカプトエタノール、メルカプト酢酸、イソプロピルメルカプタン、t-ブチルメルカプタン、ドデカンチオール、チオリンゴ酸、ペンタエリスリトールテトラ(3-メルカプトプロピオネート)、ペンタエリスリトールテトラ(3-メルカプトアセテート)などのメルカプタン類;ジフェニルジサルファイド、ジエチルジチオグリコレート、ジエチルジサルファイドなどのジサルファイド類;などのほか、トルエン、メチルイソブチレート、四塩化炭素、イソプロピルベンゼン、ジエチルケトン、クロロホルム、エチルベンゼン、塩化ブチル、s-ブチルアルコール、メチルエチルケトン、メチルイソブチルケトン、塩化プロピレン、メチルクロロホルム、t-ブチルベンゼン、n-ブチルアルコール、イソブチルアルコール、酢酸、酢酸エチル、アセトン、ジオキサン、四塩化エタン、クロロベンゼン、メチルシクロヘキサン、t−ブチルアルコール、ベンゼンなどが含まれ、好ましくはメルカプタン類である。特にメルカプト酢酸は、共重合体の分子量を下げて、分子量分布を均一にさせ得る。連鎖移動剤は単独でも、または2種以上を混合しても使用することができる。
上記の溶液重合法による場合には、適切な溶剤中に、フルオロシルセスキオキサン(b1)、ならびに付加重合性単量体 (b2)、さらに重合開始剤、および連鎖移動剤などを溶
解して、加熱または活性エネルギー線を照射して付加重合反応させればよい。
溶液中に得られた共重合体は、常法により精製または単離されてもよく、その溶液のまま用いられてもよい。
例えばニグロシン系染料、トリフェニルメタン系染料、クロム含有金属錯体染料、モリブデン酸キレート顔料、ローダミン系染料、アルコキシ系アミン、4級アンモニウム塩、アルキルアミド、燐の単体または化合物、タングステンの単体または化合物、フッ素系活性剤、サリチル酸金属塩及び、サリチル酸誘導体の金属塩等である。具体的にはニグロシン系染料のボントロン03、第四級アンモニウム塩のボントロンP−51、含金属アゾ染料のボントロンS−34、オキシナフトエ酸系金属錯体のEー82、サリチル酸系金属錯体のE−84、フェノール系縮合物のE−89(以上、オリエント化学工業社製)、第四級アンモニウム塩モリブデン錯体のTP−302、TP−415(以上、保土谷化学工業社製)、第四級アンモニウム塩のコピーチャージPSY VP2038、トリフェニルメタン誘導体のコピーブルーPR、第四級アンモニウム塩のコピーチャージ NEG VP2036、コピーチャージ NX VP434(以上、ヘキスト社製)、LRAー901、ホウ素錯体であるLR−147(日本カ一リット社製)、銅フタロシアニン、ペリレン、キナクリドン、アゾ系顔料、その他スルホン酸基、カルボキシル基、四級アンモニウム塩等の官能基を有する高分子系の化合物が挙げられる。
結着樹脂としては従来公知のトナー用結着樹脂が用いられるが、溶剤に溶解する場合は架橋構造をもたないものが好ましい。
例えば、スチレン系単量体、アクリル系単量体、メタクリル系単量体等のビニル重合体、これらの単量体又は2種類以上からなる共重合体、ポリエステル系樹脂、ポリオール樹脂、フェノール樹脂、ポリウレタン樹脂、ポリアミド樹脂、エポキシ樹脂、キシレン樹脂、テルペン樹脂、クマロンインデン樹脂、ポリカーボネート樹脂、石油系樹脂、などが挙げられる。
これらのうち、ポリエステル系樹脂やスチレン系単量体と(メタ)アクリル系単量体の共重合体樹脂が好ましく用いられる。
2価のアルコール成分としては、例えば、エチレングリコール、プロピレングリコール、1,3−ブタンジオール、1,4−ブタンジオール、2,3−ブタンジオール、ジエチレングリコール、トリエチレングリコール、1,5−ペンタンジオール、1,6−へキサンジオール、ネオペンチルグリコール、2−エチル−1,3−ヘキサンジオール、水素化ビスフェノールA、又は、ビスフェノールAにエチレンオキシド、プロピレンオキシド等の環状エーテルが重合して得られるジオール、などが挙げられる。
高温雰囲気下でトナーが劣化しやすく、Tgが80℃を超えると、定着性が低下することがある。
前記着色剤としては、特に制限はなく、通常使用される着色剤を適宜選択して使用することができるが、例えば、カーボンブラック、ニグロシン染料、鉄黒、ナフトールイエローS、ハンザイエロー(10G、5G、G)、カドミウムイエロー、黄色酸化鉄、黄土、黄鉛、チタン黄、ポリアゾイエロー、オイルイエロー、ハンザイエロー(GR、A、RN、R)、ピグメントイエローL、ベンジジンイエロー(G、GR)、パーマネントイエロー(NCG)、バルカンファストイエロー(5G、R)、タートラジンレーキ、キノリンイエローレーキ、アンスラザンイエローBGL、イソインドリノンイエロー、ベンガラ、鉛丹、鉛朱、カドミウムレッド、カドミウムマーキュリレッド、アンチモン朱、パーマネントレッド4R、パラレッド、ファイセーレッド、パラクロルオルトニトロアニリンレッド、リソールファストスカーレットG、ブリリアントファストスカーレット、ブリリアントカーンミンBS、パーマネントレッド(F2R、F4R、FRL、FRLL、F4RH)、ファストスカーレットVD、ベルカンファストルビンB、ブリリアントスカーレットG、リソールルビンGX、パーマネントレッドF5R、ブリリアントカーミン6B、ポグメントスカーレット3B、ボルドー5B、トルイジンマルーン、パーマネントボルドーF2K、ヘリオボルドーBL、ボルドー10B、ボンマルーンライト、ボンマルーンメジアム、エオシンレーキ、ローダミンレーキB、ローダミンレーキY、アリザリンレーキ、チオインジゴレッドB、チオインジゴマルーン、オイルレッド、キナクリドンレッド、ピラゾロンレッド、ポリアゾレッド、クロームバーミリオン、ベンジジンオレンジ、ペリノンオレンジ、オイルオレンジ、コバルトブルー、セルリアンブルー、アルカリブルーレーキ、ピーコックブルーレーキ、ビクトリアブルーレーキ、無金属フタロシアニンブルー、フタロシアニンブルー、ファストスカイブルー、インダンスレンブルー(RS、BC)、インジゴ、群青、紺青、アントラキノンブルー、ファストバイオレットB、メチルバイオレットレーキ、コバルト紫、マンガン紫、ジオキサンバイオレット、アントラキノンバイオレット、クロムグリーン、ジンクグリーン、酸化クロム、ピリジアン、エメラルドグリーン、ピグメントグリーンB、ナフトールグリーンB、グリーンゴールド、アシッドグリーンレーキ、マラカイトグリーンレーキ、フタロシアニングリーン、アントラキノングリーン、酸化チタン、亜鉛華、リトボン及びこれらの混合物、などが挙げられる。
前記着色剤の含有量としては、トナーに対して1〜15質量%が好ましく、3〜10質量%がより好ましい。
前記マスターバッチの使用量としては、結着樹脂100質量部に対して、2〜30質量部が好ましい。
前記分散剤の添加量は、着色剤100質量部に対して1〜50質量部であることが好ましく、5〜30質量部であることがより好ましい。1質量部未満であると分散能が低くなることがあり、50質量部を超えると帯電性が低下することがある。
本発明では、定着時のオフセット防止を目的として離型剤としてワックス類を含有させることができる。
ワックス類としては、特に制限はなく、通常トナー用離型剤として使用されるものを適宜選択して使用することができるが、例えば、低分子量ポリエチレン、低分子量ポリプロピレン、ポリオレフィンワックス、マイクロクリスタリンワックス、パラフィンワックス、サゾールワックス等の脂肪族炭化水素系ワックス、酸化ポリエチレンワックス等の脂肪族炭化水素系ワックスの酸化物又はそれらのブロック共重合体、キャンデリラワックス、カルナバワックス、木ろう、ホホバろう等の植物系ワックス、みつろう、ラノリン、鯨ろう等の動物系ワックス、オゾケライト、セレシン、ペテロラタム等の鉱物系ワックス、モンタン酸エステルワックス、カスターワックスの等の脂肪酸エステルを主成分とするワックス類。脱酸カルナバワックスの等の脂肪酸エステルを一部又は全部を脱酸化したもの、などが挙げられる。
本発明では、DSCにおいて測定されるワックスの吸熱ピークの最大ピークのピークトップの温度をもってワックスの融点とする。
前記ワックス又はトナーのDSC測定機器としては、高精度の内熱式入力補償型の示差走査熱量計で測定することが好ましい。測定方法としては、ASTM D3418−82に準じて行う。本発明に用いられるDSC曲線は、1回昇温、降温させ前履歴を取った後、温度速度10℃/minで、昇温させた時に測定されるものを用いる。
本発明においては、離型剤の添加量がトナーに対して1〜30質量%であることが好ましく、2〜20質量%であることがさらに好ましい。
本発明のトナーは、必要に応じて磁性体を含有させて磁性トナーとすることができる。磁性体としては、例えば、(1)マグネタイト、マグヘマイト、フェライトの如き磁性酸化鉄、及び他の金属酸化物を含む酸化鉄、(2)鉄、コバルト、ニッケル等の金属、又は、これらの金属とアルミニウム、コバルト、銅、鉛、マグネシウム、錫、亜鉛、アンチモン、ベリリウム、ビスマス、カドミウム、カルシウム、マンガン、セレン、チタン、タングステン、バナジウム等の金属との合金、(3)及びこれらの混合物、などが用いられる。
磁性体として具体的に例示すると、Fe3O4、γ−Fe2O3、ZnFe2O4、Y3Fe5O12、CdFe2O4、Gd3Fe5O12、CuFe2O4、PbFe12O、NiFe2O4、NdFe2O、BaFe12O19、MgFe2O4、MnFe2O4、LaFeO3、鉄粉、コバルト粉、ニッケル粉、などが挙げられる。これらは、1種単独で使用してもよいし、2種以上を組み合わせて使用してもよい。これらの中でも特に、四三酸化鉄、γ−三二酸化鉄の微粉末が好適に挙げられる。
前記異種元素は、磁性体生成時にそれぞれの異種元素の塩を混在させ、pH調整により、粒子中に取り込むことができる。また、磁性体粒子生成後にpH調整、あるいは各々の元素の塩を添加しpH調整することにより、粒子表面に析出することができる。
また、磁性体の磁気特性としては、10Kエルステッド印加での磁気特性がそれぞれ、抗磁力20〜150エルステッド、飽和磁化50〜200emu/g、残留磁化2〜20emu/gのものが好ましい。
前記磁性体は、着色剤としても使用することができる。
結着樹脂、着色剤、帯電制御剤等のトナー組成物を有機溶剤に溶解乃至は分散することによりトナー組成液を得ることができる。トナー組成液を気相中で液滴化し乾燥してトナーを製造する場合に用いられ、結着樹脂を溶解し、分散体が安定に分散でき、容易に乾燥できる有機溶剤が選択される。
有機溶剤としては、例えば、エーテル類、ケトン類、エステル類、炭化水素類、アルコール類の溶剤が好ましく用いられ、特にテトラヒドロフラン(THF)、アセトン、メチルエチルケトン(MEK)、酢酸エチル、トルエン、メタノール、エタノール等が好ましく用いられ、これらは単独でも混合して用いてもかまわない。
トナー組成液の固形分は5〜40質量%であることが好ましい。固形分が5質量%未満であると生産性が低下するだけでなく、着色剤や離型剤微粒子、磁性体といった分散体が沈降や凝集を起こしやすくなりためトナー粒子ごとの組成が不均一になりやすくトナー品質が低下する場合がある。固形分が40質量%を超えると小粒径のトナーが得られない場合がある。
本発明のトナーには、流動性向上剤を添加してもよい。該流動性向上剤は、トナー表面に添加することにより、トナーの流動性を改善(流動しやすくなる)するものである。
前記流動性向上剤としては、例えば、フッ化ビニリデン微粉末、ポリテトラフルオロエチレン微粉末の如きフッ素系樹脂粉末、湿式製法シリカ、乾式製法シリカの如き微粉末シリカ、微粉未酸化チタン、微粉未アルミナ、それらをシランカップリング剤、チタンカップリング剤若しくはシリコーンオイルにより表面処理を施した処理シリカ、処理酸化チタン、処理アルミナ、などが挙げられる。これらの中でも、微粉末シリカ、微粉未酸化チタン、微粉未アルミナが好ましく、また、これらをシランカップリング剤やシリコーンオイルにより表面処理を施した処理シリカが更に好ましい。
前記流動性向上剤の粒径としては、平均一次粒径として、0.001〜2μmであることが好ましく、0.002〜0.2μmであることがより好ましい。
ケイ素ハロゲン化合物の気相酸化により生成された市販のシリカ微粉体としては、例えば、AEROSIL(日本アエロジル社商品名、以下同じ)−130、−300、−380、−TT600、−MOX170、−MOX80、−COK84:Ca−O−SiL(CABOT社商品名)−M−5、−MS−7、−MS−75、−HS−5、−EH−5、Wacker HDK(WACKER−CHEMIEGMBH社商品名)−N20 V15、−N20E、−T30、−T40:D−CFineSi1ica(ダウコーニング社商品名):Franso1(Fransi1社商品名)、などが挙げられる。
BET法で測定した窒素吸着による比表面積としては、30m2/g以上が好ましく、60〜400m2/gがより好ましい。
表面処理された微粉体としては、20m2/g以上が好ましく、40〜300m2/gがより好ましい。
これらの微粉体の適用量としては、トナー粒子100質量部に対して0.03〜8質量部が好ましい。
記録紙等にトナーを転写した後、静電潜像担持体や一次転写媒体に残存するトナの除去性を向上させるためのクリーニング性向上剤としては、例えば、ステアリン酸亜鉛、ステアリン酸カルシウム、ステアリン酸等の脂肪酸金属塩、ポリメチルメタクリレート微粒子、ポリスチレン微粒子等のソープフリー乳化重合によって製造されたポリマー微粒子、などを挙げることかできる。ポリマー微粒子は比較的粒度分布が狭く、体積平均粒径が0.01〜1μmのものが好ましい。
これらの流動性向上剤やクリーニング性向上剤等はトナーの表面に付着乃至は固定化させて用いられるため、外添剤とも呼ばれており、トナーに外添する方法としては各種の粉体混合機等が用いられる。例えば、V型混合機、ロッキングミキサー、レーディゲミキサー、ナウターミキサー、ヘンシェルミキサー、などが挙げられ、固定化も行う場合はハイブリタイザー、メカノフュージョン、Qミキサー等が挙げられる。
トナー粒径が小さいほど、ドットや細線の再現性が向上し、ざらつきがなくシャープで高品位な画像が得られるが、トナー粒径が小さすぎると見掛けの付着力が増加して現像性や転写性を低下させるため、重量平均粒径として1〜15μmが好ましく、2〜10μmがさらに好ましく、3〜8μmがさらに好ましい。
粒度分布は重量平均粒径(Dv)と個数平均粒径(Dn)の比Dv/Dnで表され、Dv/
Dn=1であれば均一な粒径を持った単分散のトナーであり、通常の粉砕トナーのDv/D
nは分級による生産性の低下を考慮して1.2〜1.4程度である。電子写真現像法は一成分現像方式と二成分現像方式に大別されるが、いずれの現像方式においても現像され易い粒径が存在するため、現像を繰り返すことにより現像装置内に残っているトナーの粒径や粒度分布が変化するため、画像品質が変化してしまうためできるだけ粒度分布が狭いことが望ましい。現像を繰り返しても非常に安定した画像を得るためにはDv/Dnは1.00〜1.15であることが好ましく、さらに好ましくは1.00〜1.10である。
本発明のトナーは、キャリアと混合して二成分現像剤として使用することができる。前記キャリアとしては、通常のフェライト、マグネタイト等のキャリアも樹脂コートキャリアも使用することができる。
前記樹脂コートキャリアは、キャリアコア粒子とキャリアコア粒子表面を被覆(コート)する樹脂である被覆材からなる。
また、樹脂中に磁性粉が分散されたバインダー型のキャリアコアも用いることができる。
前記樹脂コートキャリアに対する樹脂被覆材の割合としては、適宜決定すればよいが、樹脂コートキャリアに対し0.01〜5質量%が好ましく、0.1〜1質量%がより好ましい。
含フッ素樹脂とスチレン系共重合体との混合物としては、例えば、ポリフッ化ビニリデンとスチレン−メタクリ酸メチル共重合体との混合物、ポリテトラフルオロエチレンとスチレン−メタクリル酸メチル共重合体との混合物、フッ化ビニリデン−テトラフルオロエチレン共重合(共重合体質量比10:90〜90:10)とスチレン−アクリル酸2−エチルヘキシル共重合体(共重合質量比10:90〜90:10)とスチレン−アクリル酸2−エチルヘキシル−メタクリル酸メチル共重合体(共重合体質量比20〜60:5〜30:10:50)との混合物が挙げられる。
また、これらの磁性材料に含まれる元素としては、鉄、コバルト、ニッケル、アルミニウム、銅、鉛、マグネシウム、スズ、亜鉛、アンチモン、ベリリウム、ビスマス、カルシウム、マンガン、セレン、チタン、タングステン、バナジウムが挙げられる。これらの中でも特に、銅、亜鉛、及び鉄成分を主成分とする銅−亜鉛−鉄系フェライト、マンガン、マグネシウム及び鉄成分を主成分とするマンガン−マグネシウム−鉄系フェライトが好適に挙げられる。
前記キャリアの粒径としては、4〜200μmのものが使用できるが、10〜150μmが好ましく、20〜100μmがより好ましい。特に、樹脂コートキャリアは、50%粒径が20〜70μmであることが好ましい。
2成分系現像剤では、キャリア100質量部に対して、本発明のトナー1〜200質量部で使用することが好ましく、キャリア100質量部に対して、トナー2〜50質量部で使用するのがより好ましい。
また、本発明のトナーはキャリアを使用しない一成分系の磁性トナー、または非磁性トナーとしても用いることができる。
従来のトナーの製造方法である粉砕法と本発明の製造方法である噴霧法及び振動噴射法について説明する。
<粉砕法>
従来から行われている一般的なトナーの製造方法であり、トナー組成物を二本ロールや二軸押し出し機などにより溶融混練し、冷却後、粗粉砕、微粉砕、分級を行い、必要に応じてヘンシェルミキサーなどで流動化剤などの外添剤の混合を行う方法である。粗粉砕ではロートプレックスやパルペライザー、微粉砕ではジェットミルやターボミル、分級ではエルボジェットや各種の風力分級装置等の公知の製造装置を用いることができる。
同じ開口径の複数のノズルを有する薄膜を機械的に振動させることによって、該ノズルからトナー組成液を周期的に放出することにより均一粒径の液滴を生成し、乾燥してトナー粒子を得る方法である。機械的振動手段は、ノズルを有する膜に対して垂直方向に振動すればどのような配置でもよいが、本発明においては次の二通りの方式が好ましく用いられる。
一つは、複数のノズルを有する薄膜に対して平行な振動面を有し、垂直方向に縦振動する機械的手段(機械的縦振動手段)を用いる方式であり、他の一つは、複数のノズルを有する薄膜のノズルを設けた領域の周囲に円環状に形成された機械的振動手段(円環状機械的振動手段)を設ける方式である。
以下、各方式について説明する。
まず、機械的縦振動手段を設けたトナー製造装置の一例について図1の模式的構成図を参照して説明する。
トナーの製造装置1はトナー組成液を同じ開口径の複数のノズルから周期的に放出し、気相中で液滴化する周期的液滴化工程における液滴化手段としての液滴噴射ユニット2と、この液滴噴射ユニット2が上方に配置され、液滴噴射ユニット2から放出される液滴化されたトナー組成液の液滴を固化してトナー粒子Tを形成する粒子形成工程における粒子化手段としての粒子形成部3と、粒子形成部3で形成されたトナー粒子Tを捕集するトナー捕集部4と、トナー捕集部4で捕集されたトナー粒子Tがチューブ5を介して移送され、移送されたトナー粒子Tを貯留するトナー貯留手段としてのトナー貯留部6と、トナー組成液10を収容する原料収容部7と、この原料収容部7内から液滴噴射ユニット2に対してトナー組成液10を送液する配管(送液管)8と、稼動時などにトナー組成液10を圧送供給するためのポンプ9とを備えている。
図2は同液滴噴射ユニット2の概略断面説明図、図3は図2を下側から見た要部底面説明図である。
この液滴噴射ユニット2は、複数のノズル(吐出口)11が形成された薄膜12と、この薄膜12を振動させる機械的振動手段(以下「振動手段という)13と、薄膜12と振動手段13との間にトナー組成液10を供給する貯留部(液流路)14を形成する流路部材15とを備えている。
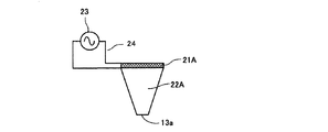
振動手段13は、ノズル11を有する薄膜12に対して垂直方向の振動を与えるものであれば、どのような配置でもよいが、振動面13aと薄膜12とは平行に配置される。
図示した例では振動発生手段21と振動増幅手段22で構成される振動手段13としてホーン型振動子を用いており、このホーン型振動子は、圧電素子などの振動発生手段21の振幅を振動増幅手段22としてのホーン22Aで増幅することができるため、機械的振動を発生する振動発生手段21自体は小さな振動でよく、機械的負荷が軽減するために生産装置としての長寿命化につながる。
また、振動手段13としては、特に高強度なボルト締めランジュバン型振動子を用いることもできる。このボルト締めランジュバン型振動子は圧電セラミックスが機械的に結合されており、高振幅励振時に破損することがない。
この場合、振動面とは、前記複数のノズルを有する薄膜が貼り合わされた面と定義される。
図7に示す例は、振動手段80(13)として、振動発生部としての圧電体81及び振動増幅部としてのホーン82で構成されるホーン型振動子80を用いて、ホーン82の一部に貯留部(流路)14を形成したものである。この液滴噴射ユニット2は、ホーン型振動子80のホーン82に一体形成した固定部(フランジ部)83によって粒子形成部3(乾燥手段)の壁面に固定されていることが好ましい、振動の損失を防ぐ観点から、図示しない弾性体を用いて固定してもよい。
この液滴噴射ユニット2は、前述した例と同様に、ホーン型振動子を振動手段13を用いて、この振動発生手段13の周囲を囲んでトナー組成液10を供給する流路部材15を配置し、振動発生手段13のホーン22に薄膜12と対向する部分に貯留部14を形成している。さらに、流路部材15の周囲に所要の間隔を置いて気流35を流す気流路37を形成する気流路形成部材36を配置している。なお、図示を簡略化するため、薄膜12のノズル11は1個で示しているが、前述したように複数個設けられている。
また、図10に示すように、複数、例えば制御性の観点からは100〜1,000個の液滴噴射ユニット2を、粒子形成部3を構成する乾燥塔の上部に並べて配置する。これにより、より生産性の向上を図ることができる。
図11は図1に示す装置において液滴噴射ユニットをリング式のものに代えたものである。
リング式の液滴噴射ユニット2について図12〜図14を参照して説明する。なお、図12は同液滴噴射ユニット2の断面説明図、図13は図12を下側から見た要部底面説明図、図14は液滴化手段の概略断面説明図である。
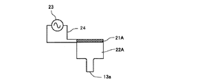
この液滴噴射ユニット2は、少なくともトナー組成液10を液滴化して放出させる液滴化手段16と、この液滴化手段16にトナー組成液10を供給する貯留部(液流路)14を形成した流路部材15とを備えている。
域16A内のノズルを設けた領域の周囲に円環状の振動発生手段17が配されていること
によって、例えば図15に示す比較例構成のように振動発生手段17Aが薄膜12の周囲
を保持している構成に比べて、相対的に薄膜12の変位量が大きくなり、この大きな変位
量が得られる比較的大面積(φ1mm以上)の領域に複数のノズル11を配置することが
でき、これら複数のノズル11より一度に多くの液滴を安定的に形成して放出することが
できるようになる。
は、図16に示すように、複数、例えば制御性の観点からは100〜1,000個(図1
6では4個のみ図示)の液滴噴射ユニット2を、粒子形成部3の天面部3Aに並べて配置
し、各液滴噴射ユニット2には配管8Aを原料収容部7(共通液溜め)に通じさせてトナ
ー組成液10を供給するようにする。これによって、一度により多くの液滴を放出させる
ことができて、生産効率の向上を図ることができる。
次に、この液滴化手段としての液滴噴射ユニット2による液滴形成のメカニズムについ
て説明する。
上述したように液滴噴射ユニット2は、貯留部14に臨む複数のノズル11を有する薄
膜12に、機械的振動手段である振動手段13によって発生した振動を伝播させて、薄膜12を周期的に振動させ、比較的大面積(φ1mm以上)の領域に複数のノズル11を配置し、それら複数のノズル11より液滴を周期的に、安定に形成して放出することができるようになる。
また、図19、図20に示すような、より高次のモードが存在することが知られている。これらのモードは、円形膜内に、同心円状に節を1乃至複数持ち、実質的に軸対称な変形形状である。また、図21に示すように、中心部が凸形状12cとすることで液滴の進行方向を制御し、かつ振動振幅量を調整することが可能である。
Pac(r,t)=Zr・Vm(r,t) (1)
膜の振動速度Vmは時間とともに周期的に変動しているため時間(t)の関数であり、
例えばサイン波形、矩形波形など、様々な周期変動を形成することが可能である。また、
前述のとおり、膜の各所で振動方向の振動変位は異なっており、Vmは、膜上の位置座標
の関数でもある。本発明で用いられる膜の振動形態は、上述のとおり軸対象である。した
がって、実質的には半径(r)座標の関数となる。
気相へ周期的に排出されたトナー組成液は、液相と気相との表面張力差によって球体を形成するため、液滴化が周期的に発生する。
更には、前記音圧の変位量が、10kPa以上となることによって、上述の微粒子分散促進作用がより好適に発生する。
=ΔLmax/ΔLmin)が、2.0以内である部位にノズルが配置することにより、上記液
滴サイズのばらつきを、高画質な画像を提供することのできるトナー微粒子として必要な
領域に保てることを見出した。
トナー組成液の条件を変更し、粘度20mPa・s以下、表面張力20乃至75mN/
mの領域においてサテライトの発生開始領域が同様であったことから、前記音圧の変位量
が、500kPa以下であることが必要となる更に好適には、100kPa以下である。
ノズルを有する薄膜は、先にも述べたように、トナー組成物の溶解乃至分散液を、吐出
させて液滴とする部材である。
この薄膜12の材質、ノズル11の形状としては、特に制限はなく、適宜選択した形状
とすることができるが、例えば、薄膜12は厚み5〜500μmの金属板で形成され、か
つ、ノズル11の開口径が3〜30μmであることが、ノズル11からトナー組成液10
の液滴を噴射させるときに、極めて均一な粒子径を有する微小液滴を発生させる観点から
好ましい。なお、前記ノズル11の開口径は、真円であれば直径を意味し、楕円であれば
短径を意味する。また、複数のノズル11の個数は、2ないし3000個が好ましい。
液共振方式のトナーの製造装置の一例を図22に、液滴噴射ユニット例を図23に示した。その基本的な構成は機械的縦振動方式とほぼ同一であるが、機械的縦振動方式が振動発生手段によりノズルを有する薄膜を振動させて液滴化しているのに対して、液共振方式ではノズルを有する薄膜の振動によるのではなく、液の共振により液滴化している点が異なる。
したがって、薄膜は振動しない程度に強度を高めている。材質としては、シリコンやシリコン酸化物などが用いられ、シリコン基板、特にSOI(Silicon on Insulator)基板を用いることがノズルの形成の面でも望ましい。なお、ノズルの開口径に対して膜厚が非常に厚い場合はノズルの断面形状を2段型とすることにより吐出性が向上する。
この液滴噴射ユニット2は、複数のノズル(吐出口)11が形成された薄膜12と、振動手段13と、薄膜12と振動手段13との間に少なくとも樹脂、着色剤、及び特定のフェノール系樹脂を含有するトナー組成液10を供給する貯留部(液流路)14を形成する貯留部構成部材15とを備えている。振動手段と貯留部壁との間には、振動を伝達させないための、振動分離部材26により位置を固定されている構成が望ましいが、振動手段の、振動振幅の小さい節の部分27を介して壁に直接固定する形態でも構わない。液貯留部14には、液供給、及び液循環に用いる配管18を通じてトナー組成液10が供給される。
振動手段13や振動増幅手段22は前述の機械的縦振動手段を用いる膜振動方式の説明において記述したものが同様に使用できる。
振動手段13は、例えば積層型PZTや、後述する超音波振動子と超音波ホーンを組み合わせたものなど、高い振幅において機械的超音波振動を液に与えることができるものであればどのようなものでも構わない。
複数のノズルを設けた薄膜を機械的に振動させる場合はノズル詰りが発生しづらいという利点があるが、薄膜面積が広いと均一振動が得られずに液滴の粒度分布なる場合がある。これに対し、液共振方式は各ノズルにほぼ等しい振動圧力が与えられるため広い薄膜でも狭粒度分布の液滴が得られやすい。
液滴から溶剤を除去する乾燥工程(粒子形成工程)は、加熱した乾燥窒素などの気体中
に液滴を放出し行われる。必要であれば、さらに流動床乾燥や真空乾燥といった二次乾燥
が行われる。
結着樹脂としてポリエステル樹脂(重量平均分子量:Mw=30000、THF不溶分=
0、Tg=60℃) 82質量部
着色剤としてカーボンブラック(「MOGUL L」、キャボット社製) 10質量部、帯電制御剤としてフルオロアルキルシルセスキオキサン化合物I(XT−C−3 チッソ(株)製:フッ素含有率29.3質量%、重量平均分子量18000、Tg67℃) 3質量部、離型剤としてカルナウバワックス 5質量部 をヘンシェルミキサー(「MF20C/I型」、三井三池加工機株式会社製)に仕込み、十分攪拌混合した後、2軸押出機(東芝機械株式会社製)にて混練し、冷却した2本ロールで圧延した後、スチールベルト上で冷却した。ここで、前記混練は、2軸押出機出口での混練生成物の温度が120℃前後となるように設定して行った。次いで、ロートプレックスにて粗粉砕し、ジェットミルにて微粉砕し、風力分級により粒度分布を整え、重量平均粒径が約7.1μm、重量平均粒径/個数平均粒径(D4/Dn)が1.22のフルオロアルキルシルセスキオキサン化合物Iを3質量%含有したトナー母体粒子aを作製した。
100質量部
トルエン 100質量部
γ−(2−アミノエチル)アミノプロピルトリメトキシシラン 5質量部
カーボンブラック 10質量部
上記混合物をホモミキサーで20分間分散し、コート層形成液を調製した。このコート層形成液を流動床型コーティング装置を用いて、粒径50μmの球状マグネタイト1000部の表面にコーティングして磁性キャリアaを得た。
トナー母体粒子a4質量部と、上記磁性キャリアa96質量部とを20℃/50%RHの環境に24時間暴露した後、その環境内でトナー母体粒子a及び磁性キャリアaをボールミル内に投入し、1分間及び10分間、30分間ボールミルで混合し、二成分現像剤常温常湿1分撹拌品及び10分撹拌品、30分撹拌品を作成し,ブローオフ法にて帯電量を測定した。1分撹拌品の帯電量が10分撹拌品の帯電量に近いほど帯電の立ち上がり性が良いといえ、30分撹拌品の帯電量が10分撹拌品の帯電量に近いほど帯電の安定性がよいといえる。
また、トナー母体粒子a4質量部と、上記磁性キャリアa96質量部とを30℃/90%RHの環境に24時間暴露した後、その環境内でトナー母体粒子a及びキャリアaをボールミル内に投入し、10分間ボールミルで混合し、二成分現像剤高温高湿品を作成し、ブローオフ法にて帯電量を測定し、高温高湿品の帯電量とした。高温高湿品の帯電量と常温常湿10分撹拌品の帯電量の差が小さい方が耐環境安定性に優れているといえる。
測定結果を表1に示したが、充分な帯電量が得られ、帯電の立ち上がり性や安定性、帯電量の耐環境変動性は良好であった。
得られたトナー母体粒子a99.0質量部に、外添剤として疎水性シリカ(HDK H2000、クラリアントジャパン社製)1.0質量部を添加し、ヘンシェルミキサーで混合して、トナーAを作製した。
得られたトナーA4質量部に対して、上記磁性キャリアa96質量部を20℃/50%RHの環境に24時間暴露した後、その環境内でトナーA及び磁性キャリアaをボールミル内に投入し、10分間ボールミルで混合し、二成分現像剤を作成した。
比較例1のトナー母体粒子は前記のように重量平均粒径(D4)は7.1μmでありDv/Dnは1.22であったが、下記の実施例1に比べて帯電量が低く、帯電の立ち上がり性や安定性及び帯電量の耐環境変動性ともに劣っていた。画像安定性評価からは、30℃/90%RHで画像面積が50%の場合は100枚目の画像に地肌汚れが生じていた。
<粒度分布>
本発明のトナーの重量平均粒径(D4)及び個数平均粒径(Dn)は、粒度測定器(「
マルチサイザーIII」、ベックマンコールター社製)を用い、アパーチャー径100μm
で測定し、解析ソフト(Beckman Coulter Mutlisizer 3 Version3.51)にて解析を行った。具体的にはガラス製100mlビーカーに10wt%界面活性剤(アルキルベンゼンスルフォン酸塩ネオゲンSC−A;第一工業製薬性)を0.5ml添加し、各トナー0.5g添加しミクロスパーテルでかき混ぜ、次いでイオン交換水80mlを添加した。得られた分散液を超音波分散器(W−113MK−II本多電子社製)で10分間分散処理した。前記分散液を前記マルチサイザーIIIを用い、測定用溶液としてアイソトンIII(ベックマンコールター製)を用いて測定を行った。測定は装置が示す濃度が8±2%に成るように前記トナーサンプル分散液を滴下した。本測定法は粒径の測定再現性の点から前記濃度を8±2%にすることが重要である。この濃度範囲であれば粒径に誤差は生じない。チャンネルとしては、2.00〜2.52μm未満;2.52〜3.17μm未満;3.17〜4.00μm未満;4.00〜5.04μm未満;5.04〜6.35μm未満;6.35〜8.00μm未満;8.00〜10.08μm未満;10.08〜12.70μm未満;12.70〜16.00μm未満;16.00〜20.20μm未満;20.20〜25.40μm未満;25.40〜32.00μm未満;32.00〜40.30μm未満の13チャンネルを使用し、粒径2.00μm以上乃至40.30μm未満の粒子を対象とした。トナー粒子又はトナーの体積、個数を測定後、体積分布と個数分布を算出する。得られた分布から、トナーの重量平均粒径(D4)、個数平均粒径(Dn)を求めることができる。粒度分布の指標としては、トナーの重量平均粒径(D4)を個数平均粒径(Dn)で除したD4/Dnを用いる。完全に単分散であれば1となり、数値が大きいほど分布が広いことを意味する。
結着樹脂のTHF溶解分の分子量分布はGPC(ゲルパーミエーションクロマトグラフィー)測定装置GPC−150C(ウォーターズ社製)によって測定した。カラムにはKF801〜807(ショウデックス社製)を使用した。測定は以下の方法で行う。
40℃のヒートチャンバー中でカラムを安定させ、この温度におけるカラムに、溶媒としてTHFを毎分1mlの流速で流した。結着樹脂0.05gをTHF5gに十分に溶かした後、前処理用フィルター(例えば、孔径0.45μm クロマトディスク(クラボウ製))で濾過し、最終的に試料濃度として0.05〜0.6質量%に調製した樹脂のTHF試料溶液を50〜200μl注入して測定する。結着樹脂のTHF溶解分の重量平均分子量Mw、数平均分子量Mn、ピークトップ分子量Mpの測定に当たっては、試料の有する分子量分布を数種の単分散ポリスチレン標準試料により作成された検量線の対数値とカウント数との関係から算出する。検出器、検出条件及び検量線作成用の標準ポリスチレン試料は次の通りとした。
(装置)
GPC:日本ウォーターズ社製 ゲルパーミエーションクロマトグラフィー
(条件)
展開溶媒 : THF 1ml/min
カラム : KF−G(ガードカラム)、KF−804L×2 昭和電工社製
カラム温度: 40℃
検出器 : RI 40℃
(標準試料)
標準試料: ポリスチレン(Polymer Laboratories社製)
結着樹脂10gを秤量し、これにTHF90gを加えて、20℃で撹拌子を用いて60分間撹拌した後、20℃で20〜30時間放置する。20〜30時間後、THF不溶解分が沈降するので、これを濾紙にて分離する。濾紙にはFILTER PAPER No.7(アドバンテック社製)を用い、濾紙上に分離された不溶分をTHFで良く洗浄しながら吸引濾過を行った。分離した不溶分を120℃で3時間加温し、THFを揮発させた後、質量を秤量する。本発明におけるTHF不溶解分は10gに対する秤量値の割合(質量%)で求められる。
現像剤6gを、両底面に目開き20μmのステンレス製メッシュを設けた金属性円柱容器に入れ、窒素ガスを吹き付けてトナーのみを除去し、残ったキャリアの電荷(q)を計測し、除去されたトナーの質量(m)で除したq/mとして帯電量を求めた。
現像剤を、リコー社製の複写機(Imagio Neo C285)に入れ、リコー社製タイプ6000ペーパーを用いて、30℃/90%RH及び10℃/30%RHの環境にて、画像の面積率が2%、10%、50%の画像を連続して各100枚出力し、画像を評価した結果を表1に示した。なお、いずれの環境及び画像面積率でも100枚目の画像が初期画像と同等の良好な画像であった場合は○、いずれかの環境及び画像面積率で100枚目の画像が初期画像より明らかな変化を生じた場合は×で示した。
−着色剤分散液の調製−
先ず、着色剤としての、カーボンブラックの分散液を調製した。
カーボンブラック(Regal400;Cabot社製)20質量部、顔料分散剤2質量部を、酢酸エチル78質量部に、攪拌羽を有するミキサーを使用し、一次分散させた。該顔料分散剤としては、アジスパーPB821(味の素ファインテクノ社製)を使用した。
得られた一次分散液を、ダイノーミルを用いて強力なせん断力により細かく分散し、凝集体を完全に除去した二次分散液を調製した。更に、1μmの細孔を有するフィルター(PTFE製)を通過させ、サブミクロン領域まで分散させた液を調製した。
撹拌羽と温度計をセットした容器に、結着樹脂としてのポリエステル樹脂(重量平均分子量:Mw=30000、THF不溶分=0、Tg=60℃)30質量部、カルナバワックス10質量部、酢酸エチル160質量部を仕込み、85℃に加温し20分間撹拌しポリエステル樹脂及びカルナバワックスを溶解させた後、急冷しカルナバワックスの微粒子を析出させた。このワックス分散液をダイノーミルを用いて強力なせん断力によりさらに細かく分散し、ワックスの最大粒径が1μm以下になるよう調整した。
前記カーボンブラック分散液を50質量部
前記ワックス分散液を100質量部
ポリエステル樹脂(重量平均分子量:Mw=30000、THF不溶分=0、Tg=60℃)の固形分20質量%酢酸エチル溶液を343.5質量部
フルオロアルキルシルセスキオキサン化合物I(フッ素含有率29.3質量%、重量平均分子量18000、Tg67℃:XT−C−3、チッソ(株)製)の固形分30質量%酢酸エチル溶液を1質量部
酢酸エチルを172.17質量部
を攪拌羽を有するミキサーを使用し10分間撹拌混合し、固形分が15質量%のトナー組成液を調製した。
得られた−トナー組成分散液をノズル径250μmの二流体ノズルを用いて空気圧0.1MPaにて45℃の窒素中に噴霧し、サイクロンで捕集した後、40℃で3日間送風乾燥を行い、黒色微粒子を得た。
更にこの黒色微粒子を風力分級により粒度分布を整え、重量平均粒径が約6.2μm、重量平均粒径/個数平均粒径(D4/Dn)が1.25のフルオロアルキルシルセスキオキサン化合物Iを0.3質量%含有したトナー母体粒子bを作製した。 このトナー母体粒子bを用いて、比較例1と同様に帯電特性の測定及び現像剤の作製、画像安定性の評価を行った結果を表1に示したが、充分な帯電量が得られ、帯電の立ち上がり性や安定性、帯電量の耐環境変動性は良好であり、画像安定性評価でもいずれの画像も良好な画像であった。
−トナー組成液の調製−
実施例1と同様に作成したカーボンブラック分散液を50質量部
実施例1と同様に作成したワックス分散液を100質量部
ポリエステル樹脂(重量平均分子量:Mw=30000、THF不溶分=0、Tg=60℃)の固形分20質量%酢酸エチル溶液を343.5質量部
フルオロアルキルシルセスキオキサン化合物I(フッ素含有率29.3質量%、重量平均分子量18000、Tg67℃:XT−C−3、チッソ(株)製)の固形分30質量%酢酸エチル溶液を1質量部
酢酸エチルを505.5質量部
を攪拌羽を有するミキサーを使用し10分間撹拌混合し、固形分が10質量%のトナー組成液を調製した。
得られたトナー組成液を、図11に示した、振動発生手段(圧電体)を円環状に形成したリング型振動子のヘッドに供給し、45℃の窒素中に液滴を吐出させた後、該液滴を乾燥固化し、サイクロンで捕集した後、40℃で3日間送風乾燥を行い、フルオロアルキルシルセスキオキサン化合物Iを0.3質量%含有したトナー母体粒子cを作製した。
使用したノズルプレートは、外径8.0mmで厚み20μmのニッケル板に、真円形状の直径8μmの吐出孔を、電鋳法による加工で作製した。吐出孔は各吐出孔間の距離が100μmとなるように千鳥格子状に、ノズルプレート中心の約5mmφの範囲にのみ設け
た。この場合の有効吐出孔数は約1000個となる。
〔トナー作製条件〕
乾燥空気流量 :分散用窒素ガス 2.0L/分、
装置内乾燥窒素ガス 30.0L/分
装置内温度 :38〜40℃
ノズル振動数 :98kHz
圧電体印加電圧 :10V
トナー母体粒子cの重量平均粒径(D4)は5.0μm、でありDv/Dnは1.13であり非常にシャープな粒度分布であった。
このトナー母体粒子cを用いて、比較例1と同様に帯電特性の測定及び現像剤の作製、画像安定性の評価を行った結果を表1に示したが、充分な帯電量が得られ、帯電の立ち上がり性や安定性、帯電量の耐環境変動性は良好であり、画像安定性評価でもいずれの画像も良好な画像であった。
実施例2で得られたトナー組成液を用いて、図1に示したトナー製造装置の、ノズル1に供給し45℃の窒素中に液滴を吐出させた後、該液滴を乾燥固化し、サイクロンで捕集した後、40℃で3日間送風乾燥を行い、フルオロアルキルシルセスキオキサン化合物I(フッ素含有率29.3質量%、重量平均分子量18000、Tg67℃:XT−C−3、チッソ(株)製)を0.3質量%含有したトナー母体粒子dを作製した。
使用したノズルプレートは、外径8.0mmで厚み20μmのニッケル板に、真円形状の直径8μmの吐出孔を、電鋳法による加工で作製した。吐出孔は各吐出孔間の距離が100μmとなるように千鳥格子状に、ノズルプレートの中心の約5mmφの範囲にのみ設
けた。この場合の計算上の有効吐出孔数は1000個となる。
乾燥空気流量 :分散用窒素ガス 2.0L/分、
装置内乾燥窒素ガス 30.0L/分
装置内温度 :38〜40℃
ノズル振動数 :180kHz
圧電体印加電圧 :10V
トナー母体粒子dの重量平均粒径(D4)は5.0μm、でありDv/Dnは1.06であり非常にシャープな粒度分布であった。
このトナー母体粒子dを用いて、比較例1と同様に帯電特性の測定及び現像剤の作製、画像安定性の評価を行った結果を表1に示したが、充分な帯電量が得られ、帯電の立ち上がり性や安定性、帯電量の耐環境変動性ともに良好であり、画像安定性評価でもいずれの画像も良好な画像であった。
実施例3において、フルオロアルキルシルセスキオキサン化合物I(フッ素含有率29.3質量%、重量平均分子量18000、Tg67℃:XT−C−3、チッソ(株)製)をフルオロアルキルシルセスキオキサン化合物II(フッ素含有率16.3質量%、重量平均分子量15000、Tg78℃:XT−C−1、チッソ(株)製)に変えた以外は実施例3と同様にトナー母体粒子eを作成し、評価を行った結果を表1に示したが、重量平均粒径(D4)は5.0μm、でありDv/Dnは1.07であり非常にシャープな粒度分布であり、充分な帯電量が得られ、帯電の立ち上がり性や安定性、帯電量の耐環境変動性ともに良好であり、画像安定性評価でもいずれの画像も良好な画像であった。
実施例3において、フルオロアルキルシルセスキオキサン化合物I(フッ素含有率29.3質量%、重量平均分子量18000、Tg67℃:XT−C−3、チッソ(株)製)をフルオロアルキルシルセスキオキサン化合物III(フッ素含有率8.2質量%、重量平均分子量21000、Tg94℃:XT−C−10、チッソ(株)製))に変えた以外は実施例3と同様にトナー母体粒子fを作成し、評価を行った結果を表1に示したが、重量平均粒径(D4)は5.0μm、でありDv/Dnは1.07で非常にシャープな粒度分布であり、充分な帯電量が得られ、帯電の立ち上がり性や安定性、帯電量の耐環境変動性ともに良好であり、画像安定性評価でもいずれの画像も良好な画像であった。
実施例3において、フルオロアルキルシルセスキオキサン化合物I(フッ素含有率29.3質量%、重量平均分子量18000、Tg67℃:XT−C−3、チッソ(株)製)をフルオロアルキルシルセスキオキサン化合物IV(フッ素含有率29.3質量%、重量平均分子量8000、Tg61℃:XT−C−9、チッソ(株)製)に変えた以外は実施例3と同様にトナー母体粒子gを作成し、評価を行った結果を表1に示したが、重量平均粒径(D4)は5.0μm、でありDv/Dnは1.06で非常にシャープな粒度分布であり、充分な帯電量が得られ、帯電の立ち上がり性や安定性、帯電量の耐環境変動性ともに良好であり、画像安定性評価でもいずれの画像も良好な画像であった。
実施例3において、フルオロアルキルシルセスキオキサン化合物I(フッ素含有率29.3質量%、重量平均分子量18000、Tg67℃:XT−C−3、チッソ(株)製)をフルオロアルキルシルセスキオキサン化合物V(フッ素含有率29.3質量%、重量平均分子量5000、Tg50℃:チッソ(株)製)に変えた以外は実施例3と同様にトナー母体粒子hを作成し、評価を行った結果を表1に示したが、重量平均粒径(D4)は5.0μm、でありDv/Dnは1.06で非常にシャープな粒度分布であり、充分な帯電量が得られ、帯電の立ち上がり性や安定性、帯電量の耐環境変動性ともに良好であり、画像安定性評価でもいずれの画像も良好な画像であった。
実施例3において、フルオロアルキルシルセスキオキサン化合物I(フッ素含有率29.3質量%、重量平均分子量18000、Tg67℃:XT−C−3、チッソ(株)製)をフルオロアルキルシルセスキオキサン化合物VI(フッ素含有率29.3質量%、重量平
均分子量59000、Tg75℃:XT−C−4、チッソ(株)製)に変えた以外は実施
例3と同様にトナー母体粒子iを作成し、評価を行った結果を表1に示したが、重量平均
粒径(D4)は5.0μm、でありDv/Dnは1.07で非常にシャープな粒度分布で
あり、充分な帯電量が得られ、帯電の立ち上がり性や安定性、帯電量の耐環境変動性とも
に良好であり、画像安定性評価でもいずれの画像も良好な画像であった。
実施例3において、フルオロアルキルシルセスキオキサン化合物I(フッ素含有率29.3質量%、重量平均分子量18000、Tg67℃:XT−C−3、チッソ(株)製)をフルオロアルキルシルセスキオキサン化合物VII(フッ素含有率29.3質量%、重量平均分子量100000、Tg81℃:チッソ(株)製)に変えた以外は実施例3と同様にトナー母体粒子jを作成し、評価を行った結果を表1に示したが、重量平均粒径(D4)は5.0μmでありDv/Dnは1.08で非常にシャープな粒度分布であり、充分な帯電量が得られ、帯電の立ち上がり性や安定性、帯電量の耐環境変動性ともに良好であり、画像安定性評価でもいずれの画像も良好な画像であった。
実施例2で得られたトナー組成液を、図22に示したトナー製造装置の液滴噴射ユニットに供給し、45℃の窒素中に液滴を吐出させた後、該液滴を乾燥固化し、サイクロンで捕集した後、40℃で3日間送風乾燥を行い、フルオロアルキルシルセスキオキサン化合物Iを0.3質量%含有したトナー母体粒子kを作製した。
薄膜(ノズルプレート)は500μm厚のSOI基板を用い、ノズルは図33に示す115開口部直径が100μm、116開口部直径が8.5μmの2段形状(凸形状)として形成し、116開口部を液が放出される側として用いた。各吐出孔間の距離が100μmとなるように千鳥格子状に設けた。液貯留部は均等分割された液貯留領域で構成されているものを用いた。本実施例で用いた加振周波数及び液貯留部の構成を以下に示す。
<液貯留部構成及び駆動周波数>
加振周波数:32.7kHz(共振周波数)
液貯留部分割数(液貯留領域の個数):6
液貯留部長手方向寸法A:8mm
液貯留部短手方向寸法B:8mm
1の液貯留領域当りのノズル数:480
であり非常にシャープな粒度分布であった。
このトナー母体粒子kを用いて、比較例1と同様に帯電特性の測定及び現像剤の作製、画像安定性の評価を行った結果を表1に示したが、充分な帯電量が得られ、帯電の立ち上がり性や安定性、帯電量の耐環境変動性は良好であり、画像安定性評価でもいずれの画像も良好な画像であった。
実施例1において、フルオロアルキルシルセスキオキサン化合物I(フッ素含有率29.3質量%、重量平均分子量18000、Tg67℃:XT−C−3、チッソ(株)製)をサリチル酸亜鉛化合物(E−84 オリエント化学社製)に変えた以外は実施例1と同様にトナー母体粒子mを作成し、評価を行った結果を表1に示したが、重量平均粒径(D4)は6.1μm、でありDv/Dnは1.26であったが、実施例1に比べて帯電量が低く、帯電の立ち上がり性や安定性及び帯電量の耐環境変動性ともにやや劣っていた。画像安定性評価からは、30℃/90%RHで画像面積が50%の場合は100枚目の画像に地肌汚れが生じていた。
実施例2において、フルオロアルキルシルセスキオキサン化合物I(フッ素含有率29.3質量%、重量平均分子量18000、Tg67℃:XT−C−3、チッソ(株)製)をサリチル酸亜鉛化合物(E−84 オリエント化学社製)に変えた以外は実施例2と同様にトナー母体粒子nを作成し、評価を行った結果を表1に示したが、重量平均粒径(D4)は5.0μm、でありDv/Dnは1.14であったが、実施例2に比べて帯電量が低く、帯電の立ち上がり性や安定性及び帯電量の耐環境変動性ともにやや劣っていた。画像安定性評価からは、30℃/90%RHで画像面積が50%の場合は100枚目の画像に地肌汚れが生じていた。
実施例3において、フルオロアルキルシルセスキオキサン化合物I(フッ素含有率29.3質量%、重量平均分子量18000、Tg67℃:XT−C−3、チッソ(株)製)を添加しない以外は実施例3と同様にトナー母体粒子oを作成し、評価を行った結果を表1に示したが、重量平均粒径(D4)は5.1μm、でありDv/Dnは1.11であったが、実施例3に比べて帯電量が低く、帯電の立ち上がり性や安定性及び帯電量の耐環境変動性ともに劣っていた。画像安定性評価からは、30℃/90%RHで画像面積が10%及び50%の場合は100枚目の画像に地肌汚れが生じていた。
実施例3において、フルオロアルキルシルセスキオキサン化合物I(フッ素含有率29.3質量%、重量平均分子量18000、Tg67℃:XT−C−3、チッソ(株)製)をサリチル酸亜鉛化合物(E−84 オリエント化学社製)に変えた以外は実施例3と同様にトナー母体粒子pを作成し、評価を行った結果を表1に示したが、重量平均粒径(D4)は5.0μm、でありDv/Dnは1.11であったが、実施例3に比べて帯電量が低く、帯電の立ち上がり性や安定性及び帯電量の耐環境変動性ともにやや劣っていた。画像安定性評価からは、30℃/90%RHで画像面積が50%の場合は100枚目の画像に地肌汚れが生じていた。
実施例3において、フルオロアルキルシルセスキオキサン化合物I(フッ素含有率29.3質量%、重量平均分子量18000、Tg67℃:XT−C−3、チッソ(株)製)を以下に示すフッ素化合物に変えた以外は実施例3と同様にトナー母体粒子qを作成し、評価を行った結果を表1に示したが、重量平均粒径(D4)は5.0μm、でありDv/Dnは1.11であったが、実施例3に比べて帯電の立ち上がり性が非常に優れていたが、撹拌時間とともに帯電量が急激に低下した。画像安定性評価からは、10℃/30%RHで画像面積が50%の場合は100枚目の画像の濃度が低下しており、30℃/90%RHで画像面積が2%の場合は地肌汚れが生じていた。
フッ素化合物:FT-A(パーフルオロアルケニルオキシ安息香酸 株式会社ネオス社製)
2 液滴噴射ユニット
3 粒子形成部(溶媒除去部)
4 トナー捕集部
5 チューブ
6 トナー捕集部
7 原料収容部
8 配管
9 ポンプ
10 トナー組成液
11 ノズル
12 薄膜
13 振動手段
13a振動面
14 貯留部
15 流路部材
16 液滴化手段
17 振動発生手段(電気機械変換手段)
18 液供給チューブ
19 気泡排出チューブ
21 振動発生手段
21A 圧電体
22 振動増幅手段
22A ホーン
23 駆動回路(駆動信号発生源)
24 通信手段
31 液滴
35 気流
36 気流路形成部材
37 気流路
80 ホーン型振動子
81 圧電体
82 ホーン
83 固定部
90 ランジュバン型振動子
91 圧電体
92 ホーン
T トナー粒子
1 トナーの製造装置
2 液滴噴射ユニット
3 粒子形成部(溶媒除去部)
4 トナー捕集部
5 チューブ
6 トナー貯留部
7 原料収容部
8 配管
9 ポンプ
10 トナー組成液
11 ノズル
12 薄膜
13 振動手段
13a振動面
14 貯留部
15 貯留部構成部材
18 液供給チューブ
21 振動発生手段
22 振動増幅手段
23 駆動回路(駆動信号発生源)
24 通信手段
26 振動分離部材
27 振動手段の、振動振幅の小さい節の部分
29 液貯留領域
31 液滴
35 気流
111 レジスト
112 支持層
113 誘電体層
114 活性層
115 第1のノズル孔
116 第2のノズル孔
T トナー粒子
Claims (13)
- 少なくとも結着樹脂、着色剤、及び帯電制御剤を含有するトナー組成物を有機溶剤に溶解ないしは分散したトナー組成液を、気相中で液滴化し、次いで該液滴を固化することによって製造されたトナーであって、前記帯電制御剤が付加重合性官能基を含むフルオロアルキルシルセスキオキサン(b1)と付加重合性単量体(b2)からなる共重合体であることを特徴とするトナー。
- 前記液滴化が前記トナー組成液を、同じ開口径の複数のノズルを有する薄膜を機械的振動手段によって振動させることにより周期的に放出することによって行われたことを特徴とする請求項1に記載のトナー。
- 前記機械的振動手段が前記薄膜のノズルを設けた領域の周囲に円環状に形成された振動発生手段であることを特徴とする請求項2に記載のトナー。
- 前記機械的振動手段が前記薄膜に対して平行な振動面を有し、該振動面が垂直方向に縦振動する振動手段であることを特徴とする請求項2に記載のトナー。
- 前記機械的振動手段は、前記薄膜に対して平行な振動面を有し、該振動面が垂直方向に縦振動する振動手段であり、液の共振現象を利用してトナー組成液を前記薄膜に設けた複数のノズルから周期的に液滴化して放出させたことを特徴とする請求項3に記載のトナー。
- 前記機械的振動手段がホーン型振動子であることを特徴とする請求項4又は5記載のトナー。
- 前記付加重合性官能基を含むフルオロアルキルシルセスキオキサン(b1)と付加重合性単量体(b2)からなる共重合体におけるフッ素の含有量が7〜30質量%であることを特徴とする請求項1〜6のいずれかに記載のトナー。
- 前記付加重合性官能基を含むフルオロアルキルシルセスキオキサン(b1)と付加重合性単量体(b2)からなる共重合体の重量平均分子量が5000〜100000であることを特徴とする請求項1〜7のいずれかに記載のトナー。
- 前記付加重合性官能基を含むフルオロアルキルシルセスキオキサン(b1)と付加重合性単量体(b2)からなる共重合体のガラス転移点が50〜95℃であることを特徴とする請求項1〜8のいずれかに記載のトナー。
- 前記付加重合性官能基を含むフルオロアルキルシルセスキオキサン(b1)と付加重合性単量体(b2)からなる共重合体の含有量が、トナー組成物100質量部に対して0.05〜5質量部であることを特徴とする請求項1〜9のいずれかに記載のトナー。
- 前記トナー組成液の固形分が5〜40質量%であることを特徴とする請求項1〜10のいずれかに記載のトナー。
- 重量平均粒径が1〜15μmであり、粒度分布(重量平均粒径/個数平均粒径)が、1.00〜1.15の範囲にあることを特徴とする請求項1〜11のいずれかに記載のトナー。
- 少なくとも請求項1〜12のいずれかに記載のトナーと磁性粒子を含むキャリアを含有することを特徴とする二成分系の現像剤。
Priority Applications (1)
| Application Number | Priority Date | Filing Date | Title |
|---|---|---|---|
| JP2009007877A JP5407351B2 (ja) | 2008-06-25 | 2009-01-16 | トナー及び現像剤 |
Applications Claiming Priority (3)
| Application Number | Priority Date | Filing Date | Title |
|---|---|---|---|
| JP2008166072 | 2008-06-25 | ||
| JP2008166072 | 2008-06-25 | ||
| JP2009007877A JP5407351B2 (ja) | 2008-06-25 | 2009-01-16 | トナー及び現像剤 |
Publications (2)
| Publication Number | Publication Date |
|---|---|
| JP2010033000A true JP2010033000A (ja) | 2010-02-12 |
| JP5407351B2 JP5407351B2 (ja) | 2014-02-05 |
Family
ID=41737500
Family Applications (1)
| Application Number | Title | Priority Date | Filing Date |
|---|---|---|---|
| JP2009007877A Expired - Fee Related JP5407351B2 (ja) | 2008-06-25 | 2009-01-16 | トナー及び現像剤 |
Country Status (1)
| Country | Link |
|---|---|
| JP (1) | JP5407351B2 (ja) |
Cited By (6)
| Publication number | Priority date | Publication date | Assignee | Title |
|---|---|---|---|---|
| JP2010060667A (ja) * | 2008-09-01 | 2010-03-18 | Ricoh Co Ltd | トナーの製造方法、トナーの製造装置及びトナー |
| JP2013061455A (ja) * | 2011-09-13 | 2013-04-04 | Ricoh Co Ltd | トナーの製造方法 |
| EP2896664A1 (en) * | 2014-01-16 | 2015-07-22 | Riso Kagaku Corporation | Colored resin particle dispersion and inkjet ink |
| US9803064B2 (en) | 2014-01-16 | 2017-10-31 | Riso Kagaku Corporation | Colored resin particle dispersion and inkjet ink |
| US9963603B2 (en) | 2014-01-16 | 2018-05-08 | Riso Kagaku Corporation | Colored resin particle dispersion and inkjet ink |
| US10040958B2 (en) | 2014-01-16 | 2018-08-07 | Riso Kagaku Corporation | Colored resin particle dispersion and inkjet ink |
Citations (4)
| Publication number | Priority date | Publication date | Assignee | Title |
|---|---|---|---|---|
| JP2008070728A (ja) * | 2006-09-15 | 2008-03-27 | Ricoh Co Ltd | トナー製造方法、トナー、及びトナー製造装置 |
| WO2008072766A1 (ja) * | 2006-12-15 | 2008-06-19 | Chisso Corporation | フッ素系重合体および樹脂組成物 |
| WO2008072765A1 (ja) * | 2006-12-15 | 2008-06-19 | Chisso Corporation | フッ素系重合体および樹脂組成物 |
| JP2010077183A (ja) * | 2008-09-24 | 2010-04-08 | Ricoh Co Ltd | 樹脂粒子、トナー並びにこれを用いた画像形成方法及びプロセスカートリッジ |
-
2009
- 2009-01-16 JP JP2009007877A patent/JP5407351B2/ja not_active Expired - Fee Related
Patent Citations (4)
| Publication number | Priority date | Publication date | Assignee | Title |
|---|---|---|---|---|
| JP2008070728A (ja) * | 2006-09-15 | 2008-03-27 | Ricoh Co Ltd | トナー製造方法、トナー、及びトナー製造装置 |
| WO2008072766A1 (ja) * | 2006-12-15 | 2008-06-19 | Chisso Corporation | フッ素系重合体および樹脂組成物 |
| WO2008072765A1 (ja) * | 2006-12-15 | 2008-06-19 | Chisso Corporation | フッ素系重合体および樹脂組成物 |
| JP2010077183A (ja) * | 2008-09-24 | 2010-04-08 | Ricoh Co Ltd | 樹脂粒子、トナー並びにこれを用いた画像形成方法及びプロセスカートリッジ |
Cited By (7)
| Publication number | Priority date | Publication date | Assignee | Title |
|---|---|---|---|---|
| JP2010060667A (ja) * | 2008-09-01 | 2010-03-18 | Ricoh Co Ltd | トナーの製造方法、トナーの製造装置及びトナー |
| JP2013061455A (ja) * | 2011-09-13 | 2013-04-04 | Ricoh Co Ltd | トナーの製造方法 |
| EP2896664A1 (en) * | 2014-01-16 | 2015-07-22 | Riso Kagaku Corporation | Colored resin particle dispersion and inkjet ink |
| US9758693B2 (en) | 2014-01-16 | 2017-09-12 | Riso Kagaku Corporation | Colored resin particle dispersion and inkjet ink |
| US9803064B2 (en) | 2014-01-16 | 2017-10-31 | Riso Kagaku Corporation | Colored resin particle dispersion and inkjet ink |
| US9963603B2 (en) | 2014-01-16 | 2018-05-08 | Riso Kagaku Corporation | Colored resin particle dispersion and inkjet ink |
| US10040958B2 (en) | 2014-01-16 | 2018-08-07 | Riso Kagaku Corporation | Colored resin particle dispersion and inkjet ink |
Also Published As
| Publication number | Publication date |
|---|---|
| JP5407351B2 (ja) | 2014-02-05 |
Similar Documents
| Publication | Publication Date | Title |
|---|---|---|
| JP5433986B2 (ja) | トナー及びその製造方法 | |
| JP5500492B2 (ja) | トナーの製造方法 | |
| JP4966166B2 (ja) | トナーの製造方法及びトナー、現像剤、画像形成方法 | |
| JP5365904B2 (ja) | トナーの製造方法 | |
| JP5315920B2 (ja) | トナーの製造方法及び製造装置 | |
| JP5754219B2 (ja) | トナーの製造方法 | |
| JP5386889B2 (ja) | トナー及びその製造方法 | |
| JP5594580B2 (ja) | トナーの製造方法 | |
| JP5493530B2 (ja) | トナーの製造方法 | |
| JP2009162819A (ja) | 静電荷像現像用トナー、製造方法、及び製造装置、並びに、現像剤、トナー入り容器、プロセスカートリッジ、画像形成方法、及び画像形成装置 | |
| JP5724464B2 (ja) | トナーの製造方法 | |
| JP5407351B2 (ja) | トナー及び現像剤 | |
| JP5754225B2 (ja) | トナーの製造方法及びトナーの製造装置 | |
| JP5644367B2 (ja) | トナー及びその製造方法、並びに現像剤 | |
| JP2009109732A (ja) | トナー | |
| JP5080942B2 (ja) | トナーの製造方法 | |
| JP5257676B2 (ja) | トナー及び現像剤、画像形成装置 | |
| JP5446639B2 (ja) | トナーの製造方法 | |
| JP5239233B2 (ja) | トナーの製造方法 | |
| JP2012093644A (ja) | トナーの製造装置及びトナーの製造方法、並びにトナー | |
| JP4991386B2 (ja) | トナーの製造方法及びトナーの製造装置 | |
| JP5413123B2 (ja) | トナーの製造装置及び製造方法 | |
| JP5561045B2 (ja) | トナーの製造方法及びトナーの製造装置、並びにトナー | |
| JP2011059632A (ja) | トナーの製造装置及び製造方法 | |
| JP5834605B2 (ja) | トナーの製造方法 |
Legal Events
| Date | Code | Title | Description |
|---|---|---|---|
| A621 | Written request for application examination |
Free format text: JAPANESE INTERMEDIATE CODE: A621 Effective date: 20111226 |
|
| A521 | Written amendment |
Free format text: JAPANESE INTERMEDIATE CODE: A523 Effective date: 20120618 |
|
| A977 | Report on retrieval |
Free format text: JAPANESE INTERMEDIATE CODE: A971007 Effective date: 20130521 |
|
| A131 | Notification of reasons for refusal |
Free format text: JAPANESE INTERMEDIATE CODE: A131 Effective date: 20130524 |
|
| A521 | Written amendment |
Free format text: JAPANESE INTERMEDIATE CODE: A523 Effective date: 20130712 |
|
| TRDD | Decision of grant or rejection written | ||
| A01 | Written decision to grant a patent or to grant a registration (utility model) |
Free format text: JAPANESE INTERMEDIATE CODE: A01 Effective date: 20131008 |
|
| A61 | First payment of annual fees (during grant procedure) |
Free format text: JAPANESE INTERMEDIATE CODE: A61 Effective date: 20131021 |
|
| R151 | Written notification of patent or utility model registration |
Ref document number: 5407351 Country of ref document: JP Free format text: JAPANESE INTERMEDIATE CODE: R151 |
|
| LAPS | Cancellation because of no payment of annual fees |
