JP2010032690A - 光変調器 - Google Patents

光変調器 Download PDF

Info

Publication number
JP2010032690A
JP2010032690A JP2008193440A JP2008193440A JP2010032690A JP 2010032690 A JP2010032690 A JP 2010032690A JP 2008193440 A JP2008193440 A JP 2008193440A JP 2008193440 A JP2008193440 A JP 2008193440A JP 2010032690 A JP2010032690 A JP 2010032690A
Authority
JP
Japan
Prior art keywords
electrode
electrodes
substrate
center
optical
Prior art date
Legal status (The legal status is an assumption and is not a legal conclusion. Google has not performed a legal analysis and makes no representation as to the accuracy of the status listed.)
Granted
Application number
JP2008193440A
Other languages
English (en)
Other versions
JP4754608B2 (ja
Inventor
Kenji Kono
健治 河野
Masaya Nanami
雅也 名波
Yuji Sato
勇治 佐藤
Yasuji Uchida
靖二 内田
Nobuhiro Igarashi
信弘 五十嵐
Toru Nakahira
中平  徹
Eiji Kawamo
英司 川面
Satoshi Matsumoto
松本  聡
Current Assignee (The listed assignees may be inaccurate. Google has not performed a legal analysis and makes no representation or warranty as to the accuracy of the list.)
Anritsu Corp
Original Assignee
Anritsu Corp
Priority date (The priority date is an assumption and is not a legal conclusion. Google has not performed a legal analysis and makes no representation as to the accuracy of the date listed.)
Filing date
Publication date
Application filed by Anritsu Corp filed Critical Anritsu Corp
Priority to JP2008193440A priority Critical patent/JP4754608B2/ja
Publication of JP2010032690A publication Critical patent/JP2010032690A/ja
Application granted granted Critical
Publication of JP4754608B2 publication Critical patent/JP4754608B2/ja
Expired - Fee Related legal-status Critical Current
Anticipated expiration legal-status Critical

Links

Images

Landscapes

  • Optical Modulation, Optical Deflection, Nonlinear Optics, Optical Demodulation, Optical Logic Elements (AREA)

Abstract

【課題】小型で、特性インピーダンス、電気的クロストーク、さらには光変調帯域について大幅に改善された光変調器を提供する。
【解決手段】基板1と、該基板に形成された光導波路と、該基板上に形成され電圧を印加するための中心電極4a〜4dと接地電極5a〜5eからなる進行波電極とを備え、光導波路は、電極に電圧を印加することにより屈折率が変化する領域である相互作用部に複数の相互作用光導波路を具備し、中心電極が複数からなるとともに、複数の中心電極に接続される入力側フィード部の電極が複数の中心電極と接地電極からなる光変調器において、入力側フィード部における相対向している中心電極と接地電極との間の基板の厚さを掘り下げて少なくすることによりリッジ構造をなしている。
【選択図】図2

Description

本発明は電気光学効果や熱光学効果を利用して、光導波路に入射した光を変調して光信号として出射する光変調器に関する。
代表的な光変調器として誘電体材料を用いた光変調器がある。近年、高速、大容量の光通信システムが実用化されているが、このような高速、大容量の光通信システムに組込むための高性能な光変調器の開発が求められている。
このような要望に応える光変調器として、リチウムナイオベート(LiNbO)のように電界を印加することにより屈折率が変化する、いわゆる電気光学効果を有する基板(以下、LN基板と略す)に光導波路と進行波電極を形成した進行波電極型リチウムナイオベート光変調器(以下、LN光変調器と略す)がある。このLN光変調器は、その優れたチャーピング特性から2.5Gbit/s、10Gbit/sの大容量光通信システムに適用されている。最近はさらに40Gbit/sの超大容量光通信システムにも適用が検討されている。
以下、リチウムナイオベートの電気光学効果を利用した従来のLN光変調器の特徴と問題点について考察する。
(第1の従来技術)
近年、開発が進んでいる40Gbit/sの超大容量光通信システムには、DPSKや例えば特許文献1にその原理が開示されているDQPSKのような位相変調器型のLN光変調器が適用されている。
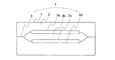
例えば特許文献1において開示されているDQPSKの信号を発生させる方法について、それを具現化するLN光変調器の模式的な構造図を図8と図9に示す。ここで、説明をわかり易くするために、図8には光導波路のみを示している。このように、DQPSK型LN光変調器の光導波路は2つの小さなマッハツェンダ干渉系(あるいは、マッハツェンダ光導波路)とその2つの小さなマッハツェンダ干渉系を合成する1つの大きなマッハツェンダ干渉系により構成されている。
図中、1はz−カットLN基板、2はSiOバッファ層、3は光導波路である。3a、3b、3c、3dは次の図9で述べる進行波電極を伝搬する高周波電気信号と光が相互作用する光導波路であり、この相互作用する領域Iを相互作用領域(あるいは、相互作用部)、この領域の光導波路3a、3b、3c、3dを相互作用光導波路と呼ぶ。
図9には図8に示した光導波路3に加えて、相互作用光導波路3a、3b、3c、3dを伝搬する光と、相互作用領域Iにおいて相互作用する高周波電気信号Sa、Sb、Sc、Sdを伝搬させる進行波電極も示している。なお、説明を簡単にするために温度ドリフト抑圧のためのSi導電層は省略した。また、SiOバッファ層2の厚みは1μm前後が一般的である。
LN光変調器に適用する進行波電極としては、特許文献2に開示されたCPW(共平面線路、あるいはCoplanar−waveguide)構造が一般的に広く使用されている。このCPW型の進行波電極の相互作用部には、中心電極の他に接地電極が必要であるが、説明をわかりやすくするために図9では4つの中心電極4a、4b、4c、4dのみを示し、接地電極を省略した(なお、接地電極については次の図10に詳しく示している)。また、7はπ/2シフト用電極の中心電極であり、同様に接地電極を省略した。
高周波電気信号Sa、Sb、Sc、SdがLN光変調器に入力されると、これらの高周波電気信号は図9のIIとして示した入力側フィード部を経由して相互作用領域Iに達し、そこで光と相互作用する。
さて、図9に示した従来のDQPSK型LN光変調器の問題点について考察する。LN光変調器のチップの長さは50mm程度と長いが、1枚のウェーハから多くのチップを得るために、その横幅(相互作用光導波路3a、3b、3c、3dの長さ方向に垂直で、かつz−カットLN基板1の表面に平行な方向の長さ)は2mmから5mm程度と短い。そのため、z−カットLN基板1の表面に平行な方向における入力側フィード部IIに割り当てることのできるこの領域の幅も比較的狭くなってしまう。
図10には図9における入力側フィード部IIの詳細な横断面構造(相互作用光導波路3a、3b、3c、3dの長さ方向に垂直で、かつz−カットLN基板1の表面に平行な方向の断面図)を示す。図からわかるように、この構造は平面型(あるいは、プレーナ型)のCPW電極構造である。
図10では図9においては省略した接地電極も示している。ここで、中心電極4a、4b、4c、4dの幅をS、中心電極4a、4b、4c、4dと接地電極5a、5b、5c、5d、5e間のギャップをW、接地電極5b、5c、5dの幅をGとする。ギャップWと比較してこの接地電極の幅Gを広くすることにより、中心電極4a、4b、4c、4d間の(あるいは、高周波電気信号Sa、Sb、Sc、Sd間の)クロストークを抑圧できる。つまり、接地電極5b、5c、5dの幅GとギャップWの比は、高周波電気信号間の電気的なクロストークに大きな影響を与える。なお、一般に、電気的クロストークを充分に小さくするためには、接地電極の幅GをギャップWの4〜5倍とすることが望ましい。
図11には横軸に中心電極4a、4b、4c、4dと接地電極5a、5b、5c、5d、5e間のギャップWをとり、左側の縦軸にはCPW進行波電極の特性インピーダンスZを、右側の縦軸には接地電極5b、5c、5dの幅Gを示している。図からわかるように、進行波電極の特性インピーダンスZが不図示の外部回路の特性インピーダンスと一致する50ΩとなるギャップWでは接地電極5b、5c、5dの幅Gが狭くなる。また、接地電極5b、5c、5dの幅Gを広くしようとすると、中心電極4a、4b、4c、4dと接地電極5a、5b、5c、5d、5e間のギャップWが狭くなり(例えば、その時のWをWとすると、W<Wとなる)、進行波電極の特性インピーダンスZが50Ωよりも著しく低くなってしまう。
図12には横軸に中心電極4a、4b、4c、4dと接地電極5a、5b、5c、5d、5e間のギャップWをとり、縦軸に進行波電極から高周波電気信号Sa、Sb、Sc、Sdが不図示の外部電気回路に戻る電気的パワー反射係数(あるいは、電気的パワー反射率)S11を示す。図11に述べたように、ギャップWの場合における進行波電極の特性インピーダンスZは50Ωであるから、電気的パワー反射係数S11は極めて小さくなる。一方、中心電極4a、4b、4c、4dと接地電極5a、5b、5c、5d、5e間のギャップがWと狭いと、進行波電極の特性インピーダンスZは50Ωよりもかなり低く(例えば、30Ω弱)なるので、図12に示すように電気的パワー反射係数S11が−10dB程度、あるいはそれ以上と大きくなってしまい、高速光変調を行うLN光変調器用の進行波電極として好ましくない。
図13には横軸に中心電極4a、4b、4c、4dと接地電極5a、5b、5c、5d、5e間のギャップWをとり、左側の縦軸にはCPW進行波電極の中心電極4a、4b、4c、4d(あるいは、高周波電気信号Sa、Sb、Sc、Sd)間の電気的クロストークを示している。なお、図11と同様に右側の縦軸には接地電極5b、5c、5dの幅Gを示す。図11でも述べたように、進行波電極の特性インピーダンスが50ΩとなるギャップWでは接地電極5b、5c、5dの幅Gが狭くなる。例えば、接地電極5b、5c、5dの幅Gが中心電極4a、4b、4c、4dの幅と同じ程度にまで狭くなると、中心電極4a、4b、4c、4d間の電気的クロストークが−10dB程度、あるいはそれ以上と劣化し、進行波電極としては好ましくない。なお、図11に示した50Ωよりも低い特性インピーダンスとなるギャップWでは電気的クロストークが−20dB以下と優れてはいるが、電気的パワー反射係数S11が劣化するので、これもまた進行波電極として好ましくない。
前述のように、入力側フィード部IIに割り当てることができる幅(相互作用光導波路3a、3b、3c、3dの長さ方向に垂直で、かつz−カットLN基板1の表面に平行な方向に入力側フィード部IIを割り当てることのできる幅)は限られている。そこで、以上において述べた中心電極4a、4b、4c、4d間のクロストークをある程度抑え、かつ電気的パワー反射係数S11の劣化を抑えようとすると、中心電極4a、4b、4c、4dの幅Sを狭くすることが考えられる。しかしながら、中心電極4a、4b、4c、4dの幅Sを狭く(例えば、図14ではSと)すると、図14に示すように高周波電気信号Sa、Sb、Sc、Sdの伝搬損失αが大きくなるので、図15に示すようにLN光変調器のパワー変調指数|m|が周波数(f)とともに著しく劣化してしまい(換言すると、3dB光変調帯域が狭くなってしまい)、40Gbit/s用のLN光変調器としては極めて好ましくない。
例えば、中心電極4a、4b、4c、4dの幅Sを5μmとすると、中心電極4a、4b、4c、4d間の電気的クロストークと電気的パワー反射係数S11の両方を−20dB以下に抑えることができるが、このフィード部における高周波電気信号の伝搬損失が著しく増加するため、LN光変調器としての3dB帯域は10GHz程度にまで劣化し、40Gbit/sの光伝送への適用は困難である。
特表2004−516743号公報 特許第2126214号公報
以上のように、LN光変調器の進行波電極の入力側フィード部は平面型のCPW構造を有していた。そのため、入力側フィード部として適切な特性インピーダンス(もっとも好ましくは50Ω)を実現するためには、中心電極と接地電極の間のギャップ(図10におけるW)を広くする必要があった。その結果、図10に示す接地電極5b、5c、5dの幅Gが狭くなり、進行波電極を伝搬する高周波電気信号間に電気的クロストークを生じていた。また、この電気的クロストークを抑圧するために、接地電極5b、5c、5dの幅Gを広くすると、中心電極と接地電極の間のギャップ(図10におけるW)が狭くなる。その結果、進行波電極としての特性インピーダンスZが著しく下がり、電気的パワー反射係数S11が劣化していた。さらに特性インピーダンスの低下と、高周波電気信号間における電気的クロストークの劣化の両方を抑えるために、進行波電極の特性インピーダンスを50Ωに近く設定し、かつ中心電極と接地電極の間のギャップ(図10におけるW)と比較して図10に示す接地電極5b、5c、5dの幅Gを広くするように設定すると、必然的にギャップWが狭くなり、その結果進行波電極の中心電極の幅も狭くなった。そして、中心電極の幅が狭くなると高周波電気信号の伝搬損失が増大した。つまり、従来の平面型のCPW構造からなるフィード部において、特性インピーダンスの低下と、高周波電気信号間における電気的クロストークの劣化の両方を抑えるように設計すると、高周波電気信号の伝搬損失が大きくなり、LN光変調器として高速での光変調が困難となっていた。
本発明はこのような事情に鑑みてなされたものであり、小型で、高周波電気信号の電気的クロストークと電気的パワー反射率が低く、光変調帯域が広い光変調器を提供することを目的とする。
上記課題を解決するために、本発明の請求項1の光変調器は、基板と、該基板に形成された光導波路と、該基板上に形成され電圧を印加するための中心電極と接地電極からなる進行波電極とを備え、前記光導波路は、前記電極に電圧を印加することにより屈折率が変化する領域である相互作用部に複数の相互作用光導波路を具備し、前記中心電極が複数からなるとともに、複数の前記中心電極に接続される入力側フィード部の電極が複数の中心電極と接地電極からなる光変調器において、前記入力側フィード部における相対向している前記中心電極と前記接地電極との間の前記基板の厚さを掘り下げて少なくすることによりリッジ構造をなしていることを特徴とする。
本発明の請求項2の光変調器は、前記入力側フィード部における全ての前記中心電極について、その近傍の前記基板の厚みが薄くなるようにエッチングされ、リッジ構造をなしていることを特徴とする。
本発明の請求項3の光変調器は、前記入力側フィード部における一部の前記中心電極について、その近傍の前記基板の厚みが薄くなるようにエッチングされ、リッジ構造をなしていることを特徴とする。
本発明では進行波電極の入力側フィード部における中心電極の近傍のz−カットLN基板をエッチングしたリッジ構造を導入する。リッジ構造は進行波電極の特性インピーダンスを高くする効果を有しているので中心電極と接地電極間のギャップWを比較的狭くしても50Ωに近い特性インピーダンスを得ることができる。そしてギャップWを狭くできるので、接地電極の幅を広くすることが可能となり、高周波電気信号間における電気的なクロストークを低減することができる。さらには、中心電極と接地電極間のギャップWを狭くできるということは入力側フィード部の中心電極の幅を広くできることをも意味している。そして入力側フィード部の中心電極の幅を広くすることにより、この領域における高周波電気信号の伝搬損失を小さくすることができるので、電気的パワー反射率と電気的なクロストークを抑圧しつつ、著しく高速変調が可能な光変調器を実現することが可能となる。
以下、本発明の実施形態について説明するが、図8から図15に示した従来技術と同一の符号は同一機能部に対応しているため、ここでは同一の符号を持つ機能部の説明を省略する。
(実施形態)
図1に本発明の光変調器に関する実施形態の一つについてその上面図を示す。なお、光変調方式としてDQPSKを例にとっているので、光導波路の構造は図8に示した従来技術と同じである。
また、図10に対応して、図2には図1の入力側フィード部IIIの横断面図(相互作用光導波路3a、3b、3c、3dの長さ方向に垂直で、かつz−カットLN基板1の表面に平行な方向の断面図)を示す。なお、図2には図1では省略した接地電極も示している。また、説明を簡単にするために、温度ドリフト抑圧のためのSi導電層は省略した。
図2を用いて本発明の原理を詳細に説明する。本発明の実施形態である図2と従来技術である図10とを比較すると直ちにわかるように、本発明では中心電極4a、4b、4c、4dと接地電極5a、5b、5c、5d、5eの間のz−カットLN基板1をエッチングした、いわゆるリッジ構造としている。
つまり、図2において、6a、6b、6c、6d、6e、6f、6g、6hはエッチング溝部であり、ここにz−カットLN基板1よりも比誘電率が低い材料(比誘電率がz−カットLN基板1よりも低ければいかなる材料でもよいが、ここではもっとも効果が高い空気としている)を充填することにより、フィード部の特性インピーダンスZを高めている。なお、本発明においてはエッチング溝部6a、6b、6c、6d、6e、6f、6g、6hの深さが深いほど(換言すれば、リッジの高さが高いほど)、進行波電極としての特性インピーダンスが高くなり、発明の効果が著しく発揮される。
ここで、中心電極4a、4b、4c、4dの幅をS´、中心電極4a、4b、4c、4dと接地電極5a、5b、5c、5d、5e間のギャップをW´、接地電極5b、5c、5dの幅をG´とする。ギャップW´と比較してこの接地電極の幅G´が広くなると、中心電極4a、4b、4c、4d間の(あるいは、高周波電気信号Sa、Sb、Sc、Sd間の)電気的クロストークを抑圧できる。つまり、接地電極5b、5c、5dの幅G´とギャップW´の比は、高周波電気信号間の電気的なクロストークに大きな影響を与える。なお、一般に、電気的クロストークを充分に小さくするためには、接地電極の幅G´をギャップWの4〜5倍とすることが望ましい。
図3には横軸に中心電極4a、4b、4c、4dと接地電極5a、5b、5c、5d、5e間のギャップW´をとり、左側の縦軸にはCPW進行波電極の特性インピーダンスZを、右側の縦軸には接地電極5b、5c、5dの幅G´をとり、これらの関係を示している。なお、本発明の効果を説明するために図11に示した従来技術による特性インピーダンスを破線で示す。
本発明では進行波電極の特性インピーダンスを高める効果を有するリッジ構造を採用している。従って、図3から明らかなように、中心電極と接地電極間のギャップに対して、本発明における進行波電極の特性インピーダンスZは従来技術のものよりも高くなる。
つまり、進行波電極の特性インピーダンスZが不図示の外部回路の特性インピーダンス50Ωと一致するギャップW´を例えば30〜60μm程度と大幅に小さくできるので、接地電極5b、5c、5dの幅G´を広くすることが可能となるばかりでなく、そもそもギャップW´が小さいので、電気信号間の電気的なクロストークを決定する接地電極の幅G´とギャップW´との比を従来技術と比較して著しく大きくすることが可能となる(例えば、従来技術ではG/Wの値が1〜2程度であっても本発明ではG´/W´の値を4から5と大きくすることが可能となる)。
図4には横軸に中心電極4a、4b、4c、4dと接地電極5a、5b、5c、5d、5e間のギャップW´をとり、縦軸に高周波電気信号Sa、Sb、Sc、Sdが進行波電極から不図示の外部電気回路に戻る電気的パワー反射係数S11を示す。図3に述べたように、本発明ではギャップW´の値を小さくしても進行波電極の特性インピーダンスZをほぼ50Ωとすることができるので、電気的パワー反射係数S11を−20dB以下と極めて小さくすることが可能となる。
なお、図4には従来技術による電気的パワー反射係数S11を破線により示している。図12において説明したように、従来技術では高周波電気信号の電気的クロストークを充分抑圧すると、進行波電極の特性インピーダンスZは例えば30Ω弱と50Ωよりもかなり低くなり、電気的パワー反射係数S11が劣化した。このように、本発明を適用することにより、中心電極4a、4b、4c、4dと接地電極5a、5b、5c、5d、5e間のギャップを小さくしても、進行波電極の特性インピーダンスZを50Ωとすることができるので、電気的パワー反射係数S11を大幅に改善することが可能となる。
図5には横軸に中心電極4a、4b、4c、4dと接地電極5a、5b、5c、5d、5e間のギャップW´をとり、左側の縦軸にはCPW進行波電極の中心電極4a、4b、4c、4d間の電気的クロストークを示している。なお、図3と同様に右側の縦軸には接地電極5b、5c、5dの幅G´を示す。
本発明では、入力側フィード部IIIの特性インピーダンスを不図示の外部回路と整合性の良いほぼ50Ωとしても、中心電極4a、4b、4c、4dと接地電極5a、5b、5c、5d、5e間のギャップW´を狭く設定できるばかりでなく、ギャップW´が狭いので、接地電極5b、5c、5dの幅G´を広く(例えば約200〜250μmなどと)することが可能となる。従って、接地電極の幅G´とギャップW´の比を4〜5と大きくすることができるので、高周波電気信号の電気的クロストークが−20dBあるいはそれ以下となるように大幅に改善することが可能となる。
さらには、中心電極と接地電極間のギャップW´を狭くできるということは入力側フィード部IIIの中心電極の幅S´を広くできることをも意味している。そして入力側フィード部の中心電極の幅S´を広くすることにより、図6に示すようにこの領域における高周波電気信号の伝搬損失を小さくすることができる。例えば、入力側フィード部IIIの中心電極の幅S´を10μm〜50μmとすると、電気的パワー反射率と電気的なクロストークを抑圧しつつ、従来技術と比較して著しく改善された高速光変調を実現することが可能となる。中心電極の幅S´を30μmとした場合におけるLN光変調器のパワー変調指数|m|の周波数(f)依存性を図6に示す。図15において示した従来技術と比較して本実施形態の周波数依存性が大幅に改善されていることがわかる。
(各実施形態)
以上においてDQPSK光変調器を例にとり説明したが、本発明は入力側フィード部に複数の中心電極を有するLN光変調器に有効であるので、DQPSKに限らず1つのマッハツェンダ光導波路からなるDPSK、あるいはDQPSKよりも多くのマッハツェンダ光導波路を具備するその他の位相変調方式、さらには2電極型の強度変調器にも適用可能であることは言うまでもない。
また、進行波電極における入力側フィード部の全ての中心電極を挟んでz−カットLN基板をエッチングし、リッジ加工するとしたが、一部の中心電極についてのみその近傍のz−カットLN基板をリッジ加工しても良い。つまりリッジ型と平面型の電極構造を組み合わせても良い。なお、その場合には、フィード部の進行波電極を伝搬する高周波電気信号の等価屈折率が互いに異なるので、電気的クロストークを一層抑圧できる。なお、リッジの深さとしては2.5〜5μm程度でも効果があるが、例えば10μm程度の深さにエッチングすると著しい効果がある。
以上の説明においては、進行波電極の入力側フィード部の特性インピーダンスが50Ωである場合について説明したが、本発明の効果はこれに限るものではない。
つまり、進行波電極の入力側フィード部の少なくとも一部にリッジ構造を導入することにより、リッジ構造を有さない平面型構造と比べて特性インピーダンスが高くなっている限り、進行波電極の入力側フィード部の特性インピーダンスが50Ωよりも低くても、高くても本発明としての効果を発揮できる。
例えば、進行波電極の入力側フィード部の特性インピーダンスを50Ωよりもある程度低く設定する場合には、中心電極と接地電極の間のギャップを狭くできるので、接地電極の幅を広く設定することが可能となり、高周波電気信号間のクロストークを改善できる。また、逆に、進行波電極の入力側フィード部の特性インピーダンスを50Ωよりも高く設定すると、入力側フィード部を伝搬する高周波電気信号の電流値が小さくなるので、ジュール熱による減衰を小さくすることができ、その結果高速光変調が可能となる。
さらに、進行波電極における入力側フィード部の複数の中心電極について異なる特性インピーダンスとすることもできる。つまり、特性インピーダンスが異なるということは、高周波電気信号の等価屈折率も異なるので、電磁界の結合理論から電気的クロストークを改善できる。
なお、入力側フィード部のバッファ層の厚みを高周波電気信号と光が相互作用する相互作用部のバッファ層の厚みよりも厚くすることにより、特性インピーダンスを一層高くできる。従って、この考え方を本発明と組み合わせることにより、本発明の効果をより高めることが可能となる。
また、z−カットLN基板について説明したが、x−カット、y−カット、あるいはそれらを混合したカットなどその他のカットのLN基板でも良いし、半導体基板などその他の基板でも良い。またバッファ層としてはSiOとして説明して来たが、AlやSiN、あるいはSiO等、その他の材料でも良いことは言うまでもない。
電極構成としては構造が対称なCPW電極を用いた構成について説明したが、構造が非対称なCPW電極でも良いし、さらには非対称コプレーナストリップ(ACPS)あるいは対称コプレーナストリップ(CPS)など、その他の構成でも良い。また、相互作用部における進行波電極構造としてはリッジ構造でも平面型構造でも良いことは言うまでもない。
以上のように、本発明により、特性インピーダンス、つまり電気的パワー反射率、及び電気的クロストーク、さらには高周波電気信号の伝搬損失、つまり光変調帯域について大幅に改善された光変調器を提供できる。
本発明の実施形態に係わる光変調器を構成する進行波電極を含む上面図 図1における入力側フィード部の横断面図 本発明の原理を説明する図 本発明の原理を説明する図 本発明の原理を説明する図 本発明の原理を説明する図 本発明の原理を説明する図 従来技術によるDQPSK光変調器についての光導波路の構成を示す上面図 従来技術のDQPSK光変調器についての進行波電極を含む上面図 図9における入力側フィード部の横断面図 従来技術の問題点を説明する図 従来技術の問題点を説明する図 従来技術の問題点を説明する図 従来技術の問題点を説明する図 従来技術の問題点を説明する図
符号の説明
1:z−カットLN基板(基板)
2、9:SiOバッファ層
3、30:マッハツェンダ光導波路(光導波路)
3a、3b、3c、3d:相互作用光導波路
4a、4b、4c、4d、7:中心電極
5a、5b、5c、5d、5e:接地電極
6a、6b、6c、6d、6e、6f、6g、6h:エッチング溝部

Claims (3)

  1. 基板と、該基板に形成された光導波路と、該基板上に形成され電圧を印加するための中心電極と接地電極からなる進行波電極とを備え、前記光導波路は、前記電極に電圧を印加することにより屈折率が変化する領域である相互作用部に複数の相互作用光導波路を具備し、前記中心電極が複数からなるとともに、複数の前記中心電極に接続される入力側フィード部の電極が複数の中心電極と接地電極からなる光変調器において、前記入力側フィード部における相対向している前記中心電極と前記接地電極との間の前記基板の厚さを掘り下げて少なくすることによりリッジ構造をなしていることを特徴とする光変調器。
  2. 前記入力側フィード部における全ての前記中心電極について、その近傍の前記基板の厚みが薄くなるようにエッチングされ、リッジ構造をなしていることを特徴とする請求項1に記載の光変調器。
  3. 前記入力側フィード部における一部の前記中心電極について、その近傍の前記基板の厚みが薄くなるようにエッチングされ、リッジ構造をなしていることを特徴とする請求項1に記載の光変調器。
JP2008193440A 2008-07-28 2008-07-28 光変調器 Expired - Fee Related JP4754608B2 (ja)

Priority Applications (1)

Application Number Priority Date Filing Date Title
JP2008193440A JP4754608B2 (ja) 2008-07-28 2008-07-28 光変調器

Applications Claiming Priority (1)

Application Number Priority Date Filing Date Title
JP2008193440A JP4754608B2 (ja) 2008-07-28 2008-07-28 光変調器

Publications (2)

Publication Number Publication Date
JP2010032690A true JP2010032690A (ja) 2010-02-12
JP4754608B2 JP4754608B2 (ja) 2011-08-24

Family

ID=41737251

Family Applications (1)

Application Number Title Priority Date Filing Date
JP2008193440A Expired - Fee Related JP4754608B2 (ja) 2008-07-28 2008-07-28 光変調器

Country Status (1)

Country Link
JP (1) JP4754608B2 (ja)

Cited By (2)

* Cited by examiner, † Cited by third party
Publication number Priority date Publication date Assignee Title
JP2015127826A (ja) * 2015-03-05 2015-07-09 住友大阪セメント株式会社 光制御デバイス
US9519200B2 (en) 2013-03-26 2016-12-13 Sumitomo Osaka Cement Co., Ltd. Optical control device

Citations (4)

* Cited by examiner, † Cited by third party
Publication number Priority date Publication date Assignee Title
JP2004020780A (ja) * 2002-06-14 2004-01-22 Fujitsu Ltd 光変調器
JP2004318113A (ja) * 2003-03-31 2004-11-11 Sumitomo Osaka Cement Co Ltd 光変調素子
JP2008139554A (ja) * 2006-12-01 2008-06-19 Anritsu Corp 光変調器
JP2009048087A (ja) * 2007-08-22 2009-03-05 Anritsu Corp 光変調器

Patent Citations (4)

* Cited by examiner, † Cited by third party
Publication number Priority date Publication date Assignee Title
JP2004020780A (ja) * 2002-06-14 2004-01-22 Fujitsu Ltd 光変調器
JP2004318113A (ja) * 2003-03-31 2004-11-11 Sumitomo Osaka Cement Co Ltd 光変調素子
JP2008139554A (ja) * 2006-12-01 2008-06-19 Anritsu Corp 光変調器
JP2009048087A (ja) * 2007-08-22 2009-03-05 Anritsu Corp 光変調器

Cited By (2)

* Cited by examiner, † Cited by third party
Publication number Priority date Publication date Assignee Title
US9519200B2 (en) 2013-03-26 2016-12-13 Sumitomo Osaka Cement Co., Ltd. Optical control device
JP2015127826A (ja) * 2015-03-05 2015-07-09 住友大阪セメント株式会社 光制御デバイス

Also Published As

Publication number Publication date
JP4754608B2 (ja) 2011-08-24

Similar Documents

Publication Publication Date Title
JP4234117B2 (ja) 光変調器
CN104520758A (zh) 光波导元件
JP4151798B2 (ja) 光変調器
JP2612948B2 (ja) 光変調素子
US20030016896A1 (en) Electro-optic waveguide devices
JP2014123032A (ja) 光変調器
JP4754608B2 (ja) 光変調器
JP5145402B2 (ja) 光変調器
JP4671993B2 (ja) 光変調器
JP5075055B2 (ja) 光変調器
JP2007079249A (ja) 光変調器
JP5124382B2 (ja) 光変調器
JP4926423B2 (ja) 光変調器
JP5045821B2 (ja) 光変調装置
JP2009122183A (ja) 光変調器
JP5308552B2 (ja) 光変調器
JP4920212B2 (ja) 光変調器
JP4907378B2 (ja) 光変調装置
KR20040017535A (ko) 저 유전율 기판을 이용한 저전압 광 변조기
JP5033084B2 (ja) 光変調器
JP5162196B2 (ja) 光変調器
JP5271294B2 (ja) リッジ光導波路とそれを用いた光変調器
JP4170376B1 (ja) 光変調器
JP2007025369A (ja) 光変調器
JP2008052103A (ja) 光変調器

Legal Events

Date Code Title Description
A621 Written request for application examination

Free format text: JAPANESE INTERMEDIATE CODE: A621

Effective date: 20091204

A871 Explanation of circumstances concerning accelerated examination

Free format text: JAPANESE INTERMEDIATE CODE: A871

Effective date: 20100723

A975 Report on accelerated examination

Free format text: JAPANESE INTERMEDIATE CODE: A971005

Effective date: 20100820

A131 Notification of reasons for refusal

Free format text: JAPANESE INTERMEDIATE CODE: A131

Effective date: 20100907

A521 Written amendment

Free format text: JAPANESE INTERMEDIATE CODE: A523

Effective date: 20101108

A02 Decision of refusal

Free format text: JAPANESE INTERMEDIATE CODE: A02

Effective date: 20101130

A521 Written amendment

Free format text: JAPANESE INTERMEDIATE CODE: A523

Effective date: 20110223

A911 Transfer of reconsideration by examiner before appeal (zenchi)

Free format text: JAPANESE INTERMEDIATE CODE: A911

Effective date: 20110301

A131 Notification of reasons for refusal

Free format text: JAPANESE INTERMEDIATE CODE: A131

Effective date: 20110426

A521 Written amendment

Free format text: JAPANESE INTERMEDIATE CODE: A523

Effective date: 20110510

TRDD Decision of grant or rejection written
A01 Written decision to grant a patent or to grant a registration (utility model)

Free format text: JAPANESE INTERMEDIATE CODE: A01

Effective date: 20110524

A01 Written decision to grant a patent or to grant a registration (utility model)

Free format text: JAPANESE INTERMEDIATE CODE: A01

A61 First payment of annual fees (during grant procedure)

Free format text: JAPANESE INTERMEDIATE CODE: A61

Effective date: 20110525

FPAY Renewal fee payment (prs date is renewal date of database)

Free format text: PAYMENT UNTIL: 20140603

Year of fee payment: 3

R150 Certificate of patent (=grant) or registration of utility model

Free format text: JAPANESE INTERMEDIATE CODE: R150

R250 Receipt of annual fees

Free format text: JAPANESE INTERMEDIATE CODE: R250

LAPS Cancellation because of no payment of annual fees